Бесплатная техническая библиотека
Стабильный генератор с ЧМ. Энциклопедия радиоэлектроники и электротехники

Энциклопедия радиоэлектроники и электротехники / Узлы радиолюбительской техники. Генераторы, гетеродины
Комментарии к статье
Для настройки приемников с узкополосной ЧМ модуляцией с промежуточной частотой от 5 до 21,4 МГц требуется генератор с высокой стабильностью частоты и внутренней (внешней) частотной модуляцией с малыми нелинейными искажениями. Не все имеют промышленные генераторы типа Г4-107 или Г4-116. Предлагаемый кварцевый генератор с ЧМ модуляцией может в некоторых случаях заменить их. Схема генератора приведена на рис.1. На первый взгляд, задающий кварцевый автогенератор выполнен на транзисторе VT3 по схеме емкостной трехточки (если бы отсутствовала катушка L1). Однако включение расширительной катушки L1 придает схеме новые свойства - возможность генерации на частоте ниже частоты последовательного резонанса кварца. В этом случае данную схему можно отнести к схеме автогенератора с кварцевым резонатором в контуре.
В такой схеме возможна паразитная генерация через параллельную емкость резонатора. Для гашения этой генерации предназначен резистор R12. Управление частотой автогенератора выполнено не совсем обычно. Вари-капы включены в качестве емкостного делителя эмиттер-база и эмиттер-коллектор транзистора VT3. При таком включении полупроводниковых емкостей управление частотой происходит по закону, близкому к линейному, что особенно важно для частотномодулированного генератора с малыми нелинейными искажениями.
Генератор низкочастотных колебаний выполнен по схеме с поворотом фазы четырехзвенным цепочечным четырехполюсником, фазирующим напряжение, и с однокаскадным усилителем на транзисторе VT1. Частота генерации определяется постоянной времени четырехполюсника и приблизительно равна 1 кГц. Низкочастотные колебания через эмиттерный повторитель на VT2 и регулятор глубины девиации поступают на варикапы. При использовании резонатора BQ1 на частоту 5 МГц девиация частоты получается небольшой, а при кварце 10,7 МГц - вполне достаточной для узкополоснои ЧМ. С кварцевого генератора через широкополосный эмиттерный повторитель высокочастотные колебания поступают на делитель R23, R24.
(нажмите для увеличения)
При использовании кварцевого резонатора на частоту 10700 кГц с динамическим сопротивлением не более 30 Ом, напряжение высокочастотных колебаний на выходе составляет 100 мВ. Далее их можно дополнительно ослабить аттенюатором или подать на каскад умножения частоты. При умножении частоты генератор можно использовать как калибратор ЧМ радиоприемников. Так, при кварцевом резонаторе на частоту 12 МГц при умножении частоты на б сигнал хорошо прослушивается на радиовещательном приемнике (например "Ленинград 010").
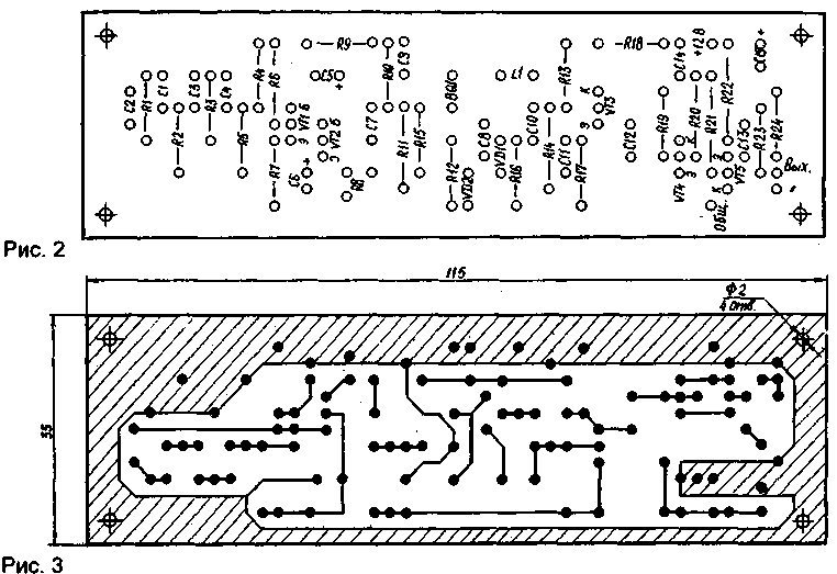
Схема собирается на печатной плате из одностороннего фольгированного стеклотекстолита толщиной 1,5 мм. Плата рассчитана на установку резисторов типа МЛТ-0,125, керамических конденсаторов типа К10-17, электролитических - типа К50-35. Катушка L1 намотана на каркасе диаметром 5,5 мм проводом диаметром 0,1 мм и содержит 20 витков. Подстроечный сердечник - типа 30 ВН ПР4хО,7х8,0. Кварцевый резонатор - типа РК 169.
Расположение радиоэлементов на печатной плате приведено на рис.2, схема расположения токопроводящих дорожек на обратной стороне печатной платы - на рис.3.
Налаживание стабильного генератора заключается в точной установке частоты колебаний подстроечником катушки L1. Если при этом возникают паразитные колебания, не стабилизированные кварцевым резонатором, включают резистор R12 и подбирают его величину от 470 Ом и выше до получения гармонических колебаний необходимой частоты.
С кварцевым резонатором на частоту 10700 кГц с параллельной емкостью 4,2 пФ, динамической емкостью 0,0172 пФ и динамической индуктивностью 0,0128 Гн была достигнута устойчивая генерация при изменении питающего напряжения на 10%, и включение антипаразитного резистора R12 не потребовалось.
Авторы: О.Белоусов, И.Чудаева, Черкасская обл., г.Ватутино; Публикация: Н. Большаков, rf.atnn.ru
Смотрите другие статьи раздела Узлы радиолюбительской техники. Генераторы, гетеродины.
Читайте и пишите полезные комментарии к этой статье.
<< Назад
Последние новости науки и техники, новинки электроники:
Питомцы как стимулятор разума
06.10.2025
Помимо эмоциональной поддержки, домашние питомцы могут оказывать заметное воздействие на когнитивные процессы, особенно у пожилых людей. Новое масштабное исследование показало, что общение с кошками и собаками не просто улучшает настроение - оно действительно способствует замедлению возрастного снижения умственных способностей.
Работа проводилась в рамках проекта Survey of Health, Ageing and Retirement in Europe (SHARE), охватывающего период с 2004 по 2022 год. В исследовании приняли участие тысячи европейцев старше 50 лет. Анализ показал, что владельцы домашних животных демонстрируют более устойчивые когнитивные функции по сравнению с теми, кто не держит питомцев. Особенно выражен эффект оказался у владельцев кошек и собак.
Согласно данным ученых, владельцы собак дольше сохраняют хорошую память, в то время как хозяева кошек медленнее теряют способность к быстрому речевому взаимодействию. Исследователи связывают это с тем, что ежедневное взаимодействие с животными требует внимани ...>>
Мини-ПК ExpertCenter PN54-S1
06.10.2025
Компания ASUSTeK Computer презентовала новый мини-компьютер ASUS ExpertCenter PN54-S1. Устройство ориентировано на пользователей, которым важно сочетание производительности, энергоэффективности и универсальности - от офисных задач до мультимедийных проектов.
В основе ExpertCenter PN54-S1 лежит современная аппаратная платформа AMD Hawk Point, использующая архитектуру Zen 4. Это поколение чипов отличается улучшенным управлением энергопотреблением и повышенной вычислительной мощностью. Новинка доступна в конфигурациях с процессорами Ryzen 7260, Ryzen 5220 и Ryzen 5210, представленных AMD в начале 2025 года. Таким образом, устройство охватывает широкий диапазон задач - от базовых офисных до ресурсоемких вычислений.
Корпус мини-ПК выполнен из прочного алюминия и имеет размеры 130×130×34 мм, что делает его практически незаметным на рабочем столе или за монитором. Несмотря на компактность, внутренняя компоновка позволяет установить два модуля оперативной памяти SO-DIMM ...>>
Глазные капли, возвращающие молодость зрению
05.10.2025
С возрастом человеческий глаз постепенно теряет способность четко видеть на близком расстоянии - развивается пресбиопия, или возрастная дальнозоркость. Этот естественный процесс связан с утратой эластичности хрусталика и ослаблением цилиарной мышцы, отвечающей за фокусировку. Миллионы людей по всему миру сталкиваются с необходимостью носить очки для чтения или прибегают к хирургическим методам коррекции. Однако исследователи из Центра передовых исследований пресбиопии в Буэнос-Айресе представили решение, которое может стать удобной и неинвазивной альтернативой - специальные глазные капли, способные улучшать зрение на длительный срок.
Разработку возглавила Джованна Беноцци, директор Центра. По ее словам, цель исследования состояла в том, чтобы предоставить пациентам с пресбиопией эффективный и безопасный способ коррекции зрения без хирургического вмешательства. Новые капли, созданные на основе пилокарпина и диклофенака, показали убедительные результаты: уже через час после первого пр ...>>
Случайная новость из Архива Новый способ пастеризации молока
20.11.2013
Исследователи из Университета Хоэнхайма и Института инженерии и биотехнологий Фраунгофера (Германия) в рамках проекта MicroMilk разработали новый метод пастеризации молока с помощью микроволн. Данный способ сохраняет ценные компоненты молока, а также подходит для нагрева вязких и концентрированных молочных продуктов. В ближайшее время технологией переработки молока и молочных продуктов ученые поделятся с производителями продуктов питания.
Чтобы увеличить срок хранения свежего молока и предотвратить размножение микроорганизмов, молоко обычно нагревают - то есть, проводят процесс пастеризации, в ходе которого холодное молоко нагревают в несколько этапов. Так, на одном из этапов температура молока повышается за несколько секунд до 72 градусов Цельсия. Основные микроорганизмы, присутствующие в молоке, во время этого процесса погибают, а значит, молоко может храниться в течение 10 дней.
В настоящее время молоко пастеризуют с использованием теплообменников, в которых предварительно нагретое молоко движется навстречу горячей воде или пару. Тепло, вырабатываемое при пастеризации предыдущего объема молока, используется для нагрева поступающей порции холодной молока. Но, ученые отмечают, у такого способа нагрева есть недостатки. Так, процесс теплообмена ослабевает из-за образования загрязнений на поверхности теплообменника. Поэтому оборудование необходимо регулярно чистить - тратить время и воду. Но при новом способе пастеризации не нужно слишком много энергии, воды и моющих средств.
В рамках проекта MicroMilk ученые разработали систему, которая позволяет "обезопасить" молоко и молочные продукты с помощью микроволн. Прототип устройства непрерывной микроволновой пастеризации с пропускной способностью 400 литров молока в час был интегрирован в существующий процесс пастеризации на молочном производстве Университета Хоэнхайма. Даже при опытной эксплуатации были очевидны преимущества новой системы. Так как устройство теперь не надо было постоянно очищать, удалось сэкономить время и большие объемы воды. Кроме того, почти в 3 раза быстрее происходит процесс нагревания молока до нужной температуры. Молоко подвергается воздействию высокой температуры только на короткое время, потому большая часть ценных и термочувствительных веществ, особенно белков и витаминов, сохраняется.
Микроволновое оборудование для пастеризации представляет собой компактный реактор, который разделен на несколько отсеков. Каждый отсек снабжен собственным магнетроном, генерирующим электромагнитные волны. Микроволновые устройства соединены в волновод, который одновременно действует в качестве нагревательной камеры. Через эту полость молоко течет по специальным трубам. Материал труб не поглощает микроволны и устойчив к воздействию тепла и давления.
Во время этого прохода по трубам молоко нагревается и, в отличие от процесса с теплообменником, нагревается иным способом. Когда электромагнитные волны поглощаются молекулами молока, это заставляет молекулы колебаться, и нагревать весь объем молока одновременно.
|
Другие интересные новости:
▪ Инновационная флэш-память 4D NAND
▪ Мышка Gigabyte Aire M93 Ice
▪ Мужчинам не стоит выпивать после спортзала
▪ Тяжелые наследственные болезни защищают от инфекций
▪ Новый Кубик Рубика сам научит себя собирать
Лента новостей науки и техники, новинок электроники
Интересные материалы Бесплатной технической библиотеки:
▪ раздел сайта Переговорные устройства. Подборка статей
▪ статья Хрестоматийный глянец. Крылатое выражение
▪ статья Где находится край летающих верблюдов? Подробный ответ
▪ статья Врач-лаборант. Должностная инструкция
▪ статья Реле системы охлаждения автомобиля ВАЗ-2103...2108. Энциклопедия радиоэлектроники и электротехники
▪ статья Зарядное устройство для автомобильных аккумуляторов. Энциклопедия радиоэлектроники и электротехники
Оставьте свой комментарий к этой статье:
Главная страница | Библиотека | Статьи | Карта сайта | Отзывы о сайте

www.diagram.com.ua
2000-2025