Menu Home

Бесплатная техническая библиотека для любителей и профессионалов Бесплатная техническая библиотека


Электронные компоненты для поверхностного монтажа. Справочные данные

Бесплатная техническая библиотека

Энциклопедия радиоэлектроники и электротехники / Справочные материалы

 Комментарии к статье

Поверхностный монтаж благодаря своим достоинствам широко применяется в современной электронике. В последние годы этот вид монтажа стали использовать и радиолюбители - на страницах "Радио" все чаще появляются такие конструкции.

По электрическим характеристикам электронные компоненты для поверхностного монтажа (ПМ) в большинстве случаев соответствуют своим аналогам обычного исполнения, отличаясь только конструкцией выводов.

Цель этой статьи - познакомить читателей с ассортиментом наиболее ходовых из выпускаемых в настоящее время радиодеталей для поверхностного монтажа и их маркировкой с тем, чтобы радиолюбители смелее применяли эти компоненты (за рубежом их называют Surface Mounted Device - SMD) в своих разработках.

Наибольший интерес в этом плане представляют элементы с двумя выводами - ПМ-резисторы, ПМ-конденсаторы, ПМ-диоды и пр., - поскольку они не вызывают никаких проблем с изготовлением печатной платы. Сложнее выполнить печатную плату под транзисторы, микросхемы и другие многовыводные детали, но и для этого существуют соответствующие приемы (например, использование трафаретов).

При выборе вида монтажа следует учитывать, что малые размеры ПМ-деталей и соответственно малые зазоры между контактными площадками для них на плате ограничивают допустимое рабочее напряжение устройства. Поэтому те узлы, которые работают при большом напряжении, лучше выполнять обычным монтажом.

Миниатюрность многих ПМ-деталей вызывает вполне понятные проблемы с их маркировкой. Для этого существуют специальные стандарты, но поскольку они носят лишь рекомендательный характер, многие фирмы применяют свои собственные системы обозначений или вообще не маркируют изделия.

Для особо мелких деталей, например, резисторов, отсутствие маркировки узаконено. Не принято наносить обозначения номиналов и на керамические конденсаторы малой емкости (хотя и для них есть стандарты). Все это приводит к осложнениям при ремонте импортной аппаратуры.

Небольшие размеры ПМ-компонентов требуют гораздо большей внимательности и аккуратности при монтаже, нежели обычные. Паяльник должен быть обязательно снабжен регулятором температуры. Из-за перегрева детали у нее может нарушиться контакт с выводами, а поскольку заметить это трудно, поиск неисправности оказывается весьма трудоемким.

Резисторы

Внешний вид постоянного ПМ-резистора показан на рис. 1 (на этом и остальных рисунках выводы выделены серым цветом).

Электронные компоненты для поверхностного монтажа

Обозначение типоразмера состоит из четырех цифр (табл. 1). Две первые соответствуют округленно длине L в принятой системе измерения (либо метрической, либо дюймовой), а две последние - ширине W. Наибольший интерес для радиолюбителей представляют типоразмеры 0805 и 1206.

Электронные компоненты для поверхностного монтажа

Ряд фирм применяет "личные" обозначения типоразмера резисторов. С некоторыми из них знакомит табл. 2.

Электронные компоненты для поверхностного монтажа

Для обозначения номинала сопротивления обычно используют широко распространенную цифровую маркировку, в которой первые цифры - значение, а последняя служит множителем (показателем степени числа 10). Резисторы с допусками ±20, ±10 и ±5 % маркируют тремя цифрами, а с допуском ±1 % и более точные - четырьмя. Для резисторов сопротивлением менее 10 Ом с допуском ±5 % и более достаточно двух цифр, причем между ними ставят букву R; если допуск резистора ±1 % и менее, то необходимы три цифры и букву R помещают перед последней из них.

Примеры маркировки:

472 = 47-102 Ом = 4700 Ом = 4,7 кОм; 105=10-105Ом = 1 000 000Ом = 1 МОм; 3482 = 348-102 = 34800 Ом = 34,8 кОм; 8R2 = 8,2 Ом. Для резисторов сопротивлением 10 Ом и более удобно пользоваться простым правилом: к значащим цифрам надо приписать число нулей, равное последней цифре.

Резисторы типоразмера 0603 (1608) с допуском ±1 % и менее имеют кодовую маркировку из двух цифр и буквы, указанную в табл. 3. По цифровому коду обозначения определяют значащие цифры номинала, а по буквенному (последние два столбца) - множитель. Пример: 53С = 348·102Ом = 34,8 кОм.

Электронные компоненты для поверхностного монтажа
(нажмите для увеличения)

Кроме резисторов, выпускают несколько типоразмеров перемычек-замыкателей, которые можно рассматривать как резисторы нулевого сопротивления. Такие перемычки при поверхностном монтаже более удобны, чем применяемые в обычном проволочные. Наиболее распространенные типоразмеры перемычек - 0805 (2012) и 1206(3216). Маркируют перемычки всегда одинаково - ООО.

Если на плате разрабатываемого устройства предполагается использование элементов поверхностного монтажа, применить подстроенные ПМ резисторы более чем целесообразно. Исключение могут представить только те сравнительно редкие случаи, когда резистор должен быть обязательно проволочным. Дело в том, что промышленность выпускает только непроволочные подстроечные ПМ резисторы.

По конструкции подстроечные ПМ резисторы почти не отличаются от обычных. На изоляционное (чаще всего керамическое) основание нанесена резистивная дорожка в форме незамкнутого кольца из композита специального состава. По концам дорожки укреплены выводы в виде тонких металлических полос, охватывающих край основания. Эти выводы при монтаже припаивают к проводникам печатной платы. По резистивной дорожке скользит контакт, установленный на роторе-движке, который вращают специальной миниатюрной отверткой.

В качестве примера на рис. 2 и 3 схематически показан общий вид двух типов подстроечных резисторов фирмы Bourns - 3303W-3 и 3314Z-2 соответственно. Ось вращения ротора у них перпендикулярна плате. Выпускают также конструктивные варианты резисторов, у которых ось вращения ротора параллельна плате.

Электронные компоненты для поверхностного монтажа

Угол поворота движка от упора до упора у резисторов разных типов различен и обычно находится в пределах 210...270 град. Есть в ассортименте этих резисторов и многооборотные. Приобретая резистор, обратите внимание на его максимально допустимое число циклов регулировки (один цикл - поворот движка от упора до упора и обратно). У некоторых типов резисторов это число не превышает 10.

Стандартный ряд номиналов подстроечных резисторов, выпускаемых ведущими фирмами, довольно широк. В частности, фирма Bourns представляет разработчикам резисторы с максимальным сопротивлением 10, 20, 50, 100, 200, 500 Ом, 1, 2, 5, 10, 20, 25, 50, 100, 200, 250, 500 кОм и 1 МОм. Маркировка номиналов - кодовая, код такой же, как у постоянных резисторов: первые две цифры значащие, а третья - число нулей (результат - в омах).

В связи с тем что на корпусе подстроечного резистора зачастую нет места, достаточного для размещения даже всего трех знаков кода номинала, разработаны специальные коды с меньшим числом знаков. Так, фирмы Nidec и Bourns используют двузначный числовой код, показанный в табл. 4.

Электронные компоненты для поверхностного монтажа

Для обозначения типа при заказе изделий каждая фирма пользуется, как правило, своей системой. У той же фирмы Bourns обозначение состоит из пяти элементов. Первый - четыре цифры, обозначающие тип группы; за ним следует буква, указывающая на особенности упаковки готового изделия (это касается монтажа с ленты с помощью автоматического оборудования в производственных условиях). Затем через дефис - цифра, характеризующая конструктивные особенности движка (1 - со шлицом под обычную отвертку, 2 - крестовое углубление под крестовую отвертку, 3 - движок низкого профиля с вращением крестовой отверткой). Далее через дефис - трехзначный код номинала сопротивления и буква, обозначающая рельефные особенности упаковочной ленты.

Конденсаторы

Для поверхностного монтажа выпускают керамические конденсаторы и оксидные.

Внешний вид керамических постоянных конденсаторов представлен на рис. 4, а в табл. 5 - их типоразмеры. Принцип маркировки керамических конденсаторов такой же, как у резисторов, следует лишь в результат вместо омов подставить пикофарады.

Электронные компоненты для поверхностного монтажа

Электронные компоненты для поверхностного монтажа

Возможна также маркировка специальным кодом, состоящим из одной или двух букв и цифры. Первая буква из двух указывает только на фирму-изготовитель. Вторая буква соответствует емкости (см. табл. 6), а цифра - степень сомножителя 10. Например, S3=4f7-103пФ.

Электронные компоненты для поверхностного монтажа

На практике большинство выпускаемых постоянных керамических ПМ-конденсаторов маркировки не имеют. И если их емкость можно определить измерением, то группу по ТКЕ и номинальное напряжение - только по сопроводительной документации (она должна быть у продавца). Реально оно находится в пределах 6...100 В (у некоторых типов "крупных" конденсаторов - до 500 В). Поскольку ПМ-конденсаторы применяют в основном в низковольтной аппаратуре, вопроса об их номинальном напряжении, как правило, не возникает.

Кроме постоянных, промышленность выпускает керамические подстроечные конденсаторы. Внешний вид наиболее популярных из них - TZC03 и TZBX4 показан на рис. 5,а,б соответственно.

Электронные компоненты для поверхностного монтажа

У этих конденсаторов между обкладками находится керамический диск, а корпус (основание) - пластмассовый. Пределы изменения емкости - от 1...3 до 14...70 пФ. Основные технические характеристики этих конденсаторов сведены в табл. 7.

Электронные компоненты для поверхностного монтажа

Оксидные постоянные конденсаторы для поверхностного монтажа представлены двумя группами - танталовыми и алюминиевыми.

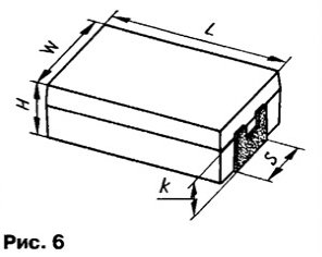
Танталовые конденсаторы оформлены в корпусе прямоугольной формы (рис. 6). Плюсовой вывод с лицевой стороны корпуса отмечен контрастной полосой (темной или светлой), нанесенной поперек корпуса.

Электронные компоненты для поверхностного монтажа

Типоразмеры конденсаторов и их обозначение сведены в табл. 8, а "личные" обозначения, применяемые некоторыми фирмами, - в табл. 9.

Электронные компоненты для поверхностного монтажа

Электронные компоненты для поверхностного монтажа
(нажмите для увеличения)

Маркировка конденсаторов типоразмеров А и В состоит из буквы и трех цифр. Буква указывает на номинальное напряжение конденсатора в соответствии с табл. 10, две первые цифры - на емкость в пикофарадах, а третья - на степень числа 10, являющегося множителем. На корпусе конденсаторов "крупных" типоразмеров емкость и напряжение указывают без кодировки. Так, например, надпись 10 25V соответствует емкости 10 мкф и напряжению 25 В.

Электронные компоненты для поверхностного монтажа

Емкость выпускаемых конденсаторов - от 0,1 до 100 мкФ (ряд Е6), допустимое отклонение от номинала - ±20 %. Номинальное напряжение - 4, 6,3, 10, 16, 20, 25, 35 и 50 В.

Внешний вид алюминиевых конденсаторов изображен на рис. 7.

Электронные компоненты для поверхностного монтажа

Их классифицируют по диаметру D (табл. 11).

Электронные компоненты для поверхностного монтажа

У этих конденсаторов, как и у танталовых, плюсовой вывод отмечен полосой контрастного цвета - светлой или темной. Емкость и номинальное напряжение наносят обычно на корпус прямой записью, например, 10 16V соответствует 10 мкФ, 16 В. Иногда вместо этого используют кодовое обозначение, состоящее из буквы и трех цифр. Буква указывает на напряжение (табл. 12), а цифры - на емкость в пикофарадах и степень множителя 10. Так, маркировка А475 означает емкость 4,7 мкФ и напряжение 10 В.

Электронные компоненты для поверхностного монтажа

Конденсаторы выпускают емкостью от 0,1 до 1000 мкФ (ряд Е6) с допустимым отклонением от номинальной ±20 %; номинальные значения напряжения - 4, 6,3, 10, 16, 25, 35 и 50 В.

Диоды

Из дискретных полупроводниковых приборов, предназначенных для поверхностного монтажа, реальный эффект в радиолюбительских устройствах дает применение компонентов только с двумя выводами - диодов, стабилитронов, варикапов и т. д. При использовании ПМ транзисторов вы получите, скорее всего, больше минусов, чем плюсов. Напомним, что в полной мере преимущества поверхностного монтажа выявляются только в условиях заводского серийного производства.

Известно, что диоды, как и другие полупроводниковые приборы, изготавливают в два этапа. На первом этапе производят собственно прибор (так называемый кристалл), а на втором его монтируют в корпус. Характеристики полупроводниковых приборов, естественно, не зависят от того, в каком именно корпусе он смонтирован, за исключением рассеиваемой мощности.

Иначе говоря, если пассивные компоненты, такие как резисторы, конденсаторы, дроссели и т. п., непосредственно изготавливают либо в "обычном" исполнении, либо для ПМ, то вид полупроводниковых приборов определяют только на этапе "упаковки" их в корпус. Поэтому применительно к полупроводниковым приборам (и к диодам, в частности) правильнее рассматривать не сами приборы, а их корпусы. Конечно, существуют приборы, выпускаемые только в корпусе одного вида, но это говорит лишь о том, что изготовители не считают целесообразным монтировать их в другие корпусы.

Для ПМ к настоящему времени разработано очень большое число разновидностей корпусов, поэтому привести полные сведения по всем выпускаемым в мире корпусам почти нереально. Задача этой статьи более скромная - дать общий обзор по наиболее распространенным из них.

По маркировке полупроводниковые приборы для ПМ аналогичны обычным. Если корпус слишком мал и не хватает места для полной маркировки, применяют сокращенную; иногда она вообще отсутствует. Единого международного стандарта на их обозначения нет, есть только национальные стандарты. Но и они не имеют обязательного характера, поэтому многие фирмы применяют свои "личные" обозначения.

Профессиональные разработчики, как правило, пользуются фирменными каталогами, в которых даны подробные сведения о выпускаемой продукции. Радиолюбителям-конструкторам приходится довольствоваться каталогами фирм-продавцов радиокомпонентов или искать необходимую информацию в Интернете.

Проблемы с обозначением радиоэлементов вызывают немалые сложности при ремонте импортной аппаратуры, причем схемы обычно отсутствуют. Зачастую, даже если удалось выявить неисправный элемент, например, транзистор, определить его тип и возможную замену не удается. Иногда изготовители аппаратуры делают это в откровенно коммерческих целях - чтобы не оставить без работы свои сервис-центры, они удаляют маркировку с покупных радиоэлементов широкого применения и наносят свою, "фирменную", что-нибудь вроде А1 или подобное.

Для упрощения изложения под Диодами в дальнейшем будем подразумевать все виды полупроводниковых приборов с двумя выводами.

Один из распространенных корпусов - цилиндрический стеклянный - выпускают в двух вариантах: MELF (D0213AB; MLL41) и MiniMELF (SOD80; D0213AA; MLL34). Внешний вид этого корпуса показан на рис. 8, а габариты - в табл. 13. Катод диода отмечен темной круговой полосой. Тип диода обычно указывают прямой маркировкой на корпусе, однако некоторые фирмы применяют свои "личные" обозначения.

Электронные компоненты для поверхностного монтажа

Корпусы SMA, SMB и SMC представляют собой пластмассовый параллелепипед с торцевыми пластинчатыми выводами, прилегающими к корпусу (рис. 9) и загнутыми под него. Габариты корпусов сведены в табл. 14. Буквой К в таблице обозначена длина той части каждого вывода, которая находится под корпусом. Со стороны анодного вывода на корпусе диода предусмотрено углубление, по форме подобное тому, которое на пластмассовых корпусах микросхем называют ключом, - оно обозначает первый вывод.

Электронные компоненты для поверхностного монтажа

Корпусы SOD123 и SOD323 - тоже пластмассовые и по форме такие же, как и SMA-SMC. Отличие заключается в конструкции выводов (рис. 10), пластинчатых, но направленных в стороны от корпуса. Габариты корпусов SOD123 и SOD323 представлены в табл. 15.

Электронные компоненты для поверхностного монтажа

Полярность диода определяет широкая полоса контрастного цвета, нанесенная на верхнюю грань корпуса со стороны катода. Здесь же размещают маркировку типа диода.

Наряду с одиночными диодами, фирмы выпускают сборки из двух или четырех диодов.

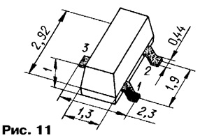
Простейшие сборки из двух диодов с общим выводом обычно "упаковывают" в широко применяемые трехвыводные транзисторные корпусы SOT23 (рис. 11) с выводами такой же формы, как у SOD123, SOD323. Общий электрод сборки (чаще всего - катод) обычно подключают к выводу 3. В такой корпус иногда помещают и одиночный диод - в этом случае один из выводов остается свободным.

Электронные компоненты для поверхностного монтажа

Цоколевка диодов и сборок обычно не является проблемой - катод и анод каждого из них легко определить омметром. Однако в случае стабилитронов или варикапов омметр может оказаться бессильным.

Диодные мосты выпускают в четырехвыводных корпусах DB и MB-S, внешний вид которых изображен на рис. 12, а габариты указаны в табл. 16. Выводы - такие же, как у корпусов SOD 123, SOD323. Цоколевку моста обычно указывают непосредственно на корпусе.

Электронные компоненты для поверхностного монтажа

Тип диодов, как правило, наносят на корпус, но ввиду его миниатюрных размеров зачастую маркировку сокращают. Некоторые фирмы используют свое "личное" обозначение, в том числе и в сокращенном виде.

Об электрических характеристиках ПМ диодов дают представление табл. 17 и 18.

Электронные компоненты для поверхностного монтажа

Электронные компоненты для поверхностного монтажа

В табл. 18 сведены диоды и диодные сборки в трехвыводном корпусе SOT23.

Автор: Д.Турчинский, г.Москва

Смотрите другие статьи раздела Справочные материалы.

Читайте и пишите полезные комментарии к этой статье.

<< Назад

Последние новости науки и техники, новинки электроники:

Власть является ключевым фактором счастья в отношениях 11.03.2026

Исследования семейных и романтических отношений показывают, что длительное счастье пары зависит не только от привычных факторов, таких как доверие, уважение и преданность, но и от более тонких психологических аспектов. Современные ученые ищут закономерности, которые отличают действительно счастливые пары от остальных, чтобы понять, какие механизмы поддерживают гармонию в отношениях. Группа исследователей из Университета Мартина Лютера в Галле-Виттенберге и Бамбергского университета провела опрос среди 181 пары, которые состояли в совместных отношениях более восьми лет и прожили вместе хотя бы месяц. Участники заполняли анкету, описывая различные аспекты своих отношений, включая распределение обязанностей, эмоциональную поддержку и степень вовлеченности в совместные решения. Анализ данных показал интересный паттерн: пары, где оба партнера ощущали высокий уровень личной власти, оказывались наиболее счастливыми и удовлетворенными. В данном контексте под властью понимается способност ...>>

Защищенная колонка-повербанк Anker Soundcore Boom Go 3i 11.03.2026

Компания Anker представила новую модель линейки Soundcore - колонку Soundcore Boom Go 3i, ориентированную на активное использование на улице. Новинка отличается высокой степенью защиты: корпус соответствует стандарту IP68, что обеспечивает водо- и пыленепроницаемость, а ударопрочный дизайн выдерживает падение с высоты до одного метра. За качество звука отвечает 15-ваттный драйвер, обеспечивающий пик громкости до 92 дБ, а технология BassUp 2.0 усиливает низкие частоты, делая звучание более насыщенным. Колонка обладает автономностью до 24 часов, а LED-индикатор позволяет контролировать уровень заряда батареи. Кроме того, Soundcore Boom Go 3i может выполнять функцию павербанка: согласно внутренним тестам, устройство способно зарядить iPhone 17 с нуля до 40% за один час, что делает его полезным аксессуаром в походах и поездках. Среди функциональных особенностей модели стоит выделить технологию Auracast, которая улучшает подключение и позволяет создавать стереопару из двух колонок ...>>

Раннее воздержание от алкоголя перестраивает мозг и иммунитет 10.03.2026

Алкогольная зависимость - хроническое расстройство с компульсивным употреблением спиртного, которое влияет не только на поведение, но и на функционирование мозга и иммунной системы. Недавние исследования показали, что даже на ранних этапах воздержания организм начинает перестраиваться, открывая новые возможности для терапии зависимости. Ученые сосредоточились на пациентах, находящихся в первые недели абстиненции, и зафиксировали значительные изменения в мозговой активности. С помощью функциональной магнитно-резонансной томографии они выявили перестройку сетей нейронных связей, отвечающих за контроль импульсов и принятие решений. Эти изменения могут быть ключевыми для восстановления самоконтроля и снижения риска рецидива. Одновременно с нейронной перестройкой исследователи наблюдали колебания иммунной системы. В крови повышался уровень цитокинов - сигнальных белков, регулирующих воспалительные процессы. Эти данные свидетельствуют о существовании нейроиммунного взаимодействия, при ...>>

Случайная новость из Архива

Глобальная транспортная система с дирижаблями 02.09.2019

Поднимаясь на высоту от 10 до 20 километров, дирижабли смогут переноситься силой полярного струйного течения - узкого и мощного потока, стабильно дующего в верхней тропосфере.

Эпоха дирижаблей завершилась в 1937 году, когда пассажирский "Гинденбург" загорелся и погиб во время посадки. Эта катастрофа не была крупнейшей, но оказалась последней каплей: от опасного вида транспорта отказались, невзирая на всю его экономичность. Возможно, теперь настало время вернуться к цеппелинам - уже на новом уровне и с новыми технологиями. Недаром многие компании мира уже разрабатывают свои системы перевозок с использованием таких аппаратов легче воздуха.

Некоторые перспективы грузоперевозок на дирижаблях оценили Джулиан Хант (Julian Hunt) и его коллеги. Их концепция опирается на аппараты по-настоящему большого размера; авторы пишут о дирижаблях вдесятеро крупнее "Гинденбурга", который насчитывал в длину 245 метров. В теории это обеспечит повышение грузоподъемности уже на три порядка даже в сравнении с "Гинденбургом", который мог брать на борт до 100 тонн полезной нагрузки.

Поднимаясь на высоту от 10 до 20 километров, такие великаны смогут переноситься силой полярного струйного течения - узкого и мощного потока, стабильно дующего в верхней тропосфере. В умеренных широтах Северного полушария оно направлено с запада на восток и достигает средней скорости 165 км/ч. По расчетам Ханта и его коллег, "оседлав" этот поток, громадные дирижабли смогут совершать полное путешествие вокруг Земли за 16 дней, перенося десятки тысяч тонн груза и практически не расходуя энергии. Аналогичный маршрут в Южном полушарии займет 14 дней.

Благодаря современным материалам и технологиям громадные грузовые дирижабли могут стать куда безопаснее "Гинденбурга", оболочка которого изготавливалась еще из кишок животных - сегодня ее можно сделать из углеволокна. С другой стороны, необходимую для путешествия с ветром "плавучесть" аппарату по-прежнему может обеспечить только легкий газ. Единственным экономически доступным вариантом его и сегодня остается тот же водород, огнеопасность которого так ярко продемонстрировал "Гинденбург". И если авария все-таки случится, страшно даже представить, чем обернется взрыв тысячетонного цепеллина с водородным баллоном километровой длины.

Другие интересные новости:

▪ LMH6533 - драйвер лазерных диодов

▪ Компьютер сковывает фантазию конструктора

▪ Опасность городского смога

▪ Происхождение домашней кошки

▪ Новые сенсоры ISOCELL от Samsung

Лента новостей науки и техники, новинок электроники

 

Интересные материалы Бесплатной технической библиотеки:

▪ раздел сайта Загадки для взрослых и детей. Подборка статей

▪ статья Я ведь академиев не проходил. Я их не закончил. Крылатое выражение

▪ статья Когда появилась первая живопись? Подробный ответ

▪ статья Менеджер по торговому маркетингу. Должностная инструкция

▪ статья Габаритные огни инопланетян. Энциклопедия радиоэлектроники и электротехники

▪ статья Пироэлектрические датчики ИК излучения. Энциклопедия радиоэлектроники и электротехники

Оставьте свой комментарий к этой статье:

Имя:


E-mail (не обязательно):


Комментарий:





Главная страница | Библиотека | Статьи | Карта сайта | Отзывы о сайте

www.diagram.com.ua

www.diagram.com.ua
2000-2026