Menu Home

Бесплатная техническая библиотека для любителей и профессионалов Бесплатная техническая библиотека


Расчет и конструирование акустических систем. Энциклопедия радиоэлектроники и электротехники

Бесплатная техническая библиотека

Энциклопедия радиоэлектроники и электротехники / Акустические системы

Комментарии к статье Комментарии к статье

Футляр без задней стенки

Основная частота резонанса такого футляра

Расчет и конструирование акустических систем

где I - глубина ящика, м; S - площадь отверстия, м2. Увеличение акустической мощности на основной частоте резонанса на 3-6 дБ при сравнительно плоских и 6-10 дБ при глубоких футлярах придает изучаемому звуку неестественный тембр. Если fЯ = fГ, то увеличение акустической мощности на нижних частотах наиболее значительно. Целесообразно использовать громкоговоритель с частотой резонанса ниже частоты резонанса ящика; наиболее часто встречается соотношение fГ / fЯ = 0,5 - 0,7.

Футляр без задней крышки как акустическое оформление в высококачественных системах воспроизведения в настоящее время не используют. Если же нет альтернативы, то футляр должен быть возможно более плоским. Футляр без задней крышки с громкоговорителем следует располагать не ближе 20 см от стены, которую рекомендуется задемпфировать тяжелым ковром. Если громкоговоритель должен быть размещен вдоль одной из стен, то желательно вдоль короткой, ближе к ее середине.

Расчет закрытого футляра

Установка громкоговорителя в закрытом футляре достаточно большого объема позволяет получить удовлетворительное воспроизведение нижних частот, так как передняя сторона диффузора полностью защищается от излучения задней стороны. Это приводит к более медленному уменьшению акустической мощности на нижних частотах, чем при установке громкоговорителя в акустическом экране конечных размеров.

Частоту резонанса громкоговорителя, установленного в закрытом футляре средних размеров fР при условии, что громкоговоритель занимает менее трети площади стенки, на которой он укреплен, определяют в следующем порядке:

1) определяют гибкость подвесов подвижной системы громкоговорителя СР;

2) вычисляют гибкость объема воздуха ь футляре по формуле
Расчет и конструирование акустических систем

где V - объем воздуха в футляре, м3, равный его внутреннему объему за вычетом объема громкоговорителя, который в первом приближении равен 0,4 d4; d - диаметр диффузора, м;

3) по отношению СГ / СВ с помощью номограммы на рис. 4-20 определяют отношение fР / fГ, обеспечиваемое футляром данного объема V. Частоту механического резонанса громкоговорителя в акустическом экране можно взять из табл. 4-11.

Если нужно с имеющимся громкоговорителем получить акустическую систему в виде закрытого футляра с резонансной частотой fР, то требуемый объем футляра определяют в следующем порядке:

1) берут значение резонансной частоты громкоговорителя fГ в акустическом экране из табл. 4-11;

2) определяют гибкость подвесов подвижной системы громкоговорителя СГ;

3) задавшись желаемым отношением fР / fГ, определяют по графику на рис. 4-20 соответствующее ему отношение СГ/СВ и находят требуемую гибкость объема воздуха Сд в закрытом футляре;
Расчет и конструирование акустических систем

4) вычисляют требуемый объем воздуха внутри футляра в кубических метрах по формуле

Полный внутренний объем футляра получают, добавив к вычисленному значению V объем громкоговорителя.

Если значение fГ неизвестно или затруднительно его определить в акустическом экране достаточно большого размера, то можно измерить частоту механического резонанса громкоговорителя fБ, без экрана и при расчете пользоваться кривой fР / fБ на рис. 4-20.

Приведенный расчет справедлив лишь для частот f<;40/L ( L - глубина футляра в метрах). В связи с этим заднюю сторону диффузора громкоговорителя в закрытом футляре нужно защищать от отраженных внутренними стенками звуковых волн, соответствующих более высоким частотам, покрытием этих стенок звукопоглощающим материалом .

Габариты закрытого футляра можно уменьшить, заполнив его стекловатой или другим подобным материалом. Такое заполнение равносильно увеличению объема футляра на 40%.

Расчет и конструирование акустических систем

Если полученная расчетом частота /р достаточно низка, то громкоговоритель должен иметь Q около 1. Если же частота fР недопустимо высока, то хорошие результаты получаются при снижении добротности до значения Q около 0,1; при этом, конечно, необходим подъем нижних частот в усилителе примерно на 6 дБ/октава начиная с частоты

Расчет и конструирование акустических систем

Расчет фазоинвертора

Фазоинвертор представляет собой футляр 1 (рис. 4-21) с дополнительным отверстием 3, расположенным рядом с укрепленным на той же стенке громкоговорителем 2 и имеющим площадь, как правило, равную площади диффузора. Задавшись глубиной фазоинверсного отверстия, отношением его сторон, подсчитав эффективную площадь диффузора (определяющую площадь отверстия) и принимая резонансную частоту фазоинвертора fФ = fГ, по номограмме на рис. 4-22 можно определить требуемый объем футляра.

Расчет и конструирование акустических систем

Расстояние от конца туннеля до задней стенки ящика не должно быть менее dГ /2.

На частоте fФ фазоинвертор можно рассматривать как акустический трансформатор, улучшающий согласование громкоговорителя с воздушной нагрузкой. Хотя акустическая мощность, отдаваемая передней стороной диффузора, уменьшается на этой частоте, общая акустическая мощность может возрасти значительно. Вместе с тем существенно уменьшаются нелинейные искажения и увеличивается номинальная мощность громкоговорителя вследствие уменьшения амплитуды смещения диффузора..

Расчет и конструирование акустических систем
(нажмите для увеличения)

Глубина фазоинверсного отверстия может варьироваться от толщины стенки футляра (рис. 4-21, а) до величины, приблизительно равной 30 / fФ при использовании туннеля 5 (рис. 4-21, б). Значительная длина туннеля позволяет применить маленький ящик.

На частотах ниже fФ реакция гибкости воздушного объема увеличивается и образует жесткую связь между массой воздуха в отверстии и массой подвижной системы громкоговорителя. Масса воздуха, таким образом, прибавляется к массе подвижной системы и вместе с гибкостью подвесов образует механический контур с резонансной частотой f1 < fФ . Когда диффузор на этой частоте смещается вперед, воздух в отверстии движется назад (и наоборот) и эффективность излучения ничтожна.

На частотах выше fФ, сопротивлениемассы воздуха в отверстии становится высоким и фазоинвертор можно рассматривать как полностью закрытый футляр. Жесткость воздушного объема прибавляется к жесткости подвесов и вместе с массой подвижной системы образует контур с резонансной частотой f2 > fФ . Излучение фазоинверсным отверстием на частоте f2 весьма мало.

Полное электрическое сопротивление громкоговорителя RГ в фазоинверторе имеет обычно два максимума (сплошная кривая на рис. 4-23) на частотах f1 и f2, расположенных по обе стороны от частоты резонанса громкоговорителя в плоском акустическом экране fГ (штриховая линия на рис. 4-23, где R - сопротивление катушки громкоговорителя постоянному току).

Расчет и конструирование акустических систем

Пики полного сопротивления громкоговорителя в фазоинверторе существенно ниже пика громкоговорителя в акустическом экране, однако соответствующие им значения Q1 и Q2 выше Qr - громкоговорителя в акустическом экране. Этот недостаток особенно сильно проявляется на частоте f1, так как увеличение скорости движения диффузора приводит к увеличению нелинейных искажений, заметности которых способствует отсутствие полезного излучения на этой частоте. С этим явлением можно бороться ограничением выходной мощности усилителя на частотах, близких к f1 .

Если желательно, чтобы частотная характеристика громкоговорителя в фазоинверторе была горизонтальна в нижней части рабочего диапазона частот, начиная от /г, то необходимо выполнить условие QГ = 0,6.

При увеличении QГ значение Qg возрастает, а значение QФ, уменьшается и это вызывает неравномерность частотной харак-терисгики. Если уменьшить Qr нет возможности, то необходимо хотя бы подавить пик частотной характеристики на частоте f2, возникающий при QГ > 0,6 . Это достигается введением в ящик звукопоглощающего материала 4 (см. рис. 4-21). Иногда весь объем заполняют стекловатой. В этом случае площадь фазоинверсного отверстия, полученную расчетом по номограмме на рис. 4-22, следует увеличить в 2,5 раза.

Введение в фазоинвертор большого коли-чества звукопоглощающего материала приводит к ослаблению излучения нижних частот, и при желании продлить характеристику в сторону этих частот, хотя бы до fГ, следует обеспечить существенный подъем нижних частот в усилителе.

Настройка фазоинвертора производится изменением площади отверстия (например, пластиной, укрепленной так, чтобы ее поворот изменял площадь отверстия) или глубины туннеля. Необходимо стремиться к тому, чтобы частотный интервал, разделяющий резонансные пики полного сопротивления, не отличался значительно от октавы; амплитуды пиков были равны; любые дополнительные пики, вызванные возникновением стоячих волн в ящике, ликвидировались путем добавления демпфирующего материала.

Преимущество фазоинвертора в сравнении с закрытым ящиком того же объема состоит в увеличении акустической мощности приблизительно на 5 дБ в диапазоне от одной до двух октав и в уменьшении нелинейных искажений в диапазоне частот fФ - 2/ф при той же акустической мощности.

Недостатком фазоинвертора являются более быстрое уменьшение акустической мощности на частотах ниже fФ, чем в закрытом ящике, и необходимость настройки.

Конструирование футляров

В футляре, где смонтирован громкоговоритель, на одной или нескольких частотах звукового диапазона возможен резонанс, приводящий к неприятному изменению тембра звуковоспроизведения. Это явление проявляется наиболее сильно в частично или полностью закрытых футлярах.

Уменьшению вибраций стенок способствует применение материалов с большой плотностью. Используемая для этих целей фанера должна иметь толщину не менее 20 мм. Хороший результат дает сухой речной песок, засыпаемый между двумя тонкими фанерными листами. Стенки, в особенности задняя и частично передняя, должны быть усилены деревянными брусками. Возможно использование древесно-стружечной плиты.

Демпфирование стенок футляра

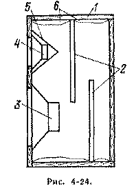
Внутренние поверхности футляра 1 (рис. 4-24) покрыты слоем звукопоглощающего материала 6 толщиной не менее 10 мм (или одна из пар параллельных поверхностей слоем двойной толщины). Однако стоячие волны на нижних частотах при этом не устраняются.

Лучший результат дает разделение объема футляра одной или несколькими звукопоглощающими перегородками 2, например, из войлока толщиной 5-10 мм. Секции ящика, которые отделены от громкоговорителя одной или несколькими перегородками, в этом случае требуют очень слабой акустической обработки. Верхнечастотный громкоговоритель 4 должен быть защищен от излучения задней стороны диффузора нижнечастотного громкоговорителя несколькими слоями звукопоглощающего материала, или металлическим колпаком 5. Нижнечастотный громкоговоритель 3 размещается внизу футляра.

Расчет и конструирование акустических систем

Размещение громкоговорителя

Отверстие, в котором размещается громкоговоритель, ведет себя как труба, длина которой равна толщине стены или доски. Резонансы и антирезонансы этой трубы, а также отражения от краев отверстия вызывают неравномерность частотной характеристики. Очевидные рекомендации: скашивание краев отверстия или установка громкоговорителя в более тонком экране, который затем размещается в стене или в экране нормальной толщины.

Расчет и конструирование акустических систем

Форма ящика

На нижних частотах громкоговоритель излучает сферические волны, и ребра ящика, особенно те, которые составляет фронтальная стенка, образуют препятствия на пути звуковых волн. Это вызывает искривление фронта волны (дифракцию) и вторичное излучение от ребер, что приводит к возникновению интерференционных явлений, вызывая появление на частотной характеристике пиков и провалов до ± 5 дБ. С точки зрения борьбы со вторичным излучением идеальная форма - сфера, худшая - куб с громкоговорителем в центре одной из сторон. Прямоугольный параллелепипед с громкоговорителем, размещенным ближе к одной из коротких сторон - предпочтительнее куба. Однако лучшее приближение к идеалу дает прямоугольная усеченная пирамида, поставленная на прямоугольный параллелепипед (рис. 4-25). При любой форме желательно, чтобы ящик имел различные значения линейных размеров; ни один из линейных размеров не был много больше или много меньше других; наибольший размер ящика не должен превышать 1/4 длины волны нижней частоты рабочего диапазона.

Декоративная ткань не должна вызывать значительных потерь акустической мощности. Наиболее пригодна ткань из твердых, крепких (хлопчатобумажных или пластиковых) свободно переплетенных нитей. Применение тканей из мягких и пушистых нитей нежелательно.

Соединение в группы и фазирование громкоговорителей

Групповое соединение образуют несколько одинаковых громкоговорителей, размещенных близко один к другому в одном акустическом экране. Группа громкоговорителей имеет большую площадь излучения на нижних частотах (что потребовало бы при использовании одного громкоговорителя значительного увеличения размеров и массы подвижной системы); вместе с тем сохраняются преимущества отдельного громкоговорителя со сравнительно легкой подвижной системой -с точки зрения переходного режима и воспроизведения высоких частот.

Сопротивление воздуха излучению каждого громкоговорителя группы возрастает на нижних частотах в п раз (га - число громкоговорителей в группе). Это позволило бы получить значительный выигрыш в акустической мощности, если бы одновременно не увеличивалась в кв.корень из n раз масса соколеблюще-гося воздуха. В результате при п == 2 -:- 4 акустическая мощность увеличивается значительно, но все же не в я раз (при той же электрической мощности), а дальнейшее возрастание п выигрыша почти не дает.

Увеличение массы соколеблющегося воздуха понижает частоты резонанса каждого громкоговорителя группы и, следовательно, расширяет рабочий диапазон частот, особенно значительно при большом я.

Наиболее удовлетворительное соединение громкоговорителей в группу - параллельное; тогда Q системы не будет отличаться от QГ. Если необходимо, чтобы сопротивление группы было равно сопротивлению одного громкоговорителя, то с точки зрения лучшего Q группы лучше применить последовательно-параллельное соединение громкоговорителей (число которых должно быть равно n2, где п = 1, 2, 3 ...). При любом соединении громкоговорителей в группу они должны быть правильно сфазированы: при подключении источника постоянного тока (например, низковольтной батареи) к входным зажимам диффузоры всех громкоговорителей должны смещаться в одном направлении. Изменение направления смещения диффузора громкоговорителя производится изменением порядка включения его входных концов.

Если размещение группы громкоговорителей в закрытом ящике встречает затруднение - требуемый объем футляра по расчету получается недопустимо большим, то громкоговорители можно разместить в малом акустическом экране или ящике меньшего объема, заполненном поглощающим материалом, компенсируя ослабление излучения на нижних частотах соответствующей коррекцией в усилителе.

К недостаткам группового соединения относится значительная нерегулярность частотной характеристики и характеристики направленности на верхних частотах.

Двух- и трехполосные акустические системы

Выбор громкоговорителей. Звуковоспроизведение с качеством по классу I обычно можно получить, применяя широкополосный громкоговоритель, например 4ГД4, 4ГД7 или 4ГД28, либо разделяя полный диапазон частот, соответствующий этому классу, на две полосы. Для обеспечения звуковоспроизведения с качеством по классу "высший" встречается необходимость разделять полный диапазон на три полосы.

Номинальный диапазон частот громкоговорителя, предназначаемого для воспроизведения той или иной полосы, должен быть шире этой полосы на две октавы при использовании фильтров с крутизной 6 дБ/октава и на одну октаву при использовании фильтров с крутизной 12 дБ/октава. Частоту разделения двухполосной системы выбирают обычно от 400 до 1 200 Гц. В трехполосной системе нижнечастотное звено может работать до 300-600 Гц, среднечастотное - до 2 000- 5 000 Гц.

Вблизи частоты разделения часто возникают значительные искажения, вызванные совместной работой громкоговорителей. Если расстояния от каждого из громкоговорителей до слушателя неравны, то частотная характеристика системы может иметь значительную неравномерность, определяемую фазовыми соотношениями приходящих сигналов.

Разделительные фильтры. Наиболее простое подключение верхнечастотного громкоговорителя - через конденсатор, защищающий верхнечастотный громкоговоритель от перегрузки на нижних частотах. Такое включение применяется, когда основной громкоговоритель имеет недостаточно широкий частотный диапазон. Емкость конденсатора рассчитывается по формуле

Расчет и конструирование акустических систем

где fР - частота разделения, Гц; RР - полное сопротивление громкоговорителя на частоте fР, Ом.

При правильно построенном фильтре каждый громкоговоритель должен работать лишь в той области частот, на которую он рассчитан. Потери в фильтре в полосе пропускания должны быть минимальными.

Индуктивности и емкости фильтра при различной крутизне среза, которая определяется как изменение затухания при изменении частоты на октаву, вычисляются по следующим формулам.

Расчет и конструирование акустических систем

Для крутизны спада 6 дБ/октава (фильтр по схеме на рис. 4-26)

Для крутизны спада 12дБ/октава (фильтр по схеме на рис. 4-27)

Расчет и конструирование акустических систем

В формулах (4-11) и (4-12) индуктивности имеют размерность миллигенри и емкости - микрофарад.

Расчет и конструирование акустических систем

На основе расчета выбирают конденсаторы с ближайшими большими номинальными стандартными емкостями. Для подбора емкости возможно параллельное соединение нескольких конденсаторов. Очевидно, что при отклонении емкости конденсатора от полученной расчетом величины частота разделения будет' отличаться от заданной.

Расчет и конструирование акустических систем

Если для фильтра нужны емкости порядка десятков микрофарад и выше, то с целью уменьшения его габаритов целесообразно использовать электролитические конденсаторы. Так как последние полярны, а будут работать в цепи переменного тока, то в каждом звене фильтра придется применить по два встречно включенных конденсатора, каждый из которых должен иметь емкость, возможно более близкую к полученной расчетом. В звеньях разделительного фильтра бестрансформаторного транзисторного усилителя можно применить по одному электролитическому конденсатору, соблюдая правильную полярность их включения.

Фильтр для трехполосного акустического агрегата (рис. 4-28) представляет собой комбинацию двух рассмотренных выше фильтров. Первый отделяет нижнечастотную область от среднечастотной; последняя затем делится вторым фильтром. Оба фильтра не должны иметь одинаковую крутизну среза; они должны лишь рассчитываться для одного сопротивления.

Расчет и конструирование акустических систем

Методика расчета разделительных фильтров базируется на предположении равенства и активного характера громкоговорителей в разделяемых полосах. Так как полное сопротивление громкоговорителя на частоте разделения может иметь значительную индуктивную составляющую, во избежание частотных искажений в области перекрытия следует учитывать при расчете индуктивность средне- и нижнечастотного громкоговорителей как часть фильтра, т. е. изготовлять катушку фильтра, включаемую последовательно с громкоговорителем, с индуктивностью меньше расчетной на индуктивность громкоговорителя.

Если сопротивления громкоговорителей в звеньях многополосной системы не равны, то следует попытаться подобрать равные сопротивления звеньев путем группового соединения (допустимо последовательное соединение верхнечастотных громкоговорителей) .

Параллельное соединение двух-трех верхнечастотных громкоговорителей дает возможность использовать их в сочетании практически с любым нижечастотным громкоговорителем. Возможное расхождение в величинах полных сопротивлений звеньев акустической системы может быть устранено увеличением входного сопротивления верхнечастотного звена с помощью делителя напряжения из резисторов.

Если в двух- или трехзвенной системе используется несколько верхнечастотных громкоговорителей (например, 1ГД-3), то их следует располагать в футляре так, чтобы угол между их осями в горизонтальной плоскости имел величину около 20-30°.

Если же в многополосной звуковоспроизводящей системы используется только один верхнечастотный громкоговоритель, имеющий полное сопротивление больше, чем у громкоговорителя нижнечастотного звена, то с целью выравнивания сопротивления нагрузки разделительного фильтра в области верхних частот верхнечастотный громкоговоритель следует шунтировать резистором соответствующего сопротивления.

Стереофонические акустические системы

Громкоговорители двухканальной стереофонической системы должны быть строго идентичны. Их следует располагать в соответствии с рис. 4-29, где зона оптимального"' стереофонического эффекта заштрихована.

Расчет и конструирование акустических систем

Ориентирование громкоговорителей зависит от их характеристик направленности и должно быть определено экспериментально. Оси громкоговорителей не должны пересекаться в зоне расположения слушателей.

Публикация: Н. Большаков, rf.atnn.ru

Смотрите другие статьи раздела Акустические системы.

Читайте и пишите полезные комментарии к этой статье.

<< Назад

Последние новости науки и техники, новинки электроники:

Власть является ключевым фактором счастья в отношениях 11.03.2026

Исследования семейных и романтических отношений показывают, что длительное счастье пары зависит не только от привычных факторов, таких как доверие, уважение и преданность, но и от более тонких психологических аспектов. Современные ученые ищут закономерности, которые отличают действительно счастливые пары от остальных, чтобы понять, какие механизмы поддерживают гармонию в отношениях. Группа исследователей из Университета Мартина Лютера в Галле-Виттенберге и Бамбергского университета провела опрос среди 181 пары, которые состояли в совместных отношениях более восьми лет и прожили вместе хотя бы месяц. Участники заполняли анкету, описывая различные аспекты своих отношений, включая распределение обязанностей, эмоциональную поддержку и степень вовлеченности в совместные решения. Анализ данных показал интересный паттерн: пары, где оба партнера ощущали высокий уровень личной власти, оказывались наиболее счастливыми и удовлетворенными. В данном контексте под властью понимается способност ...>>

Защищенная колонка-повербанк Anker Soundcore Boom Go 3i 11.03.2026

Компания Anker представила новую модель линейки Soundcore - колонку Soundcore Boom Go 3i, ориентированную на активное использование на улице. Новинка отличается высокой степенью защиты: корпус соответствует стандарту IP68, что обеспечивает водо- и пыленепроницаемость, а ударопрочный дизайн выдерживает падение с высоты до одного метра. За качество звука отвечает 15-ваттный драйвер, обеспечивающий пик громкости до 92 дБ, а технология BassUp 2.0 усиливает низкие частоты, делая звучание более насыщенным. Колонка обладает автономностью до 24 часов, а LED-индикатор позволяет контролировать уровень заряда батареи. Кроме того, Soundcore Boom Go 3i может выполнять функцию павербанка: согласно внутренним тестам, устройство способно зарядить iPhone 17 с нуля до 40% за один час, что делает его полезным аксессуаром в походах и поездках. Среди функциональных особенностей модели стоит выделить технологию Auracast, которая улучшает подключение и позволяет создавать стереопару из двух колонок ...>>

Раннее воздержание от алкоголя перестраивает мозг и иммунитет 10.03.2026

Алкогольная зависимость - хроническое расстройство с компульсивным употреблением спиртного, которое влияет не только на поведение, но и на функционирование мозга и иммунной системы. Недавние исследования показали, что даже на ранних этапах воздержания организм начинает перестраиваться, открывая новые возможности для терапии зависимости. Ученые сосредоточились на пациентах, находящихся в первые недели абстиненции, и зафиксировали значительные изменения в мозговой активности. С помощью функциональной магнитно-резонансной томографии они выявили перестройку сетей нейронных связей, отвечающих за контроль импульсов и принятие решений. Эти изменения могут быть ключевыми для восстановления самоконтроля и снижения риска рецидива. Одновременно с нейронной перестройкой исследователи наблюдали колебания иммунной системы. В крови повышался уровень цитокинов - сигнальных белков, регулирующих воспалительные процессы. Эти данные свидетельствуют о существовании нейроиммунного взаимодействия, при ...>>

Случайная новость из Архива

Производство DRAM с использованием EUV-литографии 18.07.2021

SK Hynix объявила о начале массового производства микросхем DRAM LPDDR4-4266 объемом 8 Гбит на основе узла 1a-nm, который является четвертым поколением техпроцессов в диапазоне 10-20 нм. Это первый случай, когда SK Hynix использовала оборудование с технологией экстремальной ультрафиолетовой литографии (EUV) в серийном производстве, после частичного внедрения на прошлых этапах.

SK Hynix ожидает, что новая технология приведет к улучшению показателей производительности и себестоимости. По мнению специалистов, узел 1a-nm обеспечит на четверть большее количество чипов с одной пластины по сравнению с предыдущим узлом 1z-nm. Компания планирует начать отгрузку данного типа мобильной DRAM со второй половины 2021 года.

Постепенно SK Hynix планирует переводить на нормы 1a-nm все большее количество своих продуктов памяти, включая микросхемы DDR5 для серверной, настольной и мобильной техники.

Чо Янгманн (Cho Youngmann), вице-президент SK Hynix, заявил: "Благодаря повышенной производительности и экономической конкурентоспособности новейшая 1a-nm DRAM не только поможет обеспечить высокую прибыльность, но и укрепит статус SK Hynix в роли ведущей технологической компании, благодаря раннему внедрению технологии EUV-литографии для массового производства".

Другие интересные новости:

▪ Ноутбук Lenovo ThinkBook X AI 2024

▪ Почему дельфины такие умные

▪ Мужской и женский мозг сотрудничают по-разному

▪ 3D-принтер и ультразвук ускорят лечение переломов

▪ Впервые оценено магнитное поле экзопланеты

Лента новостей науки и техники, новинок электроники

 

Интересные материалы Бесплатной технической библиотеки:

▪ раздел сайта Применение микросхем. Подборка статей

▪ статья Американская мечта. Крылатое выражение

▪ статья Почему тигры иногда рождаются с белым мехом? Подробный ответ

▪ статья Ялапа настоящая. Легенды, выращивание, способы применения

▪ статья Свет на минутку. Энциклопедия радиоэлектроники и электротехники

▪ статья Быстрое извлечение кубического корня. Секрет фокуса

Оставьте свой комментарий к этой статье:

Имя:


E-mail (не обязательно):


Комментарий:




Комментарии к статье:

Анатолий
Очень полезная статья для реального конструирования АС.

Евгений Алексеевич
Поучительная и полезная статья. Многое понятно. Спасибо автору!

Дмитрий
Когда я был маленький, это была уже очень старая книжонка. Но всё равно спасибо, улыбнулся.

Igor
Отлично! Так держать!

Гость
Классика не стареет. Спасибо за подборку.


Главная страница | Библиотека | Статьи | Карта сайта | Отзывы о сайте

www.diagram.com.ua

www.diagram.com.ua
2000-2026