Menu Home

Бесплатная техническая библиотека для любителей и профессионалов Бесплатная техническая библиотека


Трансформаторные каскады с парафазным возбуждением. Энциклопедия радиоэлектроники и электротехники

Бесплатная техническая библиотека

Энциклопедия радиоэлектроники и электротехники / Усилители мощности ламповые

 Комментарии к статье

В статье представлены оригинальные варианты схем трансформаторных ламповых каскадов. Комбинации двух однотактных каскадов с парафазным возбуждением позволяют получить интересные модификации, аналогичные двухтактным каскадам. Описаны их преимущества и недостатки, приведены расчетные формулы и результаты исследования параметров.

Рассмотренные в этой статье варианты выходных каскадов ламповых усилителей ведут свою родословную от обыкновенного однотактного выходного каскада [1,2]. Получившийся результат - явный компромисс, но каждый из вариантов описываемых схем имеет некоторые преимущества, а насколько они ценны - судите сами.

Трансформаторные каскады с параллельным питанием

Первоначально я использовал в усилителе выходной каскад по схеме, показанной на рис. 1, вынужденно, несмотря на его недостатки [3]. Фактически, его главное преимущество - отсутствие постоянного подмагничивания выходного трансформатора. Это позволяет улучшить параметры каскада за счет повышения индуктивности обмоток и (или) уменьшения паразитных параметров трансформатора.

В таком каскаде с параллельным нагрузке питанием перемагничивание магнитопровода происходит по симметричной петле. Это - "хорошо", потому что в нем не возникают четные гармоники, а допустимый размах индукции увеличивается; "плохо" потому, что при переходе индукции через ноль кривая намагничивания существенно нелинейна.

Трансформаторные каскады с парафазным возбуждением
(нажмите для увеличения)

Если трансформатор работает по симметричной петле перемагничивания, ничто не мешает преобразовать каскад в двухтактный, добавив его преимущества и недостатки к уже имеющимся. Естественно, можно задать резонный вопрос: зачем это делать? Попробую ответить.

При разработке ламповых УМЗЧ получение максимально линейного, без искажений, усиления стараются достигнуть, в первую очередь, методами, позволяющими подавить нежелательную нелинейность без использования общей обратной связи. Двухтактные каскады дают такую возможность параметрическими методами без введения ООС повысить линейность мощных каскадов, используя симметрию структуры. Обсуждаемые в [4] способы подавления четных гармоник в однотактных каскадах путем подбора типов и режимов ламп менее универсальны в сравнении с двухтактной структурой. В результате доминирующими в спектре выходного сигнала являются нечетные гармоники, но их уровень на порядок меньше, чем подавленных четных, поэтому с ними гораздо легче бороться другими методами.

Однотактный каскад принципиально несимметричен. Следствием этого является то, что скорости нарастания и спада фронтов сигналов импульсного характера принципиально разные. Также это приводит к повышенному уровню фазовых искажений. В двухтактных каскадах этот недостаток менее выражен.

Схему двухтактного каскада из исходной (по рис. 1) можно получить включением нагрузки между выходами двух однотактных каскадов с параллельным питанием и, соответственно, возбуждением этих каскадов парафазным сигналом (рис. 2). Для ламп с малым напряжением смещения более удобна схема, показанная на рис. 3, так как в этом случае не требуется отдельного источника смещения. Фактически эта схема аналогична обычному дифференциальному каскаду. Нормальная работа этих каскадов возможна только в классе А.

Если лампы идентичны, то коэффициент усиления такого каскада для парафазных сигналов

где (μ - коэффициент усиления лампы; R, - ее внутреннее сопротивление; RH - сопротивление нагрузки, а выходное сопротивление

Разделительный конденсатор Ср при соблюдении некоторых условий может отсутствовать, но без поддержания равных напряжений на анодах ламп использовать его необходимо. Кроме того, наличие этого конденсатора позволяет независимо и в широких пределах менять режим работы каждой лампы каскада. Появляется возможность установить режим работы каскада с желаемым уровнем четных гармоник даже для ламп с существенно разнящимися характеристиками.

Трансформаторные каскады с парафазным возбуждением
(нажмите для увеличения)

В результате такой модификации достигается удвоение выходной мощности, а также компенсация четных гармоник ламп и трансформатора. Появляется возможность регулировать спектр искажений сигнала. Габариты трансформатора допустимо уменьшить или при тех же размерах улучшить его параметры. При отсутствии подмагничивания трансформатора упрощается его конструкция.

При этом, однако, потребуется более высокое напряжение питания, хотя КПД даже теоретически не превысит 25 %. Выходное сопротивление модифицированного каскада вдвое больше, а уровень нечетных гармоник выше, так как ток сигнала протекает через две лампы.

Конечно, самым неприятным из недостатков являются нечетные гармоники, для подавления которых целесообразно ввести местную обратную связь в выходной каскад. Наиболее оптимально использовать здесь катодную обратную связь, как показано на рис. 4.

Посмотрим, что получится при введении обратной связи на реальном примере В соответствии с теорией обратной связи [3] уменьшение уровня гармонических составляющих Un искажений пропорционально глубине обратной связи А:

где Un ос - уровень n-й гармонической составляющей в усилителе с ООС.

В области средних частот вполне допустимо рассматривать не комплексные величины, а их модули, что мы в дальнейшем и будем делать.

ООС в катодной цепи лампы является последовательной обратной связью по напряжению, в этом случае коэффициент усиления Кoс усилителя,охваченного обратной связью, равен:

где К - коэффициент усиления усилителя без обратной связи; β - коэффициент передачи цепи обратной связи. Знаменатель выражения (4) соответствует нужной нам величине А:

Для данного каскада желательно использовать лампу с максимальным усилением и минимальным уровнем третьей гармоники. Выбрав лучевой тетрод 6П1П, зададим желаемое усиление Кос=3 (это значение в реальном усилителе обычно определяют по возможностям предоконечного каскада-фазоинвертора). Подставив величину Кос в уравнение (4), вычислим глубину обратной связи А.

Теперь в соответствии с выражением (3) пересчитаем уровни гармонических составляющих, считая, что четные гармоники скомпенсированы полностью (см. табл. 1).

Трансформаторные каскады с парафазным возбуждением

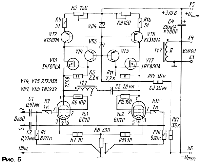
Для проведения экспериментов использован выходной каскад, собранный по схеме на рис. 5 (соответствует структуре схемы на рис. 3).

Трансформаторные каскады с парафазным возбуждением
(нажмите для увеличения)

На рис. 6 показан спектр его выходного сигнала. Экспериментальные результаты измерения искажений отличаются от расчетных значений на 20...25 % (в сторону ухудшения). Это объясняется и неполной компенсацией четных гармоник - использованы лампы без предварительного подбора.

Линейность нового варианта усилителя существенно выше; особенно привлекателен каскад с катодной обратной связью [5, 6], в этом случае улучшаются все его параметры.

Трансформаторные каскады с парафазным возбуждением

Основным ограничением при практическом использовании такого каскада является его низкая эффективность; с распространенными лампами можно получить выходную мощность до 2...3 Вт. Применение такой схемы каскада целесообразно, в первую очередь, при наличии готовых выходных трансформаторов, использовавшихся в однотактных каскадах старой радиоаппаратуры (зазор в трансформаторе следует устранить). Также она хорошо подходит для выходного каскада высококачественного телефонного усилителя, особенно если для него специально изготовлен трансформатор. На рис. 7 показан спектр выходного сигнала такого усилителя, при максимальной мощности 0,6 Вт общий коэффициент гармоник всего тракта не превышает 0,06 %.

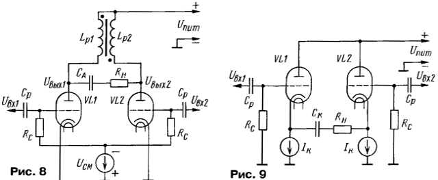
Предложенный подход можно применить и к другим вариантам каскада с параллельным питанием, заменив источники тока в анодах ламп на дроссель с двумя магнитосвязанными обмотками. В результате введения второго моточного узла получится симметричный каскад с дроссельной нагрузкой (рис. 8) и эффективностью, достигающей уже 50%.

Трансформаторные каскады с парафазным возбуждением
(нажмите для увеличения)

Перенос источников тока или дросселя в катодную цепь ламп дает симметричный катодный повторитель (рис. 9). Последний вариант схемы представляет практический интерес для применения в выходных каскадах предварительных усилителей с трансформаторным выходом, а также для телефонных усилителей.

В каскаде по схеме, показанной на рис. 4, можно с успехом использовать пентоды и лучевые тетроды, исключив резистор Rk и применив фиксированное смещение.

Выходной каскад с разделенной нагрузкой

При поиске полезной модификации симметричной структуры желательно было совместить преимущества однотактного и двухтактного каскадов без их недостатков, а именно: иметь параметрическую компенсацию четных гармоник при работе магнитопровода согласующего трансформатора на частной петле перемагничивания.

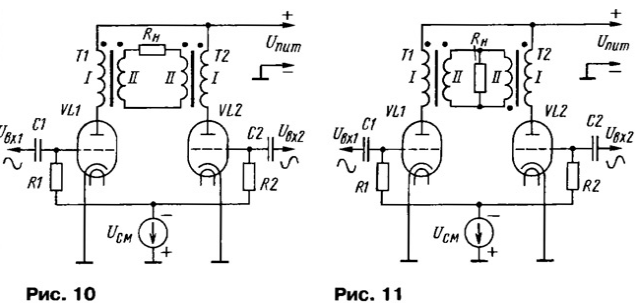
В связи с этим вниманию читателей предложу новый вариант оконечного каскада с разделенной нагрузкой - с двумя выходными трансформаторами (рис. 10, 11). На мой взгляд, применение двух трансформаторов - допустимая цена за исключительно хорошие свойства и высокую гибкость.

Трансформаторные каскады с парафазным возбуждением
(нажмите для увеличения)

Структура двухтактного каскада получается при объединении вторичных обмоток выходных трансформаторов двух однотактных каскадов и возбуждении этих каскадов парафазным сигналом. В результате благодаря пара-фазности работы каскада подавляются четные гармонические искажения (естественно, с учетом реального коэффициента асимметрии плеч). Его можно возбуждать от фазоинверсного каскада любого типа, в нем допускается использовать любые лампы и вводить различные виды местной обратной связи в каждое плечо как независимо, так и перекрестно. Нормальная работа усилителя возможна только в классе А.

Как видно из этих двух схем, возможны два варианта реализации каскада, существенно отличающиеся по свойствам. Если по постоянному току в обоих вариантах лампы включены параллельно, то по переменному току включение ламп зависит от того, как соединены вторичные обмотки выходных трансформаторов и как подключена к ним нагрузка.

В усилителе два выходных трансформатора, и их магнитопроводы работают в частной петле перемагничивания. Искушенный читатель скажет - это недостаток. Да, с позиций уменьшения стоимости, габаритов конструкции и сложности это так, но если во главу угла ставится вопрос качества - это достоинство.

Во-первых, устраняется переход индукции в трансформаторе через ноль и, соответственно, характерные нелинейности трансформатора на малых уровнях сигнала. Во-вторых, токи покоя в плечах каскада можно установить различными сознательно, чтобы иметь возможность регулировать уровень четных гармоник в выходном сигнале и использовать лампы с большим разбросом характеристик.

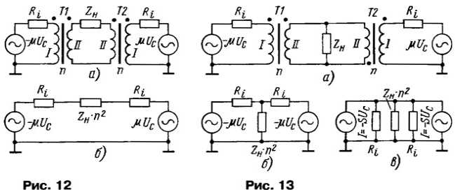
Отличием от обычного двухтактного каскада является и место, где происходит компенсация четных гармоник. В классическом двухтактном усилителе компенсация происходит в магнитном поле выходного трансформатора; а в таком комбинированном каскаде - непосредственно на сопротивлении нагрузки. Для получения основных расчетных соотношений и лучшего уяснения свойств каскадов представим их в виде эквивалентных схем, предположив, что лампы и трансформаторы одинаковы. Для этого представим лампы как эквивалентный источник ЭДС Е с выходным сопротивлением Ri или как эквивалентный источник тока I, зашунтированный сопротивлением Ri

где μ - коэффициент усиления лампы; S - крутизна лампы; Uc - напряжение на управляющей сетке лампы; Ri - выходное сопротивление лампы.

Каскаду, показанному на рис. 10, соответствует эквивалентная схема на рис. 12,а, а каскаду на рис. 11 - 13,а. Дальнейшее упрощение приводит к схемам, изображенным на рис. 12,6, 13,6, 13,в соответственно.

Трансформаторные каскады с парафазным возбуждением
(нажмите для увеличения)

В схеме, показанной на рис. 10, лампы соединены по переменному току последовательно - назовем этот каскад последовательным (с общим током по вторичным обмоткам). В схеме на рис. 11 лампы и по переменному току соединены параллельно нагрузке, назовем этот каскад параллельным (с общим напряжением на вторичных обмотках). Из полученных эквивалентных схем достаточно просто получить основные расчетные соотношения [7], которые сведены в табл. 2.

Трансформаторные каскады с парафазным возбуждением

Выбор типа каскада во многом зависит от используемых ламп. Для выходных ламп с относительно большим выходным сопротивлением и высоким μ целесообразно использовать параллельный каскад. Для мощных выходных триодов может быть целесообразным использование последовательного каскада. Так как в этом случае μе вдвое больше, это облегчает возбуждение выходных ламп. В симметричных каскадах с разделенной нагрузкой можно с успехом использовать стандартные выходные трансформаторы, предназначенные для однотактных каскадов.

Обратная связь в каскаде с разделенной нагрузкой

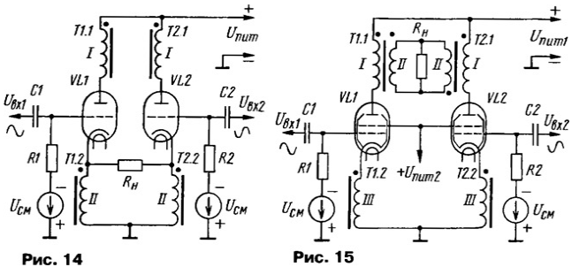
Небольшая модификация последовательного каскада, показанная на рис. 14, позволяет улучшить его общие параметры. Перенос выходных обмоток и нагрузки в цепи катодов ламп дает ряд преимуществ.

Возрастает общая индуктивность намагничивания, так как последовательно с первичной обмоткой дополнительно включается выходная. Выходной трансформатор становится автотрансформатором, что в общем случае позволяет уменьшить его габариты. В этом каскаде можно использовать стандартные трансформаторы без дополнительной обмотки.

Трансформаторные каскады с парафазным возбуждением
(нажмите для увеличения)

Кроме того, в катодной цепи каскада появляется местная обратная связь с соответствующим изменением параметров каскада. Конечно, используя стандартные трансформаторы, мы не можем произвольно регулировать глубину этой обратной связи, но зато она "бесплатная". Здесь перспективно использование трансформаторов с большим числом отводов на вторичной обмотке, тогда катоды ламп подключают к выводам, предназначенным для наиболее высокоомной нагрузки, а фактическую нагрузку, в зависимости от ее сопротивления, к одноименным промежуточным отводам.

В каскаде по этой схеме постоянная составляющая напряжения на нагрузке практически очень мала. Это обусловлено низким активным сопротивлением выходных обмоток (не более нескольких ом) и фактической разницей тока покоя ламп. Практически это напряжение не превышает 5... 15 мВ.

Еще одним побочным результатом такого включения нагрузки является дифференциальный выход, хотя последовательный вариант каскада также обеспечивает это свойство.

Как было сказано выше, в каскадах с разделенной нагрузкой можно использовать любые типы ламп и различные типы местной обратной связи. В качестве примера на рис. 15 показано включение пентодов с катодной обратной связью, а на рис. 16 и 17 - варианты ультралинейного включения (лучевых тетродов) пентодов [8, 9]. Благодаря местной обратной связи в каскаде с экранированными лампами можно существенно повысить линейность характеристик ламп и трансформаторов.

Трансформаторные каскады с парафазным возбуждением
(нажмите для увеличения)

Проверка теоретических предположений проведена на трех макетах, собранных по схемам, показанным на рис. 10, 11 и 14. Базовый однотактный каскад на лампе 6П1П соответствует схеме, показанной на рис. 1; во всех случаях использовались одни и те же лампы и выходные трансформаторы. Сопротивление нагрузки и режим ламп были выбраны исходя из получения минимального уровня гармоник при заданной мощности. Численные результаты измерений приведены в табл. 3, а спектры выходного сигнала - на рис. 18-21 соответственно.

Трансформаторные каскады с парафазным возбуждением

Как видно из результатов, даже использование случайно выбранных ламп и трансформаторов позволяет резко снизить уровень четных гармоник и повысить линейность каскада. Спектр выходного сигнала трансформаторного каскада с разделенной нагрузкой подобен спектру обычного двухтактного каскада. Наилучшие результаты, как и предполагалось, обеспечивает каскад, охваченный местной обратной связью, эффективно снижающей нечетные гармоники искажений.

Трансформаторные каскады с парафазным возбуждением

Литература

  1. Лзнди Р., Девис Д., Албрехт А. Справочник радиоинженера. - М.: ГЭИ, 1961.
  2. Карпов Е. TB3 в ламповом УМЗЧ. - Радио, 2003, № 4, с. 11 - 15.
  3. Inverse Complementary Distortion Cancellation, Glass Ware, 2001.
  4. Войшвилло Г. В. Усилители низкой частоты на электронных лампах. - М.: Связь-издат. 1963.
  5. ВилльямсонТ. Н., ВолкерП. Д. Преувеличения и Усилители, 1955 Перевод с англ. - Интернет-издание: Nextube, <next-power.net/next-tube/ ru/articles.php3>.
  6. Mcintosh F. H. Wide-Band amplifier coupling circuit, US Patent 2,477,074.
  7. Бессонов Л. А. Теоретические основы электротехники. - М.: Высшая школа, 1978.
  8. Hufler D., Keroes Н. I. Ultra Linear Amplifiers, US Patent 2,710,312
  9. Menno ven der Veen. Новые схемы двухтактных ламповых усилителей мощности, 1999. - Перевод с англ. - Интернет-издание: Nextube, <next-power.net/ next-tube/ru/srticles.php3>.

Автор: Е. Карпов, г. Одесса, Украина

Смотрите другие статьи раздела Усилители мощности ламповые.

Читайте и пишите полезные комментарии к этой статье.

<< Назад

Последние новости науки и техники, новинки электроники:

Биопластик из отходов хлеба и авокадо 28.01.2026

Проблемы пищевых отходов и загрязнения окружающей среды пластиком все чаще рассматриваются как взаимосвязанные вызовы современности. Ученые по всему миру ищут решения, которые позволили бы одновременно сократить объем выбрасываемых продуктов и заменить традиционные полимеры экологически безопасными материалами. В этом контексте особенно интересны разработки, использующие то, что раньше считалось бесполезным мусором. Исследовательская группа из Австралии предложила технологию превращения пищевых отходов в биопластиковые пленки, применяя кожуру авокадо, черствый хлеб и крахмал саговой пальмы. Работа была выполнена учеными Университета Дикина, а ее результаты опубликованы в журнале Matter, о чем сообщил Anthropocene Magazine. По словам авторов, метод изначально разрабатывался как масштабируемый и экономически оправданный, чтобы его можно было внедрять в промышленность без существенных затрат. Австралийские исследователи подчеркивают, что полученные материалы потенциально пригодны не ...>>

Смартфон NexPhone на трех операционных системах 28.01.2026

Идея объединить смартфон и персональный компьютер в одном устройстве давно волнует инженеров и пользователей, однако до сих пор такие проекты оставались нишевыми или компромиссными. Компания Nex Computer решила подойти к этой задаче радикально и представила NexPhone - смартфон, который позиционируется как полноценная альтернатива ПК. Его ключевая особенность заключается в одновременной поддержке сразу трех операционных систем, каждая из которых рассчитана на свой сценарий использования. В NexPhone реализована система мультизагрузки, позволяющая работать с Android 16, Linux на базе Debian и Windows 11. Android 16 выступает основной мобильной платформой и предназначен для повседневных задач, таких как общение, мультимедиа и приложения. Linux запускается как отдельная рабочая среда, ориентированная на разработчиков и пользователей, привыкших к классическим настольным инструментам. Windows 11 устанавливается во второй раздел накопителя и требует перезагрузки устройства, но именно она до ...>>

Солнечный свет помогает мозгу работать быстрее 27.01.2026

Влияние света на самочувствие человека давно интересует ученых, однако лишь в последние годы стало возможным изучать этот эффект вне строгих лабораторных условий. Современные носимые датчики и мобильные приложения позволяют наблюдать, как освещение в повседневной жизни отражается на внимании, памяти и уровне бодрствования. Именно таким путем пошли исследователи из Манчестерского университета, решив выяснить, какую роль играет дневной свет в поддержании когнитивной активности. В ходе исследования 58 добровольцев на протяжении недели носили специальные сенсоры, фиксирующие интенсивность окружающего освещения. Параллельно участники выполняли задания в приложении Brightertime, которое оценивало их внимание, скорость реакции, рабочую память и субъективную сонливость. Для этого использовались шкала сонливости Каролинского университета, тест на бдительность, трехзадачный тест памяти и задания на визуальный поиск, что позволяло отслеживать изменения когнитивной производительности практическ ...>>

Случайная новость из Архива

Моторный вагон электропоезда Alstom Multilevel III 05.11.2024

Компания Alstom презентовала в США новейший моторный вагон электропоезда Multilevel III, который в скором времени станет частью обновленного парка пригородных поездов NJ Transit. Презентация этого передового вагона состоялась на базе депо в Карне, Нью-Джерси, и обозначила важный шаг на пути к модернизации транспортной инфраструктуры региона.

В ближайшие годы новые составы, включающие вагоны Multilevel III, пройдут серию тестов для проверки их технических характеристик. Первые испытания электропоездов планируются уже на маршрутах Нью-Джерси в 2025 году, а завершение полного обновления парка NJ Transit ожидается до 2029 года. Этот проект направлен на повышение скорости, эффективности и надежности железнодорожного сообщения в штате.

Основная цель внедрения этих электропоездов - замена устаревших моделей Arrow III, которые использовались более 40 лет и были выпущены компанией General Electric. Новые моторные вагоны Multilevel III способны развивать эксплуатационную скорость до 177 км/ч, что превосходит максимальную скорость старых моделей в 160 км/ч. Кроме того, срок службы между капитальными ремонтами значительно увеличен - до 644 тысяч километров, что является важным улучшением по сравнению с предыдущим показателем в 32 тысячи километров у Arrow III.

Помимо технических характеристик, важным преимуществом новых поездов стала увеличенная пассажировместимость. Вместимость вагонов Multilevel III возросла на 11%, что особенно актуально для NJ Transit, обслуживающего густонаселенные пригородные маршруты, где наблюдается высокая загруженность в часы пик. Это нововведение позволит улучшить транспортную доступность и сделать поездки более комфортными для пассажиров.

Контракт на поставку 113 вагонов Multilevel III был подписан с Bombardier Transportation еще в конце 2018 года, до того как эта компания стала частью Alstom в результате слияния в 2021 году. Впоследствии, в 2022 и 2023 годах, к первоначальному заказу добавили еще 61 вагон, что увеличит парк NJ Transit и укрепит его позиции как одного из крупнейших операторов пригородных поездов на востоке США.

Общая стоимость проекта составила $914 млн, что подчеркивает масштаб стремления NJ Transit к модернизации своего подвижного состава. Производственные мощности Alstom в Платтсбурге, штат Нью-Йорк, позволяют реализовать этот проект, используя современные технологии и ориентируясь на устойчивое развитие.

Обновление подвижного состава NJ Transit с помощью электропоездов Multilevel III обеспечит не только более быструю и эффективную транспортную систему, но и повысит уровень комфорта для пассажиров. Внедрение этих инноваций способствует сокращению эксплуатационных расходов и улучшению экологической устойчивости железнодорожного транспорта в США.

Другие интересные новости:

▪ Новая технология ускорит зарядку смартфонов в 2,5 раза

▪ Портативная игровая консоль KT R1

▪ Высокочувствительная камера будет искать внеземную жизнь и темную материю

▪ Роботизированные штаны

▪ Электроскутер NIU Gova C0

Лента новостей науки и техники, новинок электроники

 

Интересные материалы Бесплатной технической библиотеки:

▪ раздел сайта Электронные справочники. Подборка статей

▪ статья На всю оставшуюся жизнь. Крылатое выражение

▪ статья Сколько существует видов мух? Подробный ответ

▪ статья Бузина вонючая. Легенды, выращивание, способы применения

▪ статья Устройство управления аквариумом. Энциклопедия радиоэлектроники и электротехники

▪ статья Пропавший кролик. Секрет фокуса

Оставьте свой комментарий к этой статье:

Имя:


E-mail (не обязательно):


Комментарий:





Главная страница | Библиотека | Статьи | Карта сайта | Отзывы о сайте

www.diagram.com.ua

www.diagram.com.ua
2000-2026