Menu Home

Бесплатная техническая библиотека для любителей и профессионалов Бесплатная техническая библиотека


Особенности налаживания смесителей. Энциклопедия радиоэлектроники и электротехники

Бесплатная техническая библиотека

Энциклопедия радиоэлектроники и электротехники / Узлы радиолюбительской техники. Смесители, преобразователи частоты

Комментарии к статье Комментарии к статье

Приемники и трансиверы прямого преобразования благодаря своей простоте, высокой чувствительности и селективности, хорошей надежности пользуются популярностью у радиолюбителей. Но далеко не всегда в аппарате, даже выполненном по хорошо отработанной схеме, реализуются заложенные в него изначально возможности и параметры.

В результате многолетней эксплуатации автором статьи этой группы связной аппаратуры выяснилось, что низкочастотные узлы (в основном усилители НЧ) сохраняют работоспособность при снижении напряжения питания до 2...6 В (при номинальном 9...12 В). При этом у них, как правило, уменьшается коэффициент усиления.

Основная причина неудовлетворительной работы приемников и трансиверов прямого преобразования - неоптимальный режим работы смесителя. Высокие параметры достигаются только при тщательном подборе гетеродинного высокочастотного напряжения на диодах смесителя. Оно должно быть в пределах 0,6...0,75 В на кремниевых диодах и 0,15...0,25 - на германиевых. При меньших напряжениях гетеродина уменьшается коэффициент передачи смесителя. Уменьшается он и при больших напряжениях, так как диоды оказываются открытыми почти все время. При этом возрастают шумы смесителя.

Стабильность частоты и амплитуды напряжения, подаваемого на смеситель с гетеродина (особенно на ВЧ любительских диапазонах), во многом зависит от стабильности питающего напряжения.

Практически во всех схемах, приводимых в литературе, отсутствует цепь регулировки гетеродинного напряжения на диодах смесителя. Рекомендуется подбирать конденсатор связи гетеродина со смесителем или изменять число витков катушки связи. Но этот процесс весьма трудоемкий и к тому же не дающий уверенности в том, что настройка аппарата произведена должным образом.

Недостаток этого способа еще и в том, что в процессе налаживания надо выключать приемник (трансивер) и перепаивать конденсатор или перематывать катушку. Но за это время любительская станция, по громкости приема которой ведется настройка, часто перестает работать, и поэтому нельзя узнать, растет или падает чувствительность налаживаемого аппарата. Целесообразнее проводить настройку по сигналам "слабой" станции во время стабильного прохождения радиоволн, т.е. когда не наблюдается заметных колебаний уровня принимаемого сигнала.

Из-за отсутствия необходимых измерительных приборов приемники и трансиверы прямого преобразования часто настраивают "на слух", что не лучшим образом отражается на их параметрах.

Особенности налаживания смесителей
Рис.1

На рис. 1 показана схема вольтметра-пробника, доработанного в соответствии с рекомендациями, приведенными в [2]. Он позволяет довольно точно измерить напряжение гетеродина непосредственно на диодах смесителя.

Рассмотрим простые способы настройки и доработки приемников и трансиверов прямого преобразования, которые позволяют устранить указанные выше конструктивные недостатки.

Особенности налаживания смесителей
Рис.2

Прежде всего, при доработке следует ввести цепь стабилизации напряжения питания гетеродина. Схема стабилизатора показана на рис. 2. Стабилитрон VD1 выбирают с напряжением стабилизации в 1,5...2 раза меньше номинального напряжения питания приемника (трансивера). Резистором R1 устанавливают оптимальный ток через стабилитрон. Сопротивление резистора R1 должно быть таким, чтобы ток стабилизации стабилитрона VD1 не превышал максимально допустимого значения. Конденсатор С1 уменьшает "просачивание" шумов стабилитрона, в результате чего снижается шумовая модуляция напряжения гетеродина, уменьшается общий шум приемника.

Изменять ВЧ напряжение на диодах смесителя удобно подстроечным безындукционным резистором, включенным параллельно или последовательно с катушкой связи (R1 соответственно на рис. 3 и 4).

Особенности налаживания смесителей

В последнем случае можно использовать как трансформаторную (рис. 4,а) связь гетеродина со смесителем, так и автотрансформаторную (рис. 4,6). При более точной настройке напряжения гетеродина (например, при приеме сигналов слабослышимых станций "на слух") ВЧ вольтметр отключают.

Особенности налаживания смесителей

Необходимо отметить, если применяются приведенные доработки, число витков катушек связи следует несколько увеличить, так как введение подстроечного резистора уменьшает выходное напряжение гетеродина. Особенно это относится к варианту, схема которого приведена на рис.3. В совокупности число витков катушки связи, сопротивление резистора R1 и емкость конденсатора С2 должны быть такими, чтобы напряжение на кремниевых диодах смесителя можно было регулировать в пределах от 0 до 1,2...2 В, на германиевых - от 0 до 0,5... 1 В. В этом случае оптимальное напряжение достигается приблизительно при среднем положении движка резистора R1.

Регулировать выходное напряжение гетеродина можно, изменяя напряжение питания, как это, например, сделано в [3]. Однако это подходит только на частотах до 3...4 МГц. На более высоких (выше 7 МГц) такая регулировка может привести к значительному уходу частоты гетеродина.

На рис. 5 приведена схема гетеродина с буферным узлом, в который введена цепь регулировки выходного напряжения. При повторении следует учесть, что эмиттерный повторитель не дает усиления по напряжению, и поэтому высокочастотное напряжение на катушке связи должно быть в два раза больше. чем требуется для нормальной работы смесителя.

Особенности налаживания смесителей

В радиолюбительской практике наиболее широко используются диодные балансные смесители. Их основные достоинства - простота конструкции и настройки, отсутствие переключения по высокой частоте при переходе с приема на передачу. Балансные смесители на полевых и биполярных транзисторах применяются значительно реже.

В простых балансных смесителях на диодах напряжение гетеродина и некоторые побочные продукты преобразования на выходе могут подавляться на 35 дБ и более. Но такие результаты достигаются лишь в одном направлении: в том, в котором смеситель сбалансирован. В авторской конструкции трансивера [4] смеситель сбалансирован лишь в сторону усилителя мощности. Если используется двойной балансный смеситель [5], уменьшатся шумы, возрастет чувствительность, улучшится помехозащищенность.

Двойные балансные смесители сбалансированы по обоим входам (выходам). Они подавляют не только колебания гетеродина, но и преобразуемый сигнал, оставляя лишь продукты их смешения и обеспечивая тем самым чистоту спектра. Применение таких смесителей позволяет снизить требования к подчистному фильтру, включенному на выходе смесителя, и даже отказаться от него вовсе, присоединив выход смесителя непосредственно к усилителю ПЧ, на выходе которого должен находиться фильтр основной селекции (например, ЭМФ или кварцевый фильтр). На двойной смеситель можно подавать значительно больший по уровню сигнал при приеме, поскольку он резко ослабляет эффект прямого детектирования сигнала или помехи, т.е. не происходит детектирования без участии колебаний гетеродина, как это бывает в обычном амплитудном детекторе.

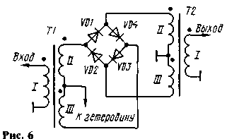
Наиболее часто в радиолюбительских конструкциях применяется двойной балансный смеситель, схема которого изображена на рис. 6. Его еще называют кольцевым, так как диоды в нем включены но кольцу.

Особенности налаживания смесителей

Нередко этот смеситель рекомендуют дополнить элементами балансировки R1, С1, С2 (рис. 7). Причем резистор R1 должен быть безындукционным. Такая доработка улучшает параметры смесителя.

Особенности налаживания смесителей

При работе на низкочастотных диапазонах высокочастотные трансформаторы наматывают, как правило, на ферритовые кольца типоразмера К7х4х2 с магнитной проницаемостью 600...1000 тремя скрученными (3-4 скрутки на 1 см длины) между собой проводами ПЭЛШО 0,2. Приблизительно делают около 25 витков (до полного заполнения кольца). При установке трансформатора его обмотки фазируют согласно рис. 6 и 7.

Существуют два основных варианта включения двойного балансного смесителя в трансивер. В первом сигнал проходит как при приеме, так и при передаче в одном направлении от входа к выходу смесителей. Так, например, сделано в широкоизвестных трансиверах "Радио-76" [6] и "Радио-76М2" [7]. Многочисленные эксперименты, проведенные автором, выявили, что при гетеродинном напряжении, меньшем оптимального, значительно ухудшается чувствительность в режиме приема, а при большем - существенно уменьшается подавление несущей в режиме передачи (чувствительность при этом также падает, но это менее заметно на слух, чем в предыдущем случае). Качественная зависимость основных параметров трансиверов от уровня напряжения гетеродина, поступающего на смеситель, приведена на рис. 8 (кривая 1 - чувствительность при приеме, определяемая на слух, 2 -чувствительность, измеренная приборами, 3 - подавление несущей при передаче).

Особенности налаживания смесителей

Во втором варианте сигнал в режиме приема подается на вход балансного смесителя, а при передаче - на выход. При таком включении используется принцип обратимости смесителя. Так построен ВЧ тракт трансивера, описанного в [8]. Налаживание смесителя и в этом случае сводится к установке оптимального гетеродинного напряжения и его тщательной балансировке. Следует особо отметить, что операция налаживания не зависит от принципа построения ВЧ тракта трансивера.

Теперь несколько практических рекомендаций по налаживанию ВЧ тракта трансивера.

В первую очередь нужно настроить смесители. Предварительно движки балансировочных резисторов в них устанавливают в среднее положение. Далее к антенному гнезду трансивера подключают ГСС и постепенно увеличивают гетеродинное напряжение на смесителях. Сигнал с ГСС подают с уровнем, превышающим чувствительность приемного тракта в несколько раз. Необходимо добиться приема сигнала. Вели генератора нет, операцию выполняют на слух, принимая сигнал радиолюбительской SSB радиостанции или генератора шума на маломощном стабилитроне.

Затем поочередно настраивают каждый из смесителей. Вначале подбирают оптимальное гетеродинное напряжение. Для этого его постепенно увеличивают и оценивают на слух: растет ли громкость приема сигнала ГСС, радиостанции или генератора шума. Как было замечено автором, по мере увеличения гетеродинного напряжения, подаваемого на смеситель, громкость приема на слух сначала растет, достигая максимума, а затем практически не меняется (рис. 8, кривая 1). Гетеродинное же напряжение следует установить таким, чтобы при небольшом его уменьшении громкость приема падала, а при его небольшом увеличении не возрастала. Практически это реализуется перемещением в небольших пределах движка резистора, управляющего уровнем выходного напряжения гетеродина. Если такой возможности в трансивере нет, то аппарат следует доработать.

Как правило, на выходе того или иного гетеродина включен эмиттерный повторитель. В этом случае доработка оказывается весьма простой: постоянный резистор в эмиттерной цепи транзистора заменяют безындукционным подстроечным резистором того же номинала, что и постоянный.

После оптимизации гетеродинного напряжения нужно еще раз более тщательно сбалансировать смесители. К входу или выходу (в зависимости от построения трансивера) подключают ВЧ милливольтметр или осциллограф и, перемещая движок резистора R1, а затем подстраивая конденсаторы С1 и С2 (см. рис. 7), добиваются минимума показаний. Если используются приборы с высоким входным сопротивлением, то к входу и выходу смесителя следует подключить близкие по сопротивлению (в пределах 50... 100 Ом) резисторы.

Предпочтение следует отдавать балансировке в сторону выхода передающего тракта. Различие в сбалансированности входа и выхода смесителя должно быть небольшим (единицы децибелл). Если же оно достигает 10 дБ и более, то это, как правило, следствие того, что гетеродинное напряжение, поданное на смеситель, значительно больше оптимального.

Для проверки и балансировки смесителей автором созданы простые приборы. На рис. 9, а показана схема усилителя ВЧ, к входу которого подключают смеситель, а к выходу подключают для грубой настройки высокочастотный вольтметр (рис. 9, б), для точной - ВЧ пробник (рис. 9, в). При этом устанавливать дополнительные резисторы сопротивлением 50... 100 Ом в смеситель не нужно.

Особенности налаживания смесителей

Окончательно смесители настраивают после их установки в трансивер (его переводят в режим передачи). Предварительно аппарат должен быть налажен в режиме приема. Чтобы шумы микрофона не мешали при балансировке, вход микрофонного усилителя замыкают накоротко. Первым балансируют самый низкочастотный смеситель, а затем остальные по порядку прохождения через них сигнала в режиме передачи, добиваясь минимума показаний ВЧ на эквиваленте нагрузки (рис. 10), подключенному к усилителю мощности трансивера. После этого корректируют настройку остальных узлов. Эту процедуру целесообразно повторить два-три раза.

Особенности налаживания смесителей

Литература

1. Поляков В.Т. Радиолюбителям о технике прямого преобразования. - М.: Патриот, 1990, с. 264.
2. Степанов Б. Измерение малых ВЧ напряжений. - Радио, 1980, №7, с. 55-56.
3. Артеменко В. Простой SSB-мини-трансивер на 160 м. - Радиолюбитель, 1994, №1.c. 45, 46.
4. Артеменко В.А. Простой трансивер с ЭМФ. - РадioАматор, 1995, №2, с. 7-10.
5. Бунин С.Г., Яйленко Л.П. Справочник любителя- коротковолновика. - К.: Технiка, 1984, с. 264.
6. Степанов Б., Шульгин Г. Трансивер "Радио-76". - Радио, 1976, №6, с. 17-19, №7, с. 19-22.
7. Степанов Б., Шульгин Г. Трансивер "Радио-76М2". - Радио, 1983, N 11, с. 21- 23, №12, с. 16-18.
8. Васильев В. Обратимый тракт в трансивере. - Радио, №10, с.20,21.

Автор: Владислав Артеменко (UT5UDJ) г. Киев. Украина, КВ журнал 4,5-97; Публикация: Н. Большаков, rf.atnn.ru

Смотрите другие статьи раздела Узлы радиолюбительской техники. Смесители, преобразователи частоты.

Читайте и пишите полезные комментарии к этой статье.

<< Назад

Последние новости науки и техники, новинки электроники:

Лабораторная модель прогнозирования землетрясений 30.11.2025

Предсказание землетрясений остается одной из самых сложных задач геофизики. Несмотря на развитие сейсмологии, ученые все еще не могут точно определить момент начала разрушительного движения разломов. Недавние эксперименты американских исследователей открывают новые горизонты: впервые удалось наблюдать микроскопические изменения в контактной зоне разломов, которые предшествуют землетрясению. Группа под руководством Сильвена Барбота обнаружила, что "реальная площадь контакта" - участки, где поверхности разлома действительно соприкасаются - изменяется за миллисекунды до высвобождения накопленной энергии. "Мы открыли окно в сердце механики землетрясений", - отмечает Барбот. Эти изменения позволяют фиксировать этапы зарождения сейсмического события еще до появления традиционных сейсмических волн. Для наблюдений ученые использовали прозрачные акриловые материалы, через которые можно было отслеживать световые изменения в зоне контакта. В ходе искусственного моделирования примерно 30% ко ...>>

Музыка как естественный анальгетик 30.11.2025

Ученые все активнее исследуют немедикаментозные способы облегчения боли. Одним из перспективных направлений становится использование музыки, которая способна воздействовать на эмоциональное состояние и когнитивное восприятие боли. Новое исследование международной группы специалистов демонстрирует, что даже кратковременное прослушивание любимых композиций может значительно снижать болевые ощущения у пациентов с острой болью в спине. В эксперименте участвовали пациенты, обратившиеся за помощью в отделение неотложной помощи с выраженной болью в спине. Им предлагалось на протяжении десяти минут слушать свои любимые музыкальные треки. Уже после этой короткой сессии врачи фиксировали заметное уменьшение интенсивности боли как в состоянии покоя, так и при движениях. Авторы исследования подчеркивают, что музыка не устраняет саму причину боли. Тем не менее, она воздействует на эмоциональный фон пациента, снижает уровень тревожности и отвлекает внимание, что в сумме приводит к субъективном ...>>

Алкоголь может привести к слобоумию 29.11.2025

Проблема влияния алкоголя на стареющий мозг давно вызывает интерес как у врачей, так и у исследователей когнитивного старения. В последние годы стало очевидно, что границы "безопасного" употребления спиртного размываются, и новое крупное исследование, проведенное международной группой ученых, вновь указывает на это. Работы Оксфордского университета, выполненные совместно с исследователями из Йельского и Кембриджского университетов, показывают: даже небольшие дозы алкоголя способны ускорять когнитивный спад. Команда проанализировала данные более чем 500 тысяч участников из британского биобанка и американской Программы миллионов ветеранов. Дополнительно был выполнен метаанализ сорока пяти исследований, в общей сложности включавших сведения о 2,4 миллиона человек. Такой масштаб позволил оценить не только прямую связь между употреблением спиртного и развитием деменции, но и влияние генетической предрасположенности. Один из наиболее тревожных результатов касается людей с повышенным ге ...>>

Случайная новость из Архива

Амарант улучшает качество биогаза 19.03.2025

Недавние исследования, проведенные производителями амаранта, подтвердили, что использование этой культуры в качестве сырья для производства биогаза может существенно улучшить качество и эффективность процесса. Особенно заметно увеличивается выход метана, что делает амарант перспективным компонентом в биогазовой промышленности.

Добавление амаранта в субстрат для сбраживания помогает активировать процессы разложения сырья, что в свою очередь увеличивает количество метана в биогазе. Согласно результатам исследований, использование амаранта позволяет повысить выход метана в 9 раз по сравнению с обычными методами. В экспериментах, в которых использовался свекольный жом с амарантовым сырьем, содержание метана увеличивалось в 17 раз, при этом общий выход биогаза оставался на уровне контроля.

Амарант оказался универсальным активатором для различных видов брожения. Помимо метанового, эта культура способствует активизации спиртового и оцетокислого брожений, что расширяет возможности ее применения в биотехнологической промышленности.

Особенно интересными являются исследования, проведенные в Словакии, где амарант был рассмотрен как перспективная культура для производства биогаза. Выяснилось, что биогаз из амарантового силоса имеет явные преимущества: высокие урожаи этой культуры позволяют снизить затраты на производство, а сама щирица не требует большого количества удобрений и пестицидов, что также снижает общие производственные затраты.

Таким образом, амарант не только способствует улучшению качества биогаза, но и может стать экономически выгодным сырьем для биотехнологической отрасли, что открывает новые перспективы для более устойчивого и эффективного использования ресурсов.

Другие интересные новости:

▪ Микроавтобус без водителя

▪ ДНК меняется за 1 час

▪ Новый класс метаматериалов, способных изменять свои физические свойства

▪ Старикам полезны компьютерные игры

▪ Флуоресцентая микроскопия высокого разрешения

Лента новостей науки и техники, новинок электроники

 

Интересные материалы Бесплатной технической библиотеки:

▪ раздел сайта Электробезопасность, пожаробезопасность. Подборка статей

▪ статья Поршневая паровая машина с качающимся цилиндром. Советы моделисту

▪ статья Почему мы не замечаем вращения земли? Подробный ответ

▪ статья Водитель грузового автомобиля. Должностная инструкция

▪ статья Антенна HB9RU для диапазона 50 МГц и не только. Энциклопедия радиоэлектроники и электротехники

▪ статья Усилитель мощности Вэбр. Энциклопедия радиоэлектроники и электротехники

Оставьте свой комментарий к этой статье:

Имя:


E-mail (не обязательно):


Комментарий:





Главная страница | Библиотека | Статьи | Карта сайта | Отзывы о сайте

www.diagram.com.ua

www.diagram.com.ua
2000-2025