Menu Home

Бесплатная техническая библиотека для любителей и профессионалов Бесплатная техническая библиотека


Синтезатор частоты для радиостанции диапазона 144...146 МГц. Энциклопедия радиоэлектроники и электротехники

Бесплатная техническая библиотека

Энциклопедия радиоэлектроники и электротехники / Синтезаторы частоты

Комментарии к статье Комментарии к статье

В настоящее время промышленностью освоен выпуск микросхемы однокристального синтезатора частоты, построенного по схеме прескалера. Эта микросхема типа К1508ПЛ1 выполнена по КМОП технологии в планарном 14-выводном корпусе. Загрузка коэффициентов деления в регистр управления микросхемы производится в последовательном коде. Микросхема содержит в своем составе делитель частоты с фиксированным коэффициентом деления (ДФКД) и делитель частоты с переменным коэффициентом деления (ДПКД). ВЬвод производится через вывод 4 микросхемы. Код имеет длину 19 разрядов (табл. 1), причем разряды F0...F15 определяют коэффициент деления ДПКД, а разряды R0...R2 - коэффициент деления ДФКД.

Табл.1 Распределение содержимого кода управления в регистре
Разряды регистра управления
18 17 16 15 14 13 12 11 10 9 8 7 6 5 4 3 2 1 0
R2 R1 R0 F15 F14 F13 F12 F11 F10 F9 F8 F7 F6 F5 F4 F3 F2 F1 F0
N1 N2

Синтезатор частоты для радиостанции диапазона 144...146 МГц

Коэффициенты деления ДФКД, которые возможно установить в данной микросхеме приведены в табл.2.

Табл.2
Код управления ДФКД Коэффициент деления N1 Значение частоты при использования
кварцевого резонатора на 10 МГц
R2 R1 R0
0 0 0 1600 6.25 кГц
0 0 1 800 12.5 кГц
0 0 0 400 25 кГц
0 1 1 200 50 кГц
0 0 0 2000 5 кГц
1 0 1 1000 10 кГц
1 1 0 500 20 кГц
1 1 1 100 100 кГц

Временная диаграмма загрузки коэффициентов деления в регистр управления микросхемы приведена на рис.1.

Для примера найдем код управления синтезатора для случая: Fvco=145 МГц-основная частота генератора, управляемого напряжением (ГУН а); Fкв= 10 МГц - частота кварцевого резонатора; FDIV2=12,5 кГц - частота сравнения (дискрет перестройки).

Тогда:

N1=Fкв/FDIV2=10 МГц/12,5 кГц=800.


N2=Fvco/FDIV2=145 МГц/12,5 кГц=11600.

На вход микросхемы D1 - 10 (VCO) необходимо подавать напряжение от генератора, управляемого напряжением (ГУНа) уровнем не менее 1 В.

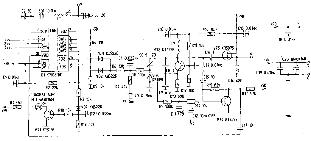
Принципиальная схема синтезатора частот. Рис.2

Частота сравнения выбрана равной 12,5 кГц и равна дискрету перестройки синтезатора по диапазону. Таким образом весь диапазон 144 - 146 МГц разбит на 160 дискретных частот или каналов. Загрузка микросхемы D1 типа К1508ПЛ1 производится через выводы 2, 3,4 как было описано выше. Кварцевый резонатор ZQ1 - на частоту 10 МГц. Конденсатор С3 служит для точной установки частоты сравнения. На вход 10 микросхемы можно подавать сигнал с частотами до 200 МГц, причем при входной частоте 200 МГц его амплитуда может снижаться с 1 В до 100 мВ. На выходе фазового детектора микросхемы D1 включены диоды VD1 и VD2 для уменьшения нелинейных искажений при модуляции по частоте. Линейно-интегрирующий фильтр на элементах R7, С5, С4 определяет время перестройки синтезатора с одной частоты на другую. Оно составляет около 50 мс. На транзисторе VT1, диоде VD4, светодиоде HL1 типа АЛ307БМ построен индикатор захвата кольца захвата фазовой автоподстройки частоты (ФАПЧ). Транзистор VT1 -типа КТ315Б. При захвате ФАПЧ светодиод гаснет. С линейно-интегрирующего фильтра напряжение рассогласования по частоте подается на варикап VD3 типа КВ109Г. ГУН построен на транзисторе VT2 типа КТ325Б по схеме с общей базой. Такая схема является более широкополосной и выдает большую амплитуду сигнала по сравнению со схемой общий эмиттер. Буферный усилитель ГУНа для микросхемы DA1 построен на резистивном усилителе на транзисторе VT4 типа КТ325Б. Модулирующее напряжение на варикап VD3 подается через вывод 4 платы. Выходное напряжение синтезатора на приемник и усилитель мощности радиостанции снимается с истока транзистора VT3 типа КП307Г.

Принципиальная схема контроллера синтезатора частоты. Рис.3

Он построен на микропроцессоре типа K1830BE31, выполненном также по КМОП технологии. Клавиатура контроллера содержит 16 кнопок S1...S16, которыми устанавливается номер канала от 0 до 160 при предварительном нажатии кнопки "канал" - "К". Кнопки "<-" и "->" служат для смещения на один канал ниже или выше по частоте. При длительном удержании этих кнопок производится быстрая перестройка по каналам. При нажатии кнопки "СК" осуществляется сканирование каналов, начиная с установленного и выше по частоте. Процесс сканирования носит кольцевой характер. На каждом канале синтезатор задерживается на 5 секунд. При повторном нажатии на любую из кнопок сканирование прекращается на канале, установленном на текущий момент времени. В контроллере имеется возможность записи до 10 выбранных каналов при нажатии кнопки "П". Нажатие на кнопку "П" -после каждого набора запоминаемого канала. При этом набранным каналам присваиваются номера от 0 до 9. Чтобы теперь установить один из заранее подготовленных каналов, необходимо просто нажать одну из кнопок с соответствующей цифрой. Для смены подготовленного канала необходимо нажать кнопку с другой цифрой. Кнопка "СКП" позволяет осуществлять сканирование предварительно выбранных каналов. В момент записи номера канала загорается светодиод HL2 "Запись" типа АЛ307БМ. Индикатор номера канала построен на светодиодных матрицах HG1... HG3 типа АЛС324А. При отсутствии нажатия на клавиатуру в течение 3-х минут происходит гашение индикации путем отключения регистров D7, D8 и индикаторов HG1... HG3 как наиболее энергопотребляющих при помощи ключа на транзисторе VT1 типа КТ815Б. При этом загорается светодиод HL1 "Работа" типа АЛ307БМ.

Клавиатура контроллера работает по прерываниям по входу INTO микросхемы D1. Переключение "прием-передача" осуществляется при помощи прерывания INT1, при этом порт Р1 микросхемы D1 переводится в режим ввода и происходит опрос разряда порта Р1.6. Пока на нем регистрируется контроллером низ-кии логический уровень, в управлящий регистр синтезатора частот записывается код частоты передачи выбранного канала. Частота приема в данном синтезаторе устанавливается после отпускания клавиши "прием-передача". Эта клавиша подключается через вывод 7 контроллера. Данный синтезатор рассчитан на работу с радиостанциями, у которых первая промежуточная частота равна 10,7 МГц. Можно выбрать и другую промежуточную частоту, но при этом придется переписать некоторые ячейки памяти ПЗУ контроллера. Через выводы 1,2,3 платы код частоты с контроллера подается на плату синтезатора. При отсутствии у радиолюбителя данного микропроцессора контроллер можно построить на микропроцессоре другой серии или выполнить на "жесткой" логике, как это было сделано в статье в "РЛ" №10, 1993 г.

Схема соединения плат синтезатора и контроллера приведена на рис.4.

Синтезатор частоты для радиостанции диапазона 144...146 МГц
Рис.4 (нажмите для увеличения)

Стабилизаторы напряжения на +5В и +9В построены па микросхемах D1 типа КР142ЕН5А и D2 типа КР142ЕН8А соответственно. Питается синтезатор от источника питания напряжением +12В. Конструктивно синтезатор частот выполнен на двух печатных платах из двустроннего фольгированного стеклотекстолита. Необходимо осуществить хорошую экранировку обеих плат. Катушка L1 синтезатора намотана на каркасе из органического стекла диаметром 5 мм и содержит 30 витков провода ПЭВ-2 диаметром 0,15 мм, намотанных виток к витку. Катушка L2 - бескаркасная и имеет 4 витка провода ПСР-0,8, намотанных на оправке диаметром 5 мм, длина намотки - 8 мм. Настройка синтезатора начинается с контроллера. При правильном монтаже и исправных комплектующих элементах, а также при правильно запрограммированном ПЗУ контроллер настройки не требует.

Подключив контроллер к синтезатору, устанавливают частоту 145 МГц, что соответствует каналу номер 80, и вращением ротора конденсатора С6 добиваются напряжения В точке его соединения с варикапом VD3 и резистором R8 - 3 В Все это производят при нажатой клавише "прием-передача", т.е. в режиме передачи, затем отпускают клавишу "прием-передачу", при этом на выходе синтезатора должна установиться частота в 134,3 МГц. Контроль частоты ведут цифровым частотомером на выводе 6 платы синтезатора. При необходимости сжимают или. растягивают витки катушки L2. Затем подают модулирующее напряжение на вывод 4 платы синтезатора с частотой 1 кГц и амплитудой 250 мВ. Резистором R13 устанавливают девиацию частоты, равную 3 кГц. Контроль ведут измерителем девиации частоты типа СКЗ-43 или любым другим. Можно установить девиацию и по имеющемуся ЧМ приемнику на 144...146 МГц по наиболее громкому и чистому сигналу. Измеритель девиации подключают к выводу 6 платы синтезатора. Девиацию устанавливают при нажатой клавише "прием-передача", т.е. в режиме передачи. Вращением ротора конденсатора С3 и сердечника катушки L1 устанавливают точно частоту сравнения в 12,5 кГц. На этом настройка синтезатора частот заканчивается.

По вопросам приобретения рисунков печатных плат, комплекта документации, прошивки ПЗУ, а также микросхем синтезатора и процессора просьба обращаться к автору.

Автор: В.Стасенко (RA3QEJ), г.Россошь Воронежской обл.; Публикация: Н. Большаков, rf.atnn.ru

Смотрите другие статьи раздела Синтезаторы частоты.

Читайте и пишите полезные комментарии к этой статье.

<< Назад

Последние новости науки и техники, новинки электроники:

Токсичность интернета преувеличена 07.01.2026

Социальные сети нередко воспринимаются как арена постоянной агрессии, оскорблений и распространения фейковой информации. Новое исследование Стэнфордского университета показывает, что реальность значительно отличается от популярного представления: интернет гораздо менее токсичен, чем многие пользователи считают. Ученые опросили более тысячи американцев, попросив их оценить долю пользователей соцсетей, которые ведут себя агрессивно или распространяют ненависть. Оказалось, что впечатления людей сильно преувеличивают масштабы проблемы. Например, респонденты считали, что почти половина пользователей Reddit хотя бы раз оставляла оскорбительные комментарии, тогда как фактические данные платформы показывают, что таких людей не более 3%. Аналогичная ситуация наблюдается с дезинформацией. Опрос показал, что большинство участников считали почти половину аудитории Facebook распространителями фейковых новостей, однако статистика говорит об обратном: фактическая доля таких пользователей состав ...>>

Процессоры Ryzen AI 400 07.01.2026

Современные вычисления все больше ориентируются на интеграцию искусственного интеллекта и высокую производительность в компактных устройствах, таких как ноутбуки и мини-ПК. Новая линейка процессоров AMD Ryzen AI 400 демонстрирует, как разработчики объединяют мощные центральные ядра, графику и нейросетевые ускорители в одном чипе, чтобы удовлетворять растущие потребности пользователей в играх, контенте и ИИ-приложениях. AMD представила процессоры серии Gorgon Point, которые включают до 12 ядер Zen 5 и до 24 потоков вычислений. Чипы поддерживают интегрированную графику RDNA 3.5, обеспечивают максимальную тактовую частоту до 5,2 ГГц и имеют энергопотребление от 15 Вт до 54 Вт. Особое внимание уделено NPU, способному обрабатывать до 60 триллионов операций в секунду (TOPS), что делает эти процессоры эффективными для задач с искусственным интеллектом. Конструкция Ryzen AI 400 сочетает ядра Zen 5 и Zen 5c, обеспечивая высокую гибкость и производительность. Несмотря на то, что архитектур ...>>

Женщины лучше распознают признаки болезни по лицу 06.01.2026

Способность распознавать, что кто-то нездоров, часто проявляется интуитивно: бледная кожа, опущенные веки, уставшее выражение лица могут сигнализировать о недомогании. Новое исследование международной группы ученых показало, что женщины в среднем точнее мужчин улавливают такие тонкие невербальные признаки болезни, что может иметь эволюционные и социальные объяснения. В отличие от предыдущих работ, где использовались отредактированные фотографии или имитация больных лиц, ученые решили проверить, насколько люди способны распознавать естественные признаки недомогания. Такой подход позволил оценить реальную чувствительность к изменениям в лицах, возникающим при болезни. В исследовании приняли участие 280 студентов, поровну мужчин и женщин. Участникам предложили оценить 24 фотографии, на которых изображены люди как в здоровом состоянии, так и во время болезни. Это дало возможность сравнить восприятие естественных признаков недомогания в реальных лицах. Для анализа состояния каждого ...>>

Случайная новость из Архива

Измерение магнитного поля на атомном уровне 10.08.2024

Исследователи из Германии и Кореи совершили значительный шаг вперед в изучении квантовых явлений, разработав уникальный квантовый датчик, способный измерять магнитные и электрические дипольные поля с невиданной ранее точностью. Этот одномолекулярный датчик, созданный под руководством Андреаса Хайнриха, Бе Юджонга и Руслана Темирова, открывает новые горизонты в исследовании атомных и молекулярных систем.

Основой работы ученых стал сканирующий туннельный микроскоп (STM), который был усовершенствован для выполнения высокоточных измерений на атомном уровне. На наконечник микроскопа был помещен атом железа и молекула PTCDA (перилен-тетракарбоксидианимид), что позволило исследователям добиться пространственного разрешения в 0,02 нанометра, или 0,2 ангстрема. Это субангстремное разрешение - одно из лучших достижений в области нанотехнологий и квантовой физики.

Ключевым элементом работы датчика стало использование радиочастотного напряжения, которое подавалось на наконечник микроскопа. Это позволило фиксировать электронные спиновые резонансы - явление, при котором электроны в магнитном поле переходят между квантовыми состояниями. Такой подход дал возможность физикам точно измерять магнитные поля вокруг отдельных атомов и молекул, что ранее было невозможно на таком уровне детализации.

В ходе исследования ученые смогли измерить магнитные поля вокруг атома железа и димера серебра, расположенных на поверхности серебра-111 (Ag111). Результаты измерений показали энергетическое разрешение порядка 100 наноэлектронвольт, что является важным достижением для изучения квантовых систем и разработки новых наноустройств. Точные измерения магнитных полей на атомном уровне могут значительно продвинуть вперед разработки в области квантовых компьютеров и нанотехнологий.

Открытие квантового датчика с таким высоким разрешением может стать основой для разработки новых технологий в различных областях науки и промышленности. Возможность измерять и контролировать квантовые состояния с высокой точностью открывает перспективы для создания более совершенных квантовых компьютеров, чувствительных датчиков и других наноустройств, которые могут изменить многие отрасли.

Исследование группы физиков из Германии и Кореи демонстрирует, как квантовые технологии могут расширить наши возможности в изучении микромира. Разработка датчика с субангстремным пространственным разрешением является значительным шагом вперед в квантовой физике и нанотехнологиях. Эти достижения открывают перед учеными новые возможности для исследований, которые могут привести к созданию более сложных и эффективных квантовых устройств, способных решать задачи, ранее считавшиеся неразрешимыми.

Другие интересные новости:

▪ Кошки предотвращают астму у детей

▪ Пиво на основе экзотических дрожжей

▪ Двойной независимый аналоговый NLAST9431

▪ Новый тип странных квазкристаллов

▪ Ученые повысили быстродействие биполярных транзисторов

Лента новостей науки и техники, новинок электроники

 

Интересные материалы Бесплатной технической библиотеки:

▪ раздел сайта Детская научная лаборатория. Подборка статей

▪ статья Реветь белугой. Крылатое выражение

▪ статья Сколько энергии отдает спортсмен за полчаса? Подробный ответ

▪ статья Пижма красная. Легенды, выращивание, способы применения

▪ статья Запуск УНЧ по пунктам. Энциклопедия радиоэлектроники и электротехники

▪ статья Термины, применяемые в технической эксплуатации электроустановок потребителей, и их определения. Энциклопедия радиоэлектроники и электротехники

Оставьте свой комментарий к этой статье:

Имя:


E-mail (не обязательно):


Комментарий:





Главная страница | Библиотека | Статьи | Карта сайта | Отзывы о сайте

www.diagram.com.ua

www.diagram.com.ua
2000-2026