Menu Home

Бесплатная техническая библиотека для любителей и профессионалов Бесплатная техническая библиотека


Двухкаскадный передатчик на 144 МГц. Энциклопедия радиоэлектроники и электротехники

Бесплатная техническая библиотека

Энциклопедия радиоэлектроники и электротехники / Гражданская радиосвязь

Комментарии к статье Комментарии к статье

Для дальних связен в диапазоне 144-146 МГц необходима высокая стабильность частоты. Наиболее просто эта задача решается при применении кварцевой стабилизации, которая особенно нужна при установлении связей на расстояние 500- 1000 км. Однако ближние связи на этом диапазоне нередки и в пределах 50-300 км. В этом случае можно временно отказаться от кварцевой стабилизации и заменить генератор на кварце высокостабильным LC генератором, работающим на низкой частоте. Так, например, схема Тесла, работающая на частоте не выше 7-8 МГц, при соблюдении необходимых конструктивных условий (качество деталей, экранировка электрическая и тепловая, тип лампы и т. д.), обеспечивает стабильность только на один порядок ниже, чем обычные кварцевые схемы. При этом построение схемы передатчика остается таким же, как и при кварце: задающий генератор на 7-8 МГц, ряд умножителей, предоконечный усилитель и выходной каскад.

Наконец, есть еще способ получения достаточной стабильности в диапазоне 144-146 МГц - это применение усиленной параметрической стабилизации частоты непосредственно на рабочей частоте в двухкаскадных схемах. Для этого необходимо, чтобы задающий генератор работал на контурах высокой добротности, обладал большой механической прочностью, не был перегружен последующим каскадом, в котором устранены все склонности к самовозбуждению. Выполнению этих условий в значительной мере способствуют двухтактные схемы в цепи задающего и выходного каскадов. По такому принципу была построена и всесторонне испытана схема двухкаскадного передатчика на лампах 6НЗП и ГУ-32.

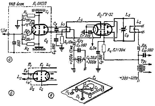
Основой схемы является УКВ блок с анодным контуром из четвертьволновой двухпроводной линии ("Радио" N 6, 1961 г.), нагруженный контуром сетки выходного каскада на ГУ-32 (см рис.1). Большая мощность задающего генератора, собранного на лампе 6Н3П, позволила обойтись без настройки сеточного контура ГУ-32, повысить тем самым стабильность его частоты и уменьшить склонность выходного каскада к самовозбуждению. Для устранения несимметричности и возможности возникновения паразитных контуров и связей конструкция передатчика оформлена в виде линейки. Задающий генератор на лампе 6Н3П работает на фиксированной частоте в диапазоне 144-146 МГц, и во всем передатчике настраивается лишь один выходной контур в цепи анода лампы ГУ-32. Это не только упрощает конструкцию, но и повышает стабильность частоты, благодаря тому, что исключен механически ненадежный элемент настройки на основной частоте. Практика показала, что работа в этом диапазоне на фиксированной частота является выгодным, а иногда и решающим моментом, так как позволяет ждать и искать корреспондента только в узком участке диапазона, а также дает возможность лучше распознавать дальних корреспондентов и т. д.

Двухкаскадный передатчик на 144 МГц
Рис.1

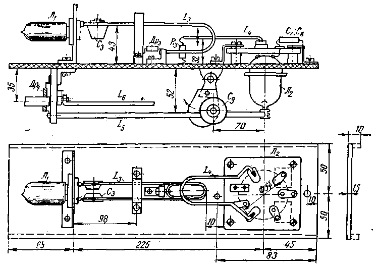
Конструкция высокочастотных блоков передатчика

На рис.2 показан общий вид конструкции, а на рис.3 видно общее расположение всех деталей и узлов передатчика.

Двухкаскадный передатчик на 144 МГц
Рис.2

При постройке следует учитывать, что существенно взаимное расположение трех узлов: задающего генератора на лампе 6Н3П (его конструкция и монтаж полностью соответствуют описанию в "Радио" № 6 за 1961 г.), входной цепи усилителя мощности (L4) и анодной цепи (L5C9L6), в которой осуществляется и подстройка на рабочую частоту, и связь с нагрузкой.

Двухкаскадный передатчик на 144 МГц
Рис.3 (нажмите для увеличения)

Размеры отдельных деталей передатчика показаны на рис.4. Керамическая панель лампы ГУ-32 крепится на четырех стойках, их можно сделать из любого материала. При питании накала от 6,3 B, два крайних вывода нити соединяются вместе и широкой медной полоской заземляются на шасси. Такой же полоской с противоположной стороны заземляется катод ГУ-32. Такой монтаж уменьшает индуктивность в цепи катода и склонность каскада к самовозбуждению. Петля связи L4 в цепи сеток ГУ-32 3 сделана из медной 2 мм проволоки и припаивается непосредственно к лепесткам сеток на панельке лампы. Короткозамкнутый конец петли крепится на ячейке R3С4, с помощью которой создается необходимое смещение для лампы ГУ-32. Достаточная связь с контуром L3C3 задающего генератора получается при расстоянии катушки L4 от шасси порядка 32 мм.

Над панелькой около выводов второй сетки и отвода накала лампы ГУ-32 расположены конденсаторы С7, C8 (KCO-2), которые заземляются на пластинку 2. Гасящее сопротивление R4, колеблется по величине от 5,1 ком до 30 ком в зависимости от напряжения источника питания.

С обратной стороны шасси расположен анодный контур лампы ГУ-32, который крепится непосредственно на жестких выводах анодов лампы ГУ-32, и на планке из любого изолирующего материала. Анодная линия 4 сделана из 4 мм медного провода. На открытом конце провода надрезаются лобзиком, и в прорезь впаивается пружинящая контактная пластинка - зажим 5. На расстоянии 65 мм от конца линии к ней припаиваются две шайбы с резьбой М4 6, в которой крепятся передвижные статорные пластины 7 конденсатора С9. Круглые статорные пластины (медь, латунь) имеют в центре резьбу М3 для проходного винта 8 (М3). Пластина ротора 9 сделана из полоски меди 0,5 мм и крепится на пластине 10 из органического стекла или другого хорошего изолятора. Пластина 10 присоединяется двумя гайками к оси 11, вращающейся в стойке 12, которая крепится к основанию шасси под линией. Эта деталь аналогична во всем ранее описанному способу настройки у УКВ блока ("Радио" N 6, 1961 г.). Короткозамкнутый конец линии привинчивается винтом М2 к пластине 13 (отверстие). Эта пластина сделана из изолирующего материала и к шасси крепится угольником 14. На этой же пластине крепится петля связи с антенной и анодный дроссель (между точками A и Б). Размеры петли связи подбираются в зависимости от качества и свойств применяемой антенны ориентировочно, ее длина равна 100- 120 мм.

Настройка и контроль работы

В процессе настройки подбирается фиксированная рабочая частота путем изменения емкости С3 (рис.1а) в задающем генераторе. Нормальное расстояние между пластинами С3 около 1,2-1,1 мм и их незначительное изменение позволяет подобрать любую частоту в диапазоне 144-146 Mгц. Настройка эта ведется по градуированному приемнику или волномеру при включенном накале лампы ГУ-32. Для контроля за величиной возбуждения в цепь смещения сетки лампы ГУ-32 в цепь сетки включается миллиамперметр на 0-10 ма и связь петли L4 подбирается такой, чтобы остаточный ток был порядка 3-4 ма. После этого при включенных анодном и экранном напряжениях на ГУ-32 определяется резонанс анодного контура по спаду анодного тока или свечению неонового индикатора при изменении емкости С9. Если резонанс не удается найти, то изменяется расстояние между пластинами статора вращением винта 8 во втулке 6 (рис. 4). Новое положение статорных пластин фиксируется контргайкой. Обычно расстояние между пластинами равно 3 мм.

После этих изменений, вращая ротор конденсатора, снова добиваемся резонанса анодной линии, стремясь к тому, чтобы пластина ротора только на половину своей площади была закрыта статором. Такой "запас" емкости необходим для подстройки контура при включенной антенне. Найдя положение резона псов анодного контура, выключаем анодное и экранное напряжение и, перестраивая конденсатор С9 около положения резонанса, наблюдаем за показаниями сеточного тока лампы ГУ-32. Стрелка прибора не должна колебаться в момент прохождения через резонанс анодного контура. Колебания стрелки указывают на существование паразитной связи между сеточным и анодным контурами или за счет непосредственной их связи, или через проходную емкость лампы. При такой связи и достаточном возбуждении на анодном контуре может загораться неоновая лампочка типа МН-3.

При таких условиях выходной каскад может самовозбуждаться при подключении анодного и экранного напряжений, или при изменении их от модуляции. Склонность выходного каскада к самовозбуждению на рабочей частоте можно обнаружить и по таким признакам:

1) максимальная отдача в нагрузку (антенна, лампочка) но соответствует положению наименьшего тока и анодной цепи;

2) в приемнике появляются две настройки, близкие по частоте, одна из которых соответствует настройке задающего генератора, вторая - выходного.

Склонность к самовозбуждению за счет связи через проходную емкость обычно удается устранить нейтрализацией выходного каскада. Для этого сеточная и анодная цепи искусственно связываются в противофазе через добавочные емкости Сн и Сн (рис. 1), которые обычно выполняются из кусков твердого 1,5 мм провода, жестко прикрепленных к выводам сеток на панельке ГУ-32, которые затем через отверстия в шасси (рис. 1, в) подводятся к анодам лампы снаружи баллона. Скрещиванием проводов достигается необходимая противофазность напряжений, компенсирующих самовозбуждение.

После введения емкостей Сн, Сн, при снятом анодно-экранном напряжении (но подведенном возбуждении), снова проверяется сеточный ток лампы ГУ-32 при настройке анодного контура в резонанс. Если ток сетки меняется, то изменением положения проводов относительно массы анодов лампы или их укорочением добиваются полной независимости показаний прибора сетки от настройки анодного контура.

Склонность к самовозбуждению или возникновению паразитных колебаний появляется и в тех случаях, когда нарушается симметричность двухтактных схем. Это необходимо учитывать при включении в схему модулятора или отдельных его узлов, а также внесении антенного переключателя, измерительных приборов, стенок ящика и т. д. Расстояния, на которых следует располагать названные детали, должны в два-три раза превышать расстояния между проводами ВЧ линии, т. с. для ГУ-32 50-75 мм.

Uc2, в Ua, в Ia, мa Ic, ма Ic1, ма R1, ком R2, ком Pa, Вт Рк~, Вт Примечание
130 345 20/55 - 1,6 39 35 19 11-12 связь L4 сильная
160 300 33/85 10/ 8 2,0 12 12 25 15-16 связь L4 слабая
185 400 46/108 15/6,5 3,5 10 33 43 20,0 связь L4 средняя
200 500 -/72 14 2,6 (-65в) 2106 36 26 телеграф класс С
200 425 52 16 2,4 (-60в) 14 - 16 телефон класс С

В таблице приведено несколько рабочих режимов ВЧ блока. Задающий генератор питается от стабилизированного источника 150 В, его анодный ток колеблется от 12 до 15,5 ма для режимов, приведенных в таблице. Значения анодного тока Ia тока экранной сетки Ic2 или первой сетки Ic1 у выходной лампы ГУ-32 указаны в виде дроби - числитель соответствует значению токов без нагрузки; знаменатель, - при включенной нагрузке. В качестве нагрузки применялся ВЧ ваттметр, настроенный LС контур с лампочкой накаливания. Данные ВЧ мощности относятся к телеграфному режиму, в последних двух строках табл.1 приведены данные типовых рабочих режимов лампы ГУ-32.

Наиболее благоприятный режим при работе телефоном получается при Uc2=160-170 B; Ua-320-350 B.

Необходимо напомнить, что первоначальные опыты по установлению дальних связен лучше вести в телеграфном режиме с применением в приемнике второго гетеродина или с тональной модуляцией.

Описанная схема двухкаскадного передатчика на 144 МГц, имеет ряд преимуществ по сравнению с обычными генераторами на самовозбуждении:

1) стабильность частоты повышается настолько, что сигналы можно уверенно принимать на приемники, собранные по супергетеродинной схеме;

2) значительно повышается КПД;

3) конструкцию легко повторить, так как кроме ламповых панелек 6Н3П и ГУ-32 в ней нет покупных дефицитных деталей.

Нам кажется, что подобные схемы могут быть использованы для начала широкого наступления на двухметровый диапазон.

Автор: А. Колесников (UI8ABD), г. Ташкент; Публикация: Н. Большаков, rf.atnn.ru

Смотрите другие статьи раздела Гражданская радиосвязь.

Читайте и пишите полезные комментарии к этой статье.

<< Назад

Последние новости науки и техники, новинки электроники:

Токсичность интернета преувеличена 07.01.2026

Социальные сети нередко воспринимаются как арена постоянной агрессии, оскорблений и распространения фейковой информации. Новое исследование Стэнфордского университета показывает, что реальность значительно отличается от популярного представления: интернет гораздо менее токсичен, чем многие пользователи считают. Ученые опросили более тысячи американцев, попросив их оценить долю пользователей соцсетей, которые ведут себя агрессивно или распространяют ненависть. Оказалось, что впечатления людей сильно преувеличивают масштабы проблемы. Например, респонденты считали, что почти половина пользователей Reddit хотя бы раз оставляла оскорбительные комментарии, тогда как фактические данные платформы показывают, что таких людей не более 3%. Аналогичная ситуация наблюдается с дезинформацией. Опрос показал, что большинство участников считали почти половину аудитории Facebook распространителями фейковых новостей, однако статистика говорит об обратном: фактическая доля таких пользователей состав ...>>

Процессоры Ryzen AI 400 07.01.2026

Современные вычисления все больше ориентируются на интеграцию искусственного интеллекта и высокую производительность в компактных устройствах, таких как ноутбуки и мини-ПК. Новая линейка процессоров AMD Ryzen AI 400 демонстрирует, как разработчики объединяют мощные центральные ядра, графику и нейросетевые ускорители в одном чипе, чтобы удовлетворять растущие потребности пользователей в играх, контенте и ИИ-приложениях. AMD представила процессоры серии Gorgon Point, которые включают до 12 ядер Zen 5 и до 24 потоков вычислений. Чипы поддерживают интегрированную графику RDNA 3.5, обеспечивают максимальную тактовую частоту до 5,2 ГГц и имеют энергопотребление от 15 Вт до 54 Вт. Особое внимание уделено NPU, способному обрабатывать до 60 триллионов операций в секунду (TOPS), что делает эти процессоры эффективными для задач с искусственным интеллектом. Конструкция Ryzen AI 400 сочетает ядра Zen 5 и Zen 5c, обеспечивая высокую гибкость и производительность. Несмотря на то, что архитектур ...>>

Женщины лучше распознают признаки болезни по лицу 06.01.2026

Способность распознавать, что кто-то нездоров, часто проявляется интуитивно: бледная кожа, опущенные веки, уставшее выражение лица могут сигнализировать о недомогании. Новое исследование международной группы ученых показало, что женщины в среднем точнее мужчин улавливают такие тонкие невербальные признаки болезни, что может иметь эволюционные и социальные объяснения. В отличие от предыдущих работ, где использовались отредактированные фотографии или имитация больных лиц, ученые решили проверить, насколько люди способны распознавать естественные признаки недомогания. Такой подход позволил оценить реальную чувствительность к изменениям в лицах, возникающим при болезни. В исследовании приняли участие 280 студентов, поровну мужчин и женщин. Участникам предложили оценить 24 фотографии, на которых изображены люди как в здоровом состоянии, так и во время болезни. Это дало возможность сравнить восприятие естественных признаков недомогания в реальных лицах. Для анализа состояния каждого ...>>

Случайная новость из Архива

ЦРУ в борьбе с глобальным потеплением 04.08.2013

Центральное разведывательное управление США изучает несколько проектов, которые могут повернуть вспять или хотя бы замедлить негативные процессы глобального потепления. Но пока по поводу участия разведчиков в потенциально разрушительной деятельности есть много вопросов.

Американские разведчики совместно с НАСА и специалистами Национальной академии наук США (NAS) запустили проект по изучению нескольких вариантов геоинженерного вмешательства в глобальный климат планеты с целью снизить или "отменить" опасные побочные эффекты техногенной деятельности нашей цивилизации. Судя по всему, участие ЦРУ означает, что правительство США всерьез обеспокоено тем, что глобальное потепление может негативно сказаться на международной безопасности, в том числе и национальной безопасности самих США. В частности в некоторых регионах может растаять ледяной и снежный покров, что может привести к конфликтам за новые территории и морские пути. Прежде всего это касается России и Канады. Также, войны и гуманитарные кризисы могут начаться из-за того, что некоторые обширные регионы будут получать больше осадков, а другие меньше.

Геоинжинеринг - это деятельность, направленная на изменения климата всей планеты или обширного региона. Текущий проект NAS не планирует проведения подобных мероприятий, по крайней мере пока, но ученые вместе с ЦРУ потратят $630 000 и 21 месяц на изучение вариантов такого воздействия на планету. В частности, имеются в виду варианты с выбросом в атмосферу частиц, отражающих солнечный свет или создание установок, поглощающих избыток углекислого газа. Кроме изучения способов борьбы с глобальным потеплением, целью проекта является оценка возможных негативных последствий глобального потепления.

Надо отметить, что ранее ЦРУ уже интересовалось проблемой глобального потепления и даже имело исследовательский центр, занимающийся этой проблемой. Однако в прошлом году этот центр был закрыт усилиями членов Конгресса США, которые возражали против участия разведчиков в такой деятельности. Пока еще не известно, как американские политики отреагируют на новую инициативу ЦРУ, и будут ли частные лица, общественные организации и СМИ интересоваться этим вопросом.

Надо заметить, что самый большой опыт по воздействию на климат имеют как раз американские военные и спецслужбы. В частности, во время войны во Вьетнаме, ВВС США в соответствии с планом ЦРУ не без успеха вызывали проливные дожди, которые смывали партизанские тропы. В последнее время появилось много более масштабных геоинженерных проектов. Например предлагается засеять часть океана у побережья Канады планктоном, который будет "высасывать" углекислый газ из воздуха.

К сожалению, пока оценить последствия таких серьезных вмешательств в климат сложно и высока вероятность вызвать экологическую катастрофу. Уже известен случай, когда бизнесмен Расс Джордж из Калифорнии втайне от мировой общественности и путем обмана местных жителей высыпал в Тихий океан "подкормку" для планктона - 110 тонн сульфата железа. По его словам, это привело к цветению планктона на площади 10 тыс. кв. км. Пока последствия этого самовольного эксперимента изучаются (прошел всего год), но ученые опасаются, что расположенной рядом богатейшей экосистеме островов Королевы Шарлотты моет быть нанесен непоправимый ущерб.

Другие интересные новости:

▪ Передача данных по USB 3.2 со скоростью до 20 Гбит/с

▪ Хороший пример тоже заразителен

▪ Живые батарейки

▪ Умная одежда, отслеживающая позы и движения

▪ Планшет Daylight DC1

Лента новостей науки и техники, новинок электроники

 

Интересные материалы Бесплатной технической библиотеки:

▪ раздел сайта Антенны. Подборка статей

▪ статья Эпоха застоя. Крылатое выражение

▪ статья Какое слово можно употребить 8 раз подряд, составив корректное предложение без знаков препинания? Подробный ответ

▪ статья Водитель лесовозного автопоезда. Типовая инструкция по охране труда

▪ статья Усилитель мощности Решетникова. Энциклопедия радиоэлектроники и электротехники

▪ статья Бестрансформаторный преобразователь напряжения, 28/150-450 вольт 1 ватт. Энциклопедия радиоэлектроники и электротехники

Оставьте свой комментарий к этой статье:

Имя:


E-mail (не обязательно):


Комментарий:





Главная страница | Библиотека | Статьи | Карта сайта | Отзывы о сайте

www.diagram.com.ua

www.diagram.com.ua
2000-2026