Бесплатная техническая библиотека
Быстродействующий интерфейс RC-232 с оптоизолятором. Энциклопедия радиоэлектроники и электротехники

Энциклопедия радиоэлектроники и электротехники / Радиолюбителю-конструктору
Комментарии к статье
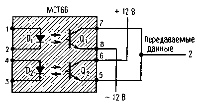
Когда сигналы изолированного источника поступают на питаемый другим напряжением приемник, становятся необходимыми схемы сопряжения, обладающие малыми искажениями и хорошей помехоустойчивостью. К сожалению, такие схемы снижают скорость передачи данных. Правда, если для изоляции интерфейса RS-232 применить оптоизолятор МСТ66 фирмы General Instrument с двумя фототранзисторами, то можно все еще работать с относительно высокой скоростью - 9600 бит/с.
Рис.1 (нажмите для увеличения)
В интерфейсе RS-232 (см. часть рисунка 1) с оптической изоляцией применены МСТ66, два диода, инвертор и резистор. Если вместо транзисторов Q1 и О3 взять резисторы, подключив их к положительному полюсу источника питания, то длительности фронтов сигнала станут больше, и скорость передачи не превысит 1200 бит/с. Эта граница зависит от сопротивления резисторов и длины кабеля интерфейса. Однако, если сопротивления резисторов будут меньше 1 кОм, рассеиваемая мощность станет недопустимой.
Помимо того что эта схема позволяет достичь высокой скорости передачи данных, полярность ее сигнала можно изменить, не вводя еще один инвертор, но включив по-другому транзисторы Q1 и Q2 или Q3 и Q4 (схема 2).
Рис.2
Автор: Vojin G., Oklobdzija; Публикация: Н. Большаков, rf.atnn.ru
Смотрите другие статьи раздела Радиолюбителю-конструктору.
Читайте и пишите полезные комментарии к этой статье.
<< Назад
Последние новости науки и техники, новинки электроники:
Токсичность интернета преувеличена
07.01.2026
Социальные сети нередко воспринимаются как арена постоянной агрессии, оскорблений и распространения фейковой информации. Новое исследование Стэнфордского университета показывает, что реальность значительно отличается от популярного представления: интернет гораздо менее токсичен, чем многие пользователи считают.
Ученые опросили более тысячи американцев, попросив их оценить долю пользователей соцсетей, которые ведут себя агрессивно или распространяют ненависть. Оказалось, что впечатления людей сильно преувеличивают масштабы проблемы. Например, респонденты считали, что почти половина пользователей Reddit хотя бы раз оставляла оскорбительные комментарии, тогда как фактические данные платформы показывают, что таких людей не более 3%.
Аналогичная ситуация наблюдается с дезинформацией. Опрос показал, что большинство участников считали почти половину аудитории Facebook распространителями фейковых новостей, однако статистика говорит об обратном: фактическая доля таких пользователей состав ...>>
Процессоры Ryzen AI 400
07.01.2026
Современные вычисления все больше ориентируются на интеграцию искусственного интеллекта и высокую производительность в компактных устройствах, таких как ноутбуки и мини-ПК. Новая линейка процессоров AMD Ryzen AI 400 демонстрирует, как разработчики объединяют мощные центральные ядра, графику и нейросетевые ускорители в одном чипе, чтобы удовлетворять растущие потребности пользователей в играх, контенте и ИИ-приложениях.
AMD представила процессоры серии Gorgon Point, которые включают до 12 ядер Zen 5 и до 24 потоков вычислений. Чипы поддерживают интегрированную графику RDNA 3.5, обеспечивают максимальную тактовую частоту до 5,2 ГГц и имеют энергопотребление от 15 Вт до 54 Вт. Особое внимание уделено NPU, способному обрабатывать до 60 триллионов операций в секунду (TOPS), что делает эти процессоры эффективными для задач с искусственным интеллектом.
Конструкция Ryzen AI 400 сочетает ядра Zen 5 и Zen 5c, обеспечивая высокую гибкость и производительность. Несмотря на то, что архитектур ...>>
Женщины лучше распознают признаки болезни по лицу
06.01.2026
Способность распознавать, что кто-то нездоров, часто проявляется интуитивно: бледная кожа, опущенные веки, уставшее выражение лица могут сигнализировать о недомогании. Новое исследование международной группы ученых показало, что женщины в среднем точнее мужчин улавливают такие тонкие невербальные признаки болезни, что может иметь эволюционные и социальные объяснения.
В отличие от предыдущих работ, где использовались отредактированные фотографии или имитация больных лиц, ученые решили проверить, насколько люди способны распознавать естественные признаки недомогания. Такой подход позволил оценить реальную чувствительность к изменениям в лицах, возникающим при болезни.
В исследовании приняли участие 280 студентов, поровну мужчин и женщин. Участникам предложили оценить 24 фотографии, на которых изображены люди как в здоровом состоянии, так и во время болезни. Это дало возможность сравнить восприятие естественных признаков недомогания в реальных лицах.
Для анализа состояния каждого ...>>
Случайная новость из Архива Ранний выход на пенсию негативно влияет на мозг
15.01.2023
Ученые из Бингемтонского университета обнаружили, что ранний уход на пенсию может негативно влиять на мозг и ускорять снижение когнитивных способностей. Исследователи проанализировали массив данных о состоянии здоровья пенсионеров в Китае. Ученые считают, что негативное влияние ранней пенсии на мозг может быть связано с понижением социальной активности.
Новое исследование было сосредоточено на государственных данных о состоянии здоровья по пенсионной программе, введенной в Китае в 2009 году. Из-за роста бедности среди пожилых людей в некоторых сельских районах страны программа предложила людям стабильный доход, если они вышли на пенсию в течение нескольких лет после достижения 60 лет.
Собрав данные за десятилетия, исследователи смогли сравнить здоровье и когнитивные последствия участвующих в программе раннего выхода на пенсию с соответствующей группой людей, которые все еще работают в свои 60 лет. Результаты показали, что участвовавшие в программе раннего выхода на пенсию продемонстрировали ухудшение когнитивных навыков в течение следующих лет по сравнению с людьми предпенсионного возраста.
Ученые также проявили более интересную закономерность. Хотя участники пенсионного плана продемонстрировали снижение когнитивных способностей, они также показали улучшение общего состояния здоровья. Эти ранние пенсионеры, как правило, уменьшили потребление алкоголя, бросили курить и в общем лучше спали. По словам Пламена Николова, одного из ведущих исследователей проекта, это интересное расхождение между общим и когнитивным здоровьем свидетельствует о том, что определенные аспекты пенсии, вероятно, негативно влияют на мозг. Ученый отмечает:
В целом неблагоприятное влияние раннего выхода на пенсию на психическую и социальную активность значительно превосходит защитное влияние программы на различные формы здоровья. Социальная вовлеченность и связь могут быть просто мощными факторами для когнитивной производительности в пожилом возрасте.
Социальная изоляция оказалась ключевым фактором, связанным со скорейшим снижением когнитивных функций среди участников китайского пенсионного плана, проанализированного в исследовании. По словам Николова, участники программы, ранее вышедшие на пенсию, сообщили о более низком уровне общего социального взаимодействия и вовлеченности по сравнению с людьми соответствующего возраста, не вышедшими на пенсию. Таким образом, это свидетельствует о том, что можно ввести определенную политику для смягчения когнитивного вреда раннего ухода на пенсию и сохранения более общих преимуществ для здоровья.
Исследователи рекомендуют ввести политику, направленную на буферизацию понижения социальной активности и умственной деятельности. В этом смысле программы ухода на пенсию могут генерировать положительное влияние на состояние здоровья пенсионеров без связанного негативного влияния на их когнитивные способности.
|
Другие интересные новости:
▪ Самая длинная и самая долгая молнии
▪ Вакцина, делающая кошек гипоаллергенными
▪ Приставка Nintendo Switch
▪ Под поверхностью спутника Плутона мог скрываться океан
▪ Солнечные панели из растительной биомассы
Лента новостей науки и техники, новинок электроники
Интересные материалы Бесплатной технической библиотеки:
▪ раздел сайта Звонки и аудио-имитаторы. Подборка статей
▪ статья И только что в газетах осталось: выехал в Ростов. Крылатое выражение
▪ статья Кто начал носить лосины? Подробный ответ
▪ статья Позисторные подогреватели дизельного топлива. Личный транспорт
▪ статья Детектор для отыскания радиожучков. Энциклопедия радиоэлектроники и электротехники
▪ статья Зеркала-дразнилки. Физический эксперимент
Оставьте свой комментарий к этой статье:
Главная страница | Библиотека | Статьи | Карта сайта | Отзывы о сайте

www.diagram.com.ua
2000-2026