Menu Home

Бесплатная техническая библиотека для любителей и профессионалов Бесплатная техническая библиотека


Трансивер CONTEST. Энциклопедия радиоэлектроники и электротехники

Бесплатная техническая библиотека

Энциклопедия радиоэлектроники и электротехники / Гражданская радиосвязь

Комментарии к статье Комментарии к статье

Имя Владимира Рубцова (UN7BV) - инженера, художника, в прошлом летчика, командира экипажа - хорошо знакомо читателям "КВ журнала", где он начал публиковаться с1993 г. Все свободное время Владимир отдает конструированию любительской связной аппаратуры, работе в эфире. Он автор более десятка журнальных публикаций, книги "Радиолюбительская приемопередающая аппаратура UN7BV". Сегодня мы представляем одну из его последних разработок - трансивер "CONTEST".

У радиолюбителей, занимающихся конструированием любительских приемопередающих устройств, при выборе схемы построения аппарата, в частности его промежуточной частоты, наряду с традиционными факторами, определяющими этот выбор, появились и не совсем ординарные. К ним относятся стоимость радиодеталей, распространенность тех или иных из них в странах СНГ и возможность их приобрести или, вообще, возможность (учитывая цену) купить хороший импортный аппарат и, таким образом, решить указанную проблему.

В предлагаемом вниманию читателей трансивере "CONTEST" применена ПЧ 10,7 МГц. Ее использование в аппарате, предназначенном для работы на всех любительских диапазонах, включая WARC, не оптимально (по сравнению, например, с ПЧ 5,5 МГц) из-за наличия пораженных точек в диапазонах 14 и 21 МГц и сложности построения ГПД. Однако распространенность в странах СНГ кварцевых фильтров на частоту 10,7 МГц, их невысокая цена явились серьезным аргументом в пользу сделанного выбора. Указанные выше "минусы" при использовании такой ПЧ удалось устранить в трансивере применением соответствующих схемных решений, а именно: выбором частоты ГПД выше ПЧ в названных диапазонах с последующим "переворотом" боковой полосы в тракте ПЧ.

Основные технические характеристики трансивера:

  • диапазоны - 1,8; 3,5; 7, 10, 14, 18, 21, 24, 28, 28,5; 29 МГц;
  • промежуточная частота - 10,7 МГц;
  • чувствительность при отношении сигнал/шум, равном 3:1, - не хуже 0,5 мкВ;
  • селективность по соседнему каналу при расстройке на +20 и -20 кГц - не менее 70 дБ;
  • динамический диапазон по "забитию" - 105 дБ;
  • полоса пропускания в режимах SSB и CW - соответственно 2,4 и 0,8 кГц;
  • диапазон регулирования АРУ (при изменении выходного напряжения не более чем на 6 дБ) - не менее 100 дБ;
  • номинальная выходная мощность усилителя ЗЧ - 2 Вт;
  • нестабильность частоты ГПД в интервале температур 0...+30° С - не более 10 Гц/°С;
  • выходная мощность передающего тракта во всех диапазонах - 10 Вт;
  • пределы регулирования скорости передачи электронного ключа в режиме CW - 40...270 знаков в минуту;
  • время удержания в режиме передачи при использовании VOX - 0,2 с;
  • питание - от сети переменного тока напряжением 220 В, от источника постоянного тока напряжением 20...30 В (12 В только для работы в режиме приема);
  • габариты - 292(237(100 мм;
  • масса - 6 кг.

Структурная схема трансивера, совмещенная со схемой соединений узлов, изображена на рис. 1, принципиальные схемы узлов - на рис. 2-17. Аппарат представляет собой супергетеродин с одной фиксированной промежуточной частотой и реверсивными трактами усиления. Рабочие напряжения +12 В (RX) и +12 В (TX) снимаются с катодов диодов VD68 и VD69 (рис. 1) соответственно. Реле К11, К12, К16 и К17 используются для перевода трансивера из режима приема в режим передачи и наоборот. Лампа накаливания HL2 со светофильтром голубого цвета предназначена для индикации включения трансивера и подсветки шкалы Sметра PA1, лампа HL1 со светофильтром красного цвета сигнализирует о переводе аппарата в режим передачи.

Трансивер CONTEST
(нажмите для увеличения)

Реле К13, К14 и выключатель SB2 ("УП") обеспечивают переключение кварцевого фильтра в режим узкой полосы, кнопочным переключателем SB4 ("CW") трансивер переводят в телеграфный режим, а SB5 ("VOX") - в телефонный режим голосового управления.

Кнопка SB6 ("RX")используется в режиме приема. Если она не нажата (т. е. находится в положении, показанном на рис. 1), то возможна работа на передачу SSB с применением тангенты SA6 (служит для перевода трансивера в режим передачи во всех режимах, если не нажата SB6). Если же кнопка нажата, то трансивер также находится в режиме приема, работа на передачу с использованием тангенты в режиме SSB невозможна, однако можно работать телеграфом через систему VOX с использованием тонального генератора электронного телеграфного ключа.

Кнопкой SB7 "Настр." ("Настройка") трансивер переводят в режим настройки. При этом он переключается в режим TX (без нажатия тангенты), одновременно включается телеграфный гетеродин в режим постоянного излучения. Из головки громкоговорителя BA1 слышен тональный сигнал частотой около 1 кГц. Кнопка SB8 служит для перевода трансивера в режим передачи без использования тангенты, при этом возможна работа как телеграфом, так и SSB.

Режим расстройки включают кнопкой SB1, частоту изменяют переменным резистором R203. Контакты реле К17.1 используются для управления дополнительным усилителем мощности, К17.2 - для формирования рабочих напряжений +12 В (RX) и +12 В (TX), контакты реле К15.2 и К15.3 - для управления реверсивным УПЧ. Выключатель SB9 служит для отключения системы АРУ. Переменным резистором R204 регулируют уровень самопрослушивания тонального генератора в режиме CW, резистором R201 - усиление на передачу.

Трансивер CONTEST

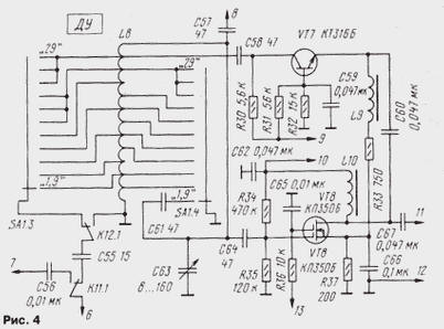
В режиме приема сигнал РЧ с антенного гнезда XW1 (рис. 1) через КСВметр (рис. 2, выводы 40, 41) поступает на П-контур L16 (рис. 3, вывод 52), затем через вывод 6, контакты реле К11.1, конденсатор С55 и секцию SA1.3 переключателя диапазонов (рис. 4) - на контур L8С63 и далее усиливается двунаправленным (реверсивным) каскадом на транзисторах VT7, VT8.

Трансивер CONTEST
(нажмите для увеличения)

В рассматриваемом режиме РЧ сигнал проходит в направлении от L8 к С67 через транзистор VT8, в режиме передачи - от С67 к L8 через транзистор VT7. Перевод каскада из режима RX в режим TX осуществляется подачей напряжения +12 В на выводы 10 (RX) и 9 (TX). При этом транзистор VT8 включен по схеме с общим истоком, а VT7 - с общей базой. В результате входные/выходные сопротивления каскадов в обоих режимах оказываются высокими со стороны контура L8С63 и низкими со стороны конденсатора С67 и следующего за ним диодного балансного смесителя, что благоприятно сказывается на согласовании входных/выходных сопротивлений смежных каскадов.

Трансивер CONTEST

Соединение эмиттера транзистора VT7 через дроссель L9 и резистор R33 с истоком VT8 способствует закрыванию нерабочего транзистора VT7 в режиме RX из-за подачи на него небольшого положительного напряжения с истока работающего в этом режиме VT8. В режиме передачи процесс закрывания происходит в обратном порядке. На второй затвор VT8 в режиме RX подается напряжение АРУ, а в режиме TX - закрывающее напряжение отрицательной полярности.

Со стока транзистора VT8 усиленный сигнал РЧ через конденсатор С67 поступает на двойной мостовой балансный смеситель (рис. 5). В его состав входят два диодных моста (VD18-VD21 и VD22-VD25), трансформаторы Т3, Т4 и резисторы R40, R41. Наличие последних позволяет реализовать переключательный режим диодов при относительно высоком напряжении гетеродина (эффективное значение 4 В) и ограничить ток через диоды при открывающей полуволне напряжения предельно допустимыми значениями.

Трансивер CONTEST

Описываемый узел является одним из вариантов смесителя высокого уровня, способного обеспечить большой динамический диапазон за счет высокого напряжения гетеродина, а также высокий уровень подавления входных сигналов. К положительным качествам такого смесителя относятся также хорошая развязка входных и гетеродинных цепей и его реверсивность, т. е. способность работать при разных направлениях прохождения сигнала. Сигнал ГПД подается на одну из обмоток трансформатора Т3 (вывод 20), а сигнал РЧ - через вывод 26 и конденсатор С100 - в точку соединения двух обмоток трансформатора T4. Сигнал ПЧ 10,7 МГц в режиме приема снимается с его третьей обмотки, которая вместе с конденсатором С102 образует фильтр предварительной селекции ПЧ.

С этого фильтра через конденсатор С101 сигнал ПЧ поступает на вход двунаправленного усилителя, выполненного на транзисторах VT9-VT11. В режиме приема (прохождение сигнала от конденсатора С101 к С103) работает каскодный усилитель на транзисторах VT9 и VT10 (первый включен по схеме с общим истоком, второй - по схеме с общей базой), в режиме передачи (прохождение сигнала от С103 к С101) - один транзистор VT11. Такое схемное решение позволяет получить необходимое усиление сигнала ПЧ в обоих режимах (RX и TX). В первом случае на второй затвор транзистора VT9 подается управляющее напряжение либо от системы АРУ, либо с резистора R131 (через каскад на транзисторе VT26) с целью регулировки усиления по ПЧ. В режиме ТХ на этот затвор VT9 через резистор R202 поступает закрывающее напряжение отрицательной полярности, вырабатываемое генератором на транзисторах VT41, VT42, расположенным в цифровой шкале. Это же закрывающее напряжение подается на второй затвор VT11 в режиме RX. В режиме передачи на него поступает напряжение регулировки усиления (DSB) с резистора R201 (см. рис. 1).

Сигнал ПЧ, выделенный фильтром L11C106 (рис. 5), через катушку связи L12 и конденсатор С103 (с вывода 21) поступает на восьмикристальный лестничный фильтр (рис. 6,а, вывод 17). В режиме SSB (контакты К13.1, К14.1 разомкнуты) его полоса пропускания равна 2,4 кГц, в режиме CW (контакты замкнуты) - 0,8 кГц. Резисторы R38, R39 служат для устранения эффекта "колокольчика".

Трансивер CONTEST

В качестве основного элемента селекции можно применить кварцевые фильтры, выполненные и по другим схемам, изображенным на рис. 6: например, лестничный шестикристальный с полосой пропускания 2,5 кГц (рис. 6,б), мостовой четырехкристальный (рис. 6,в) или восьмикристальный (рис. 6,г). В двух последних фильтрах могут быть применены кварцевые резонаторы и на другую (близкую к 10,7 МГц) частоту, однако должны соблюдаться следующие условия: частоты всех верхних (по схеме) резонаторов должны быть одинаковыми и отличаться от частот нижних (также одинаковых) на 2...3 кГц.

С выхода кварцевого фильтра (вывод 19) напряжение ПЧ подается на затвор полевого транзистора VT12 (рис. 5), входящего в состав двунаправленного усилителя (VT12, VT13). Этот каскад работает аналогично описанному выше (в обоих режимах) и отличается от него только отсутствием третьего (биполярного) транзистора. Выделенный фильтром L13C114 сигнал ПЧ через катушку связи L14 поступает на второй балансный диодный смеситель кольцевого типа (VD26-VD30), также используемый в обоих режимах (RX и TX).

Сигнал частотой 10,7 МГц с опорного гетеродина, выполненного на транзисторе VT30 (рис. 7), подведен к смесителю через вывод 24 и элементы C122, R63, R61, R64. Балансируют его подстроечным резистором R63 (грубо) и подбором емкости конденсатора С121.

Трансивер CONTEST

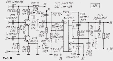
С выхода смесителя напряжение ЗЧ, отфильтрованное фильтром С123R65C124, через конденсатор С126 и вывод 30 поступает на вход (вывод 32) каскодного предварительного усилителя ЗЧ, выполненного на транзисторах VT14, VT15 (рис. 8).

Трансивер CONTEST

Трансивер CONTEST
(нажмите для увеличения)

Каскад хорошо согласуется с выходным сопротивлением балансного смесителя и входным сопротивлением усилителя мощности ЗЧ, обеспечивая при этом достаточно большое усиление.

С коллектора транзистора VT14 через регулятор громкости - переменный резистор R74 - сигнал ЗЧ подан на вход усилителя мощности ЗЧ, собранного на микросхеме DA1. В режиме приема резистор R77 замкнут контактами реле К17.1 (см. рис. 1), благодаря чему коэффициент усиления каскада максимален. При переходе в режим передачи контакты реле размыкаются и резистор R77 включается в цепь эмиттера транзистора выходного каскада микросхемы. В результате коэффициент усиления уменьшается. Требуемое усиление в режиме RX устанавливают подбором резистора R78, в режиме TX - резистора R77.

Через вывод 35 на вход усилителя мощности подается напряжение ЗЧ с телеграфного ключа для самопрослушивания (его громкость регулируют переменным резистором R204, показанным на рис. 1). С выхода усилителя (вывод 38) сигнал ЗЧ поступает либо на телефоны, либо одновременно на телефоны и головку громкоговорителя BA1 (в зависимости от положения переключателя SB3), а также на узел АРУ (через выключатель SB9) и систему анти-VOX (рис. 9, вывод 60). Нагрузочный резистор R81 предотвращает выход микросхемы из строя при одновременном отключении головки громкоговорителя и телефонов в момент появления сигнала большого уровня на входе.

В режиме передачи сигнал ЗЧ от микрофона BM1 (рис. 10) через дроссель L17 и конденсатор С191 поступает на резистор R148, а с его движка - на неинвертирующий вход ОУ DA2. Дроссель предотвращает просачивание высокочастотных наводок на его вход. Через контакты К16.1 усиленный сигнал подается на балансный смеситель (с вывода 80 на 31), а также на устройство голосового управления VOX (с вывода 79 на вывод 58), схема которого показана на рис. 9. В балансном смесителе (см. рис. 5, VD26-VD30) несущая частота подавляется, выделенный контуром L13C114 DSB сигнал усиливается каскадом на транзисторе VT13. Фильтр основной селекции (см. рис. 6) выделяет одну боковую полосу и подавляет остаток несущей. Более удаленные от ПЧ побочные продукты преобразования подавляются контуром L11C106. Сформированный однополосный сигнал усиливается каскадом на транзисторе VT11 и с его стока подается на двойной мостовой балансный смеситель (VD18-VD21, VD22-VD25). В рассматриваемом режиме он работает так же, как и в режиме RX, однако направление прохождения сигнала обратное. Снимаемый с вывода 26 сигнал усиливается транзистором VT7 (см. рис. 4) и отфильтровывается контуром L8C63.

Трансивер CONTEST

Далее сигнал рабочей частоты (в зависимости от выбранного с помощью переключателя SA1 диапазона) через конденсатор С57 и вывод 8 подается на вход усилителя мощности передатчика (см. рис. 3). Он состоит из трех каскадов: предварительного усилителя (VT17), выходного каскодного усилителя (VT19, VT20) и согласующего их друг с другом эмиттерного повторителя (VT18). Каскодный выходной каскад имеет, как известно, высокое выходное сопротивление, которое в данном случае дополнительно повышается трансформатором Т6. Такое схемное решение позволило применить в выходном П-контуре КПЕ (С158, С159) относительно небольшой емкости, получить более высокую спектральную чистоту сигнала на выходе, а также меньшую критичность соединительных проводов названного контура к их длине.

Сигнал РЧ с обмотки II трансформатора Т6 через выводы 50, 7 (см. рис. 4), конденсатор С56, контакты реле К11.1, выводы 6, 51 (см. рис.3) поступает на П-контур L16C158-C166, а с него - через вывод 52, КСВ-метр (см. рис. 2, выводы 41, 40) и гнездо XW1 (см. рис. 1) - в антенну.

Примененный КСВ-метр (см. рис. 2) позволяет контролировать режим работы фидера, а также оценивать выходную мощность трансивера по напряжению прямой волны. Его можно использовать с мощностью передатчика от 10 до 200 Вт, при этом потери энергии в нем не превышают 1 %. Важное достоинство такого измерителя КСВ - одинаковая чувствительность на всех КВ диапазонах.

В КСВ-метре создается управляющее напряжение, служащее для защиты усилителя мощности передатчика при высоком КСВ в фидере антенны. Это напряжение снимается с резистора R86 и через выводы 43, 45 подается на базу регулирующего транзистора VT16 (см. рис. 3). При высоком напряжении обратной волны стабилитрон VD33 и транзистор VT16 открываются, напряжение на коллекторе последнего и гальванически связанном с ним втором затворе полевого транзистора VT17 падает и коэффициент усиления усилителя мощности уменьшается практически до нуля.

Принципиальная схема ГПД изображена на рис. 11. Собственно генератор выполнен на транзисторе VT1. Параметрический стабилизатор напряжения VD2R9 и элементы развязки C22, R1, C24, C242 предотвращают просачивание РЧ напряжения в цепи питания и обеспечивают повышенную стабильность параметров выходного сигнала при небольших колебаниях питающего напряжения, возникающих при переходных процессах (переключение с приема на передачу, и наоборот). Резистор R4 улучшает развязку генератора с последующим каскадом.

На транзисторе VT2 собран широкополосный усилитель РЧ. Малая проходная емкость затворной цепи и высокое входное сопротивление каскада способствуют хорошей развязке генератора от других каскадов. В диапазонах 1,8; 14 и 21 МГц усилитель ГПД нагружен эллиптическим фильтром нижних частот седьмого порядка L5-L7C37-C43 с полосой пропускания 11,3...18,8 МГц, в остальных - аналогичным фильтром L2-L4C30-C36 с полосой пропускания 7...10,5 МГц. Фильтры переключаются одновременно со сменой диапазонов переключателем SA1. Все паразитные составляющие сигнала подавляются более чем на 35 дБ. С выходов фильтров сигнал поступает на вход усилителя-удвоителя на транзисторах VT3, VT4.

Переключение режимов работы этого каскада осуществляется контактами реле К9.1, управляемого блоком коммутации (рис. 12).

Трансивер CONTEST

В диапазонах 1,8 и 18 МГц каскад работает как усилитель, в остальных - как удвоитель. При переходе в режим усиления коллектор VT3 отключается, а транзистор VT4 переводится в режим линейного усиления (класс А) благодаря подаче в базовую цепь дополнительного напряжения положительной полярности из-за подключения резистора R19 параллельно R18. В режиме удвоения частоты сигнал с входного трансформатора Т1 в противофазе поступает на базы обоих транзисторов. Их коллекторы при этом соединены друг с другом и нагружены входной обмоткой трансформатора Т2. Выходной сигнал ГПД снимается с половины вторичной обмотки Т2, а кабельный усилитель развязки с цифровой шкалой на транзисторах VT5 и VT6 подключен ко всей обмотке. Коэффициент усиления этого каскада в полосе частот 100 кГц...50 МГц - около 10. С цифровой шкалой он соединен отрезком коаксиального кабеля РК-75. Резистор R29 установлен в цифровой шкале (на коаксиальном разъеме).

Применение такого усилителя наряду с мерами, принятыми в цифровой шкале с целью модернизации, позволили отодвинуть верхний предел измерения частоты до 33 МГц включительно, в чем возникла необходимость при работе в диапазонах 14 и 21 МГц при выбранной схеме построения трансивера.

Таблица 1

Диапазон, МГц Частота генератора, МГц Частота на выходе ГПД, МГц Примечание
29 9,15...9,5 18,3...19 С удвоением
28,5 8,9...9,15 17,8...18,3 С удвоением
28 8,65...8,9 17,3...17,8 С удвоением
24 7,095...7,145 14,19...14,29 С удвоением
21 15,85...16,075 31,7...32,15 С удвоением
18 7,3...7,4 7,3...7,4 Без удвоения
14 12,35...12,525 24,7...25,05 С удвоением
10 10,4...10,425 20,8...20,85 С удвоением
7 8,85...8,9 17,7...17,8 С удвоением
3,5 7,1...7,25 14,2...14,5 С удвоением
1,8 12,53...12,63 12,53...12,63 Без удвоения

Система расстройки содержит варикап VD1, резисторы R7, R8 и конденсаторы С16, С18 и С19. Включают ее кнопкой SB1 (см. рис. 1), а частоту изменяют переменным резистором R203. Требуемая степень растяжки поддерживается автоматически с помощью реле К5, управляемого переключателем диапазонов в блоке коммутации (рис. 12). Интервалы частот колебаний, вырабатываемых ГПД в разных диапазонах, указаны в табл. 1.

С помощью блока коммутации (рис. 12) осуществляется переключение диапазонов в ГПД (реле К1-К4, К6, К8, К10), переключение катушки L1 для получения соответствующей растяжки в различных диапазонах (К5), изменение режима работы усилителя-удвоителя (К9) в ГПД, коммутация кварцевых резонаторов для получения рабочей боковой полосы в диапазонах 14 и 21 МГц в опорном кварцевом гетеродине (см. рис. 7, К7), формирование управляющего сигнала логического 0, используемого при переключении цифровой шкалы с целью записи в счетчики различных чисел.

Принципиальная схема систем голосового управления VOX и анти-VOX показана на рис. 9. Входной сигнал с вывода 79 микрофонного усилителя через вывод 58 и подстроечный резистор R118 (им регулируют чувствительность системы VOX) поступает на вход усилителя ЗЧ, выполненного на транзисторе VT23. На диодах VD36, VD37 собран выпрямитель сигнала, на транзисторах VT22, VT21 - электронный ключ. В коллекторную цепь VT21 включено командное реле К15. Сигнал анти-VOX с выхода усилителя ЗЧ (вывод 58) через конденсатор С240 (см. рис. 1) подается на вход (вывод 60) усилителя ЗЧ, выполненного на транзисторе VT24. Выпрямленное диодами VD38, VD39 напряжение через делитель R120R119 поступает на базу транзистора VT22. В режиме приема нижний (по схеме) вывод конденсатора С177 соединен контактами реле К15.1 с общим проводом устройства. При переводе трансивера в режим передачи этот конденсатор отключается, что способствует исключению дребезга контактов реле К15 при наличии близких по величине управляющих сигналов на входах обоих систем (VOX и анти-VOX).

На рис. 13 изображены принципиальные схемы системы АРУ, S-метра и измерителя мощности (ИМ).

Трансивер CONTEST

Сигнал с выхода усилителя ЗЧ (вывод 58) через выключатель АРУ SA13 (см. рис. 1) подается на вход (вывод 68) выпрямителя АРУ, собранного на диодах VD41, VD42 по схеме удвоения напряжения. Время задержки срабатывания АРУ определяется емкостью конденсатора С135 и сопротивлением резистора R134. Выпрямленное напряжение через резистор R132 поступает на вход усилителя постоянного тока на транзисторе VT26. В его эмиттерную цепь включен микроамперметр РА1, резистор-шунт R135, блокировочный конденсатор С183 и диод VD40, расширяющий пределы измерения за счет получающегося нелинейного участка в конце шкалы (это необходимо для контроля сигналов большого уровня). На транзисторе VT25 собран измеритель выходной мощности трансивера. К его базе подводится сигнал, снимаемый с вывода 44 КСВ-метра (см. рис. 2). При установке переключателя SA2 в верхнее (по схеме) положение прибор РА1 индицирует величину напряжения обратной волны. Резисторы R136-R138 используются в системе расстройки.

Схема опорного кварцевого гетеродина показана на рис. 7. Собран он на транзисторе VT30 по схеме емкостной трехточки. В его базовую цепь контактами реле К7.1 включается один из кварцевых резонаторов ZQ10, ZQ11. В результате в диапазонах 14 и 21 МГц генератор вырабатывает синусоидальные колебания частотой 10,703, а в остальных - 10,7 МГц. В коллекторную цепь транзистора включен контур L18C207. Выходной сигнал с катушки связи L19 через вывод 88 поступает на вход (вывод 24) балансного смесителя VD26-VD30 (рис. 5).

На рис. 14 изображена принципиальная схема телеграфного кварцевого гетеродина, собранного на полевом транзисторе VT28. Резонатор ZQ9 на частоту 10,701 МГц включен между затвором и общим проводом последовательно с подстроечным конденсатором С196. Последний предназначен для установки частоты телеграфного гетеродина на середину полосы пропускания кварцевого фильтра основной селекции. Конденсатором С201 подбирают глубину связи генератора с последующим каскадом, необходимую для получения требуемой мощности передатчика в телеграфном режиме.

Трансивер CONTEST

На транзисторе VT29 выполнен электронный ключ. Конденсаторы С199 и С200 сглаживают фронты и спады телеграфных посылок. База транзистора (вывод 85) соединена с выходом (вывод 74) электронного ключа (рис. 15). Вывод 84 (рис. 14) используется для включения генератора в режиме настройки, а также для манипуляции генератором при работе ручным ключом SA5 (см. рис. 1).

Электронный телеграфный ключ (рис. 15) выполнен по ставшей уже классической схеме на микросхемах КМОП DD1-DD3 и транзисторе VT27. На микросхеме DD1 собран управляемый генератор импульсов с регулируемой частотой следования (R140 - регулятор скорости передачи), на триггерах DD2.1 и DD2.2 - формирователи соответственно точек и тире, на элементе DD3.1 - устройство сложения, на DD3.2- DD3.4 - генератор сигнала ЗЧ, на VT7 - эмиттерный повторитель.

Трансивер CONTEST
(нажмите для увеличения)

Работает ключ следующим образом. При нейтральном положении манипулятора SA3 на нижний (по схеме) вход элемента DD1.2 (вывод 6) и верхний DD1.3 (вывод 8) через резистор R141 подано напряжение с уровнем логической 1, поэтому генератор заторможен (на входе С триггера DD2.1 - уровень логического 0). Из-за наличия на входе R триггера DD2.2 уровня логической 1 напряжение на его инверсном выходе (вывод 12) имеет такой же уровень. При переводе манипулятора в левое (по схеме) положение ("Точки") указанные выше входы элементов DD1.2, DD1.3 соединяются с общим проводом (это эквивалентно подаче логического 0), генератор возбуждается, и его импульсы поступают на вход С триггера DD2.1. Сформированные последним "точки" через элемент DD3.1 поступают на базу транзистора VT27, а с его эмиттера - на базу ключевого транзистора VT29 телеграфного гетеродина (рис. 14). Одновременно "точки" поступают на вход (вывод 8) элемента DD3.3, разрешая тем самым работу генератора ЗЧ. Триггер DD2.2 в это время удерживается в исходном состоянии уровнем логической 1, поданным на его вход R через резистор R147. Элемент DD3.1 обеспечивает передачу "точки" нормальной длительности даже при кратковременном соединении соответствующих контактов манипулятора.

При переводе манипулятора в правое (по схеме) положение ("Тире") генератор импульсов и триггер DD2.1 работают так же, как и при формировании "точек". Однако на входе R триггера DD2.2 в этом случае устанавливается уровень логического 0, и он изменяет свое состояние под действием импульсов триггера DD2.1. Импульсы с выходов обоих триггеров суммируются элементом DD3.1, формируя "тире". Как и в предыдущем случае, DD3.1 обеспечивает передачу тире даже при кратковременном замыкании контактов манипулятора. Ключ формирует стандартные посылки кода Морзе на всех скоростях передачи.

Принципиальная схема электронной цифровой шкалы изображена на рис. 16. По сути, это несколько доработанный вариант устройства, описанного В. Криницким в [1]. Модернизация в основном коснулась входной части: изменены номиналы некоторых резисторов, исключены диоды защиты, микросхема К155ЛА3 заменена на К131ЛА3 (DD4). Эти меры привели к формированию более "четких" импульсов (меандра) на входе микросхемы DD5, в результате чего верхний предел диапазона рабочих частот поднялся до 33 МГц.

Трансивер CONTEST
(нажмите для увеличения)

В кварцевом генераторе (DD6.3) применен резонатор на 100 кГц, что не только сократило число микросхем в делителе, но и привело к уменьшению побочных излучений при работе цифровой шкалы, а значит, и к уменьшению общего уровня шума трансивера. В счетчики записаны числа 107000 при наличии на выводе 101 уровня логического 0 и 893000 при смене его уровнем логической 1, что необходимо для правильного отсчета частоты при ПЧ 10,7 МГц.

В преобразователе напряжения (VT41, VT42) и стабилизаторе (VT40) применены более мощные транзисторы КТ630Б и КТ608А. Кроме того, в первое из этих устройств введен источник напряжения отрицательной полярности -10 В, состоящий из обмотки V трансформатора Т8, выпрямительного моста VD64-VD67 и параметрического стабилизатора напряжения R194VD63. Это напряжение используется для закрывания нерабочих каскадов трансивера (вывод 105).

Блок питания трансивера (рис. 17) включает в себя трансформатор Т7, два выпрямителя (VD47-VD50 и VD51-VD54) и два стабилизатора напряжения (DA1, VT31-VT33 и VT34, VT35). Блок выдает четыре напряжения: нестабилизированные +40 и +20 В для питания соответственно усилителя мощности передатчика и обмоток реле, стабилизированное +9 В для питания цифровой шкалы и телеграфного ключа и стабилизированное +12 В для питания всех остальных каскадов. Через диод VD55 (вывод 96) подается напряжение 20...30 В от внешнего источника постоянного тока.

Трансивер CONTEST
(нажмите для увеличения)

В трансивере применены широко распространенные детали: постоянные резисторы МЛТ, переменные СП3-9а и СПО-0,5, конденсаторы КТ, КМ, К50-6. Сдвоенный блок КПЕ С158С159 - от транзисторного радиоприемника "Альпинист", конденсатор С63 - КПВ-125 или КПВ-140. Переключатели SA1 - галетный 11П7Н-ПМ, SA2 - микропереключатель МП9 (МП10, МП11), SA4 - микротумблер МТ1, SB1-SB9 - П2К.

Реле К1-К4, К6, К8, К10 - РЭС60 (паспорт РС4,569.436 или РС4.569.435-00), К5, К13, К14 - РЭС49 (РС4.569.423 или РС5.569.421-00), К7, К9, К11, К12, К16 - РЭС15 (РС4.591.001 или РС4.591.007), К15 - РЭС22 (РФ4.500.131, РФ4.521.225, РФ4.523.023-00, РФ4.523.023-07, РФ4.523.023-09), К17 - герконовое РЭС54А (ХП4.500.011-01).

Вместо КП350Б можно применить транзисторы серии КП306, вместо КТ316Б - КТ339А или аналогичные с минимальной проходной емкостью. Транзисторы КТ660Б заменимы на КТ603Б, КТ608Б. В усилителе мощности вместо КТ603Б возможно использование КТ608Б, КТ660Б. Транзисторы КТ201А заменимы на приборы серии КТ208, КТ306А, КТ306Б - на КТ342 (с любым буквенным индексом), КТ312Б - на транзисторы серий КТ306, КТ342, а П216 - на П217. Вместо Д223 можно применить диоды серий КД503, КД522.

Микросхемы серии К176 заменимы аналогами из серии К561, вместо К131ЛА3 в цифровой шкале можно использовать микросхему К155ЛА3, но ее придется подобрать по максимальной рабочей частоте (шкала должна надежно работать в диапазоне 21 МГц).

В трансивере применены миниатюрные лампы накаливания с номинальным напряжением 10 В. Головка громкоговорителя ВА1 - 2ГД-36 (8 Ом).

Намоточные данные катушек и трансформаторов трансивера приведены в табл. 2.

Трансивер CONTEST
(нажмите для увеличения)

Чертежи, поясняющие конструкцию катушек L8, L16 (их наматывают на керамических каркасах) и РЧ трансформатора Т6, - приведены соответственно на рис. 18, 19 и 20. Подстроечники катушек L2-L7, L11-L14, L18, L19 - ферритовые резьбовые ГОСТ 19725-74. Магнитопровод РЧ трансформатора Т6 состоит из двух одинаковых частей 2 (рис. 20), каждая из которых образована десятью ферритовыми кольцами типоразмера К10x6x5, скрепленными полоской кабельной бумаги, смазанной клеем "Марс". Сверху (по рис. 20) на получившиеся бумажные трубки с тем же клеем надевают обойму 1, снизу - обойму 3, после чего проводом МГТФ 0,35 мм 2 наматывают обмотки. Затем к нижней обойме приклеивают колодку 4, предварительно пропустив через просверленные в ней отверстия выводы обмоток, а к ней - пластину 5 (от обоймы 3 она отличается отсутствием отверстий диаметром 10,5 мм и меньшей толщиной - 1,5 мм). Детали 1, 3-5 изготавливают из стеклотекстолита. Дроссели L9, L10 (индуктивность - 30 мкГн+5 %), L15 и L20-L22 (160 мкГн+5%) - унифицированные ДМ-0,2. Сетевой трансформатор Т7 - ТС-40-2 (аф0.470.025ТУ) с первичной обмоткой на 220 В и двумя вторичными обмотками на 18 В.

Трансивер CONTEST

Приступая к налаживанию трансивера, тщательно поверяют все узлы и соединения между ними на отсутствие коротких замыканий. Настройку начинают в режиме приема с проверки работоспособности блока питания и установки необходимых выходных напряжений на холостом ходу (все узлы отключены). После этого восстанавливают все соединения и переходят к настройке гетеродинов.

Настройка опорного кварцевого гетеродина (см. рис. 7) сводится к подбору индуктивности катушки L18 до получения устойчивой генерации и максимальной амплитуды колебаний на выходе поочередно с обоими резонаторами ZQ10 и ZQ11. Для контроля используют высокоомный высокочастотный вольтметр или, что лучше, широкополосный осциллограф, а также частотомер.

Работоспособность кварцевого телеграфного гетеродина проверяют в режиме CW (в этом случае на вывод 82 (см. рис. 14) подано питающее напряжение). При соединении вывода 84 с общим проводом генератор должен возбудиться. Контролируя выходное напряжение теми же приборами, что и в предыдущем случае, настраивают генератор конденсатором С196 на центральную частоту полосы пропускания кварцевого фильтра основной селекции (см. рис. 6). Подстроечным конденсатором С201 регулируют выходную мощность в режиме CW после завершения полной настройки трансивера.

Настройку генератора плавного диапазона (см. рис. 11) начинают с укладки диапазона 21 МГц (табл. 1) изменением емкости подстроечного конденсатора С12, а при необходимости и подбором конденсатора С5. Аналогично, но подбором емкости конденсаторов С1 и С8, С2 и С9 и т. д., укладывают в требуемые границы и остальные диапазоны. Для повышения температурной стабильности частоты рекомендуется каждый из конденсаторов С1-С7, а также С5, С15, С17, С20, С21, С23 составить из двух конденсаторов примерно одинаковой емкости, но с разным (отрицательным и положительным) ТКЕ.

Далее налаживают каскад на транзисторе VT2. Временно заменив резистор R11 переменным с номиналом 1 кОм (соединительные провода должны быть минимально возможной длины), подбирают его сопротивление до получения максимального напряжения сигнала на стоке транзистора. После этого измеряют сопротивление введенной части переменного резистора и заменяют его постоянным с близким номиналом.

Настройка фильтров нижних частот (ФНЧ) L2-L4C30-C36 и L5-L7C37-C43 сводится к подбору (вращением подстроечников) индуктивности входящих в них катушек до получения равномерной АЧХ в первом случае в полосе частот 7...10,5, а во втором - 11,3... 18,8 МГц. Частота среза первого ФНЧ должна быть равна 11, второго - 19,3 МГц. Для контроля используют измеритель АЧХ или осциллограф с калиброванной длительностью развертки.

Налаживание усилителя-удвоителя на транзисторах VT3, VT4 начинают в режиме удвоения в диапазоне 21 МГц. Подбирая резистор R18, добиваются максимальной амплитуды сигнала на конденсаторе С48 (вывод 6) при минимальных искажениях его формы (она должна быть близкой к синусоидальной). Затем генератор переключают на диапазон 1,8 МГц (или 18 МГц), в котором каскад работает в режиме усиления, и подбором резистора R19 добиваются такого же результата.

Налаживание каскада на транзисторе VT5 сводится к подбору резистора R26 до получения максимальной амплитуды колебаний на конденсаторе С54 (вывод 4).

При большой неравномерности амплитуды выходного сигнала от диапазона к диапазону необходимо заменить R14-R17 резисторами сопротивлением 1 кОм, а при недостаточной амплитуде исключить их вовсе. В результате в АЧХ генератора появятся неравномерности в виде горбов и провалов. Вращением подстроечников катушек обоих ФНЧ нужно добиться смещения горбов в те участки диапазонов, где до этого наблюдались сигналы с малой амплитудой, а провалы - в участки, где прежде были сигналы с максимальной амплитудой. Высоту горбов и глубину провалов регулируют подбором указанных резисторов.

Если форма выходного сигнала сильно искажена (напоминает меандр) или его напряжение превышает 4 В (эффективное значение), необходимо увеличить сопротивление резистора R4.

При налаживании системы расстройки движок переменного резистора R203 (см. рис. 1) устанавливают в среднее положение, а подстроечным резистором R137 (см. рис. 13) добиваются совпадения частот при включенной и выключенной расстройке.

Проверка работоспособности усилителя ЗЧ (см. рис. 8) сводится к измерению в режиме приема напряжения на выводе 12 микросхемы DA1. Оно должно быть равно примерно половине напряжения питания. Убедившись в этом, к выходу (вывод 38) подключают осциллограф, а на вход (вывод 32) подают от генератора сигналов звуковой частоты синусоидальное напряжение 20 мВ частотой 1 кГц. Установив движок переменного резистора R74 в верхнее (по схеме) положение, подбором резистора R68 добиваются максимальной амплитуды сигнала на выходе при отсутствии заметных на глаз искажений. Изменяя частоту генератора, убеждаются в отсутствии заметных искажений выходного сигнала во всем звуковом диапазоне. Коэффициент усиления усилителя ЗЧ в режиме приема регулируют подбором резистора R78, в режиме передачи - резистора R77. При необходимости АЧХ усилителя в области высших частот можно корректировать подбором конденсаторов С138, С140.

Реверсивный (двунаправленный) усилитель ПЧ (см. рис. 5) настраивают в режиме приема. Включив кварцевый фильтр в режим "УП" (узкая полоса) и установив движок переменного резистора R131 "УВЧ" (см. рис. 13) в положение, соответствующее максимальному усилению, на вход усилителя ПЧ (левый - по схеме - вывод конденсатора С 101) от генератора стандартных сигналов (ГСС) через конденсатор емкостью 5...10 пф подают немодулированное РЧ напряжение 10 мВ частотой 10,7 МГц. Изменяя емкость подстроечного конденсатора С102 и поочередно вращая подстроечники катушек L11 и L13, добиваются максимальной амплитуды сигнала на выходе усилителя ЗЧ (по мере приближения к максимуму показаний входное напряжение следует плавно уменьшать). После этого подстроечным конденсатором С205 (С202) в опорном кварцевом гетеродине (см. рис. 17) устанавливают частоту тона сигнала ЗЧ равной примерно 1 кГц. Окончательно устанавливают частоту этого гетеродина и настраивают кварцевый фильтр после полной настройки трансивера.

Далее ГСС подключают к подвижному контакту секции SA1.3 переключателя диапазонов (см. рис. 4). Частоту сигнала устанавливают в зависимости от включенного диапазона частот трансивера. Изменением емкости конденсатора С63 добиваются максимума сигнала на выходе. В диапазоне 1,9 МГц может потребоваться подбор конденсатора С61. Затем сигналы тех же частот подают на антенное гнездо XW1 и с помощью конденсаторов С158С159 П-контура также добиваются максимального сигнала на выходе.

После этого приступают к настройке кварцевого фильтра. Подав на гнездо XW1 сигнал ГСС напряжением 0,5 мВ и частотой, соответствующей выбранному диапазону, плавно перестраивают трансивер, снимая показания S-метра и соответствующие ему показания цифровой шкалы, и записывают их в таблицу. Затем строят АЧХ фильтра: по горизонтальной оси откладывают значения частоты с шагом 200 Гц, а по вертикальной - показания S-метра в относительных единицах. При наличии в АЧХ провалов и горбов, а также при малой (менее 2 кГц) ширине полосы пропускания или неудовлетворительном значении коэффициента прямоугольности (хуже 1,4 по уровням -80/-3 дБ) фильтр необходимо настроить поочередным подбором входящих в него конденсаторов (рис. 6,а), снимая каждый раз АЧХ описанным способом. Если получить приемлемую АЧХ не удается, следует заменить кварцевые резонаторы. В режиме узкой полосы фильтр настраивают подбором конденсаторов С88 и С91, добиваясь сужения полосы пропускания. Ширину полосы 0,8 кГц для данного фильтра (см. рис. 6,а) можно считать оптимальной. Настройка кварцевого фильтра упрощается при использовании измерителя АЧХ.

После настройки кварцевого фильтра окончательно корректируют частоту опорного кварцевого гетеродина подстроечным конденсатором С202 в диапазонах 14 и 21 МГц и конденсатором С205 во всех остальных. В первом случае частоту генерации устанавливают вне полосы прозрачности фильтра за верхним скатом АЧХ, во втором - перед нижним.

Налаживание системы АРУ (см. рис. 13) заключается в подборе конденсатора С 184, от емкости которого зависит время ее срабатывания. Делают это в режиме приема SSB по наилучшему соответствию колебаний стрелки прибора РА1 изменениям сигнала и достаточному времени удержания ее на максимумах показаний. При этом достигается необходимая плавность изменения коэффициента усиления усилителя ПЧ. При "зашкаливании" стрелки на пиках сигнала необходимо уменьшить сопротивление резистора R135.

Цифровая шкала (см. рис. 16), как правило, налаживания не требует и начинает работать сразу после подачи питания. Запись необходимых чисел в счетчики прове- ряют визуально по индикаторам HG1-HG6, отключив коаксиальный кабель от входа устройства и переключая диапазоны переключателем SA1. В диапазонах 1,8; 3,5; 7, 10, 1 4 и 21 МГц на табло должно высвечиваться число 893 000, в остальных - 107 000. При иных показаниях шкалы следует проверить исправность диодов блока коммутации (см. рис. 12).

После подключения коаксиального кабеля цифровая шкала должна показывать действительное значение частоты приема в выбранном диапазоне частот. Если при переводе трансивера в режим передачи в диапазоне 21 МГц наблюдается несоответствие индицируемой частоты действительному ее значению (как правило, индицируемое значение меньше), необходимо вначале подобрать резисторы R179, R181, временно заменив их переменными, а затем (если подбор резисторов не поможет) увеличить емкость конденсатора С49 (см. рис. 11) до получения устойчивых показаний шкалы. В завершение необходимо проверить наличие напряжения -10 В на выводе 105.

Следующий этап - налаживание трансивера в режиме передачи (у автора он начал работать на передачу сразу после описанной настройки в режиме приема). Эквивалентом антенны, включенным между гнездом XW1 и общим проводом трансивера, может служить безындукционный резистор сопротивлением 75 Ом (если будет использоваться фидер с таким же волновым сопротивлением) или 50 Ом (при 50-омном фидере) с мощностью рассеяния не менее 10 Вт. Можно использовать и лампу накаливания на 28 В мощностью 10 Вт.

Налаживание ведут в режиме "Настройка". Нажав на кнопку SB7, контролируют наличие РЧ сигнала ВЧ вольтметром, осциллографом или по свечению лампы накаливания во всех положениях пере- ключателя диапазонов SA1. Налаживание усилителя мощности (см. рис. 3) сводится к подбору резистора R100 и положения движка подстроечного резистора R96 до получения максимального сигнала синусоидальной формы на эквиваленте антенны.

Затем, нажав на кнопку SB4 (см. рис. 1), переводят трансивер в телеграфный режим и проверяют работу телеграфного ключа (см. рис. 15) и телеграфного гетеродина (см. рис. 14). При нажатой тангенте SA6 (см. рис. 1) переводят манипулятор SA3 (см. рис. 15) в крайнее левое (по схеме) положение. Ключ должен выдавать "точки" со скоростью, зависящей от положения движка переменного резистора R140. При переводе манипулятора вправо он должен формировать "тире". Изменением сопротивления подстроечного резистора R144 добиваются наилучшего тона самопрослушивамия, а переменным резистором R204 (см.рис.1) приемлемого уровня звучания телеграфного сигнала из головки громкоговорителя ВА1. Крутизну спадов телеграфных посылок регулируют подбором конденсатора С199, контролируя сигнал осциллографом на эквиваленте антенны.

Далее проверяют работу трансивера в режиме передачи SSB (кнопки SB4- SB8 в положении, показанном на схеме). Смеситель VD26- VD30 (см. рис. 5) балансируют подстроечными элементами R63 и С121 при нажатой тангенте SA6 (см. рис. 1 ) и отключенном микрофоне. Затем, подключив микрофон, произносят длинное "а...а...а" и, контролируя сигнал на эквиваленте антенны, убеждаются в наличии на нем однополосного сигнала (SSB). Его амплитуду регулируют подстроечным резистором R148 (см. рис. 10).

После этого проверяют работу трансивера в режиме голосового управления (VOX). Нажав кнопку SB5 при отпущенной тангенте, произносят перед микрофоном длинное "а...а...а" и, перемещая движок подстроечного резистора R 118 (см. рис. 9), добиваются устойчивого перехода трансивера в режим передачи SSB. Требуемое время удержания в режиме ТХ (около 0,2 с) устанавливают подбором резистора R 112 и конденсатора С170. Затем настраивают трансивер на громкослышимую станцию (при подключенной головке ВА1) и подстроечным резистором R126 добиваются того, чтобы система VOX не срабатывала от этого сигнала.

КСВ-метр налаживают в режиме настройки (нажата кнопка SB7 "Настр.") при подключенном эквиваленте антенны. Переключив трансивер на диапазон 14 МГц, подстраивают конденсаторы С63 (см. рис. 4) и С158, С159 (см. рис. 3) до получения максимума сигнала на выходе, затем подстроечным резистором R86 (см. рис. 2) устанавливают стрелку прибора РА1 (см. рис. 1 ) на последнюю отметку шкалы. Если добиться этого не удается, подбирают резистор R127 (см. рис. 13). После этого переводят КСВ-метр в режим измерения отраженной волны (нажимают микропереключатель SA2) и с помощью конденсатора С145 (см. рис. 2) добиваются нулевых показаний прибора. Не исключено, что для получения указанных результатов придется поменять местами выводы обмотки РЧ трансформатора Т5.

Далее меняют местами выводы 40 и 41 и аналогичным образом добиваются нулевых показаний прибора РА1 с помощью подстроечного конденсатора С142, после чего выводы возвращают в исходное положение.

КСВ фидера реальной антенны измеряют следующим образом. Установив переключатель SA2 в положение, соответствующее измерению прямой волны, включают трансивер в режим настройки (нажимают кнопку SB7) и с помощью переменного резистора R201 "DSB" (см. рис. 1) устанавливают стрелку РА1 на последнюю отметку шкалы (это показание принимают за 100%). Затем переводят SA2 в положение измерения отраженной волны и снимают показания прибора А (также в относительных единицах). КСВ определяют по формуле КСВ = (100 + А)/(100 - А). Более подробно о настройке подобного КСВ-метра можно прочитать в [2].

При налаживании блока защиты усилителя мощности изменяют сопротивление эквивалента антенны таким образом, чтобы КСВ стал равным 3. Подстроечным резистором R86 (см. рис. 2) добиваются закрывания усилителя. Если сделать это не удается, подбирают резисторы R88, R90 и стабилитрон VD33 (рис. 3) с другим напряжением стабилизации. Работоспособность узла защиты проверяют путем кратковременного отключения антенны при работающем на передачу трансивере - усилитель мощности должен закрываться.

Для работы в эфире описываемый трансивер можно настраивать в любом режиме (RX или ТХ). Если в режиме приема он настроен по максимуму показаний S-метра на работающую радиостанцию, то настраивать его в режиме настройки передатчика (при нажатой кнопке SB7) не нужно. И наоборот, если аппарат настроен в этом режиме, то он также оказывается настроенным на прием.

Литература

  1. Криницкий В. Цифровая шкала - частотомер. В сб. Лучшие конструкции 31 и 32-й выставок творчества радиолюбителей. - М.: ДОСААФ, 1989.
  2. Лаповок Я. С. Я строю KB радиостанцию. - М.: Патриот, 1992.

Автор: В.Рубцов (UN7BV), г.Астана, Казахстан

Смотрите другие статьи раздела Гражданская радиосвязь.

Читайте и пишите полезные комментарии к этой статье.

<< Назад

<< Назад

Последние новости науки и техники, новинки электроники:

Власть является ключевым фактором счастья в отношениях 11.03.2026

Исследования семейных и романтических отношений показывают, что длительное счастье пары зависит не только от привычных факторов, таких как доверие, уважение и преданность, но и от более тонких психологических аспектов. Современные ученые ищут закономерности, которые отличают действительно счастливые пары от остальных, чтобы понять, какие механизмы поддерживают гармонию в отношениях. Группа исследователей из Университета Мартина Лютера в Галле-Виттенберге и Бамбергского университета провела опрос среди 181 пары, которые состояли в совместных отношениях более восьми лет и прожили вместе хотя бы месяц. Участники заполняли анкету, описывая различные аспекты своих отношений, включая распределение обязанностей, эмоциональную поддержку и степень вовлеченности в совместные решения. Анализ данных показал интересный паттерн: пары, где оба партнера ощущали высокий уровень личной власти, оказывались наиболее счастливыми и удовлетворенными. В данном контексте под властью понимается способност ...>>

Защищенная колонка-повербанк Anker Soundcore Boom Go 3i 11.03.2026

Компания Anker представила новую модель линейки Soundcore - колонку Soundcore Boom Go 3i, ориентированную на активное использование на улице. Новинка отличается высокой степенью защиты: корпус соответствует стандарту IP68, что обеспечивает водо- и пыленепроницаемость, а ударопрочный дизайн выдерживает падение с высоты до одного метра. За качество звука отвечает 15-ваттный драйвер, обеспечивающий пик громкости до 92 дБ, а технология BassUp 2.0 усиливает низкие частоты, делая звучание более насыщенным. Колонка обладает автономностью до 24 часов, а LED-индикатор позволяет контролировать уровень заряда батареи. Кроме того, Soundcore Boom Go 3i может выполнять функцию павербанка: согласно внутренним тестам, устройство способно зарядить iPhone 17 с нуля до 40% за один час, что делает его полезным аксессуаром в походах и поездках. Среди функциональных особенностей модели стоит выделить технологию Auracast, которая улучшает подключение и позволяет создавать стереопару из двух колонок ...>>

Раннее воздержание от алкоголя перестраивает мозг и иммунитет 10.03.2026

Алкогольная зависимость - хроническое расстройство с компульсивным употреблением спиртного, которое влияет не только на поведение, но и на функционирование мозга и иммунной системы. Недавние исследования показали, что даже на ранних этапах воздержания организм начинает перестраиваться, открывая новые возможности для терапии зависимости. Ученые сосредоточились на пациентах, находящихся в первые недели абстиненции, и зафиксировали значительные изменения в мозговой активности. С помощью функциональной магнитно-резонансной томографии они выявили перестройку сетей нейронных связей, отвечающих за контроль импульсов и принятие решений. Эти изменения могут быть ключевыми для восстановления самоконтроля и снижения риска рецидива. Одновременно с нейронной перестройкой исследователи наблюдали колебания иммунной системы. В крови повышался уровень цитокинов - сигнальных белков, регулирующих воспалительные процессы. Эти данные свидетельствуют о существовании нейроиммунного взаимодействия, при ...>>

Случайная новость из Архива

Направление, в котором падает антиматерия 17.11.2018

Из школьного курса физики нам известно, что молоток и легчайшее перышко, будучи помещенными в вакуум, упадут на поверхность в один и тот же момент. Это было наглядно продемонстрировано американскими астронавтами миссии Apollo 15, а теперь ученые европейской организации ядерных исследований CERN планируют внести в этот простой эксперимент экзотический элемент, они будут "бросать" частицы антиматерии в вакуумной камере и наблюдать за воздействием на них сил гравитации. И, вполне возможно, что антиматерия будет "падать вверх" в силу своей анти-природы.

В нашем мире у каждой элементарной частицы имеется соответствующая ей по всем параметрам, за исключением противоположного электрического заряда, пара. Если обычная частица и античастица сталкиваются в пространстве, они взаимно уничтожаются, превращаясь в чистую энергию. Естественно, что такое свойство антиматерии затрудняет ее получение, хранение и изучение. В 2010 году ученым CERN удалось поймать в магнитной ловушке и изучить антиматерию, хотя время хранения антиматерии составляло всего доли секунды. Но уже в следующем году время удержания антиматерии в ловушке было увеличено до 16 минут.

Существующие физические теории предсказывают, что силы гравитации должны воздействовать на антиматерию точно также, как и на нормальную материю. Но это предположение должно быть проверено на практике, ведь даже небольшие отклонения теории от практики способны внести огромные изменения в существующую Стандартную Модель физики элементарных частиц. В рамках таких "проверочных" экспериментов несколько лет назад группа ученых CERN изучила оптический спектр антиводорода и нашла, что этот спектр абсолютно идентичен спектру нормального водорода.

Еще одним фундаментальным вопросом является то, как реагирует антиматерия на силы гравитации. Согласно теории, частицы антиматерии должны падать в гравитационном поле точно так же, как и частицы обычной материи. Но существует один шанс из миллиона, что частицы антиматерии будут падать в обратном направлении. И это можно будет узнать, лишь высвободив антиматерию из "объятий" удерживающей ее электромагнитной ловушки.

Проблема антиматерии и гравитации будет изучаться в ходе двух экспериментов, в которых, сразу после получения частиц антиматерии, будут отключены удерживающие их магнитные ловушки. А чувствительные датчики будут регистрировать всплески энергии и их точное положение. По получаемым данным ученые вычислят траекторию движения частиц антиматерии и измерят величину эффектов воздействия на них сил гравитации.

Основным различием между двумя экспериментами является метод получения антиматерии и ее подготовка к броску в свободное падение. Первый из экспериментов, ALPHA-g, базируется на уже существующем оборудовании эксперимента ALPHA, которое позволяет ученым создавать антиматерии и удерживать ее в ловушке. Антипротоны получаются при помощи установки Antiproton Decelerator (AD) и объединяются с позитронами для создания нейтральных атомов антиводорода. Именно нейтральная природа атомов антиводорода и позволяет избежать влияния на него других сил и точно измерить влияние сил гравитации.

Второй эксперимент, GBAR, черпает антипротоны из замедлителя ELENA и комбинирует их с позитронами, полученными при помощи маленького линейного ускорителя. Антипротоны (ионы антиводорода) охлаждаются до 10 микрокельвинов и при помощи света лазера превращаются в нейтральные атомы. Полученные антиатомы попадают в подготовленную ловушку, где производится их дальнейшее изучение.

К сожалению, на проведение этих экспериментов требуется очень много времени. А ситуация усугубляется еще тем, что через несколько недель ускорители CERN будут снова закрыты на два года, в течение которых будет производиться их коренная модернизация, которая приведет к превращению нынешнего Большого Адронного Коллайдера в установку следующего поколения, в Большой Адронный Коллайдер с высокой яркостью (High-Luminosity Large Hadron Collider, HL-LHC). Но ученые экспериментов GBAR и ALPHA-g рассчитывают, что оставшегося времени им должно хватить для проведения экспериментальной части исследований, а обработать собранные при этом данные можно будет и немногим позже.

Другие интересные новости:

▪ TDA8939TH - опорный источник для наладки цифрового усилителя мощности класса D

▪ Крошечный сетевой процессор NXP Semiconductors QorIQ LS1012A

▪ Брелок - властелин телевизоров

▪ Робот, работающий от влажности

▪ Cadillac CTS с функцией беспилотника

Лента новостей науки и техники, новинок электроники

 

Интересные материалы Бесплатной технической библиотеки:

▪ раздел сайта Электробезопасность, пожаробезопасность. Подборка статей

▪ статья Словарь терминов. Искусство видео

▪ статья Могут ли колибри висеть в воздухе? Подробный ответ

▪ статья Работа на отрезном станке. Типовая инструкция по охране труда

▪ статья Самодельная ветросиловая установка. Электрическая схема установки. Энциклопедия радиоэлектроники и электротехники

▪ статья Собирание монет из воздуха. Секрет фокуса

Оставьте свой комментарий к этой статье:

Имя:


E-mail (не обязательно):


Комментарий:




Комментарии к статье:

music-fest
Это схема нерабочая.


Главная страница | Библиотека | Статьи | Карта сайта | Отзывы о сайте

www.diagram.com.ua

www.diagram.com.ua
2000-2026