Menu Home

Бесплатная техническая библиотека для любителей и профессионалов Бесплатная техническая библиотека


Трансивер с кварцевым фильтром. Энциклопедия радиоэлектроники и электротехники

Бесплатная техническая библиотека

Энциклопедия радиоэлектроники и электротехники / Гражданская радиосвязь

Комментарии к статье Комментарии к статье

В статье описан несложный трансивер с самодельным кварцевым фильтром, изготовленным из одинаковых резонаторов на частоту 8,867238 МГц. Такие резонаторы не дефицитны - их применяют в телевизионных декодерах ПАЛ-СЕКAM. Основную плату трансивера, внеся в нее минимальные изменения, можно использовать в многодиапазонном аппарате.

Основные параметры трансивера: чувствительность при отношении сигнал/шум 12 дБ - не хуже 1 мкВ; избирательность по соседнему и другим побочным каналам приема - не хуже 60 дБ; глубина регулировки системы АРУ - не менее 60 дБ; пиковая выходная мощность передатчика на нагрузке 50 Ом - не менее 5 Вт; подавление побочных излучений в режиме передачи - не хуже 40 дБ; ток потребления в режиме передачи - не более 0,6 А при напряжении питания 12 В.

Благодаря применению интегральных микросхем, появилась возможность создать компактный трансивер, не имеющий дефицитных комплектующих и простой в настройке. Конечно, такой аппарат не обладает очень высокими параметрами, но его можно рекомендовать либо как трансивер для начинающего радиолюбителя-коротковолновика, либо как мобильный вспомогательный трансивер.

Обратимый тракт трансивера реализован на двух микросхемах К174ХА2 [1]. Из состава микросхем использованы только регулируемые УРЧ, смесители и УПТ системы АРУ УПЧ. Сами регулируемые УПЧ микросхем не используются, так как имеют большой коэффициент шума и не рассчитаны для работы на частотах свыше 1 МГц.

Конструктивно трансивер разбит на три узла: основная плата (рис. 1),

Трансивер с кварцевым фильтром
(нажмите для увеличения)

генератор плавного диапазона (рис. 2)

Трансивер с кварцевым фильтром

и усилитель мощности (рис. 3).

Трансивер с кварцевым фильтром

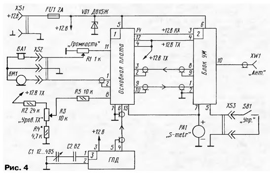
Схема межблочных соединений трансивера приведена на рис. 4.

Трансивер с кварцевым фильтром

В режиме приема сигнал с антенного входа через контакты КЗ.2 реле К3, расположенного в блоке УМ, поступает на вывод 3 основной платы. На элементах L1C4C6C8L4 собран двухконтурный полосовой фильтр (ДПФ). Радиочастотный сигнал, пройдя через ДПФ, поступает на вход микросхемы DA1. В этой микросхеме осуществляется усиление сигнала и его преобразование в частоту ПЧ. Сигнал ГПД подается на вывод 6 основной платы и через контакты К 1.1 реле К1, трансформатор Т1 поступает на микросхему DA1. Контур L5C19, подключенный к выходу преобразователя микросхемы, настроен на частоту ПЧ. Шестирезонаторный кварцевый фильтр Z1 подключен к отводу катушки индуктивности L5, что обеспечивает оптимальное согласование.

Схема фильтра приведена на рис. 5.

Трансивер с кварцевым фильтром

С выхода кварцевого фильтра сигнал ПЧ поступает на микросхему DA2. Сигнал опорного генератора приходит на эту микросхему через контакты К2.1 реле К2 и трансформатор Т2. На резисторе R15 выделяется сигнал звуковой частоты. Фильтр низкой частоты C27R19C28 ослабляет высокочастотные составляющие продетектированного сигнала. Усилитель звуковой частоты собран на интегральной микросхеме К174УН14 в типовом включении. Коэффициент усиления ее равен 40 дБ. С вывода 11 основной платы сигнал 3Ч через регулятор громкости R1 (см. рис. 4) поступает в головные телефоны.

Приемный тракт охвачен системой АРУ. Сигнал для работы системы АРУ снимается с выхода УЗЧ и через резистор R23 поступает на детектор VD7VD8. Быстродействие системы определяется емкостью конденсатора С29. С выхода эмиттерного повторителя VT3 напряжение АРУ поступает на усилитель постоянного тока (УПТ) S-метра (вывод 9 микросхемы DA2) и через диод VD4 на управляющие входы микросхем DA1 и DA2. Диод установлен для того, чтобы в режиме передачи управляющее напряжение не воздействовало на S-метр.

Напряжение на S-метр подается с вывода 13 основной платы через подстроечный резистор R22 и диод VD9, подключенные к выводу 10 микросхемы DA2.

Генератор опорной частоты собран на полевом транзисторе КП303Г (VT1). Частота резонатора ZQ1 - 8,867238 МГц. Подстройкой катушки индуктивности 12 можно в небольших пределах смещать частоту колебаний генератора относительно полосы пропускания кварцевого фильтра. Истоковый повторитель на транзисторе VT2 исключает влияние нагрузки на частоту колебаний генератора.

В режим передачи трансивер переводится нажатием кнопки SB1 ("Упр."), подключенной к разъему XS3. При этом срабатывает реле КЗ в блоке УМ. Это реле, в зависимости от режима работы, своими контактами КЗ.2 подключает антенну либо ко входу приемного тракта, либо к выходу передатчика и одновременно контактами К3.1 коммутирует необходимые напряжения питания узлов трансивера. Напряжение +12 В (ТХ) подается на выводы 4 и 12 основной платы, срабатывают реле К1, К2 и происходит переключение сигналов ГПД и опорного генератора. С вывода 12 напряжение поступает на инверсный вход микросхемы УЗЧ DA3 и блокирует ее. Также подается напряжение питания на электретный микрофон ВМ1 (см. рис. 4).

Сигнал с микрофона поступает на микросхему DA1 через ФНЧ C5L3C10, предотвращающий проникновение высокочастотных наводок на вход микрофонного усилителя. В режиме передачи микросхема DA1 работает как балансный модулятор. Сигнал опорного генератора подается через трансформатор Т1. На выходе модулятора формируется двухполосный сигнал с подавленной несущей (DSB). Максимальное подавление несущей происходит при точной балансировке модулятора подстроечным резистором R10. С выхода модулятора DSB сигнал поступает на кварцевый фильтр, который выделяет нижнюю боковую полосу. Микросхема DA2 преобразует сигнал ПЧ в сигнал любительского диапазона 160 метров. Нагрузкой DA2 по высокой частоте служит широкополосный трансформатор ТЗ, который согласует высокое выходное сопротивление смесителя с низким сопротивлением нагрузки. Радиочастотный сигнал с вывода 9 основной платы поступает в усилитель мощности. Регулировка коэффициента передачи тракта производится резистором R3 "Уров.ТХ". Максимальному коэффициенту передачи соответствует минимальное напряжение на выводе 8 основной платы.

В блоке УМ сигнал проходит через двухконтурный полосовой фильтр L7C53C54C55L8, усиливается предоконечным усилителем на транзисторах VT6, VT7 и оконечным каскадом на VT8.

В качестве выходного транзистора выбран импортный 2SC2078. Этот транзистор обычно используется в оконечных каскадах радиостанций Си-Би диапазона 27 МГц и развивает мощность не менее 4 Вт при напряжении питания 12 В. Как оказалось, его несложно приобрести на радиорынках в крупных городах. В диапазоне 160 метров с этого транзистора можно без труда получить 5 Вт пиковой мощности. Цепочка R37VD11R38 задает начальный ток смещения транзистора в режиме передачи, чтобы он работал в линейном режиме. Усиленный сигнал через контакты КЗ.2 поступает в антенну. С делителя R39R40 часть напряжения выходного сигнала поступает на детектор уровня. Выпрямленное детектором напряжение подается на индикатор РА1.

ГПД трансивера (см. рис. 2) - двух-каскадный. На транзисторе VT4 собран задающий генератор по схеме емкостной трехточки, на VT5 - буферный каскад. Перестройка по частоте производится КПЕ С1 с воздушным диэлектриком. При использовании в кварцевом фильтре резонаторов на частоту 8,867238 МГц диапазон перестройки ГПД составит 10698... 10867 кГц (плюс необходимый запас по несколько килогерц на краях диапазона).

Для питания трансивера необходим стабилизированный источник напряжением +12 В. Стабилитрон VD1 (рис. 4) применяется в защитных целях. При пе-реполюсовке или превышении питающего напряжения ток через стабилитрон значительно возрастает и перегорает предохранитель FU1.

В трансивере использованы постоянные резисторы типа С1-4, С2-23, МЛТ; подстроенные - СПЗ-38б; переменные резисторы - СП4-1а. Все постоянные конденсаторы - К10-17, КМ; подстроенные конденсаторы - КТ4-23, а оксидные конденсаторы - К50-35. Конденсатор настройки С1 - КПЕ от лампового радиоприемника.

Катушки индуктивности L1, L2, L4, L5, L7, L8 намотаны на полистироловых каркасах диаметром 5 мм с подстроенными сердечниками ПР № 2 (карбонильные из материала марки Р-20, резьба М4). Автор применил каркасы от УКВ радиостанции "Лен". Катушки L1 и L7 содержат 10+40 витков (считая от заземленного вывода), L2 и L8 - 50 витков, L4 - 25+25 витков провода ПЭВ-2 0,15, а катушка L5 - 8+8 витков провода ПЭВ-2 0,25. Катушка ГПД L6 намотана на каркасе диаметром 12 мм и содержит 12 витков провода ПЭВ-2 0,45 (подстроечный сердечник - ПР № 4, карбонильный - Р-20, резьба - М7х0,75). Широкополосные трансформаторы Т1-ТЗ намотаны на кольцевых ферритовых магнитопроводах типоразмера К7х4х2 мм марки 600-1000НН. Т1 и Т2 содержат 2x20 витков провода ПЭВ-2 0,25, ТЗ содержит 3x20 витков такого же провода. Трансформатор Т4 намотан на кольцевом ферритовом магнитопроводе марки 600НН типоразмера К10x6x3 мм. Первичная обмотка содержит 20 витков провода ПЭВ-2 0,25, вторичная - 5 витков того же провода. Катушки L9-L11 намотаны на кольцевом ферритовом магнитопроводе марки 50ВЧ-2 типоразмера К25х12х7 мм. L9 содержит 3 витка, L10 - 25 витков, L11 - 5 витков провода ПЭВ-2 0,6. Все ферритовые кольца перед намоткой необходимо обмотать одним слоем лакоткани. L3 - стандартный дроссель ДМ-0,1-100 мкГн, L12 - Д-0,6-20 мкГн. Реле К1 и К2 - РЭС49 с сопротивлением обмоток 270 Ом. Реле КЗ - типа РЭС9 с сопротивлением обмотки 500 Ом. ВМ1 - импортный двухвыводной электретный микрофон. РА1 - микроамперметр с током полного отклонения 50-100 мкА. Кварцевые резонаторы ZQ1-ZQ7 - в малогабаритных корпусах. Вместо микросхем К174ХА2 при возможности целесообразно применить импортные ТСА440, микросхему К174УН14 можно заменить на TDA2003.

Контурные конденсаторы С4, С8, С19, С53, С55 припаяны непосредственно к выводам соответствующих катушек. Корпусы кварцевых резонаторов ZQ1-ZQ7 по одному из торцов припаяны к верхнему слою металлизации.

Основная плата и плата УМ трансивера изготовлены из двусторонне фольгированного стеклотекстолита. Фольга со стороны установки деталей служит общим проводом и одновременно экраном. Вокруг выводов деталей, которые не должны иметь контакт с общим проводом, отверстия раззенкованы. Плата ГПД выполнена из односторонне фольгированного стеклотекстолита. Чертежи печатных плат и расположение элементов на них показаны на рис. 6 - 8.

Трансивер с кварцевым фильтром

Трансивер с кварцевым фильтром

Трансивер с кварцевым фильтром

Трансивер собран в корпусе размерами 210x210x110 мм, изготовленном из двух П-образных пластин дюралюминия. Примерная компоновка трансивера показана на рис. 9. Отсек, в котором находится УМ, отделен от остальных узлов трансивера экранирующей перегородкой. Блок УМ прикреплен к задней стенке корпуса. Транзистор VT8 изолирован от корпуса с помощью слюдяной прокладки.

Трансивер с кварцевым фильтром

Настройку трансивера начинают с укладки частот ГПД. На плату ГПД подают номинальное напряжение питания, к выходу (выводы 4, 5) подключают частотомер. При полностью введенном роторе КПЕ С1 вращением подстроечника катушки L6 устанавливают нижнюю границу перестройки гетеродина (10690 кГц), после этого ротор КПЕ устанавливают в положение минимальной емкости и проверяют верхнюю границу (10870 кГц). Если диапазон перестройки окажется недостаточным, устанавливают конденсатор С2 с большей емкостью, если диапазон перестройки велик, значение С2 уменьшают.

При настройке основной платы в первую очередь проверяют работу УЗЧ. После этого проверяют работу опорного генератора. Подключив частотомер к правому (по схеме) выводу конденсатора С18, убеждаются в работоспособности генератора и подстройкой катушки L2 устанавливают частоту генератора на 200...300 Гц ниже, чем значение частоты в точке с уровнем -6 дБ на АЧХ кварцевого фильтра Z1.

Затем отключают систему АРУ, отпаяв один из выводов резистора R23. В режиме приема подают на вход тран-сивера немодулированный сигнал от ГСС уровнем около 100 мкВ в рабочем диапазоне, добиваясь появления в телефонах звукового сигнала.

Вращением подстроечника катушки L5 настраивают контур ПЧ по максимальной громкости приема.

Для настройки входного ДПФ удобно воспользоваться измерителем АЧХ (при его наличии). Также настроить ДПФ можно с использованием ГСС. На вход трансивера подают сигнал с уровнем около 10 мкВ. Перестраивая ГСС в рабочем диапазоне частот, контролируют уровень выходного 3Ч сигнала. Вращением подстроечников катушек L1 и L4 добиваются максимальной громкости принимаемого сигнала. Система АРУ при этом должна быть отключена. В крайнем случае ДПФ можно настроить по громкости принимаемых сигналов любительских станций.

Дальнейшие настройки выполняют, переключив трансивер в режим передачи. К выходу 9 основной платы подключают ВЧ милливольтметр и, не подавая на вход трансивера звуковой сигнал, подстройкой резистора R10 добиваются минимума показаний. После этого отпаивают один из выводов резистора R6, чтобы отключить напряжение питания микрофона. На микрофонный вход трансивера подают сигнал генератора 3Ч амплитудой 5...10 мВ. Генератор перестраивают по частоте с шагом 100...200 Гц. В таком режиме удобно снимать АЧХ кварцевого фильтра и корректировать его параметры. Подбором конденсаторов фильтра и, возможно, резонаторов добиваются минимальной неравномерности в полосе пропускания. Уровень выходного сигнала контролируют милливольтметром на выводе 9 основной платы. Регулятор "Уров. ТХ" устанавливают в среднее положение, чтобы не допустить перегрузки передающего тракта. Нижний предел передаваемых частот должен быть в пределах 300...500 Гц, верхний - 2900...3100 Гц. Сдвиг полосы передаваемых частот в сторону повышения или понижения осуществляется подстройкой частоты опорного генератора.

Блок УМ настраивают отдельно от основной платы. Не подавая напряжение питания на оконечный транзистор VT8, настраивают ДПФ передатчика. Методика настройки аналогична методике настройки приемного ДПФ, описанной выше. Сигнал для контроля выходного уровня можно снять с базы оконечного транзистора. После этого к выходу блока подключают согласованную нагрузку (50 Ом) и подают напряжение питания на транзистор VT8. В отсутствие сигнала устанавливают ток покоя оконечного каскада. Миллиамперметр можно подключить в разрыв цепи питания оконечного транзистора, например, отпаяв один из выводов дросселя L12. Ток покоя должен быть в пределах 200...220 мА. Его величину можно регулировать подбором резистора R37. При подаче на вход блока УМ сигнала ГСС настраивают контур выходного каскада так, чтобы максимум передачи был в центре рабочего диапазона - примерно на частоте 1915 кГц. Настройка осуществляется подбором конденсатора С62. Заключительный этап настройки - соединение всех узлов трансивера и проверка выходной мощности. При подаче на микрофонный вход трансивера сигнала частотой 400...1000 Гц уровнем 10 мВ выходная мощность трансивера на нагрузке 50 Ом должна быть не менее 2 Вт. Сопротивление R4 подбирают так, чтобы при максимальном коэффициенте усиления передающий тракт не перегружался. Подбором резистора R41 добиваются, чтобы на пиках передачи стрелка индикатора выходного уровня не выходила за пределы шкалы.

О том, как настроить S-метр трансивера в режиме приема, подробно описано в [2].

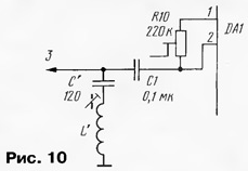
Выходной каскад трансивера рассчитан для работы на нагрузку 50 Ом. При работе на антенну с неизвестным входным сопротивлением (наклонный луч неизвестной длины, Г-образная антенна и т. д.) необходимо подобрать число витков катушки L11 по максимуму излучаемого сигнала, контролируя его по индикатору. Для того чтобы основную плату трансивера "Аматор-КФ-160" использовать в многодиапазонном трансивере, ее необходимо доработать. Элементы входного ДПФ удаляются, и на их месте устанавливается фильтр-пробка, настроенный на частоту ПЧ (рис. 10).

Трансивер с кварцевым фильтром

Этот фильтр предназначен для того, чтобы ослабить помехи с частотой ПЧ, проникающие на вход тракта. Влияние этих помех более заметно на тех диапазонах, частота которых близка к Fпч (7, 10, 14 МГц). L' содержит 16 витков провода ПЭВ-2 0,25 на каркасе диаметром 5 мм (подстроечник, как в предыдущих вариантах).

Литература

  1. Атаев Д. И., Болотников В. А. Аналоговые интегральные микросхемы для бытовой аппаратуры. Справочник. - М.: Изд-во МЭИ, 1991, с. 135-150.
  2. Лаповок Я. С. Я строю KB радиостанцию. - М.: Патриот, 1992, с. 73, 74.

Автор: А.Темерев (UR5VUL)

Смотрите другие статьи раздела Гражданская радиосвязь.

Читайте и пишите полезные комментарии к этой статье.

<< Назад

<< Назад

Последние новости науки и техники, новинки электроники:

Оптимальная продолжительность сна 12.11.2025

Сон играет ключевую роль в поддержании здоровья, когнитивных функций и общего самочувствия. Несмотря на широко распространенный стереотип о восьмичасовом сне, последние исследования показывают, что оптимальная продолжительность сна для большинства здоровых взрослых ближе к семи часам. Эволюционный биолог из Гарварда, Дэниел Э. Либерман, утверждает, что традиционная норма восьми часов сна - это скорее культурное наследие индустриальной эпохи, чем биологическая необходимость. По его словам, полевые исследования, проведенные в сообществах, не использующих электричество, показывают, что средняя продолжительность сна составляет 6-7 часов, что значительно отличается от общепринятого стандарта. Современные эпидемиологические данные подтверждают этот взгляд. Исследования выявили так называемую "U-образную кривую" зависимости между продолжительностью сна и рисками для здоровья. Минимальные показатели заболеваемости и смертности наблюдаются именно у людей, спящих около семи часов в сутки. ...>>

Дефицит кислорода усиливает выброс закиси азота 12.11.2025

Парниковые газы играют ключевую роль в изменении климата, а закись азота (N2O) - один из наиболее опасных среди них. Этот газ не только втрое сильнее углекислого газа в удержании тепла, но и разрушает озоновый слой. Недавнее исследование американских ученых показало, что микробы в зонах с низким содержанием кислорода активно производят N2O, усиливая глобальные климатические риски. Команда из Университета Пенсильвании изучала прибрежные воды у Сан-Диего и провела наблюдения на глубинах от 40 до 120 метров в Восточной тропической северной части Тихого океана - одной из крупнейших зон дефицита кислорода. Исследователи сосредоточились на том, как морские микроорганизмы превращают нитраты в закись азота. В ходе работы выяснилось, что существует два пути образования N2O. Один путь начинается с нитрата, другой - с нитрита. На первый взгляд более короткий путь должен быть эффективнее, однако микробы, использующие нитрат, продуцируют больше газа, поскольку этот "сырьевой" источник более д ...>>

Омега-3 помогают молодым кораллам выживать 11.11.2025

Сохранение коралловых рифов становится все более актуальной задачей в условиях глобального изменения климата. Молодые кораллы особенно уязвимы на ранних стадиях развития, когда стрессовые условия и нехватка питательных веществ могут привести к высокой смертности. Недавнее исследование ученых из Технологического университета Сиднея показывает, что специальные пищевые добавки способны существенно повысить выживаемость личинок кораллов. В ходе работы исследователи разработали особый состав "детского питания" для коралловых личинок. В него вошли масла, богатые омега-3 жирными кислотами, а также важные стерины, необходимые для формирования клеточных мембран. Личинки, получавшие эти добавки, развивались быстрее, становились крепче и демонстрировали более высокую устойчивость к стрессовым факторам. Особое внимание ученые уделили липидам. Анализ показал, что личинки активно усваивают эти вещества, что напрямую влияет на их жизнеспособность. Стерины, содержащиеся в корме, повышают устойчи ...>>

Случайная новость из Архива

Проектор Humane AI Pin 08.01.2024

Компания Humane, основанная бывшими инженерами Apple, Имраном Чоудри и Бетани Бонгиорно, представляет вниманию общества свое последнее творение - носимое устройство AI Pin.

Новый гаджет AI Pin от Humane стал еще одним шагом вперед в развитии носимых технологий, открывая перед нами новые горизонты в области искусственного интеллекта. С его уникальными возможностями, легкостью использования и футуристическим дизайном, он может стать ключевым элементом в повседневной жизни, объединяя удобство и технологический прогресс.

AI Pin представляет собой компактное квадратное устройство, прикрепляемое к одежде, и оборудованное моделями OpenAI GPT-4 и искусственным интеллектом от Microsoft. Для его использования требуется месячная подписка на сотовую связь в размере 24 доллара США, которая включает в себя покрытие данных по сети T-Mobile и предоставляет доступ к функционалу искусственного интеллекта.

Однако, то, что делает AI Pin уникальным, это его революционная функция "дисплея лазерных чернил". Эта инновационная технология позволяет проецировать зеленый монохромный пользовательский интерфейс непосредственно на ладонь пользователя с разрешением 720p.

Новинка обеспечивает возможность взаимодействия с устройством с помощью жестов и голосовых команд, предоставляя широкий функционал, такой как фотографирование, перевод и распознавание калорий. Благодаря операционной системе Cosmos, которая автоматически направляет запросы пользователей к соответствующим инструментам, это носимое устройство, не обладающее экраном, может функционировать без необходимости ручной загрузки программ.

AI Pin легкий, весит всего 34 грамма, плюс дополнительные 20 грамм для усилителя батареи. Он оборудован 13-мегапиксельной камерой и персональным динамиком, регулирующим громкость для индивидуальных или групповых настроек. Устройство также поддерживает подключение к наушникам по Bluetooth.

Предлагаемое устройство разработано с учетом удобства и интуитивной доступности для пользователя. Визия компании состоит в том, чтобы обеспечить футуристическую и полноценную интеграцию искусственного интеллекта в повседневную жизнь, возможно изменяя способы взаимодействия с технологиями.

Другие интересные новости:

▪ Физкультурная компьютерная игра EA SPORTS Active 2.0

▪ Солнечных панелей в Токио станет больше

▪ Контейнерное судно с системой автопилотирования

▪ Ультрачерное покрытие для космических телескопов

▪ Точность GPS-навигации повышена

Лента новостей науки и техники, новинок электроники

 

Интересные материалы Бесплатной технической библиотеки:

▪ раздел сайта Параметры, аналоги, маркировка радиодеталей. Подборка статей

▪ статья Была без радостей любовь... Крылатое выражение

▪ статья Сколько разновидностей кузнечиков употребляли в пищу на Ближнем Востоке в библейские времена? Подробный ответ

▪ статья Лебеда садовая. Легенды, выращивание, способы применения

▪ статья Замазка для металлических букв на стекле. Простые рецепты и советы

▪ статья Усилитель-корректор для звукоснимателя. Энциклопедия радиоэлектроники и электротехники

Оставьте свой комментарий к этой статье:

Имя:


E-mail (не обязательно):


Комментарий:




Комментарии к статье:

Анатолий
Читаю, читаю, много слов, а на какой же все-таки диапазон этот трансивер? Только по косвенным признакам можно догадаться.

Василий
Изначально 160 метров, видно по ГПД, а далее можно расширить, в конце даётся как.


Главная страница | Библиотека | Статьи | Карта сайта | Отзывы о сайте

www.diagram.com.ua

www.diagram.com.ua
2000-2025