Menu Home

Бесплатная техническая библиотека для любителей и профессионалов Бесплатная техническая библиотека


Раздел 4. Распределительные устройства и подстанции

Распределительные устройства и подстанции напряжением выше 1 кB. Закрытые распределительные устройства и подстанции

Бесплатная техническая библиотека

Энциклопедия радиоэлектроники и электротехники / Правила устройства электроустановок (ПУЭ)

Комментарии к статье Комментарии к статье

4.2.81. Закрытые распределительные устройства и подстанции могут располагаться как в отдельно стоящих зданиях, так и быть встроенными или пристроенными. Пристройка ПС к существующему зданию с использованием стены здания в качестве стены ПС допускается при условии принятия специальных мер, предотвращающих нарушение гидроизоляции стыка при осадке пристраиваемой ПС. Указанная осадка должна быть также учтена при креплении оборудования на существующей стене здания.

Дополнительные требования к сооружению встроенных и пристроенных ПС в жилых и общественных зданиях см. в гл. 7.1.

4.2.82. В помещениях ЗРУ 35-220 кВ и в закрытых камерах трансформаторов следует предусматривать стационарные устройства или возможность применения передвижных либо инвентарных грузоподъемных устройств для механизации ремонтных работ и технического обслуживания оборудования.

В помещениях с КРУ следует предусматривать площадку для ремонта и наладки выкатных элементов. Ремонтная площадка должна быть оборудована средствами для опробования приводов выключателей и систем управления.

4.2.83. Закрытые РУ разных классов напряжений, как правило, следует размещать в отдельных помещениях. Это требование не распространяется на КТП 35 кВ и ниже, а также на КРУЭ.

Допускается размещать РУ до 1 кВ в одном помещении с РУ выше 1 кВ при условии, что части РУ или ПС до 1 кВ и выше будут эксплуатироваться одной организацией.

Помещения РУ, трансформаторов, преобразователей и т.п. должны быть отделены от служебных и других вспомогательных помещений (исключения см. в гл. 4.3, 5.1 и 7.5).

4.2.84. При компоновке КРУЭ в ЗРУ должны предусматриваться площадки обслуживания на разных уровнях в случае, если они не поставляются заводом-изготовителем.

4.2.85. Трансформаторные помещения и ЗРУ не допускается размещать:

1) под помещением производств с мокрым технологическим процессом, под душевыми, ванными и т.п.;

2) непосредственно над и под помещениями, в которых в пределах площади, занимаемой РУ или трансформаторными помещениями, одновременно может находиться более 50 чел. в период более 1 ч. Это требование не распространяется на трансформаторные помещения с трансформаторами сухими или с негорючим наполнением, а также РУ для промышленных предприятий.

4.2.86. Расстояния в свету между неизолированными токоведущими частями разных фаз, от неизолированных токоведущих частей до заземленных конструкций и ограждений, пола и земли, а также между неогражденными токоведущими частями разных цепей должно быть не менее значений, приведенных в табл. 4.2.7 (рис. 4.2.14 - 4.2.17).

Гибкие шины в ЗРУ следует проверять на их сближение под действием токов КЗ в соответствии с требованиями 4.2.56.

Таблица 4.2.7. Наименьшие расстояния в свету от токоведущих частей до различных элементов ЗРУ (подстанций) 3-330 кВ, защищенных разрядниками, и ЗРУ 110-330 кВ, защищенных ограничителями перенапряжений1), (в знаменателе) (рис. 4.2.14 - 4.2.17)

Номер рисунка Наименование расстояния Обозначение Изоляционное расстояние, мм, для номинального напряжения, кВ
3 6 10 20 35 110 150 220 330
4.2.14. От токоведущих частей до заземленных конструкций и частей зданий ф-з' 65 90 120 180 290 700 600 1100 800 1700 1200 2400 2000
4.2.14. Между проводниками разных фаз ф-ф' 70 100 130 200 320 800 750 1200 1050 1800 1600 2600 2200
4.2.15. От токоведущих частей до сплошных ограждений 'Б' 95 120 150 210 320 730 630 1130 830 1730 1230 2430 2030
4.2.16. От токоведущих частей до сетчатых ограждений 'В' 165 190 220 280 390 800 700 1200 900 1800 1300 2500 2100
4.2.16. Между неогражденными токоведущими частями разных цепей 'Г' 2000 2000 2000 2200 2200 2900 2800 3300 3000 3800 3400 4600 4200
4.2.17. От неогражденных токоведущих частей до пола 'Д' 2500 2500 2500 2700 2700 3400 3300 3700 4200 3700 5000
4.2.17. От неогражденных выводов из ЗРУ до земли при выходе их не на территорию ОРУ и при отсутствии проезда транспорта под выводами 'Е' 4500 4500 4500 4750 4750 5500 5400 6000 5700 6500 6000 7200 6800
4.2.16. От контакта и ножа разъединителя в отключенном положении до ошиновки, присоединенной к второму контакту 'Ж' 80 110 150 220 350 900 850 1300 1150 2000 1800 3000 2500
- От неогражденных кабельных выводов из ЗРУ до земли при выходе кабелей на опору или портал не на территории ОРУ и при отсутствии проезда транспорта под выводами - 2500 2500 - - - 3800 3200 4500 4000 5750 5300 7500 6500

1. Ограничители перенапряжений имеют защитный уровень коммутационных перенапряжений фаза-земля 1,8 Uф.


Рис. 4.2.14. Наименьшие расстояния в свету между неизолированными токоведущими частями разных фаз в ЗРУ и между ними и заземленными частями (по табл. 4.2.9)


Рис. 4.2.15. Наименьшие расстояния между неизолированными токоведущими частями в ЗРУ и сплошными ограждениями (по табл. 4.2.9)


Рис. 4.2.16. Наименьшие расстояния от неизолированных токоведущих частей в ЗРУ до сетчатых ограждений и между неогражденными неизолированными токоведущими частями разных цепей (по табл. 4.2.9)


Рис. 4.2.17. Наименьшие расстояния от пола до неогражденных неизолированных токоведущих частей и до нижней кромки фарфора изолятора и высота прохода в ЗРУ. Наименьшее расстояние от земли до неогражденных линейных выводов из ЗРУ вне территории ОРУ и при отсутствии проезда транспорта под выводами

4.2.87. Расстояния от подвижных контактов разъединителей в отключенном положении до ошиновки своей фазы, присоединенной ко второму контакту, должно быть не менее размера 'Ж' по табл. 4.2.7 (см. рис. 4.2.16).

4.2.88. Неизолированные токоведущие части должны быть защищены от случайных прикосновений (помещены в камеры, ограждены сетками и т.п.).

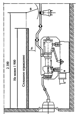
При размещении неизолированных токоведущих частей вне камер и расположении их ниже размера Д по табл. 4.2.7 от пола они должны быть ограждены. Высота прохода под ограждением должна быть не менее 1,9 м (рис. 4.2.17).

Токоведущие части, расположенные выше ограждений до высоты 2,3 м от пола, должны располагаться в плоскости ограждения на расстояниях, приведенных в табл. 4.2.7 для размера 'В' (см. рис. 4.2.16).

Аппараты, у которых нижняя кромка фарфора (полимерного материала) изоляторов расположена над ypoвнем пола на высоте 2,2 м и более, разрешается не ограждать, если при этом выполнены приведенные выше требования.

Применение барьеров в огражденных камерах не допускается.

4.2.89. Неогражденные неизолированные ведущие части различных цепей, находящиеся на высоте, превышающее размер 'Д' по табл. 4.2.7 должны быть расположены на таком расстоянии одна от другой, чтобы после отключения какой-либо цепи (например, секции шин) было обеспечено ее безопасное обслуживание при наличии напряжения в соседних цепях. В частности, расстояние между неогражденными токоведущими частями, расположенными с двух сторон коридора обслуживания, должно соответствовать размеру 'Г' по табл. 4.2.7 (см. рис. 4.2.16).

4.2.90. Ширина коридора обслуживания должна обеспечивать удобное обслуживание установки и перемещение оборудования, причем она должна быть не менее (считая в свету между ограждениями): 1 м - при одностороннем расположении оборудования; 1,2 м - при двустороннем расположении оборудования.

В коридоре обслуживания, где находятся приводы выключателей или разъединителей, указанные выше размеры должны быть увеличены соответственно до 1,5 и 2 м. При длине коридора до 7 м допускается уменьшение ширины коридора при двустороннем обслуживании до 1,8 м.

4.2.91. Ширина коридора обслуживания КРУ с выкатными элементами и КТП должна обеспечивать удобство управления, перемещения и разворота оборудования и его ремонта.

При установке КРУ и КТП в отдельных помещениях ширину коридора обслуживания следует определять, исходя из следующих требований:

  • при однорядной установке - длина наибольшей из тележек КРУ (со всеми выступающими частями) плюс не менее 0,6 м;
  • при двухрядной установке - длина наибольшей из тележек КРУ (со всеми выступавшими частями) плюс не менее 0,8 м.

При наличии коридора с задней стороны КРУ и КТП для их осмотра ширина его должна быть не менее 0,8 м; допускаются отдельные местные сужения не более чем на 0,2 м.

При открытой установке КРУ и КТП в производственных помещениях ширина свободного прохода должна определяться расположением производственного оборудования, обеспечивать возможность транспортирования наиболее крупных элементов КРУ к КТП и в любом случае она должна быть не менее 1 м.

Высота помещения должна быть не менее высоты КРУ, КТП, считая от шинных вводов, перемычек или выступающих частей шкафов, плюс 0,8 м до потолка или 0,3 м до балок.

Допускается меньшая высота помещения, если при этом обеспечиваются удобство и безопасность замены, ремонта и наладки оборудования КРУ, КТП, шинных вводов и перемычек.

4.2.92. Расчетные нагрузки на перекрытия помещений по пути транспортировки электрооборудования должны приниматься с учетом массы наиболее тяжелого оборудования (например, трансформатора), а проемы должны соответствовать их габаритам.

4.2.93. При воздушных вводах в ЗРУ, КТП и закрытые ПС, не пересекающих проездов или мест, где возможно движение транспорта и т.п., расстояния от низшей точки провода до поверхности земли должны быть не менее размера 'Е' (табл. 4.2.7 и рис. 4.2.17).

При меньших расстояниях от провода до земли на соответствующем участке под вводом должны быть предусмотрены либо ограждение территории забором высотой 1,6 м, либо горизонтальное ограждение под вводом. При этом расстояние от земли до провода в плоскости забора должно быть не менее размера 'Е'.

При воздушных вводах, пересекающих проезды или места, где возможно движение транспорта и т.п., расстояния от низшей точки провода до земли следует принимать в соответствии с 2.5.212 и 2.5.213.

При воздушных выводах из ЗРУ на территорию ОРУ указанные расстояния должны приниматься по табл. 4.2.5 для размера 'Г'(см. рис. 4.2.6).

Расстояния между смежными линейными выводами двух цепей должны быть не менее значений, приведенных в табл. 4.2.3 для размера 'Д', если не предусмотрены перегородки между выводами соседних цепей.

На кровле здания ЗРУ в случае неорганизованного водостока над воздушными вводами следует предусматривать козырьки.

4.2.94. Выходы из РУ следует выполнять исходя из следующих требований:

1) при длине РУ до 7 м допускается один выход;

2) при длине РУ более 7 до 60 м должны быть предусмотрены два выхода по его концам; допускается располагать выходы из РУ на расстоянии до 7 м от его торцов;

3) при длине РУ более 60 м, кроме выходов по концам его, должны быть предусмотрены дополнительные выходы с таким расчетом, чтобы расстояние от любой точки коридора обслуживания до выхода было не более 30 м.

Выходы могут быть выполнены наружу, на лестничную клетку или в другое производственное помещение категории 'Г' или 'Д', а также в другие отсеки РУ, отделенные от данного противопожарной дверью II степени огнестойкости. В многоэтажных РУ второй и дополнительные выходы могут быть предусмотрены также на балкон с наружной пожарной лестницей.

Ворота камер с шириной створки более 1,5 м должны иметь калитку, если они используются для выхода персонала.

4.2.95. Полы помещений РУ рекомендуется выполнять по всей площади каждого этажа на одной отметке. Конструкция полов должна исключать возможность образования цементной пыли. Устройство порогов в дверях между отдельными помещениями и в коридорах не допускается (исключения - см. в 4.2.100 и 4.2.103).

4.2.96. Двери из РУ должны открываться в направлении других помещений или наружу и иметь самозапирающиеся замки, открываемые без ключа со стороны РУ.

Двери между отсеками одного РУ или между смежными помещениями двух РУ должны иметь устройство, фиксирующее двери в закрытом положении и не препятствующее открыванию дверей в обоих направлениях.

Двери между помещениями (отсеками) РУ разных напряжений должны открываться в сторону РУ с низшим напряжением.

Замки в дверях помещений РУ одного напряжения должны открываться одним и тем же ключом; ключи от входных дверей РУ и других помещений не должны подходить к замкам камер, а также к замкам дверей в ограждениях электрооборудования.

Требование о применении самозапирающихся замков не распространяется на РУ городских и сельских распределительных электрических сетей напряжением 10 кВ и ниже.

4.2.97. Ограждающие конструкции и перегородки КРУ и КТП собственных нужд электростанции следует выполнять из негорючих материалов.

Допускается установка КРУ и КТП собственных нужд в технологических помещениях ПС и электростанций в соответствии с требованиями 4.2.121.

4.2.98. В одном помещении РУ напряжением от 0,4 кВ и выше допускается установка до двух масляных трансформаторов мощностью каждый до 0,63 МВ·А, отделенных друг от друга и от остальной части помещения РУ перегородкой из негорючих материалов с пределом огнестойкости 45 мин высотой не менее высоты трансформатора, включая вводы высшего напряжения.

4.2.99. Аппараты, относящиеся к пусковым устройствам электродвигателей, синхронных компенсаторов и т.п. (выключатели, пусковые реакторы, трансформаторы и т.п.) допускается устанавливать в общей камере без перегородок между ними.

4.2.100. Трансформаторы напряжения независимо от массы масла в них допускается устанавливать в огражденных камерах РУ. При этом в камере должен быть предусмотрен порог или пандус, рассчитанный на удержание полного объема масла, содержащегося в трансформаторе напряжения.

4.2.101. Ячейки выключателей следует отделять от коридора обслуживания сплошными или сетчатыми ограждениями, а друг от друга - сплошными перегородками из негорючих материалов. Такими же перегородками или щитами эти выключатели должны быть отделены от привода.

Под каждым масляным выключателем с массой масла 60 кг и более в одном полюсе требуется устройство маслоприемника на полный объем масла в одном полюсе.

4.2.102. В закрытых отдельно стоящих, пристроенных и встроенных в производственные помещения ПС, в камерах трансформаторов и других маслонаполненных аппаратов с массой масла в одном баке до 600 кг при расположении камер на первом этаже с дверями, выходящими наружу, маслосборные устройства не выполняются.

При массе масла или негорючего экологически безопасного диэлектрика в одном баке более 600 кг должен быть устроен маслоприемник, рассчитанный на полный объем масла или на удержание 20% масла с отводом в маслосборник.

4.2.103. При сооружении камер над подвалом, на втором этаже и выше (см. также 4.2.118), а также при устройстве выхода из камер в коридор под трансформаторами и другими маслонаполненными аппаратами должны выполняться маслоприемники по одному из следующих способов:

1) при массе масла в одном баке (полюсе) до 60 кг выполняется порог или пандус для удержания полного объема масла;

2) при массе масла от 60 до 600 кг под трансформатором (аппаратом) выполняется маслоприемник, рассчитанный на полный объем масла, либо у выхода из камеры - порог или пандус для удержания полного объема масла;

3) при массе масла более 600 кг:

  • маслоприемник, вмещающий не менее 20% полного объема масла трансформатора или аппарата, с отводом масла в маслосборник. Маслоотводные трубы от маслоприемников под трансформаторами должны иметь диаметр не менее 10 см. Со стороны маслоприемников маслоотводные трубы должны быть защищены сетками. Дно маслоприемника должно иметь уклон 2% в сторону приямка;
  • маслоприемник без отвода масла в маслосборник. В этом случае маслоприемник должен быть перекрыт решеткой со слоем толщиной 25 см чистого промытого гранитного (либо другой непористой породы) гравия или щебня фракцией от 30 до 70 мм и должен быть рассчитан на полный объем масла; уровень масла должен быть на 5 см ниже решетки. Верхний уровень гравия в телеприемнике под трансформатором должен быть на 7,5 см ниже отверстия воздухоподводящего вентиляционного канала. Площадь маслоприемника должна быть более площади основания трансформатора или аппарата.

4.2.104. Вентиляция помещений трансформаторов и реакторов должна обеспечивать отвод выделяемого ими тепла в таких количествах, чтобы при их нагрузке, с учетом перегрузочной способности и максимальной расчетной температуре окружающей среды, нагрев трансформаторов и реакторов не превышал максимально допустимого для них значения.

Вентиляция помещений трансформаторов и реакторов должна быть выполнена таким образом, чтобы разность температур воздуха, выходящего из помещения и входящего в него, не превосходила: 15 ºС для трансформаторов, 30 ºС для реакторов на токи до 1000 А, 20 ºС для реакторов на токи более 1000 А.

При невозможности обеспечить теплообмен естественной вентиляцией необходимо предусматривать принудительную, при этом должен быть предусмотрен контроль ее работы с помощью сигнальных аппаратов.

4.2.105. Приточно-вытяжная вентиляция с забором на уровне пола и на уровне верхней части помещения должна выполняться в помещении, где расположены КРУЭ и баллоны с элегазом.

4.2.106. Помещения РУ, содержащие оборудование, заполненное маслом, элегазом или компаундом, должны быть оборудованы вытяжной вентиляцией, включаемой извне и не связанной с другими вентиляционными устройствами.

В местах с низкими зимними температурами приточные и вытяжные вентиляционные отверстия должны быть снабжены утепленными клапанами, открываемыми извне.

4.2.107. В помещениях, в которых дежурный персонал находится 6 ч и более, должна быть обеспечена температура воздуха не ниже +18 ºС и не выше +28 ºС.

В ремонтной зоне ЗРУ на время проведения ремонтных работ должна быть обеспечена температура не ниже +5 ºС.

При обогреве помещений, в которых имеется элегазовое оборудование, не должны применяться обогревательные приборы с температурой нагревательной поверхности, превышающей 250 ºС (например, нагреватели типа ТЭН).

4.2.108. Отверстия в ограждающих конструкциях зданий и помещений после прокладки токопроводов и других коммуникаций следует заделывать материалом, обеспечивающим огнестойкость не ниже огнестойкости самой ограждающей конструкции, но не менее 45 мин.

4.2.109. Прочие отверстия в наружных стенах для предотвращения проникновения животных и птиц должны быть защищены сетками или решетками с ячейками размером 10х10 мм.

4.2.110. Перекрытия кабельных каналов и двойных полов должны быть выполнены съемными плитами из несгораемых материалов вровень с чистым полом помещения. Масса отдельной плиты перекрытия должна быть не более 50 кг.

4.2.111. Прокладка в камерах аппаратов и трансформаторов транзитных кабелей и проводов, как правило, не допускается. В исключительных случаях допускается прокладка их в трубах.

Электропроводки освещения и цепей управления и измерения, расположенные внутри камер или же находящихся вблизи неизолированных токоведущих частей, могут быть допущены лишь в той мере, в какой это необходимо для осуществления присоединений (например, к измерительным трансформаторам).

4.2.112. Прокладка в помещения РУ относящихся к ним (не транзитных) трубопроводов отопления допускается при условии применения цельных сварных труб без вентилей и т.п., а вентиляционных сварных коробов - без задвижек и других подобных устройств. Допускается также транзитная прокладка трубопроводов отопления при условии, что каждый трубопровод заключен в сплошную водонепроницаемую оболочку.

4.2.113. При выборе схемы РУ, содержащего элегазовые аппараты, следует применять более простые схемы, чем в РУ с воздушной изоляцией.

Смотрите другие статьи раздела Правила устройства электроустановок (ПУЭ).

Читайте и пишите полезные комментарии к этой статье.

<< Назад

Последние новости науки и техники, новинки электроники:

Хорошо управляемые луга могут компенсировать выбросы от скота 15.02.2026

Животноводство, особенно разведение крупного рогатого скота, часто обвиняют в значительном вкладе в глобальное потепление из-за мощного парникового газа - метана, который выделяется при пищеварении у жвачных животных. Это вызывает острые политические споры и призывы к сокращению потребления мяса. Однако ученые напоминают, что полная картина климатического воздействия отрасли не ограничивается только выбросами от животных: огромную роль играет окружающая экосистема - пастбища, почва и растительность, которые способны активно поглощать углекислый газ из атмосферы. Исследователи из Университета Небраски-Линкольна решили глубже изучить этот баланс. Группа под руководством профессора Галена Эриксона сосредоточилась на том, как правильно организованные пастбища накапливают углерод в растениях и грунте благодаря естественным процессам, стимулируемым выпасом скота. Ученые подчеркивают, что при достаточном уровне осадков и грамотном управлении такие луга превращаются в мощные природные погло ...>>

NASA тестирует инновационную технологию крыла 15.02.2026

Коммерческая авиация ежегодно расходует колоссальные объемы керосина, что сказывается не только на бюджете авиакомпаний, но и на состоянии окружающей среды. В 2024 году глобальные затраты на авиационное топливо достигли 291 миллиарда долларов, и эта сумма продолжает расти. Чтобы справиться с этими вызовами, NASA активно работает над технологиями, способными заметно повысить аэродинамическую эффективность самолетов. Одним из самых перспективных направлений стало создание специальной конструкции крыла, которая максимизирует естественный ламинарный поток воздуха и минимизирует сопротивление. В январе 2026 года специалисты NASA Armstrong Flight Research Center успешно провели важный этап наземных испытаний концепции Crossflow Attenuated Natural Laminar Flow (CATNLF). Для эксперимента под фюзеляж исследовательского самолета F-15B закрепили вертикально ориентированную масштабную модель высотой около 0,9 м (3 фута), напоминающую узкий киль. Такая компоновка позволила подвергнуть прототип р ...>>

Забота о внуках очень полезна для здоровья мозга 14.02.2026

Общение между поколениями приносит радость всей семье, но мало кто задумывается, насколько активно бабушки и дедушки, заботящиеся о внуках, поддерживают свою умственную форму. Регулярное взаимодействие с детьми стимулирует мозг пожилых людей, помогая сохранять память, скорость мышления и общую когнитивную активность. Новые научные данные подтверждают, что такая добровольная помощь не только важна для общества, но и может замедлять возрастные изменения в мозге. Исследователи из Тилбургского университета в Нидерландах провели анализ, чтобы понять, приносит ли уход за внуками реальную пользу здоровью пожилых людей. Ведущий автор работы Флавия Черечес отметила, что многие бабушки и дедушки регулярно присматривают за детьми, и оставался открытым вопрос, насколько это положительно сказывается на их собственном благополучии, особенно в плане когнитивных функций. Ученые поставили цель выяснить, способен ли регулярный уход за внуками замедлить снижение памяти и других умственных способ ...>>

Случайная новость из Архива

Израильский беспилотник-бабочка 19.01.2013

Компания Israel Aerospace Industries (IAI) занимается разработкой миниатюрного беспилотного летательного аппарата-"бабочки". Аппарат весит всего несколько граммов и может находиться в воздухе 20 минут. Сейчас израильская компания работает над двумя крылатыми прототипами: маленькой "бабочкой" массой восемь граммов и большой, чья масса достигает 13 г. Аппараты питаются от компактной литий-полимерной батареи массой два грамма. Каждый БПЛА оснащается микровидеокамерой массой всего 0,1 г.

В движение беспилотники приводит компактный электромотор, работающий на 7000 об./мин. На команды оператора БПЛА откликаются при помощи системы управления полетом массой 3 г. Крылья "бабочки" сделаны вручную из прозрачного углеволокна. С началом серийного производства БПЛА комплектующие для беспилотников также планируется поставить на конвейер. Использовать беспилотники-"бабочки" предполагается, в частности, в ситуациях с захватом заложников. Таким образом БПЛА, оснащенный видеокамерой и микрофоном сможет незаметно разведать обстановку в зоне инцидента.

Как сообщает Flightglobal, созданием беспилотника инженеры IAI занимаются под лозунгом "если может природа - мы попробуем ей подражать". Работу над аппаратом начали с создания четырехкрылого прототипа, схожего со стрекозой. В дальнейшем планируется научить БПЛА летать только на двух крыльях. Для этого, в частности, требуется скорректировать амплитуду их колебаний. Как пояснил собеседник издания, на это потребуется несколько месяцев.

Ранее сообщалось, что Израиль при поддержке США ведет исследования по созданию насекомых-киборгов. В ходе испытаний ученые изучают механику движения мух, кузнечиков, жуков и стрекоз. Использовать насекомых-киборгов планируется также в разведывательных целях.

Другие интересные новости:

▪ Коровы в облачном хранилище

▪ Робот-водитель

▪ Чип, определяющий количество алкоголя в крови

▪ Быстрое биотопливо из водорослей

▪ Накладные ногти светятся с вызовом мобильного телефона

Лента новостей науки и техники, новинок электроники

 

Интересные материалы Бесплатной технической библиотеки:

▪ раздел сайта Радио - начинающим. Подборка статей

▪ статья Служить бы рад, прислуживаться тошно. Крылатое выражение

▪ статья Как добывают медь? Подробный ответ

▪ статья Ручная газовая сварка, пайка и наплавка. Типовая инструкция по охране труда

▪ статья Усилитель мощности на микросхеме TDA1552Q. Энциклопедия радиоэлектроники и электротехники

▪ статья Зритель знает секрет фокуса, но не может повторить. Секрет фокуса

Оставьте свой комментарий к этой статье:

Имя:


E-mail (не обязательно):


Комментарий:





Главная страница | Библиотека | Статьи | Карта сайта | Отзывы о сайте

www.diagram.com.ua

www.diagram.com.ua
2000-2026