Menu Home

Бесплатная техническая библиотека для любителей и профессионалов Бесплатная техническая библиотека


Раздел 4. Распределительные устройства и подстанции

Распределительные устройства и подстанции напряжением выше 1 кB. Общие требования

Бесплатная техническая библиотека

Энциклопедия радиоэлектроники и электротехники / Правила устройства электроустановок (ПУЭ)

Комментарии к статье Комментарии к статье

4.2.17. Электрооборудование, токоведущие части, изоляторы, крепления, ограждения, несущие конструкции, изоляционные и другие расстояния должны быть выбраны и установлены таким образом, чтобы:

1) вызываемые нормальными условиями работы электроустановки усилия, нагрев, электрическая дуга или иные сопутствующие ее работе явления (искрение, выброс газов и т.п.) не могли причинить вред обслуживающему персоналу, а также привести к повреждению оборудования и возникновению короткого замыкания (КЗ) или замыканию на землю;

2) при нарушении нормальных условий работы электроустановки была обеспечена необходимая локализация повреждений, обусловленных действием КЗ;

3) при снятом напряжении с какой-либо цепи относящиеся к ней аппараты, токоведущие части и конструкции могли подвергаться безопасному техническому обслуживанию и ремонту без нарушения нормальной работы соседних цепей;

4) была обеспечена возможность удобного транспортирования оборудования.

4.2.18. При использовании разъединителей и отделителей при их наружной и внутренней установке для отключения и включения токов холостого хода силовых трансформаторов, зарядных токов воздушных и кабельных линий электропередачи и систем шин необходимо выполнять следующие требования:

1) разъединителями и отделителями напряжением 110-500 кВ независимо от климатических условий и степени промышленного загрязнения атмосферы при их наружной установке допускается отключать и включать ток холостого хода силовых трансформаторов и зарядные токи воздушных и кабельных линий, систем шин и присоединений, которые не превышают значений, указанных в табл. 4.2.1;

2) разъединителями и отделителями напряжением 110, 150, 220 кВ при их внутренней установке со стандартными расстояниями между осями полюсов соответственно 2; 2,5 и 3,5 м допускается отключать и включать токи холостого хода силовых (авто) трансформаторов при глухозаземленной нейтрали соответственно не более 4, 2 и 2 А, а также зарядные токи присоединений не более 1,5 А;

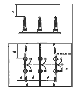
3) указанные на рис. 4.2.1 расстояния по горизонтали а, б, в от колонок и концов горизонтально-поворотных (ГП) подвижных контактов в отключенном положении до заземленных и токоведущих частей соседних присоединений должны быть не меньше расстояний между осями полюсов д, указанных в табл. 4.2.1 и 4.2.2. Эти требования к расстояниям а, б, в по рис. 4.2.1 применимы и к разъединителям и отделителям напряжением 110-220 кВ при их внутренней установке по п.2.

Расстояния по вертикали г от концов вертикально-рубящих (ВР) и ГП подвижных контактов до заземленных и токоведущих частей должны быть на 0,5 м больше расстояний д;

4) разъединителями и отделителями 6-35 кВ при их наружной и внутренней установке допускается отключать и включать токи холостого хода силовых трансформаторов, зарядные токи воздушных и кабельных линий электропередачи, а также токи замыкания на землю, которые не превышают значений, указанных в табл. 4.2.2. (см. рис. 4.2.1) и табл. 4.2.3 (рис. 4.2.2, а и б).

Размеры изолирующих перегородок для стандартных трехполюсных разъединителей приведены в табл. 4.2.4 в соответствии с рис. 4.2.2, а и б;

5) у разъединителей и отделителей, установленных горизонтально, спуски из гибкого провода прокладывать полого во избежание переброски на них дуги, не допуская расположения, близкого к вертикальному. Угол между горизонталью и прямой, соединяющей точку подвеса спуска и линейный зажим полюса, должен быть не более 65º.

Ошиновку из жестких шин выполнять так, чтобы на расстоянии 'в' (см. рис. 4.2.1) шины подходили к разъединителям (отделителям) с подъемом или горизонтально. Недопустимое сближение шин с подвижными контактами у горизонтально-поворотных разъединителей и отделителей показано пунктиром;

6) для обеспечения безопасности персонала и защиты его от светового и теплового воздействия дуги над ручными приводами отделителей и разъединителей устанавливать козырьки или навесы из негорючего материала. Сооружение козырьков не требуется у разъединителей и отделителей напряжением 6-35 кВ, если отключаемый ток холостого хода не превышает 3 А, а отключаемый зарядный - 2 А;

7) приводы трехполюсных разъединителей 6-35 кВ при их внутренней установке, если они не отделены от разъединителей стеной или перекрытием, снабжать глухим щитом, расположенным между приводом и разъединителем;

8) в электроустановках напряжением 35, 110, 150 и 220 кВ с разъединителями и отделителями в одной цепи отключение ненагруженного трансформатора, автотрансформатора, системы шин, линий электропередачи производить дистанционно отделителем, включение - разъединителем.


Рис. 4.2.1. Границы расположения открытых подвижных контактов разъединителя (отделителя) по отношению к заземленным и токоведущим частям

Таблица 4.2.1. Наибольшие токи холостого хода и зарядные токи, отключаемые и включаемые разъединителями и отделителями 110-500 кВ 12

Номинальное напряжение, кВ Тип отделителя, разъединителя Расстояние между осями полюсов δ, м (рис. 4.2.1) Ток, А, не более
холостого хода зарядный
110 ВР 2,0 6,0 2,5
2,5 7,0 3,0
3,0 9,0 3,5
ГП 2,0 4,0 1,5
2,5 6,0 2,0
3,0 8,0 3,0
3,5 10,0 3,5
150 ВР 2,5 2,3 1,0
2,7 4,0 1,5
3,0 6,0 2,0
3,4 7,6 2,5
4,0 10,0 3,0
ГП 3,0 2,3 1,0
3,7 5,0 1,5
4,0 5,5 2,0
4,4 6,0 2,5
220 ВР 3,5 3,0 1,0
4,0 5,0 1,5
4,5 8,0 2,0
ГП 3,5 3,0 1,0
4,0 5,0 1,5
4,5 8,0 1,0
330 ГП 6,0 5,0 2,0
ПН 6,0 3,5 1,0
ПНЗ 6,0 4,5 1,5
500 ВР 7,5 5,0 2,0
ГП 8,0 6,0 2,5
ПН 8,0 5,0 2,0
ПНЗ 7,5 5,5 2,5

1. ВР - вертикально-рубящий, ГП - горизонтально-поворотный, ПН - подвесной, ПНЗ - подвесной с опережающим отключением и отстающим включением полюса фазы В.

2. Приведены результирующие токи холостого хода с учетом взаимной компенсации индуктивных токов ненагруженных трансформаторов зарядными токами их присоединений и зарядных токов воздушных или кабельных присоединений индуктивными токами ненагруженных трансформаторов.

Таблица 4.2.2. Наибольшие токи холостого хода и зарядные токи, токи замыкания на землю, отключаемые и включаемые разъединителями и отделителями 6-35 кВ

Номинальное напряжение, кВ Расстояние между осями полюсов δ, м (рис. 4.2.1) Ток, А, не более
холостого хода зарядный замыкания на землю
6 0,4 2,5 5,0 7,5
10 0,5 2,5 4,0 6,0
20 0,75 3,0 3,0 4,5
35 1,0 3,0 2,0 3,0
35 2,0 5,0 3,0 5,0

а - вертикальная; б - наклонная; 1 - изолирующие перегородки

Рис. 4.2.2. Установка разъединителя (отделителя):

Таблица 4.2.3. Наибольшие токи холостого хода и зарядные токи, токи замыкания на землю, отключаемые и включаемые разъединителями и отделителями 6-35 кВ *

Номинальное напряжение, кВ Расстояние между осями полюсов 'Ж', м (рис. 4.2.2) Наименьшее расстояние до заземленных и токоведущих частей, м (рис. 4.2.2.) Ток, А, не более
'А' 'Б' 'В' холостого хода зарядный замыкания на землю
6 0,2 0,2 0,2 0,5 3,5 2,5 4,0
10 0,25 0,3 0,3 0,7 3,0 2,0 3,0
20 0,3 0,4 0,4 1,0 3,0 1,5 2,5
35 0,45 0,5 0,5 1,5 2,5 1,0 1,5

* При изолирующих перегородках между полюсами отключаемые и включаемые токи в 1,5 раза больше значений, указанных в табл. 4.2.3.

Таблица 4.2.4. Размеры изолирующих перегородок

Номинальное напряжение, кВ Размеры изолирующих перегородок, м (рис. 4.2.2)
'Г' 'Д' 'Е'
6 0,1 0,5 0,05
10 0,65 0,65 0,05
20 0,2 1,1 0,05
35 0,25 1,8 0,05

4.2.19. Выбор аппаратов, проводников и изоляторов по условиям к.з. должен производиться в соответствии с гл. 1.4.

4.2.20. Конструкции, на которых установлены электрооборудование, аппараты, токоведущие части и изоляторы, должны выдерживать нагрузки от их веса, тяжения, коммутационных операций, воздействия ветра, гололеда и КЗ, а также сейсмических воздействий.

Строительные конструкции, доступные для прикосновения персонала, не должны нагреваться от воздействия электрического тока выше 50 ºС; недоступные для прикосновения - выше 70 ºС.

Конструкции на нагрев могут не проверяться, если по токоведущим частям проходит переменный ток 1000 А и менее.

4.2.21. Во всех цепях РУ должна быть предусмотрена установка разъединяющих устройств с видимым разрывом, обеспечивающих возможность отсоединения всех аппаратов (выключателей, предохранителей, трансформаторов тока, трансформаторов напряжения и т.д.) каждой цепи со всех ее сторон, откуда может быть подано напряжение.

Видимый разрыв может отсутствовать в комплектных распределительных устройствах заводского изготовления (в том числе с заполнением элегазом - КРУЭ) с выкатными элементами и/или при наличии надежного механического указателя гарантированного положения контактов.

Указанное требование не распространяется на высокочастотные заградители и конденсаторы связи, трансформаторы напряжения, устанавливаемые на отходящих линиях, а также трансформаторы напряжения емкостного типа, присоединяемые к системам шин, разрядники и ограничители перенапряжений, устанавливаемых на выводах трансформаторов и шунтирующих реакторов и на отходящих линиях, а также на силовые трансформаторы с кабельными вводами.

В отдельных случаях, обусловленных схемными или конструктивными решениями, трансформаторы тока допускается устанавливать до разъединяющих устройств.

4.2.22. При расположении РУ и ПС в местах, где воздух может содержать вещества, ухудшающие работу изоляции или разрушающе действующие на оборудование и шины, должны быть приняты меры, обеспечивающие надежную работу установки:

  • применение закрытых ПС и РУ, защищенных от проникновения пыли, вредных газов или паров в помещение;
  • применение усиленной изоляции и шин из материала, стойкого к воздействию окружающей среды, или покраска их защитным покрытием;
  • расположение ПС и РУ со стороны господствующего направления ветра;
  • применение минимального количества открыто установленного оборудования.

При сооружении ПС и РУ вблизи морских побережий, соленых озер, химических предприятий, а также в местах, где длительным опытом эксплуатации установлено разрушение алюминия от коррозии, следует применять специальные алюминиевые и сталеалюминевые провода, защищенные от коррозии, в том числе полимерным покрытием, или провода из меди и ее сплавов.

4.2.23. При расположении РУ и ПС в сейсмических районах для обеспечения требуемой сейсмостойкости наряду с применением имевшегося сейсмостойкого оборудования следует предусматривать специальные меры, повышающие сейсмостойкость электроустановки.

4.2.24. В ОРУ, КРУ, КРУН и неотапливаемых ЗРУ, где температура окружающего воздуха может быть ниже допустимой для оборудования, должен быть предусмотрен подогрев в соответствии с действующими стандартами на оборудование.

4.2.25. Ошиновку РУ и ПС, как правило, следует выполнять из алюминиевых и сталеалюминевых проводов, полос, труб и шин из профилей алюминия и алюминиевых сплавов электротехнического назначения (исключения см. в 4.2.22).

При этом, когда деформации ошиновки, вызываемые изменениями температуры, могут вызывать опасные механические напряжения в проводах или изоляторах, следует предусматривать меры, исключающие возникновение таких напряжений.

Конструкция жесткой ошиновки должна предусматривать устройства для гашения вибрации шин и компенсирующие устройства для предотвращения передачи механических усилий на контактные выводы аппаратов и опорные изоляторы от температурных деформаций и неравномерной осадки опорных конструкций.

Токопроводы следует выполнять в соответствии с требованиями гл. 2.2.

4.2.26. Обозначение фаз электрооборудования и ошиновки РУ и ПС должно выполняться в соответствии с требованиями гл. 1.1.

4.2.27. Распределительные устройства должны быть оборудованы оперативной блокировкой неправильных действий при переключениях в электрических установках (сокращенно - оперативной блокировкой), предназначенной для предотвращения неправильных действий с разъединителями, заземляющими ножами*, отделителями и короткозамыкателями.

Оперативная блокировка должна исключать:

  • подачу напряжения разъединителем на участок электрической схемы, заземленной включенным заземлителем, а также на участок электрической схемы, отделенной от включенных заземлителей только выключателем;
  • включение заземлителя на участке схемы, не отделенном разъединителем от других участков, которые могут быть как под напряжением, так и без напряжения;
  • отключение и включение разъединителями токов нагрузки.

Оперативная блокировка должна обеспечивать в схеме с последовательным соединением разъединителя с отделителем включение ненагруженного трансформатора разъединителем, а отключение - отделителем.

На заземлителях линейных разъединителей со стороны линии допускается иметь только механическую блокировку с приводом разъединителя.

* В последующем тексте настоящей главы вместо слов "заземляющий нож" используется слово "заземлитель", под которым понимается как элемент аппарата, так и отдельно установленный аппарат.

4.2.28. Распределительные устройства и ПС, как правило, должны быть оборудованы стационарными заземлителями, обеспечивающими в соответствии с требованиями безопасности заземление аппаратов и ошиновки.

В РУ 3 кВ и выше стационарные заземлители должны быть размещены так, чтобы были не нужны переносные заземления и чтобы персонал, работающий на токоведущих частях любых участков присоединений и сборных шин, был защищен заземлителями со всех сторон, откуда может быть подано напряжение.

На случай отключения в процессе ремонта разъединителя с заземлителями или только заземлителя этого разъединителя должны быть предусмотрены заземлители у других разъединителей на данном участке схемы, расположенные со стороны возможной подачи напряжения. Последнее требование не относится к заземлителям со стороны линейных разъединителей (при отсутствии обходной системы шин или ремонтной перемычки со стороны ВЛ), а также к заземлителям в цепи секционной связи КРУ.

На заземлителях линейных разъединителей со стороны линии следует, как правило, иметь привод с дистанционным управлением для исключения травмирования персонала при ошибочном включении их и наличии на линии напряжения, в ячейках КРУЭ эти заземлители, кроме того, рекомендуется иметь быстродействующими.

Каждая секция (система) сборных шин РУ 35 кВ и выше должна иметь, как правило, два комплекта заземлителей. При наличии трансформаторов напряжения заземления сборных шин следует осуществлять, как правило, заземлителями разъединителей трансформаторов напряжения.

Применение переносных защитных заземлений предусматривается в следующих случаях:

  • при работе на линейных разъединителях и на оборудовании, расположенном со стороны ВЛ до линейного разъединителя;
  • на участках схемы, где заземлители установлены отдельно от разъединителей, на время ремонта заземлителей;
  • для защиты от наведенного напряжения.

4.2.29. Сетчатые и смешанные ограждения токоведущих частей и электрооборудования должны иметь высоту над уровнем планировки для ОРУ и открыто установленных трансформаторов 2 или 1,6 м (с учетом требований 4.2.57 и 4.2.58), а над уровнем пола для ЗРУ и трансформаторов, установленных внутри здания, 1,9 м; сетки должны иметь отверстия размером не более 25х25 мм, а также приспособления для запирания их на замок. Нижняя кромка этих ограждений в ОРУ должна располагаться на высоте 0,1-0,2 м, а в ЗРУ - на уровне пола.

Применение барьеров допускается при входе в камеры выключателей, трансформаторов и других аппаратов для их осмотра при наличии напряжения на токоведущих частях. Барьеры должны устанавливаться на высоте 1,2 м и быть съемными. При высоте пола камер над уровнем земли более 0,3 м необходимо оставить между дверью и барьером расстояние не менее 0,5 м или предусмотреть площадку перед дверью для осмотра.

Применение барьеров в качестве единственного вида ограждения токоведущих частей недопустимо.

4.2.30. Указатели уровня и температуры масла маслонаполненных трансформаторов и аппаратов и другие указатели, характеризующие состояние оборудования, должны быть расположены таким образом, чтобы были обеспечены удобные и безопасные условия для доступа к ним и наблюдения за ними без снятия напряжения (например, со стороны прохода в камеру).

Для отбора проб масла расстояние от уровня пола или поверхности земли до крана трансформатора или аппарата должно быть не менее 0,2 м или должен быть предусмотрен соответствующий приямок.

4.2.31. Электропроводка цепей защиты автоматики, измерения, сигнализации и освещения, проложенная по электротехническим устройствам с масляным наполнением, должна быть выполнена проводами с маслостойкой изоляцией.

4.2.32. Расчетный уровень высоких (паводковых) вод принимается с обеспеченностью: 2% (повторяемость 1 раз в 50 лет) для ПС 330 кВ и ниже и 1% (повторяемость 1 раз в 100 лет) для ПС 500 кВ и выше.

4.2.33. Распределительные устройства и ПС должны быть оборудованы электрическим освещением. Осветительная арматура должна быть установлена таким образом, чтобы было обеспечено ее безопасное обслуживание.

4.2.34. Распределительные устройства и ПС должны быть обеспечены телефонной и другими видами связи в соответствии с принятой системой обслуживания.

4.2.35. Размещение РУ и ПС, генеральный план и инженерная подготовка территории и защита их от затопления, оползней, лавин и т.п. должны быть выполнены в соответствии с требованиями СНиП Госстроя России.

4.2.36. Компоновка и конструктивное выполнение ОРУ и ЗРУ должны предусматривать возможность применения механизмов, в том числе специальных, для производства монтажных и ремонтных работ.

4.2.37. Расстояния между РУ (ПС) и деревьями высотой более 4 м должны быть такими, чтобы исключались повреждения оборудования и ошиновки при падении дерева (с учетом роста деревьев за 25 лет).

4.2.38. Для РУ и ПС, размещаемых в районе жилой и промышленной застройки, должны предусматриваться мероприятия по снижению шума, создаваемого работающим электрооборудованием (трансформаторами, синхронными компенсаторами и т.п.), до значений, допустимых санитарными нормами.

4.2.39. Подстанции с постоянным дежурством персонала, а также при наличии вблизи них жилых зданий должны быть обеспечены питьевой водой путем устройства хозяйственно-питьевого водопровода, сооружения артезианских скважин или колодцев.

4.2.40. Для РУ и ПС с постоянным дежурством персонала, имеющих водопровод, должны быть устроены утепленные уборные с канализацией. При отсутствии вблизи ПС канализационных магистралей допускается выполнение местных канализационных устройств (отстойники, фильтры). Для ПС без постоянного дежурства персонала допускается устройство неутепленных уборных с водонепроницаемыми выгребами.

При расположении ПС 110 кВ и выше без постоянного дежурства персонала вблизи существующих систем водоснабжения и канализации (на расстоянии до 0,5 км) в здании ОПУ должны предусматриваться санитарные канализационные узлы.

4.2.41. Территория ПС должна быть ограждена внешним забором в соответствии с требованиями норм технологического проектирования ПС.

На территории ПС следует ограждать ОРУ и силовые трансформаторы внутренним забором высотой 1,6 м (см. также 4.2.58).

ОРУ разных напряжений и силовые трансформаторы могут иметь общее ограждение.

При расположении ОРУ (ПС) на территории электростанций эти ОРУ (ПС) должны быть ограждены внутренним забором высотой 1,6 м.

Заборы могут не предусматриваться для закрытых ПС, а также для столбовых, мачтовых и комплектных ПС наружной установки с высшим напряжением до 35 кВ при условии соблюдения требований 4.2.132.

4.2.42. На территории ОРУ, ПС и электростанций следует предусматривать устройства по сбору и удалению масла (при наличии маслонаполненного оборудования) с целью исключения возможности растекания его по территории и попадания в водоемы.

4.2.43. Расстояния от электрооборудования до взрывоопасных зон и помещений следует принимать по гл. 7.3.

4.2.44. На ПС применяются постоянный и переменный оперативные токи.

Переменный ток должен применяться во всех случаях, когда это возможно и ведет к упрощению и удешевлению электроустановок при обеспечении необходимой надежности их работы.

Смотрите другие статьи раздела Правила устройства электроустановок (ПУЭ).

Читайте и пишите полезные комментарии к этой статье.

<< Назад

Последние новости науки и техники, новинки электроники:

Дети, растущие рядом с природой, обретают крепкие кости 02.03.2026

Влияние окружающей среды на здоровье человека становится все более очевидным, особенно в детском возрасте. Новое исследование, опубликованное в журнале JAMA Network Open, показывает, что близость к природе напрямую связана с крепостью костей у детей. Ученые установили, что у детей, чьи дома окружены природными территориями в радиусе 1000 метров на 25% больше обычного, риск развития крайне низкой плотности костей снижается на 65%. Для проведения исследования были проанализированы данные более 300 детей, проживающих в городских, пригородных и сельских районах Фландрии в Бельгии. Плотность костной ткани у детей в возрасте от четырех до шести лет оценивалась с помощью ультразвуковых методов. Такой подход позволил безопасно и точно измерить состояние костей на ранних этапах формирования скелета. При анализе учитывались ключевые факторы, влияющие на рост и развитие детей: возраст, вес, рост, этническая принадлежность и уровень образования матери. На основании этих параметров исследоват ...>>

Самовосстанавливающаяся инфраструктура будущего 02.03.2026

Современные мосты и бетонные конструкции по всему миру сталкиваются с проблемой устаревания и износа. Многие сооружения, построенные до 1980-х годов, постепенно теряют свою несущую способность, что требует дорогого ремонта или полной замены. Недавние разработки ученых из Швейцарских федеральных лабораторий материаловедения и технологий (Empa) предлагают инновационное решение - систему укрепления бетонных конструкций с помощью "умной стали", способной самостоятельно устранять трещины и повреждения. В основе новой технологии лежит арматура из сплава на основе железа с эффектом памяти формы (Fe-SMA). Этот материал обладает уникальным свойством: при нагревании до 190-200 °C стержни стремятся вернуться к своей первоначальной конфигурации. В бетонной конструкции это создает внутреннее напряжение, которое затягивает трещины и выравнивает деформированные элементы, существенно повышая прочность и долговечность сооружений. Актуальность разработки объясняется критическим состоянием инфрастр ...>>

Поцелуи полезны для здоровья 01.03.2026

Вопрос о том, как социальные связи и близость с партнером отражаются на здоровье человека, привлекает внимание не только психологов, но и специалистов в области микробиологии. Новое исследование показывает, что совместное проживание с любимым человеком может оказывать значительное влияние на микробиом кишечника и общее самочувствие. Доктор Наоми Миддлтон, клинический психологи и эксперт по здоровью кишечника, объяснила, что все аспекты совместной жизни - поцелуи, совместное питание, физическая близость и даже просто пребывание рядом - тесно связаны с поддержанием сбалансированной кишечной микрофлоры. Она подчеркивает, что здоровье экосистемы кишечника во многом определяется социальными взаимодействиями и повседневной близостью с другими людьми. По словам Миддлтон, длительное совместное пребывание с партнером может способствовать увеличению микробного разнообразия в кишечнике, а также снижать воспалительные процессы, связанные со стрессом. Такой эффект обусловлен тем, что микробио ...>>

Случайная новость из Архива

Сиеста орангутанов 12.07.2025

Сон - важнейшая часть жизни животных и человека, обеспечивающая восстановление и поддержание здоровья мозга. Ученые давно интересуются тем, как дикие животные справляются с нарушениями сна и адаптируются к меняющимся условиям окружающей среды. Недавнее исследование специалистов из Института поведения животных Макса Планка и Университета Констанца впервые подробно изучило ночной и дневной сон орангутанов в естественных условиях, обнаружив интересные параллели с человеческими привычками, включая привычку к дневному отдыху - сиесте.

В течение четырнадцати лет команда исследователей наблюдала за 53 взрослыми орангутанами на Суматре, на станции мониторинга Суак-Балимбинг. За это время они зафиксировали 455 дней и ночей жизни животных, что позволило получить уникальные данные о режиме сна диких приматов.

Орангутаны, как и люди, строят себе "кровати" - гнезда, расположенные высоко в кронах деревьев. На создание таких гнезд они тратят около десяти минут, используя согнутые и переплетенные ветви, покрывая их "матрасом" из листьев. Это обеспечивает им безопасное и устойчивое место для ночного отдыха.

Из-за особенностей ландшафта и поведения животных прямое наблюдение за сном было затруднено, поэтому ученые использовали косвенные признаки, такие как звуки шороха и тряски веток в момент укладывания в гнездо, а затем наступление тишины в течение почти 13 часов считали фазой сна.

В ходе исследования выявились факторы, снижающие продолжительность ночного сна. К ним относятся присутствие других орангутанов во время строительства гнезда, пониженная температура ночью и длинные перемещения в предыдущий день. Эти условия, по словам ведущего исследователя Эшбери, напоминают человеческие ситуации: например, когда у человека в гостях друг или шумный сосед мешают выспаться.

Особенно интересным оказалось наблюдение компенсаторного механизма дневного отдыха. В те дни, когда ночной сон был сокращен, орангутаны значительно увеличивали продолжительность дневного сна. За каждый час недосыпа ночью они добавляли к дневному отдыху от пяти до десяти минут.

Для дневного отдыха приматы строят более простые гнезда, которые требуют меньше времени - менее двух минут. Несмотря на упрощенную конструкцию, такие гнезда надежно защищают и обеспечивают комфорт во время сиесты. Приблизительно в 41% случаев орангутаны устраивали дневной сон, который в среднем длился около 76 минут.

Ученые связывают подобные механизмы компенсации сна с высокоразвитыми когнитивными способностями популяции орангутанов Суак. Эти приматы известны своим мастерством в использовании инструментов и наличием сложной культурной организации, что может требовать эффективных стратегий восстановления сил и поддержания когнитивных функций.

Другие интересные новости:

▪ Барабанное ОЗУ для квантового компьютера

▪ Понедельник - не самый тяжелый день

▪ Телескоп PICTURE-C

▪ Карты памяти повышенной надежности от Silicon Power

▪ Мужские персонажи в играх говорят в два раза чаще женщин

Лента новостей науки и техники, новинок электроники

 

Интересные материалы Бесплатной технической библиотеки:

▪ раздел сайта Электротехнические материалы. Подборка статей

▪ статья Иллюзии цвета и контраста. Энциклопедия зрительных иллюзий

▪ статья Почему верят, что клевер-четырехлистник приносит удачу? Подробный ответ

▪ статья Геронов фонтан. Детская научная лаборатория

▪ статья Сигнализатор уровня сред (емкостное реле). Энциклопедия радиоэлектроники и электротехники

▪ статья Клубок шерсти. Секрет фокуса

Оставьте свой комментарий к этой статье:

Имя:


E-mail (не обязательно):


Комментарий:





Главная страница | Библиотека | Статьи | Карта сайта | Отзывы о сайте

www.diagram.com.ua

www.diagram.com.ua
2000-2026