Menu Home

Бесплатная техническая библиотека для любителей и профессионалов Бесплатная техническая библиотека


ЧМ приемник на диапазон 430 МГц. Энциклопедия радиоэлектроники и электротехники

Бесплатная техническая библиотека

Энциклопедия радиоэлектроники и электротехники / Радиоприем

Комментарии к статье Комментарии к статье

Развитие любительской радиосвязи на УКВ с применением узкополосной ЧМ сдерживается, как отмечалось в [1], в первую очередь отсутствием простых конструкций УКВ ЧМ приемников, передатчиков и трансиверов.

Описываемый приемник благодаря применению в нем детектора с фазовой автоподстройкой частоты (ФАПЧ) [2] сравнительно прост. Аппарат работает в полосе 430...440 МГц. Его чувствительность при соотношении сигнал/шум 10 дБ равна 0,1 мкВ.

Приемник построен на супергетеродинной схеме с одним преобразованием частоты (рис. 1). Гетеродин состоит из генератора G1 с кварцевой стабилизацией частоты, вырабатывающего колебания частотой 45 МГц, утроителей частоты U3, U4, усилителя А4 и полосовых фильтров Z5, Z6.

ЧМ приемник на диапазон 430 МГц
Рис.1

Колебания частотой 405 МГц с гетеродина подаются на смеситель Ш. Сюда же через входной фильтр Z1 поступают сигналы станций. Преобразованный смесителем U1 спектр промежуточных частот лежит в интервале 25...35 МГц. Полосу пропускания тракта ПЧ (с усилителями A1, A2) определяют фильтры Z2-Z4. Традиционное построение приемника предполагает далее применение второго преобразователя частоты, перестраиваемого второго гетеродина и уз-кополосного усилителя ПЧ с ЧМ детектором - фактически необходим дополнительный ЧМ приемник. В данном аппарате в качестве узкополосного ЧМ приемника использован приемник прямого преобразования с ФАПЧ U2, выполненный на одном транзисторе [3] и обладающий хорошей чувствительностью и избирательностью.

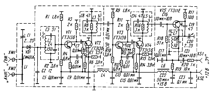
Принципиальная схема сигнального тракта приведена на рис. 2. Смеситель выполнен на туннельном обращенном диоде VD1. Усилитель ПЧ содержит два однотипных каскада усиления, построенных по каскодной схеме на транзисторах VT1, VT2 и VT3, VT4 соответственно. На транзисторе VT5 собран синхронный фазовый детектор, преобразующий промежуточную частоту в звуковую. Преобразование происходит на второй гармонике генерируемых колебаний, так как контур L7C18C20 перестраивается конденсатором С20 в интервале 12,5...17,5 МГц. Избирательность обеспечивается действием ФАПЧ: при приближении частоты гетеродина к половинному значению частоты сигнала принимаемой станции происходит захват этой частоты и синхронное детектирование ЧМ [3]. При этом выходное напряжение 3Ч независимо от уровня входных ЧМ сигналов, что эквивалентно действию АРУ, а также подавляется амплитудная модуляция и импульсные помехи. Полосу 3Ч (примерно 3 кГц) определяет фильтр нижних частот (ФНЧ) R19C17. На выходе приемника можно применить RC или LC ФНЧ более высокого порядка, что дополнительно улучшит соотношение сигнал/шум.

ЧМ приемник на диапазон 430 МГц
Рис.2 (нажмите для увеличения)

Применение всего одного транзистора VT5 вместо многокаскадного ЧМ приемника резко снизило общий уровень шумов тракта. Определяющим здесь является то, что база этого транзистора по 3Ч через конденсатор С16 большой емкости (10 мкФ) соединена с общим проводом. Экспериментально установлено, что емкость этого конденсатора определяет работоспособность системы ФАПЧ. Для работы как гетеродина, так и смесителя достаточно, чтобы емкость была всего 10 000 пФ. Однако при этом система ФАПЧ практически не работает и резко возрастает уровень 3Ч шумов транзистора VT5.

Выходной звуковой сигнал с уровнем несколько десятков милливольт может быть подан на простой усилитель 3Ч.

Принципиальная схема гетеродина приемника изображена на рис. 3. Гетеродин выполнен по традиционной схеме умножения частоты задающего генератора, который собран на транзисторе VT1 и работает на частоте 45 МГц - третьей механической гармонике кварцевого резистора ZQ1. Каскад на транзисторе VT2 - утроитель частоты. Его нагрузка - контур L2C8, настроенный на частоту 135 МГц. Каскад на транзисторе VT3 - усилительный. Контур L3C12 выделяет сигнал частотой 135 МГц. Второй утроитель частоты собран на транзисторе VT4. Его нагрузка - контур на элементах L4-L6, С17, С 18, С20 - выделяет сигнал частотой 405 МГц и подавляет побочные продукты умножения частоты. 4ерез цепь связи C19L7 сигнал подается на контур L8C21C22 дополнительно улучшающий фильтрацию спектра выходного сигнала, 4ерез петлю связи L9 колебания частотой 405 МГц поступают на выходной разъем XW1 и далее на смеситель.

ЧМ приемник на диапазон 430 МГц
Рис.3 (нажмите для увеличения)

Конструктивно приемник собран в двух корпусах, изготовленных из посеребренной латуни (меди) и разделенных на секции перегородками. Сигнальный блок выполнен объемно-печатным монтажом на плате. В гетеродине применен объемный монтаж на опорных штырях, изолированных от корпуса фтороплас-товыми втулками. Опорными элементами для цепей питания служат блокировочные конденсаторы С5, С7, С9, С11, С13, С15, С16.

Расположение основных элементов в блоках показано на рис. 4. Выводы элементов должны быть как можно короче, катушки L4, L5 и линии L6, L8 в блоке гетеродина припаивают непосредственно к выводам конденсаторов С17, C18, C20-C22. Чтобы уменьшить размеры СВЧ колебательных систем, во входной цепи сигнального тракта и выходных цепях гетеродина применены спиральные резонаторы, имеющие длину во много раз меньше, чем полосковые линии [4]. Линия L1 в радиочастотном блоке изготовлена из посеребренной медной полосы шириной 4 и толщиной 1 мм, свернутой в спираль диаметром 6,5 и шагом 2,5 мм. Число витков в спирали - 5, отводы сделаны от 1-го и 4-го витков. Линия L8 блока гетеродина выполнена аналогично, но без отводов. Петли связи L7, L9 сделаны в виде скоб из отрезков посеребренного медного провода диаметром 0,8 и длиной 30 мм (рис. 4). Резонатор L6 представляет собой посеребренную полосу размерами 48Х4Х1 мм. Отводы расположены на растоянии 6,5+9,5+16 мм (считая от конца, соединенного с корпусом).

ЧМ приемник на диапазон 430 МГц
Рис.4

Катушки L2, L3, L5, L7 в сигнальном блоке намотаны виток к витку проводом ПЭВ-2 0,5; L2 содержит 5+4 витка, L3, L5 - по 6+4, L7 - 12. В гетеродине катушки L2 и L3 имеют 2+1,5 витка, L4 и L5 - по 3 витка. L2 и L3 выполнены с шагом 2 мм посеребренным проводом диаметром 0,8 мм, L4, L5 - с шагом 4 мм посеребренным проводом диаметром 1,2 мм. Эти катушки намотаны на полистироловых каркасах диаметром 6,5 мм от трактов УПЧИ унифицированных телевизоров. Дроссели L4, L6 - ДМ-0,1. Конденсатор С20 сигнального блока изготовлен из подстроечного с воздушным диэлектриком и удлиненной осью; размещен непосредственно около контура L7C18.

Постоянные резисторы - МЛТ. Подстроечные конденсаторы - КПВМ, опорные - КО-2 или любые, подходящие по габаритам, емкостью 1000...6800 пФ, остальные - КМ, КД. Конденсаторы С16, С22 в сигнальном блоке - К53-1 или К50-6.

Вместо диода ГИ401А можно применить ГИ401Б, АИ402А с любым буквенным индексом, вместо транзисторов ГТ313Б - КТ3128А, КТ3127А, КТ328Б. Транзистор ГТ31 IE (VT5 в сигнальном блоке) заменим на ГТ311И, КТ306Б, КТ312Б, КТ316А.

Приемник начинают налаживать с сигнального блока. К выходному разъему XW1 присоединяют усилитель 3Ч. Затем подключают источник питания и убеждаются в работе каскада на транзисторе VT5, для чего прикасаются отверткой к эмиттеру транзистора. При исправном транзисторе должен прослушиваться фон переменного тока. Далее к коллектору транзистора VT4 подключают антенну или генератор стандартных сигналов (ГСС) и перестройкой контура C20C18L7 добиваются прием! радиолюбительских станций ил" несущей частоты ГСС в диапазоне 28...30 МГц. При настройке на несущую должен наблюдаться захват и удержание частоты. При необходимости подбирают конденсаторы С18 и С19, Добиваясь устойчивого приема [3]. После этого антенну или ГСС подключают к базе транзистора VT3, а затем к точке соединения элементов VD1 и С2 и проверяют работоспособность тракта ПЧ. Контуры L2C3C4, L3C8R8, L5C14R16 настраивают так, чтобы полоса пропускания тракта ПЧ составляла 25...35 МГц,

Настройку блока гетеродина начинают с кварцевого генератора - должна быть устойчивая генерация на третьей механической гармонике кварцевого резонатора. В остальных каскадах контуры настраивают на частоты, указанные на рис. 3. Затем подключают выход блока гетеродина к смесителю сигнального блока и, подавая на антенный вход с ГСС несущую частоту в диапазоне 430... 440 МГц, перестройкой контура L7C20C18 добиваются приема сигнала. После этого уменьшают уровень сигнала на входе приемника до срыва удержания частоты и, подстраивая контуры L1C1 в сигнальном блоке и L6C20, L8C21C22 в гетеродине, получают надежный захват и удержание частоты сигнала. Эти операции повторяют до тех пор, пока не будет достигнуто минимальное значение входного сигнала, еще обеспечивающее удержание частоты. На этом настройку приемника можно считать законченной.

Литература

  1. Поляков В. Радиосвязь с ФМ. - Радио, 1986, № 1, с. 24-26.
  2. Поляков В. Т. Радиовещательные ЧМ приемники с фазовой автоподстройкой.- М.: Радио и связь, 1983.
  3. Захаров А. У KB ЧМ приемники с ФАПЧ.- Радио, 1985, № 12, с. 28-30.
  4. Жеребцов И. Введение в технику дециметровых и сантиметровых волн.- Л.: Энергия, 1976.

Автор: А. Михельсон (UA6AFL) г. Краснодар; Публикация: Н. Большаков, rf.atnn.ru

Смотрите другие статьи раздела Радиоприем.

Читайте и пишите полезные комментарии к этой статье.

<< Назад

Последние новости науки и техники, новинки электроники:

Питомцы как стимулятор разума 06.10.2025

Помимо эмоциональной поддержки, домашние питомцы могут оказывать заметное воздействие на когнитивные процессы, особенно у пожилых людей. Новое масштабное исследование показало, что общение с кошками и собаками не просто улучшает настроение - оно действительно способствует замедлению возрастного снижения умственных способностей. Работа проводилась в рамках проекта Survey of Health, Ageing and Retirement in Europe (SHARE), охватывающего период с 2004 по 2022 год. В исследовании приняли участие тысячи европейцев старше 50 лет. Анализ показал, что владельцы домашних животных демонстрируют более устойчивые когнитивные функции по сравнению с теми, кто не держит питомцев. Особенно выражен эффект оказался у владельцев кошек и собак. Согласно данным ученых, владельцы собак дольше сохраняют хорошую память, в то время как хозяева кошек медленнее теряют способность к быстрому речевому взаимодействию. Исследователи связывают это с тем, что ежедневное взаимодействие с животными требует внимани ...>>

Мини-ПК ExpertCenter PN54-S1 06.10.2025

Компания ASUSTeK Computer презентовала новый мини-компьютер ASUS ExpertCenter PN54-S1. Устройство ориентировано на пользователей, которым важно сочетание производительности, энергоэффективности и универсальности - от офисных задач до мультимедийных проектов. В основе ExpertCenter PN54-S1 лежит современная аппаратная платформа AMD Hawk Point, использующая архитектуру Zen 4. Это поколение чипов отличается улучшенным управлением энергопотреблением и повышенной вычислительной мощностью. Новинка доступна в конфигурациях с процессорами Ryzen 7260, Ryzen 5220 и Ryzen 5210, представленных AMD в начале 2025 года. Таким образом, устройство охватывает широкий диапазон задач - от базовых офисных до ресурсоемких вычислений. Корпус мини-ПК выполнен из прочного алюминия и имеет размеры 130&#215;130&#215;34 мм, что делает его практически незаметным на рабочем столе или за монитором. Несмотря на компактность, внутренняя компоновка позволяет установить два модуля оперативной памяти SO-DIMM ...>>

Глазные капли, возвращающие молодость зрению 05.10.2025

С возрастом человеческий глаз постепенно теряет способность четко видеть на близком расстоянии - развивается пресбиопия, или возрастная дальнозоркость. Этот естественный процесс связан с утратой эластичности хрусталика и ослаблением цилиарной мышцы, отвечающей за фокусировку. Миллионы людей по всему миру сталкиваются с необходимостью носить очки для чтения или прибегают к хирургическим методам коррекции. Однако исследователи из Центра передовых исследований пресбиопии в Буэнос-Айресе представили решение, которое может стать удобной и неинвазивной альтернативой - специальные глазные капли, способные улучшать зрение на длительный срок. Разработку возглавила Джованна Беноцци, директор Центра. По ее словам, цель исследования состояла в том, чтобы предоставить пациентам с пресбиопией эффективный и безопасный способ коррекции зрения без хирургического вмешательства. Новые капли, созданные на основе пилокарпина и диклофенака, показали убедительные результаты: уже через час после первого пр ...>>

Случайная новость из Архива

Порошковое покрытие электродов улучшит параметры аккумуляторов 09.09.2022

В последние годы ученые активно занимаются разработкой новых типов аккумуляторных батарей, показатели которых должны по всем параметрам превосходить показатели литий-ионных батарей. Одним из самых перспективных типов считаются литий-металлические батареи, однако они имеют один недостаток - быстрый рост дендритов, древовидных токопроводящих образований из металла, которые сначала снижают емкость батареи, а затем приводят к ее полному выходу из строя.

Исследователи из института Райса (Rice University) отыскали перспективное решение трудности роста дендритов. Для предотвращения этого на поверхность электродов наносится покрытие из специального порошка, что позволяет сохранить батарею в исправности долгое время.

В литий-металлических батареях графитовый электрод, используемый в качестве анода в литий-ионных батареях, заменен электродом из чистого металлического лития. Это позволяет значительно увеличить показатель плотности хранения энергии, сократить время зарядки и на порядок поднять количество циклов заряда-разрядки, выдерживаемое батареей без существенной потери ее емкости.

Однако, активный рост дендритов приводит к потере емкости, выходу из строя и самовозгоранию в особо тяжелых случаях. Ученые из университета Райса уже давно работают над решением этой проблемы, и они разработали несколько методов борьбы с дендритами, основанные на использовании углеродных нанотрубок, лазерной обработки и специализированных покрытий.

В этот раз ученые предложили новый, достаточно простой и эффективный способ защиты анода. Вначале анод подвергается специальной обработке, которая придает ему текстурированную поверхность. После этого на обработанную поверхность наносится слой мелкодисперсного порошка из соединения, содержащего серу и фосфор. Это соединение вступает в химическую реакцию с материалом анода и на нем возникает идеальное защитное покрытие, которое изменяет энергетику поверхности и предотвращает потерю анода металлического лития.

Само покрытие выступает в роли своего рода стабилизатора, сглаживающего броски тока, отдаваемого батареей, дающего положительную сторону на ее долговечности. В ходе экспериментов батареи с защищенным анодом после 340 циклов заряда разрядки сохранили на 70 процентов больше емкости, чем без защитного покрытия. И если взять другую основную метрику деградации батарей, называемую поляризацией, то новое защитное покрытие позволило удержать сверхнизкий уровень поляризации в течение 4 тысяч часов, примерно в восемь раз дольше, чем обычные батареи.

Использование порошкового покрытия металлического литиевого анода значительно снижает темпы роста древовидных металлических образований, дендритов, приводящих к выходу батареи из строя. Также это препятствует ускоренному расходу материала анода, что повышает ресурс батареи.

Другие интересные новости:

▪ Японцы готовят новые типы цифровых видеомагнитофонов

▪ Сайты узнают, что чувствуют посетители

▪ Охлаждение электроники прыгающими капельками

▪ Самая яркая звезда

▪ Беспроводные наушники NeoBuds Pro с поддержкой Hi-Res Audio

Лента новостей науки и техники, новинок электроники

 

Интересные материалы Бесплатной технической библиотеки:

▪ раздел сайта Преобразователи напряжения, выпрямители, инверторы. Подборка статей

▪ статья Зонтик-теплица. Советы домашнему мастеру

▪ статья Сколько видов животных и растений обитает на Земле? Подробный ответ

▪ статья Водитель троллейбуса. Должностная инструкция

▪ статья Мощный ламповый усилитель с многопетлевой ООС. Энциклопедия радиоэлектроники и электротехники

▪ статья Стабилизатор напряжения на мощном полевом транзисторе. Энциклопедия радиоэлектроники и электротехники

Оставьте свой комментарий к этой статье:

Имя:


E-mail (не обязательно):


Комментарий:




Комментарии к статье:

Андрей
Оконечный каскад и ЧМ детектор - это по сути "УКВ ЧМ приемник Захарова " из журнала Радио.Такой приемник был мной собран в 90-х годах и показал ужасную неустойчивость и чувствительность (уровень сигнала должен быть десятки милливольт). Коэфициент усиления УПЧ - максимум 60дБ. Считаем: 0,1мкВ - 3дБ = 66нВольт. Входное сопротивление первого каскада - примерно 2000Ом. Коэф трансформации - коренКвадратный(2000/50) = 6. Итого - 0,4мкВ на входе УПЧ. Множим на коэф.усиления УПЧ 1000 получим - 400мкВ. Тоесть приемлимый уровень сигнала на входе приемника должен быть в раз 10 больше. Где-то 10мкВ. Иначе придется следить чтобы муха/ветер/солнце не сбило гетеродин и детектор типа "Приемник УКВ ЧМ Захарова".


Главная страница | Библиотека | Статьи | Карта сайта | Отзывы о сайте

www.diagram.com.ua

www.diagram.com.ua
2000-2025