Menu Home

Бесплатная техническая библиотека для любителей и профессионалов Бесплатная техническая библиотека


Гетеродинный УКВ приемник на 144 МГц. Энциклопедия радиоэлектроники и электротехники

Бесплатная техническая библиотека

Энциклопедия радиоэлектроники и электротехники / Радиоприем

Комментарии к статье Комментарии к статье

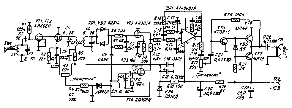
При разработке гетеродинного приемника на диапазон 144...146 МГц приходится учитывать специфические особенности УКВ. Насыщенность диапазона станциями очень мала, поэтому требования к селективности приемника можно несколько снизить. Это позволяет применить в УЗЧ активный фильтр и избежать трудоемкого процесса намотки низкочастотных катушек. В то же время уровень внешних шумов мал, а сигналы станций слабы, поэтому чувствительность приемника должна быть предельно высокой. Необходим УРЧ и УЗЧ с большим коэффициентом усиления. Принципиальная схема приемника на диапазон 2 м, спроектированного с учетом названных особенностей, приведена на рис.1.

Гетеродинный УКВ приемник на 144 МГц
Рис.1 (нажмите для увеличения)

Входной сигнал от антенны через контур L1C1 подается на УРЧ, собранный по каскодной схеме на полевых транзисторах VTI и VT2. На выходе УРЧ включен двухконтурный полосовой фильтр L2C4 и L3C5, значительно ослабляющий внедиапазонные помехи (сигналы телецентров и т. д.). УРЧ, собранный на полевых транзисторах, отличается высокой линейностью, но имеет небольшой коэффициент усиления. Для повышения усиления транзистор VT2 можно заменить биполярным, например типа ГТ311. Если при этом возникает самовозбуждение, коллектор транзистора следует присоединить к отводу катушки L2. Смеситель приемника выполнен на встречно-параллельных диодах VD1, VD2. Гетеродин, собранный на полевом транзисторе VT4, перестраивается в диапазоне 72...73 МГц. Для настройки служит варикап VD3. Изменяя место подключения варикапа, можно изменять и диапазон перестройки в пределах от 100 кГц до нескольких мегагерц.

В первом каскаде УЗЧ установлен малошумящий полевой транзистор VT3. Для предварительной фильтрации звуковых сигналов служит цепочка R6C9, установленная в цепи его затвора. Усиленный сигнал НЧ подается на основной усилитель-микросхему DA1. Элементами активного фильтра на входе основного усилителя являются цепочки R11C13 и R12C14. Напряжение обратной связи, необходимое для работы активного фильтра, получается из выходного напряжения усилителя с помощью делителя R13R14. Отношение сопротивлений резисторов делителя примерно равно коэффициенту усиления микросхемы. По постоянному току усилитель охвачен 100%-ной отрицательной обратной связью, стабилизирующей его режим.

Далее усиленный и отфильтрованный НЧ сигнал подается через регулятор громкости R17 на оконечный усилитель, собранный по обычной схеме. Он содержит усилитель напряжения на транзисторе VT5 и двухтактный эмиттерный повторитель на транзисторах VT6 и VT7. Питается приемник от стабилизированного выпрямителя с выходным напряжением 12 В. Потребляемый ток в режиме молчания составляет 25 мА.

В приемнике можно применить транзисторы и операционный усилитель указанных типов с любыми буквенными индексами. Оконечный УЗЧ можно собрать на любых низкочастотных транзисторах подходящей структуры. Стабилитрон VD4 - любого типа, с напряжением стабилизации 8...9 В. В высокочастотной части приемника использованы керамические конденсаторы, остальные конденсаторы и резисторы могут быть любых типов. Все подстроенные конденсаторы - КПК-М, но в гетеродине лучше установить конденсатор С11 с воздушным диэлектриком.

Катушки приемника намотаны проводом ПЭЛ 0,7. Катушки LI, L2 и L3 бескаркасные, диаметром 5 мм. L1 содержит 5 витков при длине намотки 8 мм, а L2 и L3 по 4 витка, намотанных виток к витку. Каркасом катушки гетеродина L4 служит керамическая трубочка диаметром 5 мм. Провод наматывается с большим натяжением и закрепляется пайкой концов к металлизированным участкам керамики. Можно закрепить провод и клеем БФ-2, но стабильность частоты гетеродина в этом случае будет хуже. Катушка содержит 6 витков, отвод сделан от 1,5 витка, длина намотки 6 мм.

Приемник смонтирован на печатной плате из фольгированного стеклотекстолита размерами 220Х45 мм. Расположение деталей показано на рис. 2а. Фольга с платы нигде не удаляется, лишь между отдельными ее участками прорезаются острым ножом или резаком изолирующие дорожки. Ширина дорожек 1...2 мм. Такой монтаж обеспечивает максимальную площадь "земляных" проводников и естественную экранировку между токонесущими участками, что значительно уменьшает паразитные связи и улучшает стабильность приемника. Можно применить и разработанный UW3FL монтаж "на точках" [6]-круглых площадках диаметром 5... 7 мм, отделенных изолирующей дорожкой от остальной фольги, служащей общим проводом. Детали припаиваются выводами к "точкам" или к общему проводу со стороны фольги. Плата приемника размещается на прочном шасси или, еще лучше, в закрытой металлической коробке (корпусе). Необходимо позаботиться о механической прочности корпуса и надежности всех электрических контактов между частями конструкции, поскольку от этого зависит стабильность частоты гетеродина.

Гетеродинный УКВ приемник на 144 МГц
Рис.2 (нажмите для увеличения)

Выводы резисторов R3 и R17, если они имеют значительную длину, следует провести экранированным проводом. Монтаж приемника может быть и навесным, если подобрать или изготовить прямоугольную коробку с размерами, близкими к указанным. Внутри следует установить несколько экранирующих перегородок, выделив входной контур, смеситель и гетеродин.

В отличие от KB приемника, включив который можно надеяться сразу услышать хотя бы мощные станции, УКВ приемник, прежде чем он "оживет", нуждается в тщательном и кропотливом налаживании. Сначала измеряют напряжение на эмиттерах транзисторов VT6, VT7 и устанавливают его равным половине напряжения питания, подбирая резистор R20. Аналогичным образом устанавливают напряжение 6В на выходе операционного усилителя (вывод 5 микросхемы), подбирая резистор R9 в цепи истока транзистора VT3. В случае самовозбуждения УЗЧ при установке регулятора R17 в положение максимальной громкости увеличивают емкость блокировочных конденсаторов С16, С20 и С23, экранируют выводы потенциометра R17 и провод, идущий к выходному гнезду XSL Шум первого каскада нормально работающего УЗЧ прослушивается довольно громко. Если имеется звуковой генератор, полезно снять частотную характеристику УЗЧ, присоединив ЗГ через делитель напряжения к точке соединения резисторов R6 и R7. Усилитель должен иметь полосу пропускания по уровню 0,7 450...2700 Гц. Ослабление сигнала на частоте 10 кГц достигает 30 дБ. Скорректировать АЧХ усилителя можно, подбирая номиналы конденсаторов С9, С 13, С 14 и резистора R14.

Для настройки высокочастотной части приемника желательно иметь резонансный волномер, ГИР или УКВ генератор. Частоту гетеродина 72...73 МГц можно установить, принимая его сигнал на радиовещательный приемник с УКВ диапазоном. Гетеродин прослушивается как несущая мощной станции в паузах передачи. Ротор конденсатора С11 при правильной настройке оказывается введенным примерно на 3/4. Контуры УРЧ настраиваются по максимуму шума на выходе приемника. Роторы конденсаторов этих контуров оказываются введенными примерно на 1/3. Настройка контуров довольно острая. Контуры можно настроить точнее по максимуму какого-либо, сигнала с частотой 144 МГц, поданного на вход приемника. При отсутствии УКВ генератора можно принять гармонику простейшего самодельного кварцевого генератора, работающего на частоте 8, 9, 12, 18 и т. д. МГц. Хорошо прослушивается пятая гармоника генераторов, работающих на частоте 10-метрового диапазона 28,8 МГц. После настройки приемник градуируют с помощью кварцевого калибратора. Шкалу удобно выполнить в виде диска, насаженного на ось потенциометра настройки.

Настроенный приемник имеет высокую чувствительность. При подключении наружной антенны 2-метрового диапазона шум заметно возрастает за счет "шума эфира" даже при отсутствии индустриальных помех. Недостатком приемника является невысокая стабильность частоты гетеродина, из-за этого при приеме SSB станций его приходится часто подстраивать. Телеграфные станции принимаются гораздо лучше, тон их достаточно чистый. Однако при больших изменениях температуры и питающего напряжения уход частоты гетеродина может достигать десятков килогерц. Поэтому для периодической проверки калибровки шкалы полезно иметь опорный сигнал с известной частотой, полученной от кварцевого калибратора или простейшего кварцевого гетеродина. Опорным генератором с успехом может служить задающий генератор телеграфного передатчика с кварцевой стабилизацией частоты. Если же в передатчике уже имеется перестраиваемый генератор, его сигнал можно подать на смеситель приемника, построив таким образом трансивер прямого преобразования. Транзистор VT4 и варикап VD3 в этом случае не устанавливаются, а контур L4C11 связывается с промежуточным каскадом передатчика, настроенным на частоту 72 МГц. Перестраиваемый задающий генератор можно построить по схеме кварцевого генератора с уводом частоты внешними элементами, подключенными к резонатору (VXO) или по схеме со смещением сигналов кварцевого и плавного гетеродинов.

При работе приемника в составе радиостанции необходимо позаботиться о защите транзисторов УРЧ от мощного сигнала собственного передатчика. Желательно применить антенное реле с малой емкостью контактов. Для ограничения просочившегося сигнала контур L1C1 полезно зашунтировать парой встречно-параллельных кремниевых диодов, например типа КД503.- Описанный приемник можно выполнить и портативным для проведения экспериментов по УКВ связи, "охоты на лис" и т. д. Стабилитрон VD4 в этом случае не устанавливают, а для питания используют батарею напряжением 9 В.

Автор: В.Т.Поляков, г.Москва; Публикация: Н. Большаков, rf.atnn.ru

Смотрите другие статьи раздела Радиоприем.

Читайте и пишите полезные комментарии к этой статье.

<< Назад

Последние новости науки и техники, новинки электроники:

Питомцы как стимулятор разума 06.10.2025

Помимо эмоциональной поддержки, домашние питомцы могут оказывать заметное воздействие на когнитивные процессы, особенно у пожилых людей. Новое масштабное исследование показало, что общение с кошками и собаками не просто улучшает настроение - оно действительно способствует замедлению возрастного снижения умственных способностей. Работа проводилась в рамках проекта Survey of Health, Ageing and Retirement in Europe (SHARE), охватывающего период с 2004 по 2022 год. В исследовании приняли участие тысячи европейцев старше 50 лет. Анализ показал, что владельцы домашних животных демонстрируют более устойчивые когнитивные функции по сравнению с теми, кто не держит питомцев. Особенно выражен эффект оказался у владельцев кошек и собак. Согласно данным ученых, владельцы собак дольше сохраняют хорошую память, в то время как хозяева кошек медленнее теряют способность к быстрому речевому взаимодействию. Исследователи связывают это с тем, что ежедневное взаимодействие с животными требует внимани ...>>

Мини-ПК ExpertCenter PN54-S1 06.10.2025

Компания ASUSTeK Computer презентовала новый мини-компьютер ASUS ExpertCenter PN54-S1. Устройство ориентировано на пользователей, которым важно сочетание производительности, энергоэффективности и универсальности - от офисных задач до мультимедийных проектов. В основе ExpertCenter PN54-S1 лежит современная аппаратная платформа AMD Hawk Point, использующая архитектуру Zen 4. Это поколение чипов отличается улучшенным управлением энергопотреблением и повышенной вычислительной мощностью. Новинка доступна в конфигурациях с процессорами Ryzen 7260, Ryzen 5220 и Ryzen 5210, представленных AMD в начале 2025 года. Таким образом, устройство охватывает широкий диапазон задач - от базовых офисных до ресурсоемких вычислений. Корпус мини-ПК выполнен из прочного алюминия и имеет размеры 130&#215;130&#215;34 мм, что делает его практически незаметным на рабочем столе или за монитором. Несмотря на компактность, внутренняя компоновка позволяет установить два модуля оперативной памяти SO-DIMM ...>>

Глазные капли, возвращающие молодость зрению 05.10.2025

С возрастом человеческий глаз постепенно теряет способность четко видеть на близком расстоянии - развивается пресбиопия, или возрастная дальнозоркость. Этот естественный процесс связан с утратой эластичности хрусталика и ослаблением цилиарной мышцы, отвечающей за фокусировку. Миллионы людей по всему миру сталкиваются с необходимостью носить очки для чтения или прибегают к хирургическим методам коррекции. Однако исследователи из Центра передовых исследований пресбиопии в Буэнос-Айресе представили решение, которое может стать удобной и неинвазивной альтернативой - специальные глазные капли, способные улучшать зрение на длительный срок. Разработку возглавила Джованна Беноцци, директор Центра. По ее словам, цель исследования состояла в том, чтобы предоставить пациентам с пресбиопией эффективный и безопасный способ коррекции зрения без хирургического вмешательства. Новые капли, созданные на основе пилокарпина и диклофенака, показали убедительные результаты: уже через час после первого пр ...>>

Случайная новость из Архива

Вода не менее ценна, чем нефть или газ 07.05.2012

Исследователи из института Фраунгофера разработали высокотехнологичную концепцию использования водных ресурсов, которые уже в ближайшем будущем будут не менее ценны, чем нефть или газ.

Новая концепция под названием DEUS (Decentral Urban Water Infrastructure Systems) призвана упростить переработку воды, ее очистку и превращение стоков в биогаз и удобрения.

Чистая питьевая вода является ценнейшим и важнейшим "санитарным правом" человека. Тем не менее, почти 780 млн человек во всем мире до сих пор не имеют доступа к питьевой воде, а около 2,6 млрд - живут без санитарных удобств. Вода также является важным экономическим фактором: сегодня сельскохозяйственные и промышленные предприятия уже используют более 4/5 добываемой воды и спрос продолжает расти. Организация экономического сотрудничества и развития (OECD) ожидает, что к 2050 году глобальное потребление воды вырастет более чем наполовину. Около 40% населения мира будет жить в регионах с экстремальной нехваткой воды - это на 2,3 млрд человек больше, чем сегодня.

При этом многие страны очень расточительно относятся к воде. Например, только в Германии каждый человек потребляет около 120 литров воды в день. Причем из этого количества человек выпивает только 3 л, а остальная вода просто спускается в канализацию. В некоторых регионах мира, чистая вода слишком драгоценна, чтобы тратить ее на транспортировку отходов. Концепция DEUS предлагает эффективное использование воды. Данная концепция, в частности, будет применена в промышленном парке в городе Гуанчжоу, провинция Гуандун, Китай.

Прежде всего, согласно DEUS, нужно использовать очищенную дождевую воду. Обработанная дождевая вода может использоваться для душа, стирки, унитаза и полива сада. Система вакуумной канализации значительно снижает потребление воды. Вакуумному туалету для смыва нужно 0,5-1 л воды, в то время как обычному - 4-8 л.

Бытовые сточные воды должны в обязательном порядке отфильтровываться с помощью мембран с порами от 60 нм до 0,2 мкм. Захваченные органические частицы должны отправляться в биореактор и производить удобрения и биогаз (смесь метана и углекислого газа). Таким образом сточная вода не только не засоряет окружающую среду, но и служит сырьем для производства подкормки для растений и топлива для теплоэлектростанций.

Другие интересные новости:

▪ Смешливость зависит от генов

▪ Процесс Bizen лучше, чем CMOS

▪ Супергибкая и огнестойкая древесина

▪ Новые силовые модули серии SPM

▪ Новые синхронные DC/DC-преобразователи напряжения

Лента новостей науки и техники, новинок электроники

 

Интересные материалы Бесплатной технической библиотеки:

▪ раздел сайта Нормативная документация по охране труда. Подборка статей

▪ статья Генрик Ибсен. Знаменитые афоризмы

▪ статья Что такое юмор? Подробный ответ

▪ статья Пальчатая трава. Легенды, выращивание, способы применения

▪ статья Фототранзистор-индикатор дыма. Энциклопедия радиоэлектроники и электротехники

▪ статья Кубик прошел сквозь стекло. Секрет фокуса

Оставьте свой комментарий к этой статье:

Имя:


E-mail (не обязательно):


Комментарий:





Главная страница | Библиотека | Статьи | Карта сайта | Отзывы о сайте

www.diagram.com.ua

www.diagram.com.ua
2000-2025