Menu Home

Бесплатная техническая библиотека для любителей и профессионалов Бесплатная техническая библиотека


Безопасное зарядное устройство

Бесплатная техническая библиотека

Энциклопедия радиоэлектроники и электротехники / Зарядные устройства, аккумуляторы, гальванические элементы

Комментарии к статье Комментарии к статье

В предлагаемой конструкции акцент сделан на безопасность зарядки. Устройство проверяет правильность подключения аккумулятора, автоматически отключает его по окончании зарядки, прекращает зарядку при нагревании аккумулятора выше заданной температуры.

Известно, что даже алгоритм быстрой зарядки (током 1...2С, где С - емкость аккумулятора) предполагает длительность процесса зарядки 1...5 ч [1]. Трудно представить, что все это время за процессом будет вестись наблюдение. И это притом, что именно быстрая зарядка является наиболее опасной. Даже при небольшом несоблюдении режима возможен разрыв корпуса аккумулятора со всеми вытекающими последствиями. Существенно более безопасна стандартная зарядка током 0,1С, но она длится чересчур долго (до 14...16ч).

Описываемое устройство обеспечивает ускоренную зарядку (4...7 ч) одного Ni-Cd или Ni-MH аккумулятора емкостью от 250 до 1000 мАч. Широкий интервал тока зарядки отнюдь не способствует безопасности работы устройства из-за возможных ошибок пользователя при установке тока зарядки, поэтому предусмотрены различные способы защиты аккумулятора и самого зарядного блока. В результате получилось устройство, которое может показаться излишне сложным. Однако эта сложность окупится продленным сроком службы аккумулятора и спокойствием за противопожарную обстановку в квартире.

Возможность зарядки лишь одного аккумулятора обусловлена желанием обеспечить полную и, опять же, безопасную зарядку. Из технических характеристик устройства следует отметить "мягкий" режим ускоренной зарядки, автоматическое отключение аккумулятора после окончания зарядки, защиту от неверной полярности его подключения и от перегрева, индикацию режимов, звуковое оповещение об аварийном режиме и, наконец, довольно низкое напряжение питания (от 3,5 В), что в некоторых случаях может оказаться весьма желательным.

Принципиальная схема устройства изображена на рис. 1.

Безопасное зарядное устройство
(нажмите для увеличения)

Его основная часть - стабилизатор тока - состоит из трех узлов: задающего стабилизатора напряжения и двух идентичных по схеме регуляторов тока. Основной регулятор (DA6.1, VT3) обеспечивает ток зарядки, равный 0,1С, и работает на протяжении всего цикла. Второй регулятор (DA6.2, VT4) - его можно назвать форсированным - выдает ток, равный 0,ЗС, и включается, когда напряжение на аккумуляторе больше 0,6 В, но не достигло 1,4 В. В это время работают оба регулятора и, будучи включенными параллельно, питают аккумулятор суммарным током 0,4С.

Ограничения на работу форсированного регулятора тока обусловлены следующим. Если аккумулятор сильно разряжен (напряжение на нем Uакк< 0,6 В), заряжать его большим током небезопасно, поэтому зарядка производится током 0,1С с участием только основного регулятора тока. Когда же напряжение Uакк достигает 1,4 В, форсированный регулятор отключается, так как это напряжение близко к предельному, и дальнейшую зарядку целесообразно производить стандартным током 0,1С. По достижении Uакк= 1,48 В отключается и основной регулятор - зарядка прекращается. При этом светодиод HL3 ("Зарядка") гаснет, a HL1 ("Зарядка окончена") загорается. Диоды VD1, VD2 предотвращают разрядку аккумулятора после прекращения зарядки.

Оба регулятора являются источниками тока, управляемыми напряжением. Управляющее напряжение (относительно плюсового провода питания) формируется задающим стабилизатором напряжения DA3 и регулируется переменным резистором R23 (им устанавливают необходимый ток зарядки в зависимости от емкости аккумулятора).

Особенность примененных в регуляторах тока ОУ КР1446УД1А [2] - способность работать при низких напряжениях питания (от 2,5 В при однопо-лярном), а главное, в том, что размах входных и выходных сигналов у них практически равен сумме напряжений питания. В нашем случае DA6.1 работает с входным напряжением, равным Us - UR25, где Us - положительное напряжение питания, a UR25 - падение напряжения на измерительном резисторе R25. Последнее, по сути, является "копией" управляющего напряжения (как известно, напряжения на обоих входах ОУ, охваченного ООС, совпадают с точностью до напряжения смещения нуля). Таким образом, при зарядном токе 25 мА (для аккумулятора емкостью 250 мА·ч) UR25 = 0,2 В. Это значит, что входное напряжение можетбыть всего на 0,2 В меньше положительного напряжения питания ОУ DA6.1. Распространенные ОУ допускают работу с входными напряжениями не более (Us - 1,5...2) В.

То же можно сказать и о выходных напряжениях. В процессе зарядки DA6.1 обеспечивает выходное напряжение, равное

Us - UR25 - UБЭ VT3, где UБЭ VT3 - прямое напряжение на эмиттерном переходе VT3 (0,6...0,8 В). Для прекращения работы регулятора тока ОУ обеспечивает напряжение, равное Us, закрывая, таким образом, транзистор.

Все сказанное выше относится и к форсированному регулятору на DA6.2. Выключаются оба регулятора транзисторами VT1 и VT2 соответственно (точнее, это делает VT1, так как открывшись, он шунтирует резисторы R21, R23, с которых подается напряжение на входы обоих ОУ).

В выключенном состоянии выходной ток регулятора не равен нулю, так как не равно нулю напряжение на резисторе R25. Тому две причины. Во-первых, отлично от нуля сопротивление канала открытого полевого транзистора VT1, поэтому и напряжение

UСИ VT1 составляет несколько милливольт. Вторая причина - напряжение смещения нуля ОУ DA6.1. В результате напряжение на резисторе R25 зависит от знака напряжения смещения нуля и равно UСИ VT1 ± UCM DA6.1. В данном случае лучше использовать ОУ КР1446УД1А, у него напряжение смещения не превышает ±3 мВ, поэтому в выключенном состоянии регулятор выдает небольшой остаточный ток 1...3 мА.

Точно так же ведет себя и форсированный регулятор тока. В результате после окончания зарядки стабилизатор тока поддерживает на аккумуляторе некоторое напряжение, препятствующее его разрядке за счет саморазрядки и тока утечки через цепи устройства. Причинить аккумулятору вред столь малый ток не может. Кроме того, такая особенность обеспечивает устройству стабильность при извлечении аккумулятора и поданном входном напряжении.

Ток, задаваемый основным регулятором, равен Uрег/R25, где Uрег - падение напряжения на резисторах R21+R23 (без учета напряжения смещения нуля ОУ DA6.1, его входного тока и тока утечки закрытого канала VT1).Uрег зависит от напряжения стабилизации DA3 (2,5 В) и коэффициента деления делителя напряжения R21-R23 (как отмечалось, оно отсчитывается от "плюса" питания). Ток, задаваемый форсированным регулятором, определяется аналогично.

Обратимся теперь ко второй части устройства, состоящей из формирователя образцовых напряжений, компараторов, в качестве которых использованы ОУ микросхем DA4, DA5, и логического узла.

Как видно из схемы, напряжение с аккумулятора подается на входы компараторов DA4.1-DA4.4 не непосредственно, а через резисторы R14, R16-R18, чтобы избежать повреждения ОУ при вставленном аккумуляторе и отключенном питании зарядного устройства. Резисторы на "образцовых" входах устраняют погрешность, вызванную входными токами ОУ (но не разностью входных токов). "Образцовый" вход ОУ DA4.3 такого резистора не имеет, так как от этого компаратора высокой точности не требуется.

Компаратор DA4.1 определяет момент отключения форсированного регулятора тока (при достижении напряжения на аккумуляторе 1,4 В), DA4.2 - момент окончания зарядки и выдает сигнал на отключение основного регулятора тока. Резистор R24, создающий положительную обратную связь, формирует небольшой (около 40 мВ) гистерезис, позволяющий избежать неустойчивого состояния компаратора после прекращения зарядки.

Компаратор DA4.3 выдает сигнал на включение форсированного регулятора тока, когда напряжение на аккумуляторе превысит 0,6 В, a DA4.4 "проверяет" правильность подключения аккумулятора: при неверной полярности регуляторы тока отключаются и пьезоэлектрический звонок НА1 выдает предупреждающий звуковой сигнал. Для определения полярности использована способность ОУ КР1401УД2А работать с входными напряжениями, меньшими напряжения питания отрицательной полярности.

Важная особенность описываемого устройства - контроль температурного режима заряжаемого аккумулятора. Он осуществляется с помощью датчика температуры DA2 и ОУ DA5.1. LM335Z - интегральный стабилизатор напряжения с линейной температурной характеристикой: его выходное напряжение увеличивается на 10 мВ при повышении температуры на каждый градус Цельсия. При температуре +25°С (298 К) выходное напряжение равно 2,98 В. При разогреве аккумулятора примерно до +33°С срабатывает компаратор DA5.1, зарядка прекращается, загорается светодиод HL2 ("Перегрев") и раздается звуковой сигнал (такой же, как и при неправильной полярности подключения аккумулятора).

Образцовые напряжения на компараторы поступают с формирователя, выполненного на DA1.

Логическое устройство на элементах микросхемы DD1 обрабатывает сигналы, поступающие с компараторов, управляет светодиодными индикаторами, звонком и регуляторами тока.

Вместо К1401УД2А в устройстве можно применить микросхему К1401УД2Б, а также ее зарубежный аналог LM124. КР1446УД1А заменима микросхемой этой серии с индексом Б или В, однако при этом не исключена ситуация, когда остаточный ток (после отключения регуляторов тока) либо будет слишком большим, либо его не будет вовсе. И то, и другое нежелательно. КР142ЕН19А можно заменить зарубежным аналогом TL431 в любом исполнении.

Кроме указанных на схеме, в устройстве допустимо использование полевых транзисторов серии КП303 с другими буквенными индексами, однако их напряжение отсечки должно быть не более 3 и, желательно, не менее 0,5 В. КТ814А могут быть заменены транзисторами этой серии с индексами Б, В. Экземпляр, который будет использоваться в форсированном регуляторе тока (VT4), должен иметь статический коэффициент передачи тока базы не менее 70 при токе эмиттера 300 мА. При соблюдении этого условия возможно применение транзистора серии КТ816. КТ3107А заменимы любыми из этой серии.

Диоды КД212 - с любым буквенным индексом. Светодиоды L-53LYD (желтого цвета свечения) и L-53LID (красного) фирмы Kingbright характеризуются малым рабочим током (светотехнические параметры нормированы при токе 2 мА) и могут быть заменены аналогичными с предельно допустимым прямым током не менее 7 мА. HL3 - любой светодиод зеленого цвета свечения. Пьезоэлектрический излучатель НА1 - НРМ14АХ фирмы JL World с встроенным генератором 3Ч (потребляемый ток - не более 7 мА).

Для установки зарядного тока (R23) рекомендуется использовать проволочный переменный резистор, например, ППЗ-40, ППЗ-41, а для установки образцовых напряжений (R3, R6, R11) - проволочные многооборотные СП5-2, СП5-3 и им подобные.

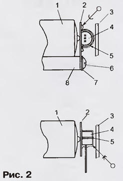
Детали зарядного устройства смонтированы на печатной плате, помещенной в пластмассовый корпус. Отсек для заряжаемого аккумулятора - открытый, в качестве контактов использованы контакты того же назначения от отечественного авометра М4317. Особое внимание необходимо уделить креплению термодатчика DA2 (рис. 2, поз. 4).

Безопасное зарядное устройство

Микросхема LM335Z имеет пластмассовый "транзисторный" корпус КТ-26 (ТО-92). Его крепят плоской стороной к положительному контакту 2 аккумуляторного отсека через тонкий слой невысыхающей теплопроводящей пасты. Если между положительным выводом аккумулятора 1 и контактом 2 обеспечено низкое электрическое сопротивление, то и тепловой контакт будет хорошим. Необходимо помнить, что масса и площадь поверхности контакта и примыкающих к нему металлических частей должны быть как можно меньше. Это обеспечит меньшую потерю тепла "по пути" от аккумулятора к датчику и, следовательно, увеличит точность определения температуры. Именно с этой целью под головки винтов 6, крепящих контакт 2 к основанию 8, подложены шайбы 7 из диэлектрика. Датчик 4 "прихвачен" к контакту отрезком провода МГТФ 5 (его концы припаяны к контакту) и по периметру корпуса залит тонким слоем эпоксидного клея. Стенка корпуса 3 служит упором, ограничивая отгиб контакта 2.

При зарядке на транзисторе VT4 выделяется мощность до 1,5 Вт, поэтому он установлен вертикально на дюралюминиевой пластине размерами 20x30x0,8 мм.

На верхней стенке корпуса устройства расположены светодиоды HL1 - HL3 и переменный резистор R23, ручка управления которого снабжена круглой шкалой установки зарядного тока. В авторском варианте шкала проградуирована в значениях емкости (от 250 до 1000 мАч), так проще избежать ошибок в установке тока. Пьезоэлектрический звонок НА1 имеет небольшие размеры и жесткие выводы, поэтому установлен на плате без какого-либо дополнительного крепления.

Налаживание устройства начинают с калибровки термодатчика DA2. Вначале устанавливают на выводе 3 DA5.1 образцовое напряжение UT. Для этого подают на вход постоянное напряжение 4,5...5,5 В, измеряют температуру Т (в градусах Кельвина) в месте установки зарядного устройства и вычисляют образцовое напряжение Uoбр= Т/100, соответствующее этой температуре. Напомним, что температура в градусах Кельвина равна температуре в градусах Цельсия + 273. Затем измеряют реальное напряжение Uизм на выводе 2 DA2 (или, что то же самое, на одноименном выводе DA5.1) и рассчитывают сдвиг температурной характеристики DA2 по формуле Δ = Uoбр - Uизм . После этого резистором R3 устанавливают образцовое напряжение UT = 3,06 - Δ (с учетом знака сдвига).

Затем подстроенными резисторами R6 и R11 последовательно устанавливают образцовые напряжения 1,4 и 1,48 В соответственно (допустимое отклонение - не более ±0,02 В).

В заключение градуируют шкалу переменного резистора R23. Для этого к контактам аккумуляторного отсека подключают амперметр, подают на вход напряжение 4,5...5,5 В и поворотом движка резистора R23 добиваются тока, равного 25 мА. На шкале отметку, соответствующую этому значению тока, обозначают как 250 мА·ч. Аналогично калибруют отметки 350, 500, 750 и 1000 мА·ч.

Литература

  1. Виноградов Ю. А. Радиолюбителю-конструктору: Си-Би связь, дозиметрия, ИК техника, электронные приборы, средства связи. - М.: ДМК, 1999.
  2. Бирюков С. Применение микросхем серии КР1446. - Радио, 2001, № 8, с. 47.

Автор: М.Богданов, г.Саров Нижегородской обл.

Смотрите другие статьи раздела Зарядные устройства, аккумуляторы, гальванические элементы.

Читайте и пишите полезные комментарии к этой статье.

<< Назад

Последние новости науки и техники, новинки электроники:

Впервые преоодолена передача ВИЧ от матери к ребенку 02.01.2026

Проблема вертикальной передачи ВИЧ - от матери к ребенку - остается одной из ключевых задач глобальной медицины. Недавний отчет Всемирной организации здравоохранения (ВОЗ) демонстрирует историческое достижение: Бразилия впервые в своей истории полностью преодолела этот путь передачи вируса. Страна стала 19-й в мире и первой с населением более 100 миллионов человек, которая достигла такого результата. Достижения Бразилии основаны на комплексных медицинских программах, обеспечивающих своевременный доступ к диагностике и терапии для всех слоев населения. ВОЗ официально подтвердило, что уровень передачи ВИЧ от матери к ребенку снизился до менее двух процентов. Более 95% беременных женщин в стране получают регулярный скрининг на ВИЧ и необходимое лечение в рамках стандартного ведения беременности. Изначально программа тестировалась в крупных муниципалитетах и штатах с населением более 100 тысяч человек, а затем была масштабирована на всю страну. Такой подход позволил унифицировать ста ...>>

Нанослой германия увеличивает эффективность солнечных батарей на треть 02.01.2026

Разработка высокоэффективных солнечных батарей остается одной из ключевых задач современной энергетики. Недавнее исследование южнокорейских ученых позволило повысить производительность тонкопленочных солнечных элементов почти на 30%, что открывает новые перспективы для возобновляемых источников энергии, гибкой электроники и сенсорных устройств. Команда исследователей сосредоточилась на элементах на основе моносульфида олова (SnS) - нетоксичного и доступного материала, который идеально подходит для гибких солнечных панелей. До настоящего времени эффективность SnS-устройств оставалась низкой из-за проблем на границе контакта с металлическим электродом. В этой области возникали структурные дефекты, диффузия элементов и электрические потери, что существенно ограничивало возможности таких батарей. "Этот интерфейс был главным барьером для достижения высокой производительности", - отмечает профессор Джейонг Хо из Национального университета Чоннам. Для решения этих проблем ученые предлож ...>>

Электростатическое решение для борьбы с льдом и инеем 01.01.2026

Борьба с льдом и инеем на транспортных средствах и критически важных поверхностях зимой остается сложной и затратной задачей. Ученые из Virginia Tech разработали инновационную технологию, способную разрушать лед и иней без использования тепла или химических реагентов, что открывает новые возможности для безопасной и экологичной зимней эксплуатации транспорта. Исследователи обнаружили, что лед и иней образуют кристаллическую решетку с так называемыми ионными дефектами - заряженными участками, способными перемещаться под воздействием электрического поля. Эти дефекты являются ключом к управлению прочностью льда и его удалением с поверхностей. Когда на замерзшую поверхность подается положительный электрический заряд, отрицательные ионные дефекты притягиваются к источнику поля. Это вызывает разрушение кристаллической решетки льда, в результате чего часть льда буквально "отскакивает" от поверхности. Такой эффект позволяет удалять лед без применения внешнего тепла или химических средств ...>>

Случайная новость из Архива

Таблетки от послеродовой депрессии 31.07.2025

Проблема послеродовой депрессии, которая затрагивает значительное число женщин после рождения ребенка, давно требует эффективных и быстрых решений. Недавно в США был одобрен первый препарат в форме таблетки, специально предназначенный для борьбы с этим сложным психологическим состоянием. Новый лекарственный препарат, получивший название Зуранолон, стал важным шагом вперед в области психиатрии и женского здоровья.

Зуранолон представляет собой синтетический аналог природного стероида аллопрегнанолона, который вырабатывается мозгом и влияет на эмоциональное состояние. Лекарство назначается курсом на 14 дней, и, что особенно важно, многие женщины замечают значительное улучшение своего состояния уже спустя три дня после начала приема. Это существенно ускоряет эффект по сравнению с традиционными антидепрессантами, действие которых обычно проявляется спустя несколько недель.

Однако опыт применения Зуранолона у пациенток оказался неоднозначным. Хотя многие женщины отмечают заметное облегчение симптомов депрессии, некоторые вовсе не испытали улучшения, а у некоторых состояние даже усугубилось. Побочные эффекты также играют свою роль - наиболее распространенным из них является чрезмерная сонливость, которая способна затруднять уход за новорожденным и выполнение повседневных задач.

Истории женщин, принимавших препарат, показывают широкий спектр реакций. Так, Саманта, столкнувшаяся с послеродовой депрессией через два месяца после рождения сына, описала эффект Зуранолона как "очищение разума" и избавление от мучительных мыслей о собственной некомпетентности в роли матери. В то же время Стейси из Сан-Диего рассказала о том, что препарат настолько ее истощил, что всего за несколько дней она почувствовала себя "словно зомби", а ее подавленное состояние только усилилось.

Статистика по распространенности послеродовой депрессии в США впечатляет - согласно данным Центров по контролю и профилактике заболеваний (CDC), примерно каждая восьмая женщина сталкивается с этим состоянием во время беременности или в течение первого года после родов. Это подчеркивает необходимость наличия эффективных методов терапии.

Клинические испытания Зуранолона показали, что около 60% пациенток ощутили значительное улучшение, при этом половина из них достигла ремиссии через 45 дней после начала курса. Тем не менее медицинское сообщество продолжает изучать, какие именно факторы влияют на эффективность препарата и почему он не помогает некоторым женщинам.

Появление Зуранолона открывает перспективы для более быстрого и эффективного лечения послеродовой депрессии. Однако дальнейшие исследования и наблюдения необходимы, чтобы определить, кому именно подходит этот препарат и как минимизировать побочные эффекты. Это важный шаг на пути к улучшению качества жизни миллионов женщин, которые сталкиваются с тяжелыми эмоциональными переживаниями после рождения ребенка.

Другие интересные новости:

▪ Высокоэффективный электрокатализатор для чистой энергии

▪ Cамообучающися фотонный компьютер

▪ Онлайн-обучение эффективнее традиционного

▪ Texas Instruments выпустила библиотеку для MSP430 и CC1100/CC2500

▪ Застывание сыпучих веществ

Лента новостей науки и техники, новинок электроники

 

Интересные материалы Бесплатной технической библиотеки:

▪ раздел сайта Музыканту. Подборка статей

▪ статья Валаамова ослица. Крылатое выражение

▪ статья Какой научный результат Уильяма Гильберта великий Галилей назвал достойным удивления? Подробный ответ

▪ статья Сварка полиэтиленовых газопроводов. Типовая инструкция по охране труда

▪ статья Вместо реле холодильника. Энциклопедия радиоэлектроники и электротехники

▪ статья Схема, распиновка (распайка) кабеля Alcatel Dual Band. Энциклопедия радиоэлектроники и электротехники

Оставьте свой комментарий к этой статье:

Имя:


E-mail (не обязательно):


Комментарий:





Главная страница | Библиотека | Статьи | Карта сайта | Отзывы о сайте

www.diagram.com.ua

www.diagram.com.ua
2000-2025