Menu Home

Бесплатная техническая библиотека для любителей и профессионалов Бесплатная техническая библиотека


Авария в квартирной электросети: причины и следствия. Энциклопедия радиоэлектроники и электротехники

Бесплатная техническая библиотека

Энциклопедия радиоэлектроники и электротехники / Защита аппаратуры от аварийных режимов работы сети, блоки бесперебойного питания

Комментарии к статье Комментарии к статье

О том, что напряжение электросети в наших квартирах ~220 В, знают все, знают и о том, что вечером напряжение уменьшается, о чем сигнализируют электролампочки (не так ярко светят). Однако о том, что напряжение в той же электросети может резко повыситься, вплоть до ~380 В, знают, пожалуй, только электрики. Это уже аварийная ситуация, и последствия ее тяжелы: в квартирах мгновенно перегорают электролампочки и выходит из строя вся бытовая техника, включенная в это время в сеть.

Что же делать в такой ситуации, почему она возникает и как ее предотвратить? Об этом и пойдет речь в этой статье.

Наши многоэтажные дома питает трехфазная сеть. Трехфазный высоковольтный трансформатор, размещаемый поблизости домов, понижает высокое напряжение, обычно с ~10 кВ до ~220 В. Три вторичных обмотки питающего трансформатора соединяются в так называемую звезду (рис.1), в результате получаются три фазы, обозначаемые в схемах латинскими буквами А, В, С, и общий провод N, который называют нулевым.

Авария в квартирной электросети: причины и следствия

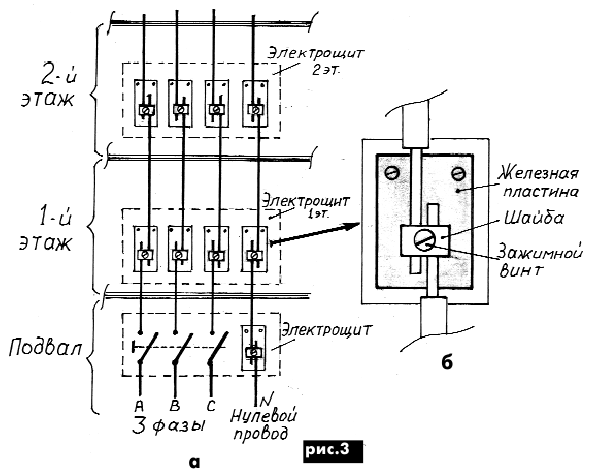
Напряжение ~220 В между нулевым проводом и любой фазой называется фазным напряжением, именно оно и предназначено для подачи в наши квартиры. Напряжение между фазами равно ~380 В и называется линейным напряжением. Четырехжильный кабель подает три фазы и нуль от трансформатора в электрощит дома, расположенный, обычно, в подвале, а оттуда кабелем разводится по электрощитам лестничных клеток (рис.2,а и рис.3,а). Такая схема электроснабжения называется 4-проводной. От электрощитов лестничных клеток 2-жильные провода ответвляют нуль и фазу, т.е. ~220 В, в каждую квартиру (рис.2,а).

Авария в квартирной электросети: причины и следствия
(нажмите для увеличения)

Авария в квартирной электросети: причины и следствия

Электрики стремятся равномерно нагрузить каждую фазу, так как это создает благоприятные условия для работы трехфазного трансформатора (в нем устанавливается магнитное равновесие, и он не перегревается), а в нулевом проводе, при абсолютно одинаковой нагрузке фаз, ток равен нулю. По этой причине в 4-жильных силовых кабелях нулевой провод делают меньшего сечения [1 ]. Электрики в каждую фазу включают одинаковое количество квартир в надежде, что те будут потреблять одинаковую мощность. Однако достичь этого не удается, поэтому в нулевом проводе всегда протекает какой-то ток, но это не беда, трехфазная сеть работает нормально. Ее работу можно изобразить тремя векторами А, В, С (рис.2,б), длина каждого из них, в масштабе, равна ~220 В, а каждая фаза отстает от соседней на 120°.

В каких же случаях в квартирах может резко повыситься напряжение? Аварийная ситуация наступает тогда, когда в трехфазной сети обрывается нулевой провод (на рис.2,а - потеря контакта в "зажиме"). В таком случае в квартирах 4, 5, 6 напряжения резко изменятся. В одних квартирах напряжение увеличится, в других - уменьшится, все зависит от соотношения нагрузок в момент аварии. На фазе В (рис.2,а, кв.4), где нагрузка минимальная, напряжение увеличится, а на фазе С (кв.6), где нагрузка максимальная, напряжение уменьшится. На фазе А (кв.5), где нагрузка промежуточная, изменения могут быть незначительными. Эти изменения изображены на векторной диаграмме, показанной на рис.2,в: вектор BN1 удлинился, значит, напряжение увеличилось; вектор CN1 уменьшился - напряжение уменьшилось; вектор AN] показывает незначительное увеличение напряжения. Наконец, появился новый вектор NN1( длина которого указывает на то, что между нулевым проводом потребителя и источником появилось напряжение. В таком случае говорят произошло смещение нуля, что недопустимо [1].

Во времени эту аварию можно описать так. После обрыва нулевого провода напряжение на фазе с минимальной нагрузкой резко увеличивается, и электролампочки вместе с бытовой техникой, включенные в эту фазу в квартирах, сгорают, нагрузка на эту фазу мгновенно уменьшается, от этого уменьшения распределение напряжения между фазами резко изменяется в худшую сторону (рис.2,г). Теперь уже значительно увеличилось напряжения на фазе А (вектор AN]), и там сгорают электролампочки и вся бытовая техника, а заканчивается описанный вариант аварии тем, что на фазах В и А устанавливается напряжение, близкое к 380 В, а на фазе С - около 0 В (рис.2,д). Это все происходит в течение нескольких секунд.

А теперь несколько уточнений. Во-первых, авария будет продолжаться до тех пор, пока не будет восстановлен контакт в нулевом проводе. Во-вторых, при обрыве нулевого провода, обозначенного на рис.2,а, авария наступит только в квартирах 4,5,6, владельцев квартир 1,2,3 эта авария не коснется. В-третьих, не путайте обрыв нулевого провода 3-фазной сети, когда происходит вышеописанная авария, и обрыв нулевого провода, подающего напряжение в вашу квартиру. В последнем случае пропадет только свет в вашей квартире (рис.2,а).

Можно ли предотвратить подобную аварию? В некоторой степени да. Первые симптомы приближающейся аварии - резкие вспышки яркости электролампочек в вашей квартире или сельском доме. Это признак того, что в нулевом проводе трехфазной сети, питающей ваш многоэтажный дом, а в сельской местности улицу или несколько улиц, плохой контакт. Вам пора вызывать электрика. Кстати, в сельской местности электролампочки могут мигать и от работы соседской электросварки, что не связано с плохим контактом в нулевом проводе, но они не вспыхивают: вначале яркость уменьшается, а затем приходит в норму. Хотя, как показывает практика, электросварка может спровоцировать потерю контакта, и если он (контакт) до этого был не надежен и находился в нулевом проводе трехфазной сети, то авария обеспечена.

Если вы осмотрите электрощит, находящийся на лестничной клетке вашего многоэтажного дома, то убедитесь, что предпосылки к аварии и там есть. На рис.3,6 автор почти с натуры срисовал состояние контактов в электрощитах на лестничных клетках в доме, где проживает. Алюминиевые провода от нулевого провода и фаз на каждом этаже обрезаны и винтами прижаты к железным пластинам. Пластины со временем заржавели, а алюминиевые провода, обладая пластичностью, под винтом расплющились - увеличилось сопротивление контактов. Ток нагревает эти контакты, и изоляция на проводах обуглилась. Все это создает предпосылку к аварии. Чтобы контакт в этих местах был надежен, зажимные винты необходимо периодически подкручивать, а пластины, чтобы не ржавели, нужно смазывать солидолом. Все это должны делать электрики ЖЭКа, обслуживающие ваш дом.

В сельской местности и на дачных участках, словом, там, где используются воздушные линии электропередачи, обрыв нулевого провода в трехфазной сети может произойти и в ветреную погоду, и в грозу. Именно тогда происходит захлестывание проводов. В этом не последнюю роль играют ветки деревьев, растущих вблизи проводов. При таком захлестывании чаще всего отгорает или обрывается нулевой провод.

Как же реагирует конкретная бытовая техника на подобную аварию?

Рассмотрим это на примере одной аварии, произошедшей на Троещине в Киеве.

1. Системный блок компьютера находился в выключенном состоянии. Как уже описывалось в [2], владелец компьютера думает, что нажатием кнопки на передней панели системного блока он выключает свой компьютер. Фактически же он переводит его в дежурный режим, и часть блока питания (БП) продолжает работать. От повышенного напряжения в БП модели LC-235ATX сгорел и закоротил сеть вспомогательный преобразователь ~220 В/=5 В. Из-за этого пробились диоды моста, а в сетевом фильтре сгорели гасящий термистор и предохранитель. Системная плата компьютера осталась исправной.

2. Монитор LG Studio Works и телевизор SONY KV-G14Q1 находились в дежурном режиме. Сгорела микросхема блока питания и закоротила сетевой выпрямитель, от чего пробились диоды моста, сгорели гасящий резистор и предохранитель.

3. Телевизор Broksonic CTVG-5472 находился в дежурном режиме. В этом режиме телевизор питается не от импульсного блока питания, а от отдельного выпрямителя, собранного на основе трансформатора ~220/=12 В. Сгорела первичная обмотка трансформатора, предохранитель не сгорел.

4. Видеомагнитофон AKAI находился в дежурном режиме. Сгорел импульсный блок питания.

5. Принтер струйный HP. Сам принтер был выключен, но его отдельный БП (находящийся вне принтера) LUCENT 3502В ~220 В/=30 В, 400 мА работал (был включен в сеть), так как в нем нет выключателя сети. Сгорел трансформатор.

6. Холодильник. Как известно, он работает периодически. Его компрессор включается термостатом и имеет защиту от перегрева электродвигателя компрессора, он то и спас холодильник.

7. Радиотелефон Panasonic KX-SPP-58. Базовый БП от отдельного БП ~220 В/=9 В, выполнен на трансформаторе. Сгорела первичная обмотка трансформатора, предохранителя в БП не сгорел.

Вся перечисленная здесь бытовая техника была повреждена только в одной квартире, в которой произошла аварийная ситуация, а таких квартир много.

Какой же вывод можно сделать, анализируя повреждения бытовой техники?

Самым слабым местом оказались БП. Обычные предохранители, которые, казалось бы, должны были защищать технику от больших токов, возникающих при скачках напряжения, оказались бессильными. Обладая инерцией, предохранители сгорают только после того, как повредится (пробьется) микросхема импульсного БП и этим закоротит сетевой выпрямитель. Не защитили и варисторы, установленные в БП компьютера, так как они по своим параметрам и назначению сглаживают только кратковременные выбросы напряжения большой величины [3].

Как видим, вся бытовая техника очень боится значительного повышения напряжения и от этого выходит из строя. А как же она ведет себя при пониженных напряжениях? Понижение напряжения менее опасно для нее, так как импульсные источники питания, установленные в телевизорах, компьютерах, мониторах, видеомагнитофонах и т.д., просто отключаются. Опасным оно остается, разве что, для электродвигателей компрессоров, установленных в холодильниках, так как их обмотки могут сгореть.

Существуют ли технические средство защиты от переподов напряжения?

Да, существуют. Сейчас в магазинах электротоваров появилось много различных устройств защиты потребителей от скачкообразных изменений напряжения. Одно из них - автомат защиты от аварии АЗА-5. Он устанавливается между сетевой розеткой и энергопотребителем (например, компьютером с периферией). АЗА-5 способен автоматически выключать нагрузку до 1,1 кВт за 0,04 с при скачкообразном изменении питающего напряжения, выходящего за установленные пределы ~160...~250 В. Автомат может работать в автоматическом или ручном режимах. Потребляемая мощность в дежурном режиме - 1 Вт. В одной квартире можно установить несколько таких автоматов, по одному на каждую группу потребителей.

Вы можете самостоятельно изготовить подобные устройства. Их схемы опубликованы, например, в [4].

Самое простое и дешевое устройство предлагает автор этой статьи. Правда, оно защитит вашу технику только от превышения напряжения (свыше В). Для его изготовления необходимо приобрести сетевой удлинитель и вмонтировать в него держатель предохранителя и двусторонний сапрессор типа 1,5КЕ350СА. Этот сапрессор запаивают вовнутрь удлинителя по схеме, показанной на рис.4.

Авария в квартирной электросети: причины и следствия

Максимально-допустимый ток через сапрессор 5 А, поэтому предохранитель должен быть меньше этой величины, например 4 или 3 А. Принцип работы его прост: как только амплитудное напряжение сети превысит ~350 В, что соответствует действующему значению ~250 В, сапрессор открывается, и предохранитель сгорает.

Для защиты компьютеров можно приобрести и блоки бесперебойного питания UPS. Они не только защищают компьютеры от перепадов напряжения, выходящего за установленные нормы, но и некоторое время питают их при пропадании напряжения в электросети, для этого в них вмонтированы аккумуляторы.

Что же делать, если все-таки авария случилась и вся бытовая техника сгорела?

Прежде всего нужно выключить свет и отключить от электросети всю бытовую технику. Затем, если Вы намерены защищать свои права в суде, нужно вызвать аварийную бригаду энергетиков, которая документально зафиксирует аварию. Нежелательно вызывать электрика из ЖЭКа: он заинтересованное лицо - вероятнее всего, постарается замести следы своей недоработки, и Вам после этого трудно будет что-то доказать. Потом необходимо подать заявление в ЖЭК в письменной форме, указав всю вышедшую из строя технику, чтобы комиссия из ЖЭКа засвидетельствовала этот перечень. Комиссия, заинтересованная замести следы недоработок ЖЭКа, может начать задавать вам вопросы не по существу, например: кто разрешил вам устанавливать стиральную машину и компьютер и почему у вас металлические двери? В любом случае, они обязаны зафиксировать поврежденную у вас технику (наименование, модель) и письменно дать ответ на вашу заявку, но ответ их может быть странным и непредсказуемым. Не идите на сговор с комиссией, так как это не приведет ни к чему хорошему.

Вина их в том, что они не смогли оказать вам качественную услугу, т.е. обеспечить качественной электроэнергией. Поэтому вы можете обратиться и в местное отделение общества защиты прав потребителей. Там посоветуют вам, как действовать в создавшейся ситуации, и помогут практически. Желательно, чтобы они составили акт, какая именно техника вышла из строя. Для создания подобного акта вы можете привлечь и своих соседей, которые, поставив свои подписи (несколько человек), зафиксируют список поврежденной техники.

Далее обращайтесь в мастерские по ремонту бытовой техники (но не к частникам, которые не имеют лицензий) с просьбой отремонтировать ее, дать счет и письменное заключение (заверенное подписью и мокрой печатью) о причинах ее повреждения. После ремонта всей техники вы, собрав вышеупомянутые документы, а именно: справку от аварийной бригады энергетиков о причинах аварии; вышеупомянутые акты о повреждении конкретной бытовой техники в вашей квартире; ответ ЖЭКа на ваше заявление; счета о ремонте техники в мастерской и заключения специалистов, ремонтировавших эту технику; желательно приложить справку от местной метеослужбы, что в это время не было грозы, обращаетесь в суд с иском на ЖЭК о возмещении ущерба. В ущерб может входить не только стоимость ремонта, но и другие расходы, связанные с подготовкой к суду. Составить исковое заявление поможет вам общество защиты прав потребителей или юристы. Свои действия координируйте с соседями, которые так же пострадали, как и вы, и незамедлительно подавайте иск в суд. Исковое заявление в суд подавайте от своего имени, а не коллективное.

В районных центрах (сельской местности) нет ЖЭКов, поэтому иск в суд вы подаете на облэнерго, т.е. на местных энергетиков, которые отвечают за трехфазные сети, снабжающие электроэнергией ваши дома.

Несколько важных моментов: зоны ответственности энергетиков и ЖЭКов. Энергетики отвечают за подачу энергопитания до выключателя электрощита вашего дома (рис.2,а). За участок от выключателя до счетчика включительно отвечает ЖЭК - именно там чаще всего и случаются вышеописанные аварии, но обрыв нулевого провода может произойти и на трехфазном участке энергетиков. За участок от счетчика до квартиры отвечает владелец квартиры.

Во время грозы, ударов молний в сети также могут произойти большие скачки напряжения (6000 В и более). Естественно, включенная в это время бытовая техника, во всем доме, где включена нагрузка, выходит из строя. На время грозы следует отключать всю бытовую технику от электросети, в том числе и холодильники (вынимать вилки из розеток). Без надобности не оставляйте бытовую технику включенной в сеть, лучше приобретите удлинитель с выключателем сети и выключайте ее, особенно когда уходите из дому, на ночь и во время грозы.

Литература:

  1. Евдокимов Ф.Е. Общая электротехника. - М.: Высшая школа, 1990.
  2. Власюк Н.П. Выключаете ли вы свой ПК кнопкой "POWER"?//Радиоаматор. - 2003. - №6. - С.30.
  3. Кучеров Д.П. Источники бесперебойного питания ПК и периферии. - СПб.: Наука и техника, 2005.
  4. Балинский Р.Н. Защита РЭА от перепадов напряжения//Радиоаматор. 2003. - №6. - С.20.

Автор: Н.П. Власюк

Смотрите другие статьи раздела Защита аппаратуры от аварийных режимов работы сети, блоки бесперебойного питания.

Читайте и пишите полезные комментарии к этой статье.

<< Назад

Последние новости науки и техники, новинки электроники:

Власть является ключевым фактором счастья в отношениях 11.03.2026

Исследования семейных и романтических отношений показывают, что длительное счастье пары зависит не только от привычных факторов, таких как доверие, уважение и преданность, но и от более тонких психологических аспектов. Современные ученые ищут закономерности, которые отличают действительно счастливые пары от остальных, чтобы понять, какие механизмы поддерживают гармонию в отношениях. Группа исследователей из Университета Мартина Лютера в Галле-Виттенберге и Бамбергского университета провела опрос среди 181 пары, которые состояли в совместных отношениях более восьми лет и прожили вместе хотя бы месяц. Участники заполняли анкету, описывая различные аспекты своих отношений, включая распределение обязанностей, эмоциональную поддержку и степень вовлеченности в совместные решения. Анализ данных показал интересный паттерн: пары, где оба партнера ощущали высокий уровень личной власти, оказывались наиболее счастливыми и удовлетворенными. В данном контексте под властью понимается способност ...>>

Защищенная колонка-повербанк Anker Soundcore Boom Go 3i 11.03.2026

Компания Anker представила новую модель линейки Soundcore - колонку Soundcore Boom Go 3i, ориентированную на активное использование на улице. Новинка отличается высокой степенью защиты: корпус соответствует стандарту IP68, что обеспечивает водо- и пыленепроницаемость, а ударопрочный дизайн выдерживает падение с высоты до одного метра. За качество звука отвечает 15-ваттный драйвер, обеспечивающий пик громкости до 92 дБ, а технология BassUp 2.0 усиливает низкие частоты, делая звучание более насыщенным. Колонка обладает автономностью до 24 часов, а LED-индикатор позволяет контролировать уровень заряда батареи. Кроме того, Soundcore Boom Go 3i может выполнять функцию павербанка: согласно внутренним тестам, устройство способно зарядить iPhone 17 с нуля до 40% за один час, что делает его полезным аксессуаром в походах и поездках. Среди функциональных особенностей модели стоит выделить технологию Auracast, которая улучшает подключение и позволяет создавать стереопару из двух колонок ...>>

Раннее воздержание от алкоголя перестраивает мозг и иммунитет 10.03.2026

Алкогольная зависимость - хроническое расстройство с компульсивным употреблением спиртного, которое влияет не только на поведение, но и на функционирование мозга и иммунной системы. Недавние исследования показали, что даже на ранних этапах воздержания организм начинает перестраиваться, открывая новые возможности для терапии зависимости. Ученые сосредоточились на пациентах, находящихся в первые недели абстиненции, и зафиксировали значительные изменения в мозговой активности. С помощью функциональной магнитно-резонансной томографии они выявили перестройку сетей нейронных связей, отвечающих за контроль импульсов и принятие решений. Эти изменения могут быть ключевыми для восстановления самоконтроля и снижения риска рецидива. Одновременно с нейронной перестройкой исследователи наблюдали колебания иммунной системы. В крови повышался уровень цитокинов - сигнальных белков, регулирующих воспалительные процессы. Эти данные свидетельствуют о существовании нейроиммунного взаимодействия, при ...>>

Случайная новость из Архива

Стук клавиш как личная метка 26.09.2006

Американские ученые придумали новый способ идентификации пользователей компьютера.

Тринадцать лет тому назад доктор Маркус Браун из Алабамского университета вместе со своим студентом-дипломником придумал систему опознавания человека по его почерку при работе за клавиатурой. Для этого была составлена программа нейронной сети, которая не только очень точно измеряет интервалы времени, которые человек тратит на то, чтобы нажать и отпустить клавишу, но и умеет делать соответствующие выводы.

Этот метод ученые запатентовали и успешно о нем забыли. Однако в 2004 году в университете появился Центр коммерциализации технологий.

"Мы хотим добиться, чтобы сотрудники университета были уверены: даже не самый значительный результат будет замечен и по достоинству оценен, причем не один раз" - так сформулировал основной лозунг центра вице-президент университета по исследованиям доктор Кейт Мак-Дауэл. В полном соответствии с этой идеей, сотрудники центра сумели найти покупателей на патент Маркуса Брауна, и тот, вместе со своим бывшим студентом, получили по 15 700 долларов.

"Честно говоря, я никогда не предполагал, что идея, которой мы занимались в качестве развлечения, способна принести столь весомый результат", - говорит ученый.

Другие интересные новости:

▪ Портативный принтер для мобильных телефонов

▪ Свет из канализации

▪ 2D/3D-проектор Epson PowerLite Home Cinema 2030

▪ В недрах Земли идет дождь наоборот

▪ Биоэлектронные пластыри для лечения кожи

Лента новостей науки и техники, новинок электроники

 

Интересные материалы Бесплатной технической библиотеки:

▪ раздел сайта Антенны. Подборка статей

▪ статья Макс Эрнст. Знаменитые афоризмы

▪ статья Где прошли первые современные Олимпийские игры? Подробный ответ

▪ статья Молочай смолоносный. Легенды, выращивание, способы применения

▪ статья Солнечные коллекторы. Солнечные системы горячего водоснабжения. Энциклопедия радиоэлектроники и электротехники

▪ статья Волшебная монета. Секрет фокуса

Оставьте свой комментарий к этой статье:

Имя:


E-mail (не обязательно):


Комментарий:





Главная страница | Библиотека | Статьи | Карта сайта | Отзывы о сайте

www.diagram.com.ua

www.diagram.com.ua
2000-2026