Menu Home

Бесплатная техническая библиотека для любителей и профессионалов Бесплатная техническая библиотека


Простые вольтодобавочные устройства. Энциклопедия радиоэлектроники и электротехники

Бесплатная техническая библиотека

Энциклопедия радиоэлектроники и электротехники / Регуляторы тока, напряжения, мощности

Комментарии к статье Комментарии к статье

В статье приводятся описания простых вольтодобавочных устройств, которые позволяют повысить напряжение в электрической сети на определенную величину или понизить его путем использования обычных понижающих трансформаторов.

На практике нередко возникает необходимость, например, понизить повышенное напряжение до уровня номинального с целью продления срока службы ламп накаливания или повысить пониженное напряжение с целью увеличения светоотдачи ламп.

Наиболее просто, доступно и экономично это можно осуществить с помощью обычного понижающего двухобмоточного трансформатора, включив его по схеме вольтодобавки. Такое включение означает, что вторичная низковольтная обмотка трансформатора включается последовательно с нагрузкой, а первичная, высшего напряжения, - параллельно к нагрузке или к зажимам сети.

На рис.1 приведены схемы включения вольтодобавочных трансформаторов и их векторные диаграммы.

Простые вольтодобавочные устройства

С целью упрощения векторные диаграммы построены без учета потерь во вторичных обмотках трансформаторов. На рис.1,а приведены схема включения вольтодобавочного трансформатора и его векторная диаграмма при согласном включении его обмоток, при котором магнитные потоки обмоток совпадают по направлению.

На рис.1,б показана схема при встречном включении обмоток, что приводит к встречному направлению магнитных потоков и, следовательно, к уменьшению результирующего магнитного потока трансформатора.

Как видно из представленных рисунков, с помощью обычного понижающего трансформатора можно повысить или понизить напряжение на нагрузке на величину ±∆U в зависимости от того, каким образом включены его обмотки - согласно или встречно.

Иными словами, необходимая величина вольтодобавки определяется величиной напряжения вторичной обмотки обычного понижающего трансформатора. Рассмотрим пример. Имеем однофазный понижающий трансформатор типа ОСО-0,25 (осветительный однофазный мощностью 250 ВА) напряжением 220/36 В (в обиходе называемый "котельник"), намотанный на Г-образном сердечнике. Вторичное напряжение данного трансформатора 36 В и будет составлять величину вольтодобавки U=36 В, которая может добавляться к напряжению сети 220 В или отниматься от него в зависимости от согласного или встречного включения обмоток: 220+36=256 или 220−36=184 (В). Предположим, что напряжение в сети понижено и составляет 180 В, тогда с помощью обычного трансформатора по схеме вольтодобавки, при согласном включении обмоток, его можно поднять, приблизить к номинальному, так как U2=180+36=216 (В). При повышенном напряжении в сети, например, U1=256 В относительно номинального на нагрузке его можно понизить, поменяв местами концы любой из обмоток трансформатора. В этом случае для нашего примера U2=U1−∆U=256−36=220 (B), т.е. на зажимах нагрузки имеем номинальное напряжение.

В тех случаях, когда необходимая величина вольтодобавки не соответствует стандартным вторичным напряжениям трансформаторов, вторичную обмотку перематывают на необходимое напряжение, например, на 20 В. При этом не исключается возможность домотки или отмотки определенного количества витков вторичной обмотки трансформатора с целью получения необходимой величины вольтодобавки, так как вторичная обмотка намотана поверх первичной.

Вторичная обмотка трансформатора должна выдерживать ток нагрузки. Полная мощность трансформатора через вторичные величины S=U2I2, откуда ток вторичной обмотки I2=S/U2. Для

 трансформатора ОСО-0,25 220/36 В этот ток составит I2=250/36=6,1 (A). Таким образом, через вторичную обмотку данного вольтодобавочного трансформатора можно пропускать ток нагрузки до 6,1 А.

Мощность однофазного трансформатора, который используется для вольтодобавки, в несколько раз меньше мощности нагрузки. Определяется она по формуле:

Sвт=Sном⋅∆U/U=1000⋅22/220=100 (ВА),

где Sвт - мощность однофазного трансформатора, используемого для вольтодобавки, ВА; Sном - полная мощность нагрузки, ВА; ∆U - величина необходимой вольтодобавки, В; U1 - напряжение сети, к которой подключается вольтодобавочный трансформатор, В.

Например, при необходимой величине вольтодобавки ∆U=22 В, мощности нагрузки Sном=1000 ВА и напряжении сети U1=220 В, мощность трансформатора вольтодобавки составит всего Sвт=100 ВА, т.е. в 10 раз меньше мощности нагрузки. Следовательно, габариты, масса и стоимость такого вольтодобавочного устройства относительно невелики.

КПД вольтодобавочного устройства достигает значений 0,99...0,995, масса на единицу мощности 2,5...3 кг/кВ⋅А. Потери напряжения и активной мощности в таком трансформаторе малы и соответственно равны 0,5...3, поэтому их можно не учитывать.

Показанные на рис.1 схемы включения вольтодобавочных трансформаторов позволяют повысить или понизить напряжение на нагрузке на определенную постоянную нерегулируемую величину, в связи с чем они получили название нерегулируемых, или "глухих", вольтодобавочных трансформаторов.

Следует учитывать, что нерегулируемые вольтодобавочные трансформаторы создают надбавку напряжения ∆U независимо от режима нагрузки сети. Благодаря этому, необходимо выбирать величину надбавки не по режиму минимального (максимального) напряжения, а по режиму минимальной нагрузки, когда напряжение выше. Поэтому нерегулируемая схема включения вольтодобавочного трансформатора всегда приемлема там, где независимо от времени года и величины нагрузки во всех режимах требуется повысить, реже понизить напряжение на величину ∆U.

Вольтодобавочное устройство может быть выполнено трехфазным. Принципиальная схема такого устройства показана на рис.2.

Простые вольтодобавочные устройства

Оно может быть создано из подручных средств, которыми располагает практически каждое предприятие, а именно: из трех однофазных котельных (ОСО-0,25, ОСМ-0,4У3) или сварочных трансформаторов. Вторичные обмотки этих трансформаторов напряжением 12...36 и 40...60 В рассчитаны на большие токи и могут быть использованы для включения в рассечку линии в качестве последовательных. Этими обмотками и создается добавочное напряжение ∆U. Первичные обмотки этих трансформаторов выполняют функции возбуждающих и могут включаться по схеме звезды или треугольника непосредственно в трехфазную сеть. Такие трансформаторы могут найти применение в протяженных заводских и сельскохозяйственных сетях.

Для бытовых целей в качестве вольтодобавочных трансформаторов могут быть использованы подходящие трансформаторы от радио- и телеаппаратуры, как, например, показано в [1].

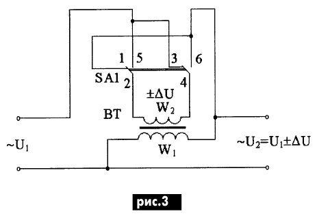
Вольтодобавочные трансформаторы чаще всего используются для увеличения напряжения, хотя их можно выполнить реверсивными. Схема такого вольтодобавочного устройства приведена на рис.3.

Простые вольтодобавочные устройства

Она отличается от схем, показанных на рис.1, наличием двухполюсного переключателя SA1 на три положения с нейтральным положением подвижных контактов в среднем положении. Примером такого переключателя может служить тумблер типа ВТ3 на ток коммутации 3 А (до 660 Вт) и напряжение коммутации ~220 В с фиксацией ручки управления в среднем и крайнем положениях. При замкнутых контактах 1-2 и 3-4 переключателя SA1 обмотки W1 и W2 трансформатора ВТ подключены к сети, и на выходе устройства напряжение повышено на величину +∆U относительно напряжения сети. Если же замкнуты контакты 2-5 и 4-6 переключателя, то концы вторичной обмотки W2 трансформатора меняются местами. Следовательно, магнитные потоки обмоток направлены встречно, и на выходе устройства напряжение будет понижено на величину −∆U. В среднем положении ручки переключателя SA1 обмотка W2 отсоединена от сети и током не обтекается, не обтекаются током также нагрузка и первичная обмотка W1 трансформатора ВТ.

При эксплуатации вольтодобавочного устройства следует иметь в виду, что размыкать первичную обмотку W1 трансформатора ВТ при работе устройства недопустимо, исходя из условий техники безопасности и правил технической эксплуатации электроустановок. Дело в том, что при размыкании первичной обмотки W1 ток во вторичной обмотке W2 останется прежним и равным току нагрузки. По сути, такой режим работы трансформатора - это режим холостого хода, но с током холостого хода трансформатора, равным току нагрузки, что во много раз больше обычного тока холостого хода трансформатора, причем этот ток является полностью намагничивающим. Это приводит к значительному увеличению магнитного потока трансформатора.

Потери же в магнитопроводе трансформатора пропорциональны квадрату магнитного потока. В результате происходит сильный разогрев сердечника трансформатора, что опасно для его изоляции, возможно даже самовозгорание трансформатора.

Кроме того, ЭДС первичной обмотки W1 возрастает пропорционально магнитному потоку и может достигать больших значений, опасных как для самого трансформатора, так и для жизни

 окружающих. Проведенные в свое время автором исследования трансформатора типа ОСО-0,25 в режиме вольтодобавочного при разомкнутой первичной обмотке и даже не полной его загрузке приводили к появлению ЭДС на зажимах первичной обмотки 500 В, причем с увеличением нагрузки величина ЭДС увеличивалась.

При больших токах нагрузки или необходимости дистанционного управления вольтодобавочным трансформатором в качестве переключающего устройства можно использовать магнитные пускатели или сильноточные реле. Принципиальная схема такого вольтодобавочного устройства показана на рис.4.

Простые вольтодобавочные устройства

Оно работает следующим образом. В исходном предпусковом состоянии катушки К1 и К2 магнитных пускателей обесточены, и их силовые контакты К1.1, К1.2 и К2.1, К2.2 в цепи вторичной обмотки W2 трансформатора ВТ разомкнуты. В результате трансформатор ВТ и нагрузка обесточены.

Для повышения напряжения на нагрузке на величину ∆U нажимают кнопку "Больше". В результате катушка К1 первого магнитного пускателя обтекается током, пускатель срабатывает и силовыми контактами К1.1 и К1.2 подключает обмотки трансформатора ВТ к сети, одновременно контактом К1.4 блокируется кнопка включения "Больше", и размыкаются контакты К1.3 электрической блокировки.

При необходимости уменьшения напряжения на нагрузке нажимают кнопку "Стоп", в этом случае схема приходит в исходное состояние (все силовые контакты разомкнуты), а затем нажимают кнопку "Меньше". Схема работает аналогичным образом, но при этом срабатывает второй магнитный пускатель, который замыкает свои силовые контакты К2.1 и К2.2 в цепи вторичной обмотки W2 трансформатора ВТ, в результате фаза тока в ней меняется на противоположную, и напряжение на выходе вольтодобавочного устройства уменьшается на величину ∆U.

Кроме двух обычных магнитных пускателей, для данной схемы может быть использован один реверсивный, например, типа ПМЕ-11-3 на ток 10 А и напряжение 380 В с напряжением катушек включения 220 В, который снабжен устройством механической блокировки от одновременного включения всех силовых контактов пускателя.

Литература:

  1. Коломойцев К.В. Еще раз о вечной лампочке//Электрик. 2002. - №1. - С.9.
  2. Тайц А.А., Мешель Б.С. Регулирование напряжения и реактивной мощности в электрических сетях промышленных предприятий. - М.: Госэнергоиздат, 1960.

Автор: К.В. Коломойцев

Смотрите другие статьи раздела Регуляторы тока, напряжения, мощности.

Читайте и пишите полезные комментарии к этой статье.

<< Назад

Последние новости науки и техники, новинки электроники:

Хорошо управляемые луга могут компенсировать выбросы от скота 15.02.2026

Животноводство, особенно разведение крупного рогатого скота, часто обвиняют в значительном вкладе в глобальное потепление из-за мощного парникового газа - метана, который выделяется при пищеварении у жвачных животных. Это вызывает острые политические споры и призывы к сокращению потребления мяса. Однако ученые напоминают, что полная картина климатического воздействия отрасли не ограничивается только выбросами от животных: огромную роль играет окружающая экосистема - пастбища, почва и растительность, которые способны активно поглощать углекислый газ из атмосферы. Исследователи из Университета Небраски-Линкольна решили глубже изучить этот баланс. Группа под руководством профессора Галена Эриксона сосредоточилась на том, как правильно организованные пастбища накапливают углерод в растениях и грунте благодаря естественным процессам, стимулируемым выпасом скота. Ученые подчеркивают, что при достаточном уровне осадков и грамотном управлении такие луга превращаются в мощные природные погло ...>>

NASA тестирует инновационную технологию крыла 15.02.2026

Коммерческая авиация ежегодно расходует колоссальные объемы керосина, что сказывается не только на бюджете авиакомпаний, но и на состоянии окружающей среды. В 2024 году глобальные затраты на авиационное топливо достигли 291 миллиарда долларов, и эта сумма продолжает расти. Чтобы справиться с этими вызовами, NASA активно работает над технологиями, способными заметно повысить аэродинамическую эффективность самолетов. Одним из самых перспективных направлений стало создание специальной конструкции крыла, которая максимизирует естественный ламинарный поток воздуха и минимизирует сопротивление. В январе 2026 года специалисты NASA Armstrong Flight Research Center успешно провели важный этап наземных испытаний концепции Crossflow Attenuated Natural Laminar Flow (CATNLF). Для эксперимента под фюзеляж исследовательского самолета F-15B закрепили вертикально ориентированную масштабную модель высотой около 0,9 м (3 фута), напоминающую узкий киль. Такая компоновка позволила подвергнуть прототип р ...>>

Забота о внуках очень полезна для здоровья мозга 14.02.2026

Общение между поколениями приносит радость всей семье, но мало кто задумывается, насколько активно бабушки и дедушки, заботящиеся о внуках, поддерживают свою умственную форму. Регулярное взаимодействие с детьми стимулирует мозг пожилых людей, помогая сохранять память, скорость мышления и общую когнитивную активность. Новые научные данные подтверждают, что такая добровольная помощь не только важна для общества, но и может замедлять возрастные изменения в мозге. Исследователи из Тилбургского университета в Нидерландах провели анализ, чтобы понять, приносит ли уход за внуками реальную пользу здоровью пожилых людей. Ведущий автор работы Флавия Черечес отметила, что многие бабушки и дедушки регулярно присматривают за детьми, и оставался открытым вопрос, насколько это положительно сказывается на их собственном благополучии, особенно в плане когнитивных функций. Ученые поставили цель выяснить, способен ли регулярный уход за внуками замедлить снижение памяти и других умственных способ ...>>

Случайная новость из Архива

Оптимальные условия для максимально эффективной работы лазерных плазменных ускорителей 17.09.2017

Традиционные ускорители электронов давно уже стали одним из основных видов научных инструментов, чрезвычайно интенсивные и короткие импульсы излучения, вырабатываемые синхротронами и лазерами на свободных электронах, позволяют ученым изучать материю и процессы, происходящие на атомарном масштабе. Но даже самые маленькие ускорители электронов занимают сейчас площадь, сопоставимую с площадью футбольного поля.

Альтернативной традиционным технологиям ускорения электрона является лазерно-плазменный метод ускорения, которые при небольших размерах ускорителя позволяет получить луч разогнанных электронов высокой интенсивности. Но у ускорителей такого типа есть один недостаток - при их помощи очень тяжело получить устойчивый луч электронов со стабильной яркостью. И эта проблема была решена физиками из исследовательского центра HZDR (Helmholtz-Zentrum Dresden-Rossendorf), Германия, которым удалось определить ряд параметров для создания оптимальных условий работы лазерно-плазменного ускорителя электронов.

Принцип, лежащий в основе технологии лазерно-плазменного ускорения, достаточно прост, луч мощного лазера фокусируется в среде газа, который под его воздействием превращается в плазму, в ионизированное состояние материи. Энергия лазерного луча заставляет электроны покинуть пределы их "родных" атомов, что создает в объеме плазмы своего рода "пузырь" сильного электрического поля. Эта область электрического поля, которая движется за импульсом лазерного света, представляет собой волну, движущуюся почти со скоростью света. И электроны, попавшие в ловушку на гребне этой волны, также разгоняются почти до скорости света. Воздействие на эти электроны дополнительным импульсом лазерного света производит яркие и сверхкороткие импульсы рентгена, при помощи которых ученые "просвечивают" исследуемые образцы различных материалов.

Сила вторичного рентгеновского излучения напрямую зависит от количества высокоэнергетических электронов, задействованных в этом процессе. Однако, при разгоне большого количества электронов плазменная волна затухает вследствие влияния эффектов, связанных с этими электронами и их электрическим полем, которое, к тому же, пагубно влияет и на форму луча. Искаженная форма луча и нестабильность плазменной волны, приводят к тому, что в луче присутствуют электроны с различным уровнем их энергии и другими параметрами.

"Но для того, чтобы можно было использовать электронный луч для проведения высокоточных экспериментов, требуется стабильный луч, состоящий из электронов с одинаковыми параметрами" - рассказывает ученый-физик Джурьен Питер Куперус (Jurjen Pieter Couperus), - "Все электроны луча должны находиться в правильном месте в правильное время".

Ученые из HZDR провели ряд работ, направленных на улучшение качества электронного луча, вырабатываемого лазерно-плазменными ускорителями. Они нашли, что добавка небольшого количества азота к гелию, который используется для создания плазмы, значительно улучшает ситуацию. "Мы можем управлять количеством электронов, "катающихся" на плазменной волне, меняя концентрацию азота" - объясняет Джурьен Питер Куперус, - "В своих экспериментах мы выяснили, что идеальным вариантом является случай, когда плазменная волна несет электроны, суммарный заряд которых равен ровно 300 пикокулонам. Даже самое малое отклонение от этой величины в любую сторону приводит к рассеиванию энергии, что снижает качество вырабатываемого луча".

Проведенные вычисления показали, что для генерации высококачественного еще требуется, чтобы пиковый ток движения электронов на гребне плазменной волны был не менее 50 килоампер.

"Используя сверхкороткие импульсы петаваттного лазера DRACO, мы сможем обеспечить генерацию высококачественного электронного луча при пиковом токе в 150 килоампер" - рассказывает Джурьен Питер Куперус, - "Это превысит возможности всех современных крупномасштабных ускорителей электронов на целых два порядка. И это позволит нам создать весьма компактные источники рентгеновского излучения следующего поколения".

Другие интересные новости:

▪ Электростимуляция мозга помогает справиться с инсультом

▪ Передатчики сигнала скоростью до 1,5 Гбит/с

▪ Игры с квантами энергии

▪ Юбилейный калькулятор от Casio

▪ Наноспагетти для здоровья и долголетия

Лента новостей науки и техники, новинок электроники

 

Интересные материалы Бесплатной технической библиотеки:

▪ раздел сайта Узлы радиолюбительской техники. Подборка статей

▪ статья Ядерный реактор на быстрых нейтронах. История изобретения и производства

▪ статья К какому роду с разницей в век относились любовницы принцев Уэльских? Подробный ответ

▪ статья Звуковая самодиагностика компьютера при включении. Справочник

▪ статья Логопериодическая антенна. Энциклопедия радиоэлектроники и электротехники

▪ статья Тиристорные регуляторы напряжения. Энциклопедия радиоэлектроники и электротехники

Оставьте свой комментарий к этой статье:

Имя:


E-mail (не обязательно):


Комментарий:




Комментарии к статье:

Виктор
На рис. 2, 3, 4 у Вас перепутаны вход с выходом.

Коля
Рис 4. Схема не работает

Гость
Вход и выход на последних трех схемах попутаны местами.


Главная страница | Библиотека | Статьи | Карта сайта | Отзывы о сайте

www.diagram.com.ua

www.diagram.com.ua
2000-2026