Menu Home

Бесплатная техническая библиотека для любителей и профессионалов Бесплатная техническая библиотека


Цветомузыкальное освещение. Энциклопедия радиоэлектроники и электротехники

Бесплатная техническая библиотека

Энциклопедия радиоэлектроники и электротехники / Цветомузыкальные установки, гирлянды

Комментарии к статье Комментарии к статье

Обычно принято освещать новогоднюю елку гирляндами разноцветных лампочек. В темной комнате их свечение выглядит красиво. Однако еще красивее елка, освещенная разноцветными прожекторами, установленными неподвижно на некотором расстоянии от елки, а елка при этом вращается. На ней множество блестящих игрушек и ленточек (дождика), отражающих свет фонарей. Поэтому освещенные прожекторами они в совокупности сияют, как пламя. Эффект еще больше усиливается, если прожекторами управлять от цветомузыкальной установки (приставки), а елка искусственная с блестящей зеркальной хвоей.

Ярко освещенной разноцветными прожекторами елкой можно любоваться, когда вокруг темно. Поэтому прожекторы должны как можно меньше рассеивать свет по сторонам. Лучи, которые не попадают в цель, нужно поглощать, а полезные лучи должны быть параллельными, как от солнца, чтобы отблески ("зайчики") на стенах и потолке были яркие и по размеру не больше игрушек, их отразивших, а не тусклые и большие, как от обычной электрической лампы из-за ее расходящихся лучей. Параллельные лучи получают с помощью рефлектора или линзы. Были разработаны простейшие конструкции прожекторов из подручных материалов - бумаги, фанеры, проволоки и др.

На рис.1 показана конструкция прожектора на основе рефлектора.

Цветомузыкальное освещение

Для его изготовления используется рефлектор 1 от старой автомобильной фары, который устанавливают в цилиндрическом корпусе 2, склеенном силикатным клеем из пяти слоев плотной бумаги. После высыхания клея корпус приобретает достаточную жесткость и прочность. Если в рефлекторе зеркальный слой нарушен (из-за чего рефлектор и сняли с автомобиля), то его можно легко восстановить, наклеив блестящую фольгу - обертку от шоколада. Ее распрямляют ногтем непосредственно на рефлекторе до высыхания клея. Корпус необходим для поглощения света, идущего не на елку, а на освещение комнаты.

Рефлектор 1 достаточно прочно удерживается в цилиндре 2 только трением. Этому способствуют лепестки 3, имеющиеся на рефлекторе, разгибая которые, можно обеспечить достаточную надежность крепления. Если не удается найти цилиндрический предмет подходящих размеров, на котором удобно клеить корпус, то можно использовать два рефлектора. Расположив их на расстоянии друг от друга, меньшем длины корпуса, накручивают на них бумагу, покрытую силикатным клеем в местах склеивания. В результате рефлекторы оказываются по обе стороны корпуса. После высыхания клея их вынимают, а затем устанавливают на нужное место один рефлектор, разогнув немного лепестки 3 для большего трения.

С внешней стороны корпус обклеивают цветной бумагой для красоты, а с внутренней - черной бумагой или покрывают тушью для уменьшения отражения света стенками корпуса. Предотвращая освещение комнаты лампой 4, корпус повышает контраст между ярко освещенной елкой и темной комнатой. Лучше всего использовать кинопроекционную лампу мощностью 100 Вт и рабочим напряжением 220 В, но можно и другую, аналогичную с малым цоколем, по напряжению и мощности соответствующую используемой цветомузыкальной установке, но не мощнее 100 Вт. Закреплена она самым простейшим образом, даже патрон не понадобился, но при этом обеспечивается возможность регулировки луча.

Для этого необходимо кольцо 5, вырезанное из текстолита или вылитое из эпоксидной смолы, толщиной 10 мм с внутренним диаметром 26 мм (больше диаметра лампы 4) и внешним диаметром, равным диаметру отверстия 6 в цилиндре цоколя рефлектора 1. В просверленные в кольце 5 сквозные отверстия вставлены четыре проволоки 7 (можно использовать проволоку от канцелярской скрепки). Их концы, выходящие с обратной стороны кольца 5, загнуты, чтобы предотвратить самопроизвольную разборку крепления лампы. На другой стороне проволок 7 согнуты крючки, которые зацеплены за металлическую шайбу 8 диаметром 12 мм. Кольцо 5 приклеено к стенкам отверстия 6 в цоколе рефлектора 1.

Образовавшаяся проволочная корзинка надежно удерживает лампу 4 с четырех сторон, позволяет ее продольно перемещать при регулировке светового потока и поворачивать, чтобы плоскость укладки спирали накаливания была горизонтальной, что продлит срок службы лампы, так как участки растягивающейся и провисающей со временем спирали накаливания не замкнутся между собой. Такое крепление обеспечивает хорошее естественное вентилирование лампы 4 (а значит, вентилятор не нужен), не требует покупного патрона и простое в изготовлении. Отверстие 6 в рефлекторе 1 полностью не закрывается лампой 4, что не препятствует выходу горячего воздуха из корпуса 2. Чтобы отлить кольцо 5 из эпоксидной смолы, кладут рефлектор цоколем на пластилин (вверх отражающей поверхностью), устанавливают посередине отверстия 6 пластилиновый цилиндр. В образовавшуюся форму вливают эпоксидную смолу. Но перед этим нужно замазать пластилином все отверстия, из которых может вытечь эпоксидная смола, и вставить в пластилин дна четыре проволоки 7.

Для уменьшения трудоемкости изготовления в качестве светофильтров использована цветная прозрачная стеклянная облицовочная плитка размером 150х150 мм. Ее углы отламывают так, чтобы она туго входила в корпус 2. Неточности отламывания компенсируются упругостью корпуса. Закрепить стекло 9 предельно просто: в четырех местах его соприкосновения с корпусом 2 с помощью проволочных скоб 10 (можно использовать проволоку от канцелярской скрепки). Стекла 9 удерживаются в корпусе 2 трением. Скобы 10, охватывая стекло с двух сторон, препятствуют его выпаданию из корпуса 2, и сами не выпадают. Каждая из них легко вводится в два отверстия в корпусе 2.

Такой светофильтр имеет четыре боковые щели между стеклом 9 и корпусом 2, которые практически не влияют на цвет светового потока, однако значительно улучшают вентилирование, необходимое для охлаждения фонарей. Основной световой поток проходит через цветное стекло, а не через щели. Если нет цветных стеклянных плиток, можно вырезать светофильтры из цветного стекла или прозрачной цветной пластмассы.

Можно оставить только две боковые щели. С противоположной стороны корпус 2 закрывают крышкой 11, вырезанной из фанеры толщиной 3 мм, имеющей такую же форму, как и светофильтр 9. Крепят крышку так же, как и светофильтр. Красят крышку 11 с внутренней стороны в черный цвет (можно использовать для этой цели черную тушь) для уменьшения выхода света в боковые щели. Для улучшения вентилирования в верхней части корпуса 2 возле рефлектора 1 по обе его стороны надо просверлить два отверстия 12 и 13 диаметром 6 мм.

Регулировка светового потока сводится к получению как можно меньшей световой точки на самой дальней стене комнаты путем перемещения лампы 4 внутри проволочной корзинки.

Можно освещать прожекторами описанной конструкции фонтан на площади, но более мощными, изготовленными из металла, загерметизированными и размещенными на столбах. Крепить прожекторы нужно компактно и просто, чтобы они занимали мало места в комнате, могли поворачиваться в любом направлении друг относительно друга и все вместе. При этом конструкцию крепления следует изготавливать с малыми затратами труда, чтобы не пропало желание ее изготавливать перед Новым годом. Эти противоречивые требования удалось решить, закрепив цилиндры фонарей с помощью трения в одной плоскости, как показано на рис. 2 и 3.

Цветомузыкальное освещение

Цветомузыкальное освещение

Для этого в декоративно вырезанном листе фанеры 14 толщиной 10 мм пропиливают три отверстия с таким диаметром, чтобы в них туго входили цилиндры прожекторов 2. Лист 14 вертикально закрепляют на фотографическом штативе 15 с помощью скобы 16, которая винтами 17 крепится к листу 14, а гайкой 18 - к штативу 15. Так как на штативе резьба специальная фотографическая, то гайка 18 должна иметь такую же резьбу. Если такой гайки нет, то можно на штативе поверх имеющейся резьбы нарезать обычную метрическую. А если нет желания "переводить" штатив, то можно гайку 18 изготовить из оргстекла. Стенки отверстия в ней, меньшего по диаметру резьбы штатива, прогревают жалом паяльника, и в горячем виде накручивают изготавливаемую гайку на резьбу штатива.

После остывания оргстекла стенки отверстия будут иметь форму резьбы штатива. Полученную оргстеклянную гайку можно откручивать и вновь накручивать на резьбу штатива. Для большей прочности крепления в скобе 16 нужно просверлить отверстие такого диаметра, чтобы обеспечить тугую посадку на резьбу штатива.

Прожекторы, центры тяжести которых находятся в плоскости листа 14, надежно удерживаются в отверстиях только с помощью трения и имеют возможность поворота на небольшой угол, достаточный для направления лучей света в разные места елки или на зеркальный шар. Все вместе прожекторы можно поворачивать в любом направлении с помощью шарнира штатива 15. Низ елки освещают красным светом, середину - зеленым, верх - голубым. Если освещают зеркальный шар, то лучи прожекторов ориентируют в одну точку. Во время работы прожекторов под управлением цветомузыкальной приставки нагрев их бумажных корпусов незначительный. Провода 19 припаивают к лампе 4 и к разъему 20 любого типа, закрепленному на скобе 16. К ответной части разъема подключают выходы любой серийной или самодельной цветомузыкальной приставки, имеющей выходное напряжение каналов, соответствующее рабочему напряжению выбранных ламп.

Прожекторы располагают на расстоянии примерно 3 м от елки, а елку устанавливают на одном зеркале и возле другого зеркала. При этом на стенах и потолке больше отблесков ("зайчиков") от зеркал и блестящих игрушек и ленточек, и они движутся в противоположных направлениях и под углом друг к другу. Кроме трех цветомузыкальных прожекторов желательно иметь еще один фоновый прожектор синего цвета с лампой мощностью 40 Вт, светящий неизменно и расположенный отдельно от основных трех прожекторов. Имея постоянную синюю подсветку, елка выглядит красивее.

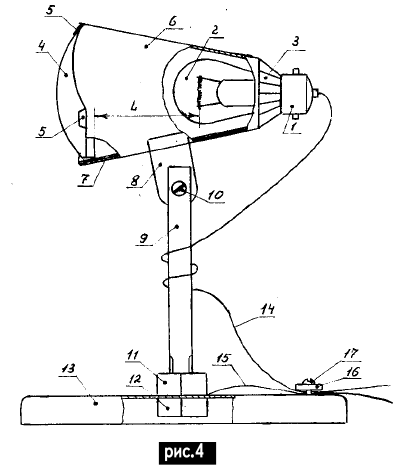
Еще более параллельные лучи света создают прожекторы, имеющие фокусирующие линзы. Таким прожектором освещают зеркальный шар во время, когда прожекторами с рефлекторами освещается елка. Для изготовления прожектора подойдет любая собирающая линза. Чтобы определить длину прожектора, зависящую от диоптрий имеющейся линзы, вначале проводят эксперимент. Кладут на край стола светящуюся лампу от автомобильной фары. Приближая и отдаляя от лампы линзу, получают изображение светящейся спирали на самой отдаленной стене. Измеряют расстояние L между спиралью лампы и линзой. Оно должно быть выдержано в прожекторе. Простейшая конструкция прожектора показана на рис.4.

Цветомузыкальное освещение

Вначале из плотной бумаги изготавливают конус (скручивают кулек), в вершину которого помещают лампу, а у основания - линзу. При этом выдерживается экспериментально полученное расстояние L. Конус усеченный, и из сечения выступает цоколь 1 лампы 2. Чтобы из сечения не выходил свет, поверхность конуса возле сечения имеет разрезы. Образовавшиеся разрезами лепестки 3 согнуты к оси конуса и охватывают цоколь 1, удерживая лампу 2 и закрывая щели выхода света. При этом обеспечивается возможность двигать лампу на длину ее цоколя для регулировки параллельности светового потока.

С другой стороны конуса у его основания закреплена линза 4 с помощью трех аналогичных лепестков 5. Внутрь конуса линза 4 провалиться не может, так как конус сужается к вершине. Выпаданию линзы 4 наружу конуса препятствуют согнутые в сторону оси конуса лепестки 5, представляющие собой разрезы поверхности конуса у основания.

Полученную бумажную развертку корпуса 6 прожектора используют для изготовления развертки из луженой жести от консервной банки. Развертка имеет форму, показанную на рис.5, а размеры ее зависят от выбранной линзы 4.

Цветомузыкальное освещение

Чем больше увеличение линзы, тем меньше расстояние L и тем более мощный световой поток, так как меньше света поглощается стенками корпуса 6. Металлическую развертку сворачивают в усеченный конус. Соприкасающиеся края 7, которые должны лечь друг на друга в полосе примерно 5 мм, скрепляют пайкой. В месте пайки по центру тяжести припаивают крепежный уголок 8 с отверстием, который входит в разрез торца стойки 9 и закреплен одним винтом 10 и гайкой. Стойка 9 представляет собой отрезок алюминиевой проволоки диаметром 5 мм и произвольной длины. На другой ее стороне нарезана резьба. С помощью двух гаек 11, 12 стойку 9 крепят к основанию 13, которым может служить пластмассовая или металлическая крышка. Благодаря этому основанию, прожектор можно поставить на ровной поверхности и регулировать горизонтальное направление луча света, а его вертикальное направление регулируют с помощью крепления уголка 8 одним винтом 10 к стойке 9.

К лампе можно припаять только один провод 14 - к центральному контакту ее цоколя 1, а другой провод 15 достаточно зажать гайкой 11. Ток с безопасным напряжением 12 В пройдет к цоколю лампы через гайку, стойку, уголок, корпус и лепестки, сжимающие цоколь. Чтобы провода 14, 15 не отрывались в местах пайки, их прижимают к основанию 13 пластмассовой пластинкой 16 двумя винтами 17 и гайками.

Запитывают лампу от трансформатора. Чтобы задать световому потоку цвет, достаточно поставить перед фонарем, оперев об него, цветное стекло. Если использовать вместо живой елки более эффектную в лучах прожекторов искусственную елку с блестящей зеркальной хвоей, то защищается природа от вырубки лесов.

Автор: В.Ю.Солонин

Смотрите другие статьи раздела Цветомузыкальные установки, гирлянды.

Читайте и пишите полезные комментарии к этой статье.

<< Назад

Последние новости науки и техники, новинки электроники:

Польза белкового завтрака 14.01.2026

Правильное питание по утрам играет ключевую роль в поддержании здоровья и контроле веса. Многочисленные исследования подтверждают, что состав завтрака может влиять на аппетит в течение всего дня и качество употребляемой пищи. Австралийские ученые провели масштабный эксперимент, который показал, что употребление белковой пищи с утра помогает дольше чувствовать сытость и предотвращает переедание. В исследовании участвовали более 9 тысяч человек среднего возраста 46 лет. В период с 2011 по 2012 год специалисты анализировали рационы респондентов, оценивая долю основных макронутриентов. В среднем участники потребляли 43% углеводов, 31% жиров, 18% белков, 2% клетчатки и 4% алкоголя. Такой рацион позволил ученым проследить взаимосвязь между утренним приемом пищи и пищевым поведением в течение дня. Выяснилось, что участники, чей завтрак содержал недостаточное количество белка, ощущали повышенный аппетит в течение дня. Они ели больше, чем необходимо, и часто выбирали продукты с высоким со ...>>

Технология SmartPower HDR 14.01.2026

Ноутбуки стремительно развиваются в плане графики и мультимедийных возможностей, но яркие дисплеи с высоким динамическим диапазоном (HDR) часто становятся серьезной нагрузкой для аккумуляторов. Длительная работа с видео высокого качества или играми в HDR приводит к быстрой разрядке батареи, что ограничивает мобильность пользователей и снижает комфорт работы. Решить эту проблему призвана новая технология SmartPower HDR, разработанная совместно компаниями Samsung Display и Intel. Суть технологии заключается в динамическом управлении напряжением OLED-панелей. Чипсет ноутбука в реальном времени анализирует пиковую яркость каждого кадра и передает эти данные контроллеру дисплея, который оптимизирует подачу напряжения в зависимости от количества активных пикселей. В отличие от традиционных режимов HDR, где яркость часто фиксируется на максимальном уровне, SmartPower HDR адаптируется к конкретному контенту, что снижает энергопотребление без потери качества изображения. Технология позвол ...>>

Недосып существенно сокращает жизнь 13.01.2026

Сон является одной из самых фундаментальных потребностей человека. Он влияет на обмен веществ, работу сердца и мозга, иммунитет и общее самочувствие. Современный ритм жизни часто заставляет людей жертвовать сном ради работы, учебы или развлечений, но ученые предупреждают: регулярный недосып может иметь далеко идущие последствия для здоровья и долголетия. Исследователи из Орегонского университета здравоохранения и науки пришли к выводу, что сон менее семи часов в сутки связан с сокращением продолжительности жизни. По данным специалистов, хроническая нехватка сна не только вызывает усталость и снижение работоспособности, но и постепенно сказывается на здоровье органов и систем, увеличивая риски развития различных заболеваний. Для анализа ученые использовали обширную национальную базу данных США, сопоставляя показатели ожидаемой продолжительности жизни на уровне штатов с результатами опросов Центров контроля и профилактики заболеваний за период с 2019 по 2025 годы. Они учитывали мно ...>>

Случайная новость из Архива

Сушилки для рук распространяют бактерии 05.05.2016

Все знают, что регулярное мытье рук необходимо для того, чтобы обезопасить себя от множества бактерий и вирусов. А ученые из Вестминстерского университета (Великобритания) решили проверить, как важно их после этого еще и правильно высушить.

Исследователи выяснили, что современные реактивные сушилки для рук на самом деле ничуть не лучше, чем "старомодные" сушилки или бумажные салфетки. Дело в том, что эти устройства, способные быстро высушить руки, заодно разносят бактерии потоком воздуха со скоростью 690 км/ч на расстояние до трех метров. Исследования показали, что с помощью реактивных сушилок распространяется примерно в 20 раз больше вирусов, чем при использовании менее скоростных старых моделей, дующих теплым воздухом. А по сравнению с бумажными полотенцами реактивные сушилки распространяют в 1300 раз больше вирусов и бактерий!

В ходе эксперимента ученые проверили 3 метода сушки рук: бумажные полотенца, обычные сушилки для рук и более скоростные реактивные сушилки. Выяснилось, что реактивные сушилки могут распространять вирусы мощным потоком воздуха на расстояние до трех метров, обычные сушилки с теплым воздухом - лишь на 75 сантиметров, а салфетки для рук - всего на 25 сантиметров. Впрочем, специалисты компании Dyson, которая выпускает реактивную сушилку Airblade, выразили несогласие с результатами тестирования.

Прежде всего им не понравилась методика эксперимента, согласно которой британцы "испачкали" руки в растворе с вирусами, после чего сушили их, используя один из трех способов. В Dyson считают, что исследование было пролоббировано производителями бумажных полотенец и проведено в искусственно созданных условиях с неестественно высоким уровнем вирусного загрязнения, к тому же, люди обычно моют руки с мылом перед использованием сушилки.

Другие интересные новости:

▪ Невидимая система для защиты велосипедов от краж

▪ Измерена скорость смерти клеток

▪ Надувной жилет мотоциклиста

▪ Рекорд скорости в сети 5G от Ericsson

▪ Новый рекорд скорости для электрических лодок

Лента новостей науки и техники, новинок электроники

 

Интересные материалы Бесплатной технической библиотеки:

▪ раздел сайта Афоризмы знаменитых людей. Подборка статей

▪ статья Кадмейская победа. Крылатое выражение

▪ статья Кто такие русалки? Подробный ответ

▪ статья Экономайзер принудительного холостого хода. Личный транспорт

▪ статья Гражданская радиосвязь. QRP техника. Справочник

▪ статья Ограничение зарядного тока конденсатора сетевого выпрямителя ИИП. Энциклопедия радиоэлектроники и электротехники

Оставьте свой комментарий к этой статье:

Имя:


E-mail (не обязательно):


Комментарий:





Главная страница | Библиотека | Статьи | Карта сайта | Отзывы о сайте

www.diagram.com.ua

www.diagram.com.ua
2000-2026