Menu Home

Бесплатная техническая библиотека для любителей и профессионалов Бесплатная техническая библиотека


Бесконтактное управление освещением. Энциклопедия радиоэлектроники и электротехники

Бесплатная техническая библиотека

Энциклопедия радиоэлектроники и электротехники / Освещение

Комментарии к статье Комментарии к статье

Стоит гостю переступить порог вашей квартиры, как тут же, словно по волшебству, в холле вспыхивает свет, озаряя собой полумрак, обычно характерный для прихожей в любое время суток. А все дело - в коврике, который лежит внутри квартиры возле входной двери, вернее, в чувствительной антенне, спрятанной под ним, а еще точнее, в электронном автомате, управляющим лампой светильника в прихожей.

Автомат (рис.1) собран всего на двух цифровых микросхемах (DD1 и DD2), одном транзисторе (VT1) и одном тринисторе (VS1). Он содержит импульсный генератор, построенный на логических элементах DD1.2-DD1.4, конденсаторе С7 и резисторе R10, и вырабатывает прямоугольные импульсы частотой 10000 Гц (или 10 кГц - это звуковая частота). Причем стабильность частоты особого значения не имеет. Следовательно, период повторения этих импульсов составляет 0,1 мс (100 мкс). Импульсы эти практически симметричны, поэтому длительность каждого импульса (либо паузы между ними) приблизительно равна 50 мкс. На логических элементах DD1.1, DD2.1, конденсаторах С1-С3, резисторах R1, R2, диоде VD1 и антенне WA1 с разъемом X1 выполнено емкостное реле, реагирующее на емкость между антенной и сетевыми проводами.

Бесконтактное управление освещением
(нажмите для увеличения)

Когда эта емкость незначительна (менее 15 пФ), на выходе элемента DD1.1 формируются прямоугольные импульсы той же частоты 10 кГц, но пауза между которыми уменьшена (за счет дифференцирующий цепочки C1R1) до 0,01 мс (10 мкс). Ясно, что длительность импульса равна 100 - 10 = 90 мкс. Однако за столь короткое время конденсатор С3 все-таки успевает почти полностью разрядиться (через диод VD1), так как время его зарядки (через резистор R2) велико и примерно равно 70 мс (70000 мкс). Поскольку конденсатор заряжается лишь в то время, когда на выходе элемента DD1.1 имеется высокий уровень напряжения (будь-то импульс или просто постоянный уровень), за время импульса длительностью 90 мкс конденсатор С3 не успевает сколько-нибудь заметно зарядиться, а потому на выходе элемента DD2.1 все время остается высокий уровень напряжения.

Когда емкость между антенной WА1 и сетевыми проводами увеличится (например, за счет тела человека) до 15 пФ и более, амплитуда импульсного сигнала на входах элемента DD1.1 снизится настолько, что импульсы на выходе этого элемента пропадут и превратятся в постоянный высокий уровень. Теперь конденсатор С3 может заряжаться через резистор R2, а на выходе элемента DD2.1 устанавливается низкий уровень. Именно он запускает одновибратор (ждущий мультивибратор), собранный на логических элементах DD2.2, DD2.3, конденсаторе С4 и резисторах R3, R4.

Пока емкость антенного контура мала, из-за чего на выходе элемента DD2.1 присутствует высокий уровень напряжения, одновибратор находится в состоянии, при котором на выходе элемента DD2.2 будет низкий уровень, а на выходе DD2.3 - высокий. Времязадающий конденсатор С4 при этом разряжен (через резистор R3 и входную цепь элемента DD2.3). Однако, как только емкость заметно увеличится и на выходе элемента DD2.1 появится низкий уровень, одновибратор тут же сформирует выдержку времени, при указанных номиналах цепи C4R3R4, равную приблизительно 20 с. Как раз на это время на выходе элемента DD2.3 возникнет низкий уровень, а на выходе DD2.2 - высокий. Последний способен открыть электронный ключ, выполненный на логическом элементе DD2.4, транзисторе VT1, диоде VD3 и резисторах R5-R8. Но этот ключ не остается все время открытым, что было бы явно нецелесообразно как по энергозатратам, так и, главное, из-за совершенно бесполезного нагрева управляющего перехода тринистора VS1.

Поэтому электронный ключ срабатывает лишь в начале каждого полупериода сети, когда напряжение на резисторе R5 увеличивается в очередной раз примерно до 5 В. В этот момент времени на выходе элемента DD2.4 вместо высокого уровня напряжения появляется низкий, благодаря чему открываются сначала транзистор VT1, а затем и тринистор VS1.

Но, как только последний откроется, напряжение на нем существенно снизится, из-за чего уменьшится напряжение на верхнем (по схеме) входе элемента DD2.4, а потому низкий уровень на выходе этого элемента вновь скачком сменится высоким, что вызовет автоматическое закрывание транзистора VT1. А вот тринистор VS1 в течение данного полупериода останется открытым (включенным).

Во время следующего полупериода все повторится в той же последовательности. Таким образом, электронный ключ открывается лишь на несколько микросекунд, необходимых для включения тринистора VS1, а затем вновь в очередной раз закрывается. Благодаря этому не только снижаются энергопотребление и нагрев тринистора, но и резко уменьшается уровень излучаемых радиопомех.

Когда 20-секундная выдержка кончается, а человек уже сошел с "волшебного" коврика, на выходе элемента DD2.3 вновь появляется высокий уровень, а на выходе DD2.2 - низкий. Последний запирает электронный ключ по нижнему входу элемента DD2.4. В этом случае транзистор VT1, а значит, и тринистор VS1 уже не могут быть открыты (по верхнему на схеме входу элемента DD2.4) синхронизирующими сетевыми импульсами. Если же выдержка истекла, но человек по-прежнему остался на коврике (на антенне WA1), запирания электронного ключа не произойдет до тех пор, пока человек не сойдет с коврика.

Как видно из рис.1, тринистор VS1 способен замыкать горизонтальную (по схеме) диагональ диодного моста VD5. Но это равносильно замыканию вертикальной диагонали того же моста. А потому, когда тринистор VS1 открыт, лампа EL1 горит; когда же он не открыт, лампа погашена.

Лампа EL1 и выключатель SА1 - это имеющиеся в прихожей стандартные электроприборы. Так, выключателем SА1 по-прежнему можно включить лампу EL1 в любое время, причем вне зависимости от автомата. Выключить же ее можно лишь тогда, когда тринистор VS1 закрыт.

Однако важно и то, что после замыкания контактов выключателя SА1 автомат будет обесточен. Поэтому формирование выдержки времени всегда можно по желанию прервать, замыкая, а затем размыкая выключатель SА1.

Питается автомат от параметрического стабилизатора, содержащего балластный резистор R9, выпрямительный диод VD4 и стабилитрон VD2. Этот стабилизатор выдает постоянное напряжение около 10 В, которое фильтруется конденсаторами С6 и С5, причем конденсатор С6 сглаживает низкочастотные пульсации этого напряжения, а С5 - высокочастотные.

Вкратце рассмотрим работу автомата (считая, что выключатель SА1 разомкнут). Пока антенна WA1 не блокирована емкостью тела человека, на выходе элемента DD2.1 присутствует постоянный высокий уровень. Поэтому одновибратор находится в дежурном режиме, при котором на выходе элемента DD2.2 имеется низкий уровень, запирающий (по нижнему входу элемента DD2.4) электронный ключ. Вследствие этого тринистор VS1 не открывается синхроимпульсами, поступающими на верхний вход элемента DD2.4 с моста VD5 через резистор R6.

Когда человек блокирует собой антенный контур, на выходе элемента DD2.1 возникает низкий уровень, запускающий одновибратор, и на выходе элемента DD2.2 появляется высокий уровень, открывающий на 20 с электронный ключ и тринистор VS1 (лампа ЕL1 в течение этого времени горит).

Если к тому времени блокировка антенного контура прекращена (человек сошел с коврика), лампа EL1 гаснет, если же нет, она продолжает гореть до тех пор, пока человек не покинет коврик.

В любом случае одновибратор (и автомат в целом) снова переходит в дежурный режим.

Чтобы погасить свет досрочно (не дожидаясь 20 с), если это вдруг нужно, достаточно замкнуть и разомкнуть выключатель SА1. Тогда автомат также переходит в дежурный режим.

Требуемая чувствительность автомата зависит от размеров антенны WA1, толщины коврика и других факторов, трудно поддающихся учету. Поэтому подбирают нужную чувствительность, изменяя сопротивление резистора R1. Так, увеличение его сопротивления ведет к росту чувствительности, и наоборот. Однако увлекаться чрезмерной чувствительностью не следует по двум причинам. Вопервых, увеличение сопротивления резистора R1 свыше 1 МОм, как правило, требует заливки его лаком, чтобы исключить влияние на рабочий режим влажности воздуха. Во-вторых, при избыточной чувствительности автомата не исключены его ложные срабатывания. Возможны они и после того, как пол в прихожей вымыт, но еще не высох. Тогда, чтобы погасить свет, следует на время отключить антенну WA1 с помощью однополюсного разъема Х1.

Антенна WA1 представляет собой лист одностороннего фольгированного стеклотекстолита, прикрытого со стороны фольги вторым листом тонкого текстолита, гетинакса или полистирола. По периметру первого листа фольгу тем или иным путем удаляют на ширину около 1 см. Затем оба листа склеивают между собой, тщательно заполняя клеем (например, эпоксидной шпатлевкой) те периферийные места антенны, где фольга удалена.

Особое внимание следует уделить надежности заделки провода, идущего от фольги наружу антенны. Габаритные размеры антенны зависят от имеющегося коврика. Ориентировочно ее площадь (по фольге) составляет 500...1000 см2 (предположим, 20х30 см). Если длина провода, идущего от автомата к антенне, значительна, может потребоваться его экранирование (чулок экрана соединяют с нижним выводом резистора R1). Но тогда, с одной стороны, чувствительность автомата неизбежно снизится, с другой - емкость конденсатора С1, возможно, придется несколько увеличить.

Поскольку экран будет гальванически связан с сетью, сверху он должен быть покрыт хорошей и толстой изоляцией.

Сам автомат собирают на пластиковой плате печатным или навесным монтажом. Плату помещают в подходящую по габаритам пластмассовую коробку, препятствующую невольному прикосновению к любой электрической точке, так как все они в той или иной степени опасны, поскольку связаны с сетью. По этой причине все перепайки во время налаживания следует проводить, предварительно отключив автомат от сети (от выключателя SА1). Настройка заключается в выборе чувствительности (резистором R1), о чем уже говорилось, и выдержки одновибратора (резистором R4), если это нужно. Кстати, выдержку можно увеличить до 1 мин (при R4 = 820 кОм) и более.

Если применить детали, как на рис.1, наибольшая мощность лампы EL1 (или нескольких параллельно включенных ламп) может достигать 130 Вт, что вполне достаточно для прихожей. Взамен тринистора КУ202Н (VS1) допустимо установить КУ202М или, в крайнем случае, КУ202К, КУ202Л, КУ201К или КУ201Л. Диодный мост (VD5) серии КЦ402 либо КЦ405 с буквенным индексом Ж или И. Если же применить мост тех же серий, но с индексом А, Б или В, допустимая мощность составит 220 Вт. Этот мост легко собрать из четырех отдельных диодов или двух сборок серии КД205. Так, при использовании диодов КД105Б, КД105В, КД105Г, Д226Б, КД205Е придется ограничить мощность лампы до 65 Вт, КД209В, КД205А, КД205Б - 110 Вт, КД209А, КД209Б 155 Вт, КД225В, КД225Д - 375 Вт, КД202К, КД202Л, КД202М, КД202Н, КД202Р, КД202С 440 Вт. Ни тринистор, ни диоды моста в теплоотводе (радиаторе) не нуждаются.

Диод VD1 - любой импульсный или высокочастотный (германиевый либо кремниевый), а диоды VD3, VD4 - любые выпрямительные, например, серий КД102-КД105. Стабилитрон VD2 - на напряжение стабилизации 9...1O В, предположим, серий КС191, КС196, КС210, КС211, Д818 или типа Д814В, Д814Г. Транзистор VT1 - любой из серий КТ361, КТ345, КТ208, КТ209, KT3107, ГТ321. Микросхемы К561ЛА7 (DD1 и DD2) вполне можно заменить на КМ1561ЛА7, 564ЛА7 или К176ЛА7.

Двухваттный балластный резистор (R9) для улучшения отвода тепла целесообразно составить из четырех полуваттных: сопротивлением по 82 кОм при параллельном соединении или сопротивлением по 5,1 кОм при последовательном соединении. Остальные резисторы типа МЛТ-0,125, ОМЛТ-0,125 или ВС-0,125. Для электробезопасности номинальное напряжение конденсатора С2 (лучше всего слюдяного) должно быть не менее 500 В. Конденсаторы С1-С3, С5 и С7 - керамические, слюдяные или металлобумажные с любым номинальным напряжением (кроме С2).

Оксидные (электролитические) конденсаторы С4 и С6 произвольного типа с номинальным напряжением не менее 15 В.

Другой вариант автомата для включения мановением руки (легким прикосновением) настольной лампы (бра, торшера или потолочного светильника) показан на рис.2. Этот автомат, по существу, является электронным аналогом обычного кнопочного выключателя с фиксацией, срабатывающей через раз: одно нажатие - лампа включена, другое - лампа выключена.

Бесконтактное управление освещением
(нажмите для увеличения)

Этот автомат также построен всего на двух цифровых микросхемах, но взамен второй микросхемы К561ЛА7 (четыре логических элемента 2И-НЕ) в нем используется микросхема К561ТМ2 (два D-триггера). Легко заметить, что триггеры последней микросхемы установлены вместо одновибратора предыдущего автомата. Кратко рассмотрим их работу в автомате.

Назначение триггера DD2.1 вспомогательное: он обеспечивает строго прямоугольную форму импульсов, подаваемых на счетный вход С триггера DD2.2. Если бы такого формирователя импульсов не было, триггер DD2.2 не смог бы четко переключаться по входу С в единичное (когда на его прямом выходе высокий уровень, а на инверсном - низкий) или нулевое (когда выходные сигналы противоположны указанным) состояние. Поскольку на установочный вход S (установка "единицы") триггера DD2.1 постоянно подан высокий уровень относительно его установочного входа R (установка "нуля"), его же инверсный выход является обычным повторителем. Именно поэтому интегрирующая цепь R3C4 резко обостряет фронты импульсов, снимаемых с конденсатора С3. Когда напряжение на нем мало (на антенну WА1 не воздействуют рукой), на инверсном выходе триггера DD2.1 также низкий уровень напряжения. Но стоит напряжению на конденсаторе С3 повыситься (руку достаточно близко поднести к антенне WA1) примерно до 5 В, низкий уровень на инверсном выходе триггера DD2.1 резким скачком сменится высоким.

Наоборот, после уменьшения напряжения на конденсаторе С3 (руку убрали) ниже 5 В высокий уровень на том же инверсном выходе также скачком сменится низким. Однако для нас важен лишь первый (положительный) из этих двух скачков, так как на отрицательный скачок напряжения (по входу С) триггер DD2.2 не реагирует. Поэтому и переключаться в новое состояние (единичное или нулевое) триггер DD2.2 будет всякий раз, когда руку подносят к антенне WA1 на достаточно близкое расстояние.

Прямой выход триггера DD2.2 соединен с верхним (по схеме) входом элемента DD1.2, входящего в состав электронного ключа. Воздействуя на этот вход, триггер способен как открывать, так и закрывать электронный ключ, а вместе с ним и тринистор VS1, включая либо выключая тем самым лампу EL1.

Заметим, что непосредственная связь инверсного выхода триггера DD2.2 с собственным информационным входом D обеспечивает его работу в нужном счетном режиме - "через раз", а вот интегрирующая цепь C5R4 нужна для того, чтобы после подачи на автомат питания (например, после отключения "пробок") триггер DD2.2 был бы обязательно установлен в нулевое состояние, соответствующее погашенной лампе EL1.

Как и в предыдущем автомате, лампу EL1 удается включить и обычным выключателем SА1. А вот выключена она будет, если, с одной стороны, выключатель SА1 разомкнут, с другой триггер DD2.2 установлен в нулевое состояние. Еще одна особенность данного автомата состоит в том, что импульсный генератор (10 кГц) собран по упрощенной схеме - всего на двух элементах (DD1.З и DD1.4) вместо трех. Взамен микросхемы К561ТМ2 (DD2) допустимо применить КМ1561ТМ2, 564ТМ2 или К176ТМ2. Другие детали в нем такие же, как и в предыдущем. Размеры антенны имеет смысл уменьшить до 50...100 см2 по площади фольги.

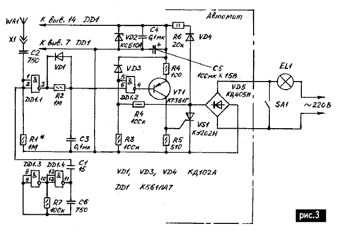
Несомненный интерес для любителей мастерить представляет простейший световой автомат (рис.3), содержащий всего одну микросхему (DD1). Это устройство является как бы электронным аналогом обычной кнопки с самовозвратом: нажал - лампа горит, отпустил погасла. Очень удобно снабдить такой бесконтактной "кнопкой", например, мягкое кресло, свет над которым автоматически загорается всякий раз, когда вы сели в него для чтения, вязания или иного активного отдыха.

Бесконтактное управление освещением
(нажмите для увеличения)

Отличие этого упрощенного автомата от предыдущих заключается в том, что в нем нет ни одновибратора, ни триггеров. Поэтому конденсатор С3 напрямую подключен к нижнему (по схеме) входу элемента DD1.2 электронного ключа. Если "седока" нет, спрятанная под обшивкой кресла антенна WA1 не препятствует возникновению импульсного сигнала на выходе элемента DD1.1, конденсатор С3 разряжен, а потому электронный ключ и тринистор VS1 закрыты, лампа EL1 не горит. Когда отдыхающий садится в кресло, указанные импульсы пропадают, конденсатор С3 заряжается и электронный ключ допускает открывание тринистора VS1, свет горит.

Разумеется, этими примерами далеко не исчерпываются все возможности применения световых автоматов.

Автор: В.В.Банников

Смотрите другие статьи раздела Освещение.

Читайте и пишите полезные комментарии к этой статье.

<< Назад

Последние новости науки и техники, новинки электроники:

Хорошо управляемые луга могут компенсировать выбросы от скота 15.02.2026

Животноводство, особенно разведение крупного рогатого скота, часто обвиняют в значительном вкладе в глобальное потепление из-за мощного парникового газа - метана, который выделяется при пищеварении у жвачных животных. Это вызывает острые политические споры и призывы к сокращению потребления мяса. Однако ученые напоминают, что полная картина климатического воздействия отрасли не ограничивается только выбросами от животных: огромную роль играет окружающая экосистема - пастбища, почва и растительность, которые способны активно поглощать углекислый газ из атмосферы. Исследователи из Университета Небраски-Линкольна решили глубже изучить этот баланс. Группа под руководством профессора Галена Эриксона сосредоточилась на том, как правильно организованные пастбища накапливают углерод в растениях и грунте благодаря естественным процессам, стимулируемым выпасом скота. Ученые подчеркивают, что при достаточном уровне осадков и грамотном управлении такие луга превращаются в мощные природные погло ...>>

NASA тестирует инновационную технологию крыла 15.02.2026

Коммерческая авиация ежегодно расходует колоссальные объемы керосина, что сказывается не только на бюджете авиакомпаний, но и на состоянии окружающей среды. В 2024 году глобальные затраты на авиационное топливо достигли 291 миллиарда долларов, и эта сумма продолжает расти. Чтобы справиться с этими вызовами, NASA активно работает над технологиями, способными заметно повысить аэродинамическую эффективность самолетов. Одним из самых перспективных направлений стало создание специальной конструкции крыла, которая максимизирует естественный ламинарный поток воздуха и минимизирует сопротивление. В январе 2026 года специалисты NASA Armstrong Flight Research Center успешно провели важный этап наземных испытаний концепции Crossflow Attenuated Natural Laminar Flow (CATNLF). Для эксперимента под фюзеляж исследовательского самолета F-15B закрепили вертикально ориентированную масштабную модель высотой около 0,9 м (3 фута), напоминающую узкий киль. Такая компоновка позволила подвергнуть прототип р ...>>

Забота о внуках очень полезна для здоровья мозга 14.02.2026

Общение между поколениями приносит радость всей семье, но мало кто задумывается, насколько активно бабушки и дедушки, заботящиеся о внуках, поддерживают свою умственную форму. Регулярное взаимодействие с детьми стимулирует мозг пожилых людей, помогая сохранять память, скорость мышления и общую когнитивную активность. Новые научные данные подтверждают, что такая добровольная помощь не только важна для общества, но и может замедлять возрастные изменения в мозге. Исследователи из Тилбургского университета в Нидерландах провели анализ, чтобы понять, приносит ли уход за внуками реальную пользу здоровью пожилых людей. Ведущий автор работы Флавия Черечес отметила, что многие бабушки и дедушки регулярно присматривают за детьми, и оставался открытым вопрос, насколько это положительно сказывается на их собственном благополучии, особенно в плане когнитивных функций. Ученые поставили цель выяснить, способен ли регулярный уход за внуками замедлить снижение памяти и других умственных способ ...>>

Случайная новость из Архива

Безлинзовая ИК-система 02.10.2025

Инфракрасные технологии занимают особое место в науке и технике. Они позволяют заглянуть туда, где человеческий глаз бессилен, - в темноту, сквозь дымку или туман, на значительные расстояния. Однако развитие этой области сдерживают дорогие и капризные камеры, требующие охлаждения и сложного обслуживания. Китайские исследователи предложили неожиданный выход: создание безлинзовой системы, которая превращает невидимое инфракрасное излучение в четкие изображения с помощью оптики нового поколения.

В основе этой разработки лежит древняя идея "изображения через отверстие", о которой еще в IV веке до нашей эры писал философ Мо-цзы. Современные ученые пошли дальше и вместо физической дырочки сформировали оптическое отверстие прямо в нелинейном кристалле, используя сверхкороткие лазерные импульсы. Такое решение позволяет преобразовывать инфракрасное излучение в видимый свет, который без труда фиксируется обычными кремниевыми сенсорами.

Руководитель проекта профессор Хэпинг Цзэн подчеркивает, что именно в среднем инфракрасном диапазоне сосредоточено множество полезных сигналов. Но существующие камеры дороги, нестабильны и шумны, что ограничивает их применение. Новая технология снимает эти препятствия, предлагая простую конструкцию и использование стандартных датчиков, доступных в массовом производстве.

Система уже продемонстрировала впечатляющие характеристики: глубину резкости более 35 сантиметров и поле зрения свыше 6 сантиметров при длине волны около 3,07 микрометра. Радиус оптической апертуры в 0,20 миллиметра позволил исследователям получать четкие изображения объектов, расположенных на расстоянии 11, 15 и даже 19 сантиметров. Важно, что высокое качество сохраняется даже в условиях крайне слабого освещения.

По словам Куна Хуана из Восточнокитайского педагогического университета, ключевым элементом системы стали синхронизированные лазерные импульсы, которые обеспечивают передачу изображения даже при минимальном количестве фотонов. Благодаря этому удается фиксировать мельчайшие детали без искажений, сохраняя широкое поле зрения и значительную глубину.

Еще одним достижением стало внедрение 3D-визуализации. Используя метод времени пролета, исследователи смогли воссоздать объемную модель керамического кролика с микронной точностью. В другом варианте, основанном на двухкадровом глубинном изображении, удалось определить пространственное положение объектов, находящихся друг над другом на расстоянии до 6 сантиметров, при этом обходясь без сложной синхронизации.

Практические перспективы этой технологии впечатляют. Она может применяться в ночном наблюдении, промышленном контроле, экологическом мониторинге. Простота конструкции и использование обычных сенсоров делают систему портативной и энергоэффективной, а значит, более доступной по сравнению с существующими инфракрасными установками.

Пока что оборудование остается громоздким и требует крупной лазерной установки, но ученые уже работают над созданием компактных источников света и новых нелинейных материалов. В будущем они намерены расширить возможности системы на более длинные инфракрасные волны и добавить динамическое управление формой оптического отверстия. Таким образом, перед исследователями открываются новые горизонты, которые могут изменить само представление о том, как человек видит мир в невидимом спектре.

Другие интересные новости:

▪ Новый тип усилителей мощности радиочастоты для мобильных телефонов

▪ Твердотельный NVMe-накопитель WD Blue SN550 2 Тбайт

▪ Всем ультрабукам с Windows 8 - сенсорные панели

▪ Разработана камера с разрешением 400 тысяч пикселей

▪ Сплетни полезны для коллектива

Лента новостей науки и техники, новинок электроники

 

Интересные материалы Бесплатной технической библиотеки:

▪ раздел сайта Параметры радиодеталей. Подборка статей

▪ статья Эдвард Эверетт. Знаменитые афоризмы

▪ статья Почему Дюма проиграл на дуэли, но не умер? Подробный ответ

▪ статья Спальник для удочки. Советы туристу

▪ статья Печатаем струйным принтером на CD и DVD. Энциклопедия радиоэлектроники и электротехники

▪ статья Электроустановки в пожароопасных зонах. Определения. Общие требования. Энциклопедия радиоэлектроники и электротехники

Оставьте свой комментарий к этой статье:

Имя:


E-mail (не обязательно):


Комментарий:





Главная страница | Библиотека | Статьи | Карта сайта | Отзывы о сайте

www.diagram.com.ua

www.diagram.com.ua
2000-2026