Menu Home

Бесплатная техническая библиотека для любителей и профессионалов Бесплатная техническая библиотека


Простой сварочный полуавтомат. Энциклопедия радиоэлектроники и электротехники

Бесплатная техническая библиотека

Энциклопедия радиоэлектроники и электротехники / Сварочное оборудование

Комментарии к статье Комментарии к статье

Сварочный полуавтомат (СПА), рассмотренный в [1], имеет следующие недостатки (исправленную схему см. на рис.1).

Простой сварочный полуавтомат
(нажмите для увеличения)

1. Наличие контактора К3. Контактор подобного типа является дефицитной деталью. Кроме того, он имеет свойство постоянно подгорать, что приводит к неудовлетворительным результатам работы СПА.

2. Наличие реостатов R2, R5. Так как реостаты выполнены на основе нихромовой проволоки и имеют большие габариты (особенно R2), а значит, открытые поверхности, то пользоваться СПА в бытовых (гаражах) условиях опасно, вследствие того что может поразить током (хотя и не высокого напряжения).

3. Зависимость подачи проволоки от устанавливаемого тока. Так как СПА используют в основном для сварки тонких соединений, например, металлических корпусов приборов, автомобильных кузовов, глушителей, тонкостенных металлических труб, то некоторые требования, предъявляемые к простому СПА, можно упростить.

Простота и надежность. Сохранение работоспособности при температуре окружающей среды от -30 до +30° С и питающем напряжении сети 190-280 В.

Подающий механизм можно поместить в одном корпусе со сварочным трансформатором и элементами управления. Обеспечивать хорошую сварку металлов толщиной 0,3-1,2 мм.

Работать по жесткой характеристике [2].

Учитывая вышеуказанные требования, основные элементы СПА можно выбрать из распространенных деталей. Например, автор не раз использовал двигатель 1 и редуктор 2 подающего механизма от стеклоочистителя автомобиля "Волга ГАЗ-24" (рис.2). Так как этот двигатель не имеет электротормоза и обмотки реверса, то автор установил электротормоз в виде Побразного сердечника соленоидной катушки 3 (рис.2,а), с зазором между сердечником и роликом 0,5 мм. Механизм стеклоочистителя можно позаимствовать от грузовых автомобилей, что благоприятно отразится на электронной схеме, так как бортовое питание у них 24 В.

Простой сварочный полуавтомат

Принципиальная схема СПА показана на рис.3. Напряжение 220 В через пакетный выключатель SА1 поступает на тороидальный трансформатор, имеющий две первичные обмотки для переключения и регулирования напряжения на вторичной обмотке при сварке толстых металлических конструкций. Для увеличения диапазона регулирования делают большее количество дополнительных отводов в первичной обмотке.

Простой сварочный полуавтомат
(нажмите для увеличения)

Для сваривания металлов толщиной 0,7-1 мм напряжение на вторичной обмотке должно быть минимум 40 В. Питание схемы управления осуществляется от вывода 27 В. Если использовать двигатель от легковых автомобилей, то питание дополнительного вывода вторичной обмотки должно быть не менее 14 В. Лампочка HL1 сигнализирует о включении питания. Конденсаторы C1 и C2 необходимы для подавления помех, создаваемых сварочным током. В исходном состоянии (SА2 - не нажата) на выходе силового выпрямителя VD1, VD2, VS1, VS2 и на конденсаторах С5-С10 напряжение 40 В отсутствует, т.е. на наконечнике рукава напряжения нет (этим фактором СПА отличается от некоторых заводских вариантов). Схема управления будет запитана, и напряжение 27/14 В присутствует на C4. При нажатии на микровыключатель SA2 (находящийся на держателе рукава рис.3) включается реле К1. Контакты K1.1 и К1.2 замыкаются, тиристоры VS1, VS2 отпираются по управляющим электродам (УЭ) по цепи: верхний вывод C2, VD1, L1, сварочный ток, K1.1, R4, VD4, УЭ VS2, KVS2, нижний вывод С2 при положительной полуволне во вторичной обмотке трансформатора питающего напряжения; нижний вывод C2, VD2, L1, сварочный ток, контакты К1.2, R3, VD3, УЭ VS1, KVS1, верхний вывод С2 при отрицательной полуволне напряжения.

При настройке вместо сварочного тока можно подсоединить нихромовую проволоку сопротивлением 1 Ом. Резисторы R1 и R2 необходимы для ограничения напряжения на управляющих электродах тиристоров VS1, VS2. Контакты К1.3 замыкаются, включаются подача проволоки и отсекатель газа К3 через диод VD12. Контакты К1.5 замкнуты, С11 заряжается до напряжения +27/14 В. По окончании процесса сварки (SA2 не нажата) контакты K1.1, К1.2, К1.3, К1.5 размыкаются, а К1.4 замыкаются, и С11 разряжается по цепи: +С11, К1.4, R6, К2, -С11. Реле К2 замыкает контакты К2.2, К2.1 (тиристоры VS1, VS2 включены), К2.4 (отсекатель газа К3 включен), К2.3 (электротормоз включен).

Так как процесс механически инерционен, проволока останавливается не сразу, поэтому необходимо поддерживать горение дуги и обдувание ее углекислотой, чтобы обгорела проволока и шов имел нормальный вид. Как только конденсатор С11 разрядится, К2 размыкает свои контакты и отключает тиристоры и отсекатель газа.

Как известно [2], для загорания дуги на электродах необходимо иметь большую разность потенциалов, и только после загорания большой ток поддерживает дугу. При отпирании тиристоров VS1, VS2 напряжение на наконечнике держателя рукава нарастает не сразу (этому препятствует дроссель L1 и емкости конденсаторов С5-С10. Для увеличения начальной амплитуды напряжения последовательно с каждым конденсатором включены резисторы R7-R12 сопротивлением 0,1 Ом, а параллельно L1 подключен конденсатор C12, который необходимо подбирать опытным путем, чтобы нормально загоралась дуга и нормально (при выключенном SA2) запирались тиристоры. Если тиристоры будут запираться не сразу или в процессе сварки будут возникать нежелательные колебания напряжения (тиристоры могут самопроизвольно запираться или отпираться по окончании сварки), то емкость конденсатора С12 необходимо уменьшить или совсем убрать.

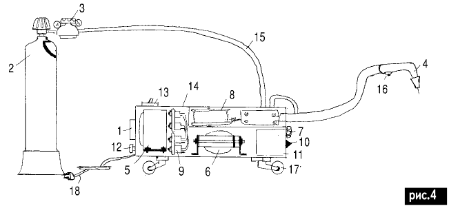
Конструкция. СПА собран в одном корпусе: схема управления и подающий механизм. На задней стенке корпуса 14 (рис.4) находится вентилятор 1 (М1 рис.3), который обдувает тороидальный трансформатор 5 и силовой выпрямитель 9. Сверху корпуса находится пакетный выключатель сети 13 и предохранитель 12 (их также часто устанавливают на передней панели СПА). На передней панели собрана схема логики управления 11 (она прикреплена к самой панели), на лицевой стороне - лампа HL1 10 и регулятор подачи проволоки 7. Механизм подачи проволоки и барабан с проволокой 8 установлены над дросселем 6. Углекислота подается от баллона 2 через редуктор 3 по шлангу 15 к отсекателю газа, находящемуся рядом с механизмом подачи проволоки. После отсекателя газ подается в рукав 4, в котором также проходят провода от микровыключателя 16 и к которому подведен силовой провод от дросселя L1. Корпус СПА желательно оборудовать поворачивающимися колесиками 17 для удобства передвижения, сетевой шнур 18 необходимо взять от силовых агрегатов с током не менее 10 А.

Простой сварочный полуавтомат

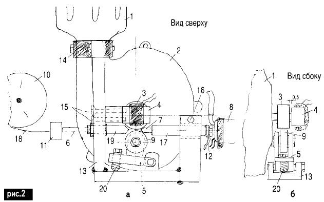
На рис.2 показан сборочный чертеж подающего механизма. Так как механизмы можно применять разные, то размеры не указаны. Двигатель 1 (рис.2,а, подключают, как указано на рис.3) приводит в движение редуктор 2 и ролик 3, закрепленный на валу редуктора (редуктор понижающий). С барабана 10 (на рис.2,а показан схематично, может устанавливаться как вертикально, так и горизонтально) проволока 18 через квадратик войлока 11 (необходим для снятия грязи), пружину 6 (позаимствована от автомобильных сальников) и направляющую втулку 19 попадает на подшипник 9. Подшипник с помощью подшипникодержателя 5 прижимается к ролику 3, благодаря закручиванию винта 20. Далее проволока идет по направляющей 7 в рукав 8. Рукав 8 вставляется штуцером 17 в зажим 16. К наконечнику рукава ток подается от дросселя L1 по кабелю через шайбу 12, штуцер рукава и внутреннюю оплетку. Для торможения проволоки перед роликом 3 установлен П-образный электромагнит 4 (сердечник выполнен из статора электродвигателя), который закреплен с помощью винтов 15 к корпусу держателя подающего механизма 13. Корпус держателя 13 зажимом 14 крепится к двигателю подающего механизма.

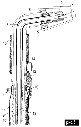
Весь подающий механизм необходимо установить на диэлектрическую поверхность (гетинакс толщиной 10 мм). На рис.5 показан сборочный чертеж начальной части рукава.

Простой сварочный полуавтомат

Проволока пропускается через направляющую втулку 2 в рабочую спираль 13. Рукав с помощью штуцера 1 вставляется в зажим подающего механизма. Штуцер 1 наворачивается на полый винт 3 (внутри которого находится рабочая спираль), к штуцеру 1 с помощью шайбы 14 и контргайки 15 подводится кабель от дросселя L1. Полый винт 3 упирается в спираль кожуха 10, внутри которой проходит рабочая спираль 13. Использование двух спиралей необходимо для жесткости рукава. Следует заметить, что внутренний диаметр рабочей спирали должен быть не менее 0,9 мм, чтобы проволока 4 диаметром 0,8 мм свободно проходила. К полому винту поверх спирали кожуха припаиваем медную оплетку 9 для проводки больших токов к наконечнику рукава. Поверх оплетки проходит трубка, проводящая углекислоту от расстыковывающей трубки 5 к держателю рукава, а также провода от микровыключателя. Поверх всего этого натягиваем кожух рукава 11. С помощью специальной втулки 8 провода 12 и трубку 5 фиксируем хомутом 7, который также принимает кожух рукава. Кожух можно использовать от велосипедной камеры. На рис.6 показаны ответная часть рукава и держатель.

Простой сварочный полуавтомат

Держатель 6 выполнен из латунной трубки с резьбой на выходе (резьбу можно нарезать на втулке и припаять латунью к трубке). На резьбу накручивается коническая втулка из диэлектрика (гетинакса). На втулку 5 устанавливаем сопло 3 (изготовленное из меди или старого твердого резинового шланга). Рабочая спираль 13 проходя по спирали кожуха 10, попадает в направляющую трубку 8 (из меди), к этой трубке припаяна медная оплетка 9. В свою очередь направляющая трубка 8 припаяна к держателю 6. Это необходимо для подведения тока к наконечнику 1. Для предотвращения поражением тока держатель изолирован резиновым слоем 15. Провода 12 и трубка углекислоты 16 (можно использовать полихлорвиниловую трубку или трубку от медицинских капельниц) проходят к держателю 6 под резиновым кожухом 11. Внутрь держателя 6 ввинчена втулка 2 (из латуни, по мере износа ее следует заменить) с отверстиями по бокам (ближе к держателю). Внутри втулки проходит рабочая спираль, которая жестко упирается в наконечник 1. Наконечник 1 (из меди) выполнен в виде цилиндра с просверленным до средины отверстием диаметром 0,85 мм. С помощью напильника под небольшим углом надо снять оставшуюся половину поверхности цилиндра так, чтобы достичь отверстие наконечника.

Сварочную проволоку продеваем через наконечник и на снятой поверхности цилиндра вдавливаем. В результате возникает канавка, направляющая из отверстия проволоку. По мере срабатывания канавки наконечник сгибается вверх, тем самым продлевается срок службы наконечника в 5-10 раз. Длина рукава может достигать 2,5 м, что пoзвoляeт сваривать автомобили под подъемником, но при этом двигатель подающего механизма должен иметь достаточную мощность для проталкивания проволоки в рукав, и при этом проволока должна свободно проходить внутри спирали и через наконечник, иначе она будет запутываться в подающем механизме.

Детали. В качестве сварочного трансформатора выбран тороидальный трансформатор. Его сердечник выполнен из тонкой пермаллоевой электротехнической стали с окисленной поверхностью (для исключения вихревых токов). Коэффициент намотки, как правило, 1, 2 В/виток. Габаритная мощность 2 кВт. Остальные расчетные характеристики зависят от качества сердечника, и их подбирают опытным путем. Автор выбрал именно тороидальный трансформатор, потому что он имеет высокий КПД, малые габариты и массу, отличные параметры при работе по жесткой характеристике. Эти достоинства крайне необходимы для рассмотренного СПА. Дроссель L1 аналогичен предыдущему варианту CПА [1]. Как правило, дроссель конструируют по показаниям переменной составляющей в момент сварки: 1, 2-3, 5 В, но при этом свариваемый металл должен расплавляться сразу в момент прикосновения проволоки. Если это условие не выполняется, то в дросселе уменьшают количество витков или увеличивают сопротивление резисторов R7-R12. Если металл не расплавляется, то необходимо провести испытания без конденсаторов С5-С10, в случае прежнего результата - без дросселя L1. Если и в этом случае металл не расплавляется, то необходимо увеличить мощность трансформатора (естественно, проверить силовой выпрямитель).

Ориентировочные данные дросселя: сердечник от трансформатора 1 кВт 50 Гц, количество витков 60, немагнитный зазор 2-5 мм (гетинакс), чем больше зазор, тем больше индуктивность (до определенных размеров).

Диоды VD1 и VD2 (рис.3) ВЛ-100-90 (или любые другие с прямым максимальным током 100 А, можно без радиатора), VD3-VD6, VD12 типа Д226 или другие с прямым током не менее 1 А. VD7-VD11 типа Д232, Д246 или любые другие с прямым током не менее 10 А на алюминиевом радиаторе с площадью рассеивания 60 см2 каждый. Вентилятор М1 от мини-ЭВМ на ?220 В, М2 - стеклоочиститель от автомобилей. Пакетный выключатель SA1 на 380 В, 15 А или два спаренных типа ВДС-632075 на 15 А. Предохранитель FU1 на 15 А, микровыключатель SA2 любого типа на ток 0,5 А. Конденсаторы: C1-C3 0,1 мк х 400 В; С4 - 1000 х 50 В типа К50-18; С5-С10 - 10000 х 100 В того же типа, С11 - 200 х 50 В типа К50-32; С12 - 0,1 х 700 В высоковольтный. Резисторы R1-R4 типа МЛТ-0,5; R5 - реостат переменный 47 Ом, R6 - 100 Ом ПЗ-75, HL1 - 40 В х 10 Вт. Сердечник К4 из эл. стали, количество витков ?200 ПЭВ-0,1, если будет нагреваться, увеличить количество витков.

Реле К1, К2 любого типа на ток между контактами не менее 2 А (контакты включать спарено) типа ТКЕ-54 ПД1. Разъем X1 любой на ток меду контактами не менее 5 А (контакты спаривать). Провода, указанные на схеме утолщенной линией, должны иметь площадь сечения не менее 10 мм2. Наладка СПА. Сварочный трансформатор наматывают по методике [3], после чего проверяют с помощью обычных электродов диаметром 2 мм. Затем собирают схему управления и подающий механизм. С силового выпрямителя можно сразу подать по кабелям ток на подающий механизм (внимание! Механизм следует хорошо изолировать от корпуса). По мере движения проволока должна расплавляться, при этом будет возникать большое количество окалины (для этого необходимо иметь костюм, закрывающий все части тела). Если проволока не расплавляется, необходимо перемотать трансформатор, увеличить сердечник и толщину витков вторичной обмотки. Коэффициент намотки уменьшить до 0,9-1 В/виток. Эту операцию проделывают при отключенных конденсаторах С5-С10, иначе электролиты могут разорваться. В случае положительного результата подключают С5-С10 и дроссель L1. Если на выходе силового выпрямителя нет напряжения, подбирают R3 и R4, для некоторых тиристоров параллельно R3, R4 подсоединяют конденсаторы по 0,22 х 100 В любого типа. Силовой выпрямитель проверяют в момент сварки или включенной нагрузки сопротивлением 1-10 Ом из нихромовой проволоки диаметром 3 мм.

Лучших результатов можно добиться путем подбора С12 и R7-R12, а также изменяя зазор в дросселе. С помощью R5 добиваются подачи проволоки так, чтобы она успевала расплавить свариваемый металл и при этом не запутывалась у ролика подающего механизма. R6 регулируют таким образом, чтобы проволока успевала остановиться и выглядывала из наконечника не более чем на 5 мм. При использовании конических мундштуков 3 (рис.6) давление на выходе редуктора углекислоты можно отрегулировать на 0,3 атм. Если мундштук цилиндрический, то на 0,5 атм., на открытой ветреной площадке - до 1 атм. Мундштук должен выглядывать за наконечник не более 2-3 мм. Внимание! Все детали высокого напряжения (220 В) должны быть тщательно изолированы. Не пользоваться аппаратом в сыром месте! Для безопасности автор рекомендует все операции настройки проводить в резиновых перчатках на резиновом коврике вдали от огнеопасных веществ. Ни в коем случае нельзя сваривать бензобаки, канистры (эксплуатируемые) или вблизи них. При работе образуется большое количество окалины (брызг раскаленного металла).

Литература:

  1. Пронский И.Н. Простой сварочный полуавтомат // Радiоаматор.-1998.-№10.- С.38.
  2. Пронский И.Н. Секреты сварочного трансформатора // Радiоаматор.-1998. -№3.
  3. Пронский И.Н. Сварочный трансформатор // Радiоаматор.-1999.-№7.

Автор: И.Н. Пронский

Смотрите другие статьи раздела Сварочное оборудование.

Читайте и пишите полезные комментарии к этой статье.

<< Назад

Последние новости науки и техники, новинки электроники:

Власть является ключевым фактором счастья в отношениях 11.03.2026

Исследования семейных и романтических отношений показывают, что длительное счастье пары зависит не только от привычных факторов, таких как доверие, уважение и преданность, но и от более тонких психологических аспектов. Современные ученые ищут закономерности, которые отличают действительно счастливые пары от остальных, чтобы понять, какие механизмы поддерживают гармонию в отношениях. Группа исследователей из Университета Мартина Лютера в Галле-Виттенберге и Бамбергского университета провела опрос среди 181 пары, которые состояли в совместных отношениях более восьми лет и прожили вместе хотя бы месяц. Участники заполняли анкету, описывая различные аспекты своих отношений, включая распределение обязанностей, эмоциональную поддержку и степень вовлеченности в совместные решения. Анализ данных показал интересный паттерн: пары, где оба партнера ощущали высокий уровень личной власти, оказывались наиболее счастливыми и удовлетворенными. В данном контексте под властью понимается способност ...>>

Защищенная колонка-повербанк Anker Soundcore Boom Go 3i 11.03.2026

Компания Anker представила новую модель линейки Soundcore - колонку Soundcore Boom Go 3i, ориентированную на активное использование на улице. Новинка отличается высокой степенью защиты: корпус соответствует стандарту IP68, что обеспечивает водо- и пыленепроницаемость, а ударопрочный дизайн выдерживает падение с высоты до одного метра. За качество звука отвечает 15-ваттный драйвер, обеспечивающий пик громкости до 92 дБ, а технология BassUp 2.0 усиливает низкие частоты, делая звучание более насыщенным. Колонка обладает автономностью до 24 часов, а LED-индикатор позволяет контролировать уровень заряда батареи. Кроме того, Soundcore Boom Go 3i может выполнять функцию павербанка: согласно внутренним тестам, устройство способно зарядить iPhone 17 с нуля до 40% за один час, что делает его полезным аксессуаром в походах и поездках. Среди функциональных особенностей модели стоит выделить технологию Auracast, которая улучшает подключение и позволяет создавать стереопару из двух колонок ...>>

Раннее воздержание от алкоголя перестраивает мозг и иммунитет 10.03.2026

Алкогольная зависимость - хроническое расстройство с компульсивным употреблением спиртного, которое влияет не только на поведение, но и на функционирование мозга и иммунной системы. Недавние исследования показали, что даже на ранних этапах воздержания организм начинает перестраиваться, открывая новые возможности для терапии зависимости. Ученые сосредоточились на пациентах, находящихся в первые недели абстиненции, и зафиксировали значительные изменения в мозговой активности. С помощью функциональной магнитно-резонансной томографии они выявили перестройку сетей нейронных связей, отвечающих за контроль импульсов и принятие решений. Эти изменения могут быть ключевыми для восстановления самоконтроля и снижения риска рецидива. Одновременно с нейронной перестройкой исследователи наблюдали колебания иммунной системы. В крови повышался уровень цитокинов - сигнальных белков, регулирующих воспалительные процессы. Эти данные свидетельствуют о существовании нейроиммунного взаимодействия, при ...>>

Случайная новость из Архива

Домашние устройства для майнинга и обогрева от Canaan Inc 13.01.2025

Компания Canaan Inc, лидер в производстве оборудования для майнинга криптовалют, представила два инновационных устройства - Avalon Mini 3 и Avalon Nano 3S. Эти новые модели открывают возможности для эффективной добычи биткоина в домашних условиях, предлагая при этом дополнительные функции, которые делают их привлекательными для широкого круга пользователей.

Avalon Mini 3 выделяется своим уникальным подходом, объединяющим добычу криптовалюты и функцию обогрева. Устройство имеет хешрейт 37,5 Th/s, что позволяет эффективно добывать биткоин, а выделяемое тепло может использоваться для обогрева жилых помещений. Этот подход делает устройство двойного назначения особенно актуальным в холодное время года, помогая снизить затраты на электроэнергию. Управление установкой осуществляется через мобильное приложение, что делает ее использование удобным и интуитивным.

Компания подчеркивает экологическую составляющую своего продукта. По словам представителей Canaan, Avalon Mini 3 способствует уменьшению углеродного следа, перерабатывая выделяемое тепло для бытовых нужд. Это решение ориентировано на пользователей, которые хотят внести свой вклад в устойчивое развитие.

Второе устройство, Avalon Nano 3S, представляет собой обновленную и компактную версию популярной модели Nano 3. Оно предлагает хешрейт 6 Th/s и отличается низким энергопотреблением. Благодаря доступной цене и небольшим размерам, этот майнер идеально подойдет для начинающих пользователей, желающих попробовать свои силы в добыче криптовалют.

CEO компании Нангенг Чжан подчеркнул, что новинки направлены на популяризацию децентрализованного майнинга. По его словам, цель Canaan - предоставить доступные и удобные решения для каждого, делая технологии более экологичными и доступными.

Avalon Mini 3 и Avalon Nano 3S поступят в продажу в феврале 2025 года по цене $899 и $249 соответственно. Эти устройства представляют собой шаг вперед в разработке технологий, которые одновременно упрощают процесс майнинга и минимизируют его воздействие на окружающую среду.

Компания Canaan, основанная в 2013 году, известна своими инновациями в области разработки ASIC-микросхем и оборудования для блокчейн-технологий. Новые устройства подтверждают ее стремление совмещать технологическую эффективность с практическими и экологическими решениями для современного пользователя.

Другие интересные новости:

▪ Электровелосипед с автопилотом

▪ Новые модули IGBT SEMiX

▪ Сон слонов

▪ Инновационная флэш-память 4D NAND

▪ Миниатюрное зарядное устройство 30 Вт

Лента новостей науки и техники, новинок электроники

 

Интересные материалы Бесплатной технической библиотеки:

▪ раздел сайта Электронные справочники. Подборка статей

▪ статья Орест и Пилад. Крылатое выражение

▪ статья Какая страна была последней, куда вторглась Шотландия? Подробный ответ

▪ статья Работа на термостате. Типовая инструкция по охране труда

▪ статья Защита автомобильных ламп накаливания. Энциклопедия радиоэлектроники и электротехники

▪ статья Современные селекторы ТВ каналов БЕЛВАР. Энциклопедия радиоэлектроники и электротехники

Оставьте свой комментарий к этой статье:

Имя:


E-mail (не обязательно):


Комментарий:





Главная страница | Библиотека | Статьи | Карта сайта | Отзывы о сайте

www.diagram.com.ua

www.diagram.com.ua
2000-2026