Бесплатная техническая библиотека
Стабилизированный адаптер из нестабилизированного. Энциклопедия радиоэлектроники и электротехники

Энциклопедия радиоэлектроники и электротехники / Блоки питания
Комментарии к статье
В магазинах, киосках подземных переходов, на радиорынках можно купить так называемые адаптеры, оформленные в виде сетевой вилки. Большие пульсации выходного напряжения и его зависимость от тока нагрузки затрудняют питание от них какой-либо радиоэлектронной аппаратуры. Как стабилизировать выходное напряжение таких адаптеров и рассказывается в данной статье.
Для фиксирования "круглых" значений выходного напряжения проще всего использовать микросхемы КР142ЕН5 и КР142ЕН8 с соответствующими буквенными индексами, устанавливая их на теплоотводе в корпус адаптера и дополняя выходным конденсатором емкостью не менее 10 мкФ. Если же необходимо "нестандартное" напряжение, следует применить микросхему КР142ЕН12А.

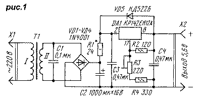
На рис. 1 приведена схема зарядно-питающего устройства для портативного радиоприемника, в котором установлены четыре аккумулятора ЦНК-0,45. Конденсатор C1 устраняет высокочастотные помехи, возникающие в момент закрывания диодов выпрямительного моста. Выходное напряжение 5.6В устанавливают подстроечным резистором R3, а максимальный ток зарядки (примерно 150 мА) - подборкой резистора R1 при подключенной разряженной аккумуляторной батарее. Блок удобен тем, что зарядка аккумуляторов происходит быстро (4...6 ч), и перезарядить их невозможно.

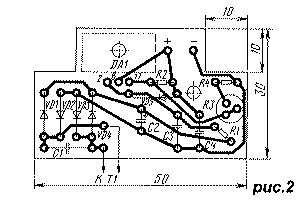
Устройство собрано на основе адаптера RW-900. Чертеж печатной платы приведен на рис. 2, а внешний вид блока - на рис. 3. Использованы резисторы МЛТ: они установлены на плате вертикально, R3 - СП3-19а. Диоды VD1-VD4 и конденсатор C2 - от адаптера, остальные - RV-6. Конденсатор C4 можно установить также и любой оксидный, но его емкость должна быть не менее 10 мкA. Диод VD5 - практически любой выпрямительный или импульсный.
Микросхема DA1 установлена на ребристый теплоотвод размерами 10x18x38 мм от промышленного устройства. Для хорошего охлаждения в нижней и верхней стенках корпуса адаптера (ориентация при включении его в настенную розетку) просверлены по шесть отверстий диаметром 6 мм.
Если ограничение выходного тока не требуется, резистор R1 и конденсатор C3 можно исключить. В таком варианте максимальный выходной ток составлял 0.5А при напряжении пульсаций около 1 мВ. Подобрав сопротивления резисторов R3 и R4, можно можно собрать стабилизатор на любое выходное напряжение в пределах, допустимых трансформатором адаптера.
Используя универсальный адаптер, можно изготовить стабилизированный блок питания с переключаемым выходным напряжением. Схема доработанного адаптера "FIRST ITEM NO:57" приведена на рис. 4. Вторичная обмотка трансформатора Т1 использована полностью, ее отводы заизолированы. Диоды VD5, VD6 - защитные.

Диоды VD1-VD4, конденсатор C2, светодиод HL1 и переключатели SA1 и SA2 - от адаптера. Резисторы R3-R8 не обязательно должны иметь указанные сопротивления, они могут отличаться в любую сторону в 1.5 раза. Важно, чтобы сопротивления R3-R7 были равны между собой с точностью 1...2%, а сопротивление R8 было вдвое большим, поскольку ими определяется погрешность установки выходных напряжений.
Все элементы, кроме трансформатора Т1, установлены на печатной плате, чертеж которой приведен на рис. 5, а внешний вид устройства - на рис. 6.
Для сверления крепежных отверстий и отверстий для установки переключателей и светодиода удобно применить печатную плату от используемого адаптера как трафарет. Чтобы выпаять переключатель из платы и при этом не повредить ее, необходимо, прогревая одновременно несколько соседних контактов паяльником, изгибать плату. Переходя постепенно к другим контактам, можно выпаять переключатель целиком.

Микросхема DA1 установлена на медную пластину размерами 52x38x1 мм, выполняющую роль теплоотвода. Пластина имеет отбортовку для крепления на плате, а по ее периметру просверлены отверстия диаметром 4 мм для обеспечения вентиляции. Для тех же целей в верхней и нижней стенках корпуса просверлено по восемь отверстий диаметром 6 мм.
Налаживание устройства заключается в установке выходных напряжений без нагрузки подборкой резисторов R2 и R9. Резистор R9 можно сразу поставить указанного на схеме сопротивления, а параллельно ему и вместо R2 впаять переменные резисторы сопротивлением 10 кОм и 56 Ом соответственно. Резистором, подключенным параллельно R9, устанавливают выходное напряжение 12 В, резистором R2 - 1.5 В. Поскольку эти установки взаимосвязаны, их надо повторить несколько раз. После этого устанавливают постоянные резисторы с подобранными сопротивлениями, причем резистор параллельно R9 подпаивают со стороны печатных проводников.
Стабилизированный адаптер обеспечивал выходной ток до 200 мА. При напряжении 12 В ток ограничен появлением пульсаций, при меньших - температурой микросхемы DA1. Увеличением поверхности теплоотвода можно существенно повысить выходной ток при малых выходных напряжениях.

Литература
- Щербина А., Благий С. Микросхемные стабилизаторы серий 142, К142, КР142. - Радио, 1990, №8, с. 89, 90; №9, с. 73
- Нефедов А., Головина В. Микросхемы КР142ЕН12. - Радио, 1993, №8, с. 41
- Нечаев И. Ускоренная зарядка аккумуляторов. - Радио, 1995, №9, с. 52, 53
- Алексеев С. Зарядные устройства для Ni-Cd аккумуляторов и батарей. - Радио, 1997, №1, с. 44-46; №2, с. 44-46
- Бирюков С. Сетевые адаптеры. - Радио, 1998, №6, с. 66, 67
Публикация: cxem.net
Смотрите другие статьи раздела Блоки питания.
Читайте и пишите полезные комментарии к этой статье.
<< Назад
Последние новости науки и техники, новинки электроники:
Власть является ключевым фактором счастья в отношениях
11.03.2026
Исследования семейных и романтических отношений показывают, что длительное счастье пары зависит не только от привычных факторов, таких как доверие, уважение и преданность, но и от более тонких психологических аспектов. Современные ученые ищут закономерности, которые отличают действительно счастливые пары от остальных, чтобы понять, какие механизмы поддерживают гармонию в отношениях.
Группа исследователей из Университета Мартина Лютера в Галле-Виттенберге и Бамбергского университета провела опрос среди 181 пары, которые состояли в совместных отношениях более восьми лет и прожили вместе хотя бы месяц. Участники заполняли анкету, описывая различные аспекты своих отношений, включая распределение обязанностей, эмоциональную поддержку и степень вовлеченности в совместные решения.
Анализ данных показал интересный паттерн: пары, где оба партнера ощущали высокий уровень личной власти, оказывались наиболее счастливыми и удовлетворенными. В данном контексте под властью понимается способност ...>>
Защищенная колонка-повербанк Anker Soundcore Boom Go 3i
11.03.2026
Компания Anker представила новую модель линейки Soundcore - колонку Soundcore Boom Go 3i, ориентированную на активное использование на улице.
Новинка отличается высокой степенью защиты: корпус соответствует стандарту IP68, что обеспечивает водо- и пыленепроницаемость, а ударопрочный дизайн выдерживает падение с высоты до одного метра. За качество звука отвечает 15-ваттный драйвер, обеспечивающий пик громкости до 92 дБ, а технология BassUp 2.0 усиливает низкие частоты, делая звучание более насыщенным.
Колонка обладает автономностью до 24 часов, а LED-индикатор позволяет контролировать уровень заряда батареи. Кроме того, Soundcore Boom Go 3i может выполнять функцию павербанка: согласно внутренним тестам, устройство способно зарядить iPhone 17 с нуля до 40% за один час, что делает его полезным аксессуаром в походах и поездках.
Среди функциональных особенностей модели стоит выделить технологию Auracast, которая улучшает подключение и позволяет создавать стереопару из двух колонок ...>>
Раннее воздержание от алкоголя перестраивает мозг и иммунитет
10.03.2026
Алкогольная зависимость - хроническое расстройство с компульсивным употреблением спиртного, которое влияет не только на поведение, но и на функционирование мозга и иммунной системы. Недавние исследования показали, что даже на ранних этапах воздержания организм начинает перестраиваться, открывая новые возможности для терапии зависимости.
Ученые сосредоточились на пациентах, находящихся в первые недели абстиненции, и зафиксировали значительные изменения в мозговой активности. С помощью функциональной магнитно-резонансной томографии они выявили перестройку сетей нейронных связей, отвечающих за контроль импульсов и принятие решений. Эти изменения могут быть ключевыми для восстановления самоконтроля и снижения риска рецидива.
Одновременно с нейронной перестройкой исследователи наблюдали колебания иммунной системы. В крови повышался уровень цитокинов - сигнальных белков, регулирующих воспалительные процессы. Эти данные свидетельствуют о существовании нейроиммунного взаимодействия, при ...>>
Случайная новость из Архива Побит рекорд температуры замерзания воды
01.01.2022
Знание того, как и почему вода превращается в лед, необходимо для понимания широкого спектра природных процессов. На колебания климата, динамику облаков и круговорот воды влияет трансформация воды и льда, как и на животных, живущих в условиях замерзания.
Древесные лягушки, например, переживают зиму на суше, позволяя своим телам замерзать. Это позволяет им выходить из спячки быстрее, чем виды, зимующие глубоко под водой, не замерзая. Но кристаллы льда могут разрывать клеточные мембраны, поэтому животным, которые используют эту технику, необходимо найти способ предотвратить образование льда в их клетках и тканях. Лучшее понимание того, как замерзает вода, может привести к лучшему пониманию этих экстремальных видов.
Хотя эмпирическое правило гласит, что температура воды замерзает при 0 градусов по Цельсию, вода может оставаться жидкой в диапазоне низких температур при определенных условиях. До сих пор считалось, что этот диапазон остановился на отметке минус 38 градусов по Цельсию. Чуть ниже - и вода должна замерзнуть. Иследователям впервые удалось удерживать капли воды в жидком состоянии при температуре до -44 градуса по Цельсию.
Открытию помогли очень маленькие капельки и очень мягкая поверхность. Они начали с капель размером от 150 нанометров, размером чуть больше частицы вируса гриппа, до двух нанометров, кластера всего из 275 молекул воды. Такой диапазон размеров капель помог исследователям раскрыть роль размера в преобразовании воды в лед.
Поскольку практически невозможно наблюдать процесс замерзания в таких небольших масштабах, исследователи использовали меры электропроводности - поскольку лед более проводим, чем вода - и свет, излучаемый в инфракрасном спектре, чтобы уловить точный момент и температуру, при которых капли трансформируются из вода для льда.
Обнаружено, что чем меньше размер капли, тем холоднее она должна быть для образования льда, а для капель размером 10 нанометров и меньше скорость образования льда резко падает. В мельчайших каплях, которые они измерили, лед не образовывался, пока вода не достигла -44 ° C.
Это открытие может иметь большое значение для предотвращения обледенения искусственных материалов, таких как авиационные и энергетические системы, сказал Гасеми. Если вода на мягких поверхностях замерзает дольше, инженеры могут включить в свои конструкции смесь мягких и твердых материалов, чтобы на этих поверхностях не образовывался лед.
|
Другие интересные новости:
▪ Мировой океан стремительно остывает
▪ Лазер с рекордными показателями стабильности
▪ Интернет по веревке
▪ Чистя зубы, важно не перестараться
▪ Депрессия и ГНСС
Лента новостей науки и техники, новинок электроники
Интересные материалы Бесплатной технической библиотеки:
▪ раздел сайта Технологии радиолюбителя. Подборка статей
▪ статья Слуга двух господ. Крылатое выражение
▪ статья Кто придумал велосипед? Подробный ответ
▪ статья Бегущий простой узел. Советы туристу
▪ статья Пробник оксидных конденсаторов. Энциклопедия радиоэлектроники и электротехники
▪ статья О снижении детонации в ЛПМ. Энциклопедия радиоэлектроники и электротехники
Оставьте свой комментарий к этой статье:
Главная страница | Библиотека | Статьи | Карта сайта | Отзывы о сайте

www.diagram.com.ua
2000-2026