Бесплатная техническая библиотека
Звуковой сигнализатор к блоку питания. Энциклопедия радиоэлектроники и электротехники

Энциклопедия радиоэлектроники и электротехники / Блоки питания
Комментарии к статье
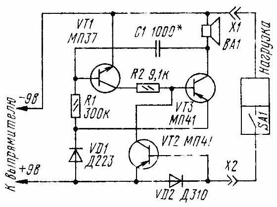
Переносный радиоприемник, магнитофон либо другое устройство в стационарных условиях получают электроэнергию от блока питания, подключенного к осветительной сети. При этом появляется риск, уходя из дома и выключив приемник, магнитофон их собственным выключателем, оставить под напряжением блок питания. Случись в нем повреждение в ваше отсутствие, ущерб может быть весьма велик. Уберечься от подобной неприятности поможет звуковой сигнализатор, схема которого приведена на рис. 1.
На транзисторе VT2 и трансформаторе Т1 собран по схеме индуктивной трехточки генератор колебаний звуковой частоты. Конденсатор С1 совместно с первичной обмоткой трансформатора определяет высоту тона, воспроизводимого динамической головкой ВА1. Работой автогенератора управляет каскад на транзисторе VT1, у которого переход коллектор-эмиттер включен между базой транзистора VT2 и плюсом блока питания. Диод VD2, включенный параллельно эмиттерному переходу транзистора VT1, стоит в цепи питания нагрузки. Другой диод-VD1 стоит в цепи эмиттера транзистора VT2.
Когда нагрузка включена, ее ток создает на диоде VD2 падение напряжения, открывающего транзистор VT1. В результате напряжение на базе транзистора VT2 оказывается положительным относительно эмиттерного, определяемого падением напряжения на диоде VD1. Благодаря этому транзистор VT2 закрыт и сигнализатор "молчит".
Если нагрузка выключена своим выключателем (SA1), ток через диод VD2 и падение напряжения на нем исчезают, транзистор VT1 закрывается. Вступает в работу автогенератор, из динамической головки ВА1 раздается звуковой сигнал, напоминающий о необходимости отсоединить блок питания от сети.
Рис. 1
Рис. 2
В сигнализаторе, кроме указанных на схеме, могут использоваться и другие транзисторы серий МП39-МП42. Трансформатор Т1 - выходной от приемников типа "Селга-404", динамическая головка - 0.1ГД-8, 0.25ГД-19 или другая малогабаритная со звуковой катушкой сопротивлением 8...10 Ом. Вместо диода VD1 подойдет любой кремниевый (серий Д226, Д206), вместо VD2 лучше использовать германиевый, например, серии Д312 при токе нагрузки до 50 мА, Д311А при токе нагрузки до 80 мА или Д310 при большем токе. Конденсатор С1 может быть МБМ, КЛС, резисторы - МЛТ, МТ мощностью от 0,125 Вт.
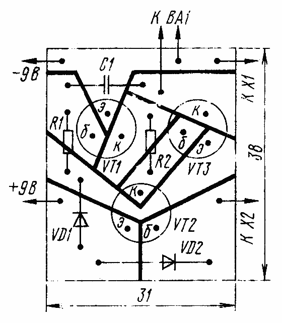
Детали сигнализатора хорошо монтировать на печатной плате из фольгированного стеклотекстолита (рис. 2). Толстыми линиями на чертеже обозначены прорези в фольге, изолирующие печатные проводники друг от друга. Конечно, плату можно изготовить методом травления, но тогда понадобится хлорное железо.
Налаживание генератора сводится к подбору конденсатора С1, определяющего тональность сигнала. Может потребоваться также уточнение сопротивления резистора R1, чтобы обеспечивался четкий запуск генератора.
Если у вас не окажется нужного трансформатора, сигнализатор может быть собран по схеме, приведенной на рис. 3. На транзисторах VT1, VT3 разной структуры выполнен несимметричный мультивибратор, частоту генерации которого изменяют подбором конденсатора С1. Звукоизлучателем служит динамическая головка либо электромагнитный капсюль.
Транзистор VT1 - любой из серий МП35-МП38, остальные детали сходны с аналогичными предыдущего варианта. Располагаются они на печатной плате в соответствии с рис. 4.
Любой из сигнализаторов целесообразно укрепить на общем основании с блоком питания.
Рис. 3
Рис. 4
Автор: Ю. Прокопцев, г. Москва; Публикация: cxem.net
Смотрите другие статьи раздела Блоки питания.
Читайте и пишите полезные комментарии к этой статье.
<< Назад
Последние новости науки и техники, новинки электроники:
Оптимальная продолжительность сна
12.11.2025
Сон играет ключевую роль в поддержании здоровья, когнитивных функций и общего самочувствия. Несмотря на широко распространенный стереотип о восьмичасовом сне, последние исследования показывают, что оптимальная продолжительность сна для большинства здоровых взрослых ближе к семи часам.
Эволюционный биолог из Гарварда, Дэниел Э. Либерман, утверждает, что традиционная норма восьми часов сна - это скорее культурное наследие индустриальной эпохи, чем биологическая необходимость. По его словам, полевые исследования, проведенные в сообществах, не использующих электричество, показывают, что средняя продолжительность сна составляет 6-7 часов, что значительно отличается от общепринятого стандарта.
Современные эпидемиологические данные подтверждают этот взгляд. Исследования выявили так называемую "U-образную кривую" зависимости между продолжительностью сна и рисками для здоровья. Минимальные показатели заболеваемости и смертности наблюдаются именно у людей, спящих около семи часов в сутки. ...>>
Дефицит кислорода усиливает выброс закиси азота
12.11.2025
Парниковые газы играют ключевую роль в изменении климата, а закись азота (N2O) - один из наиболее опасных среди них. Этот газ не только втрое сильнее углекислого газа в удержании тепла, но и разрушает озоновый слой. Недавнее исследование американских ученых показало, что микробы в зонах с низким содержанием кислорода активно производят N2O, усиливая глобальные климатические риски.
Команда из Университета Пенсильвании изучала прибрежные воды у Сан-Диего и провела наблюдения на глубинах от 40 до 120 метров в Восточной тропической северной части Тихого океана - одной из крупнейших зон дефицита кислорода. Исследователи сосредоточились на том, как морские микроорганизмы превращают нитраты в закись азота.
В ходе работы выяснилось, что существует два пути образования N2O. Один путь начинается с нитрата, другой - с нитрита. На первый взгляд более короткий путь должен быть эффективнее, однако микробы, использующие нитрат, продуцируют больше газа, поскольку этот "сырьевой" источник более д ...>>
Омега-3 помогают молодым кораллам выживать
11.11.2025
Сохранение коралловых рифов становится все более актуальной задачей в условиях глобального изменения климата. Молодые кораллы особенно уязвимы на ранних стадиях развития, когда стрессовые условия и нехватка питательных веществ могут привести к высокой смертности. Недавнее исследование ученых из Технологического университета Сиднея показывает, что специальные пищевые добавки способны существенно повысить выживаемость личинок кораллов.
В ходе работы исследователи разработали особый состав "детского питания" для коралловых личинок. В него вошли масла, богатые омега-3 жирными кислотами, а также важные стерины, необходимые для формирования клеточных мембран. Личинки, получавшие эти добавки, развивались быстрее, становились крепче и демонстрировали более высокую устойчивость к стрессовым факторам.
Особое внимание ученые уделили липидам. Анализ показал, что личинки активно усваивают эти вещества, что напрямую влияет на их жизнеспособность. Стерины, содержащиеся в корме, повышают устойчи ...>>
Случайная новость из Архива Портативный маршрутизатор ZTE F50 Pro 5G з Wi-Fi 6
03.11.2025
Мобильный интернет стал неотъемлемой частью повседневной жизни, и сегодня пользователи ожидают от портативных маршрутизаторов той же скорости и стабильности, что и от домашних сетей. Китайская компания ZTE представила устройство, которое делает этот сценарий реальностью: новый F50 Pro 5G сочетает в себе поддержку сетей пятого поколения, стандарт Wi-Fi 6 и интеллектуальные функции, способные обеспечить устойчивое подключение в любой ситуации - от поездки на поезде до многопользовательской онлайн-игры.
В основе новинки лежит 5G-чипсет, работающий как с автономными (SA), так и с неавтономными (NSA) сетями. Он поддерживает широкий диапазон частот Sub-6GHz, включая n1, n3, n5, n8, n28, n41 и n78, а также обратно совместим с сетями 4G LTE и UMTS, что обеспечивает стабильное покрытие даже в регионах с ограниченной инфраструктурой. По данным производителя, скорость загрузки может достигать 500 Мбит/с, что делает устройство одним из самых быстрых в своем классе.
ZTE F50 Pro 5G оснащен восемью всенаправленными антеннами и поддерживает технологию 2×2 MIMO, что обеспечивает равномерное 360-градусное распределение сигнала и повышает устойчивость соединения. Маршрутизатор способен одновременно обслуживать до 16 подключений, что делает его удобным решением как для путешествий, так и для небольших рабочих групп. Благодаря поддержке двух диапазонов - 2.4 и 5 ГГц - и стандарту Wi-Fi 6, пользователь может выбирать между большей дальностью и максимально возможной скоростью передачи данных.
Особого внимания заслуживает функциональность подключения. Благодаря NFC-модулю пользователи Android-устройств могут подключаться к сети одним касанием без ввода пароля. Для питания и передачи данных используется современный разъем USB Type-C (5В/2А), а встроенный аккумулятор обеспечивает автономную работу без необходимости постоянного подключения к розетке.
Визуально устройство выглядит элегантно и минималистично: корпус выполнен в черно-белых тонах, размеры составляют 79,7 х 64,8 х 10,8 мм, а вес - всего 56 граммов. На лицевой панели расположен мини-экран, отображающий уровень сигнала, состояние сети и заряд батареи. Несмотря на компактность, инженеры сумели интегрировать в корпус мощные антенны и дополнительное программное обеспечение, включая игровой режим с ускорителем NetEase UU и специальный режим для поездок на высокоскоростных поездах, который обеспечивает устойчивую связь даже при большой скорости движения.
Маршрутизатор можно полностью контролировать через приложение ZTE Smart Life, позволяющее отслеживать подключенные устройства, менять параметры сети и даже управлять устройством с помощью голосового ассистента Xing Zhihui. Дополнительным преимуществом стало встроенное облачное хранилище объемом 64 ГБ, из которых около 50 ГБ доступны пользователю. Это решение позволяет быстро обмениваться файлами между подключенными устройствами, что особенно удобно в семейных или рабочих сценариях.
Несмотря на внушительный набор функций, стоимость ZTE F50 Pro 5G составляет всего 70 долларов, что делает его одним из самых доступных маршрутизаторов с поддержкой 5G и Wi-Fi 6 на рынке.
|
Другие интересные новости:
▪ Микроконтроллер Toshiba со встроенным предварительным драйвером для управления электродвигателями
▪ Подсчет газелей из космоса
▪ Найдены таблетки от лени
▪ Сознание существует отдельно от мозга
▪ Защищенная беспроводная камера наружного наблюдения Blink XT
Лента новостей науки и техники, новинок электроники
Интересные материалы Бесплатной технической библиотеки:
▪ раздел сайта Справочные материалы. Подборка статей
▪ статья Подводная лодка класса ЕЛ-500. Советы моделисту
▪ статья Почему некоторые люди охотятся за головами? Подробный ответ
▪ статья Выбленочный узел. Советы туристу
▪ статья Фонарик для счетчика электроэнергии. Энциклопедия радиоэлектроники и электротехники
▪ статья Грязь сквозь руку. Секрет фокуса
Оставьте свой комментарий к этой статье:
Главная страница | Библиотека | Статьи | Карта сайта | Отзывы о сайте

www.diagram.com.ua
2000-2025