Бесплатная техническая библиотека
Подключение трехфазных потребителей к однофазной сети. Энциклопедия радиоэлектроники и электротехники

Энциклопедия радиоэлектроники и электротехники / Электропитание
Комментарии к статье
В радиолюбительской литературе [1...5] неоднократно поднимался вопрос о подключении трехфазного потребителя к однофазной сети. Авторы статей указывают на недостатки описанных способов:
- потеря 50% мощности от номинальной;
- не все марки электродвигателей хорошо запускаются при питании от однофазной сети;
- необходимость применения двух емкостей (пусковой и рабочей);
- ступенчатая регулировка номинала емкости в разных режимах работы;
- необходимость изменения номинала емкости при изменении нагрузки на валу;
- на холостом ходу по обмотке электродвигателя протекает ток на 40% больше номинального;
- лишние "навороты" для автоматизации отключения пускового конденсатора и при замене бумажных конденсаторов электролитическими.
Предлагаю еще один вариант подключения трехфазных потребителей к однофазной сети.
Если посмотреть па график трехфазного напряжения, видно, что каждая кривая сдвинута относительно другой на 1/3 периода (рис.1).
Рис.1
Частота сети равна 50 Гц, следовательно, период Т равен 20 мс. Отсюда следует, что 1/3 периода составляет 6,666... мс. Пусть Ua на рис.1 - однофазное синусоидальное напряжение 220 В, 50 Гц. Пропустив Ua через схему задержки на 6,666... мс, получим сдвинутое на 1/3 периода напряжение Uв, по амплитуде и частоте равное Ua. "Пропустив" через аналогичную схему задержки напряжение Uв, получим сдвинутое на 1/3 периода относительно напряжения Uв напряжение Uс.
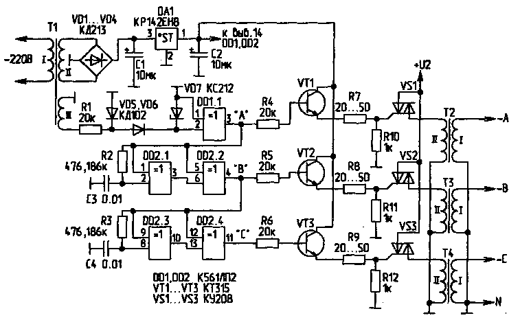
Принципиальная схема такого устройства приведена на рис.2.
Рис.2 (нажмите для увеличения)
Устройство состоит из блока питания и генератора импульсов положительной полярности на трансформаторе Т1. В блок питания входят обмотка II трансформатора Т1, выпрямительный мост VD1 ...VD4 и стабилизатор DA1. Генератор импульсов собран на обмотке III трансформатора Т1, резисторе R1 и выпрямителе на диодах VD5, VD6. Стабилитрон VD7 защищает входы элемента DD1.1 от случайного превышения напряжения более 12 В. На элементе DD1.1 собран формирователь прямоугольных импульсов. Можно применить и компаратор, подробно описанный в [6]. На выходе формирователя DD1.1 присутствуют импульсы прямоугольной формы частотой 50 Гц положительной полярности.
Предположим, что это импульсы напряжения Uа (рис.1). Импульсы с выхода "А" элемента DD1.1 подаются на вход схемы задержки, собранной на элементах DD2.1, DD2.2. R2, С3. На выходе элемента DD2.2 появляются импульсы, задержанные на 1/3 периода относительно импульсов "А", т.е. импульсы "В". Импульсы "В" подаются на вход второй схемы задержки на элементах DD2.3, DD2.4, R3, С4, на выходе которой (элемент DD2.4) присутствуют импульсы, соответствующие напряжению Uс на рис.1, сдвинутые на 1/3 периода относительно "Uв". Импульсы "А", "В", "С", сдвинутые друг относительно друга на 6,666... мс, поступают на ключевые каскады VT1, VS 1; VT2, VS2 и VT3, VS3 соответственно. С выходов ключей (симисторов VS1...VS3) импульсное напряжение частотой 50 Гц подается на обмотки трансформаторов Т2...Т4. С выходных обмоток трансформаторов получаем синусоидальные напряжения, сдвинутые на 1/3 периода или на 120° одно относительно другого, т.е. трехфазное напряжение.
Детали и регулировка схемы. Формирователь прямоугольных импульсов можно выполнить по любой из известных схем. Вместо диодов VD1...VD4 можно применить мост КЦ405. Симисторы VS1...VS3 заменяются тиристорами КУ202, т.к. на их входы подается постоянное напряжение. Постоянная времени т RC-цепей R2, С3 и R3, С4 рассчитана по формуле T=1,4RC. Приняв емкость конденсаторов C3, С4 равной 0,01 мкФ, находим сопротивление резисторов R2, R3, которое составляет 476,186 к. При этом постоянная времени т составляет 6,666604 мс, что практически равно сдвигу на 1/3 периода. Для более точной подгонки т RC-цепей резисторы R2, R3 состоят из последовательно соединенных постоянного и подстроечного резисторов общим номиналом около 510 к. Подстроечным резистором подгоняют т RC-цепей, контролируя сдвиг фаз на выходах трансформаторов Т2...Т4 фазометром, так чтобы сдвиг фаз оказался как можно ближе к 120°.
При трансформации трехфазного тока используются либо три однофазных, либо специальные трехфазные трансформаторы с сердечником в форме трех закороченных стержней. Схема соединения отдельных трансформаторов (рис.3) соответствует схеме включения "звезда/звезда". Такое соединение показано на рис.3 [7].
Рис.3
Трансформатор Т 1 (рис.2) - заводской. Напряжения обмоток: II - до 30 В (Umax.вх DA1); III-12 В. Т2...Т4 - повышающие. На вход "+U2" подается штатное напряжение, на которое рассчитаны обмотки Т2...Т4, т.е. 12 В при Uii=12 В, 24 В при Uii=24 В и т.д. Трансформаторы Т2...Т4 - готовые на соответствующие токи и напряжения или самодельные.
Литература
- Трехфазный электродвигатель в однофазной сети. - Радиолюбитель, 1992, №12, C.20.
- Смирнов К. О работе трехфазного электродвигателя в однофазной сети. - Радиолюбитель, 1993, №6, С.27.
- Кухаренко А. Трехфазный двигатель в однофазной сети. - Радиолюбитель, 1996, N2, С.28; 1996, №3, С.27.
- Новик А. Полярный конденсатор в цепи переменного тока. Радиолюбитель, 1996, №9. C.17.
- Еговкин В. Выбор диодов для пусковых оксидных конденсаторов. - Радиолюбитель, 1997, №7, С.12.
- Ильин А.Г. Стабилизатор переменного напряжения. - Радиолюбитель, 1997, №8,C.25.
- Воробьев А.В. Электротехника и электрооборудование строительных процессов. - М.: Изд-во "АСВ", 1995.
- Гинкин Г.Г. Справочник по радиотехнике. - ГЭИ, 1948.
Автор: А.Ильин, г.С.-Петербург; Публикация: Н. Большаков, rf.atnn.ru
Смотрите другие статьи раздела Электропитание.
Читайте и пишите полезные комментарии к этой статье.
<< Назад
Последние новости науки и техники, новинки электроники:
Луна поглощает воздух нашей планеты
22.01.2026
Взаимодействие Земли и Луны оказывается не только гравитационным. Новые исследования показывают, что наш естественный спутник постепенно "поглощает" крошечные фрагменты атмосферы Земли, используя для этого солнечный ветер и магнитное поле нашей планеты. Этот процесс исследователи называют космическим каннибализмом.
Еще во времена миссий "Аполлон" в 1970-х годах ученые обнаружили в лунном реголите необычные следы воды, углекислого газа, гелия и азота. Стало ясно, что часть этих веществ, включая ионы азота, попала на Луну из верхних слоев земной атмосферы.
Долгое время считалось, что подобная передача могла происходить только до того, как Земля сформировала свое магнитное поле. Магнитосфера, как считалось, должна была защищать планету и блокировать утечку атмосферных частиц в космос. Новое моделирование показало, что это представление неверно.
Ученые объединили данные лунных образцов с компьютерными моделями и выяснили, что поток ионов усиливается, когда Луна проходит через так ...>>
Игровой компьютер Asus ROG G1000
22.01.2026
Компания Asus представила ROG G1000 - устройство, которое сочетает мощнейшие комплектующие с уникальной системой визуализации, превращая корпус компьютера в полноценный элемент шоу.
Главной особенностью новинки стали три голографических вентилятора AniMe Holo, установленных в отдельных стеклянных камерах. Главный вентилятор диаметром 380 мм оснащен от 680 до 720 светодиодов, а два дополнительных вентилятора размером 215 мм имеют по 384-404 светодиода. Они способны воспроизводить голографические изображения, анимации и видео в форматах MP4, GIF, JPEG и PNG, создавая эффект "живых" панелей внутри корпуса.
Представители Asus подчеркивают, что эти вентиляторы не участвуют в охлаждении и предназначены исключительно для визуальных эффектов. Управление анимациями осуществляется через программу Armoury Crate, позволяющую пользователю персонализировать отображение по собственному вкусу.
Для поддержания оптимальной температуры компонентов ROG G1000 оснащен 420-мм жидкостным охладителем ...>>
Дефицит витамина B12 удваивает риск депрессии
21.01.2026
Питание и баланс микроэлементов играют ключевую роль не только для физического, но и для психического здоровья. Недавние исследования ирландских ученых показывают, что недостаток витамина B12 способен значительно повышать риск развития депрессии у пожилых людей, влияя на работу нервной системы и общее самочувствие.
Витамин B12 необходим для правильного формирования эритроцитов, поддержания нервной системы и синтеза ДНК. Его дефицит может проявляться широким спектром симптомов: усталостью, слабостью, запорами, потерей аппетита и веса. У некоторых людей наблюдаются нарушения памяти, дезориентация и снижение когнитивных функций, доходящее до деменции.
Особое внимание ученых привлекает анемия, которая является одним из самых опасных последствий недостатка B12. Она может возникать также при дефиците других витаминов группы B, включая фолиевую кислоту, и требует ранней диагностики и коррекции для предотвращения необратимых изменений в организме.
Новое исследование показало, что у по ...>>
Случайная новость из Архива Австралийские дети останутся без соцсетей
14.11.2024
Австралия готовится к значительным изменениям в области доступа к социальным сетям для молодежи, разрабатывая систему строгих возрастных ограничений. В планах правительства - ограничить доступ к соцсетям для детей до 16 лет, что сделает Австралию одной из самых строгих стран в сфере регулирования социальных платформ для молодежи.
В рамках реформы Австралия планирует внедрить передовую систему проверки возраста пользователей социальных сетей, включая биометрические данные и идентификацию по государственным документам. Этот шаг направлен на защиту несовершеннолетних от потенциально вредного влияния соцсетей и их контента. Важно отметить, что правила будут касаться всех аккаунтов пользователей младше 16 лет, даже с согласия родителей.
Министр связи Австралии Мишель Роуленд подчеркивает, что страна стремится стать образцом для других государств в вопросе защиты детей в интернете. На фоне нарастающих опасений по поводу влияния соцсетей на психику и здоровье молодежи, новая система может задать стандарты для мировой практики. Ограничение будет жестким и всеобъемлющим: никакие родительские разрешения не смогут дать подросткам младше 16 лет доступ к социальным сетям.
Премьер-министр Австралии Энтони Албанезе отметил, что социальные сети создают серьезные риски для детей, особенно в переходный возраст. "Если 14-летний ребенок получает доступ ко всем аспектам соцсетей в период взросления, это может негативно отразиться на его психике и поведении", - заявил премьер. По его словам, социальные сети могут провоцировать детей на негативные эмоции и комплексы, особенно это актуально для девочек, испытывающих давление от нереалистичных стандартов красоты, и мальчиков, которые могут столкнуться с агрессивным контентом.
Реформа нашла отклик и среди оппозиции, что указывает на высокую общественную поддержку. Многие австралийцы считают, что ограничения необходимы, чтобы снизить негативное влияние интернета на подрастающее поколение.
Тем не менее, представители Digital Industry Group, объединяющей крупнейшие технологические компании, включая Meta, TikTok, X (бывший Twitter) и Alphabet, выражают обеспокоенность. По их мнению, столь радикальный запрет может оказаться чрезмерным, и компании предлагают искать альтернативные методы для создания безопасной онлайн-среды, доступной для детей.
Австралия присоединилась к списку стран, стремящихся регулировать доступ детей к социальным сетям. Например, Франция предложила запретить соцсети для детей младше 15 лет, но допускает исключения при наличии родительского согласия. В США действуют правила, по которым для доступа детей до 13 лет к соцсетям требуется родительское согласие на использование персональных данных, что также усложняет возможность регистрации на платформах.
Австралийская инициатива выделяется особой жесткостью и полнотой запретов. Законопроект будет представлен парламенту для обсуждения в этом году, а вступление в силу новых правил запланировано на следующий год. Среди платформ, на которые повлияет запрет, - Facebook и Instagram (Meta), TikTok (ByteDance), X (Илон Маск), а также YouTube (Alphabet).
|
Другие интересные новости:
▪ Система ячеистой сети Samsung SmartThings Wifi
▪ Телеуправляемая крыса
▪ Изучение инстранных языков изменяет связи в мозге
▪ Новая комплексная система безопасности для борьбы с киберугрозами
▪ Карьерные самосвалы Vale на этаноле
Лента новостей науки и техники, новинок электроники
Интересные материалы Бесплатной технической библиотеки:
▪ раздел сайта Аудиотехника. Подборка статей
▪ статья Круизные лайнеры. История изобретения и производства
▪ статья Каким своим детям русские аристократы иногда давали усеченные фамилии? Подробный ответ
▪ статья Дицентра. Легенды, выращивание, способы применения
▪ статья Место размещения ветроэлектрической установки, расчет электропроводки. Энциклопедия радиоэлектроники и электротехники
▪ статья Мощные низковольтные СВЧ транзисторы для подвижных средств связи. Энциклопедия радиоэлектроники и электротехники
Оставьте свой комментарий к этой статье:
Главная страница | Библиотека | Статьи | Карта сайта | Отзывы о сайте

www.diagram.com.ua
2000-2026