Бесплатная техническая библиотека
Ремонтируем АОН своими силами. Энциклопедия радиоэлектроники и электротехники

Энциклопедия радиоэлектроники и электротехники / Телефония
Комментарии к статье
Что делать, если телефон с автоматическим определением номера перестал выполнять свои функции? Конечно, можно обратиться за помощью в мастерскую. Но очень часто отремонтировать аппарат вполне по силам и радиолюбителю средней квалификации. О методике ремонта АОНоа с питанием от сети рассказывает автор предлагаемой статьи.
Рассмотрим самый трудный и неприятный случай, происшедший с вашим аппаратом: перестала работать цифровая часть АОНа. т е, микропроцессорный контроллер. На табло отсутствует индикация либо ярко светится знак в одном из разрядов (как говорят специалисты, система "висит"). При этом телефон не реагирует ни на нажатие клавиш, ни на снятие трубки. Есть опасение, что при подключении к телефонной линии может произойти замыкание.
Начать ремонт нужно с проверки блока питания (БП). Если он исправен, подключаем к БП плату телефона и проверяем питающее напряжение непосредственно на ней. Если при исправном БП оно понизилось либо появились заметные пульсации, это говорит о пробое внутри одной из микросхем аппарата. Дефектный элемент в таком случае можно определить по сильному нагреву или методом перебора, поочередно отключая цепи питания микросхем.
Если после указанных действий аппарат все же не работает, придется изучить его устройство более глубоко. Все АОНы, питающиеся от электросети, делятся на две группы: выполненные на базе процессора 280 (возможные аналоги - Т34ВМ1, ММЕ, КР1858ВМ1) и на однокристальной микро-ЭВМ. Построение цифровой части этих групп телефонов принципиально различно, поэтому рассмотрим процесс ремонта аппаратов каждого типа отдельно.
Для ремонта аппарата, построенного на основе Z80, можно использовать схему, представленную в [1]. Ремонт следует начинать с проверки работы кварцевого генератора, собранного на двух элементах микросхемы К555ЛН1 и делителя частоты (К555ИЕ7 или К155ИЕ5). При исправной работе этих узлов на выводе 6 процессора Z80 должен быть сигнал частотой 4 МГц, а на выводах 9 и 18 таймера КР5808И53 - 1 МГц.
На следующем этапе надо проверить правильность формирования сигнала сброса (вывод 26 Z80) при включении литания, а также постоянное присутствие высокого уровня на выводах 17, 24, 25 процессора. Если узел сброса работает нечетко, его можно доработать так, как рекомендуется в [2].
После этого включаем аппарат, предварительно вынув из панели микросхему ПЗУ. При этом на выводах 19, 21 и 27 процессора должны быть импульсы, свидетельствующие о попытках чтения из ПЗУ, а на шине данных - сложный динамический сигнал. Этот сигнал надо рассмотреть на экране осциллографа, обращая внимание на его амплитуду. Если размах импульсов мал (менее 3 B), это говорит о пробое входа или выхода одной из микросхем, подключенной к данному проводнику шины. Если же на указанных выводах вообще нет импульсных сигналов, значит неисправен процессор.
Когда сигналы на шине данных восстановлены, стоит попытаться запустить программу с другой микросхемой ПЗУ, содержащей аналогичную прошивку. Если это не даст результатов, следует проверить работу периферийных микросхем аппарата. На этом этапе значительно ускорить и облегчить процесс наладки поможет применение тестовой программы (автор использует "Phon LS"), При этом микросхему КР573РФ4 (2764), содержащую тест, вставляют в панельку вместо штатного ПЗУ.
После запуска программа выполняет следующие действия:
а) проверяет функционирование портов устройства ввода-вывода (УВВ) KP580BB55A. При обнаружении каких-либо неполадок УВВ в левом разряде индикатора одиночными символами будет выведено сообщение "Еrr 8255";
б) проверяет индикатор по разрядам, а затем по сегментам. Визуально определяются дефекты индикатора, а также микросхем К555ИД4, ИК555ИР23;
в) тестирует ОЗУ. При нахождении неисправных ячеек памяти, а также при отсутствии импульсов выборки ОЗУ появляется сообщение "Еrr РУ10". В этом случае надо проверить наличие питания и правильность формирования сигнала и CS микросхемы памяти. Если эти сигналы в норме, ОЗУ требует замены. Кстати, версии программы "Русь" с индексом выше 17 уже содержит встроенный тест ОЗУ;
г) тестирует каналы программируемого таймера КР580ВИ53. Надпись "Еrr 8253" возникнет при отсутствии сигнала RD на выводе 22 таймера, однако не стоит беспокоиться: этот сигнал для работы программы не обязателен. Сообщение "CLC Еrr" появится при неисправностях в канале 0 таймера (формирование запроса прерывания процессора). Такой же результат будет и в случае отсутствия тактовой частоты таймера. Наконец, для проверки 2-го канала программа воспроизводит музыкальный фрагмент, позволяющий на слух оценить правильность формирования звуков. В случае искажения мелодии таймер следует заменить.
При этом для КР580ВИ53 может потребоваться подбор микросхемы, аналоги же этого таймера (8253 или КР1810ВИ54) можно использовать без подбора;
д) тестирует клавиатуру;
е) проверяет аналоговые узлы аппарата. Здесь представляет интерес тест канала В порта, настроенного на ввод информации. При этом на индикаторе отображается состояние всех восьми разрядов порта в виде нулей и единиц. Это позволяет быстро обнаружить неисправности УВВ, связанные с обслуживанием телефонной линии (анализ положения трубки и состояния линии, прием вызова и сигнальной посылки от АТС).
Добавлю, что неправильная работа периферийных микросхем может быть связана с отсутствием сигналов управления, в частности CS (выбор кристалла), поэтому перед запуском теста полезно проверить функционирование микросхемы К555ЛЛ1, участвующей в выработке этих сигналов.
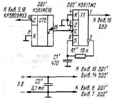
С этого же этапа следует продолжать работу по налаживанию в том случае, когда нет тестовой программы. Некоторую трудность здесь создает наличие программно зависимой обратной связи (канал 0 таймера), так как при неисправности этого канала не будет динамической индикации на табло. Чтобы исключить такую ситуацию, можно сформировать сигнал прерывания процессора искусственно. Для этого на время налаживания надо отсоединить от платы вывод 16 процессора Z80 и подключить к узлу, показанному на рисунке (после окончания ремонта необходимо восстановить прежнее соединение).

Затем остается проверить функционирование двух узлов - ОЗУ и порта ввода-вывода. Сначала проверяют наличие управляющих сигналов микросхем (для КР537РУ10 - выводы 18, 20, 21, для KP580BB55A - 5, 6, 36), Отсутствие или малая амплитуда сигналов WR, RD обеих микросхем свидетельствует о неисправности процессора. Если на выводе 18 КР537РУ10 отсутствуют короткие импульсы, неисправен блок выборки ОЗУ (см. выше). Если же сигнал CS у микросхемы ОЗУ есть, а у порта ввода-вывода он отсутствует, вероятнее всего, повреждено ОЗУ (дефект в системной области памяти). При наличии сигнала выборки обоих названных узлов можно предположить неисправность УВВ.
После того, как индикация на табло будет восстановлена, следует проверить работу клавиатуры, для чего надо проконтролировать сигнал на выводах 24 и 25 УВВ. При нажатии кнопки на одном из этих выводов должны появляться импульсы амплитудой не менее 3 В. Если их размах невелик и нажатие требует большого усилий, значит, загрязнены контактные площадки клавиатуры либо токопроводящая резина, что нередко случается у старых аппаратов. Если при нормальном размахе импульсов на выводах 24 и 25 порта нажатий клавиш не отрабатываются, эта микросхема неисправна.
Для ремонта аппарата, собранного на основе однокристальной микро-ЭВМ (чаще всего используются 80c31, 80с32, 80с52 и т. д.) можно рекомендовать схему, приведенную в [3].
Ремонт цифровой части такого аппарата проще, чем основанного на Z80. После проверки напряжения питания надо убедиться в работоспособности кварцевого генератора, для чего проверить наличие импульсов частотой 10 МГц на выводе 18 микро-ЭВМ, Здесь и далее нумерация выводов приведена для корпуса DIP (двухрядное расположение выводов).
На следующем этапе вывод 9 микро-ЭВМ надо отключить от платы и присоединить к плюсу питания через конденсатор емкостью 10 мкФ, после чего приступают к контролю уровней сигналов на шинах адреса и данных (см. выше). В случае обнаружения пробитых элементов соответствующую микросхему заменяют.
Далее проверяют работу буферного регистра (его тип - К555ИР22, 74LS373 или 74НС373), формирующего восемь младших разрядов адреса для ОЗУ и ПЗУ. На выводе 11 регистра должны присутствовать короткие импульсы загрузки (сигнал ALE), а на всех выходах - сигналы с уровнями ТТЛ. Если регистр исправен, переходят к испытанию ПЗУ заранее убедившись в наличии сигнала PSEN (вывод 29 микро-ЭВМ).
Проверить микросхему ПЗУ проще всего путем замены на заведомо исправную, содержащую аналогичную программу. Возможно, это не приведет к успеху. Тогда придется сделать вывод о неисправности микро-ЭВМ.
Кроме указанных микросхем, надо упомянуть БИС оперативной памяти. Диагностика этого узла проста, так как все версии программного обеспечения имеют встроенный тест ОЗУ и при неисправности последнего выдают надпись "Еrr ОЗУ". В таблице показаны основные разновидности микросхем памяти, применяемые в АОНах, а также их условные обозначения, которые выдаются версией "Русь-25с+" во время прохождения теста.
| Вид и емкость памяти |
Типы микросхем |
Число выводов |
Обозначение в версии"Русь-25с+" |
| Статическая (RAM) 2 Кбайт |
КР537РУ6, КР537РУ10, 6116, 2016, 5116 |
24 |
S |
| Статическая (RAM) 8 Кбайт |
КР537РУ17, 6264, 65256 (используемся 1/4 емкости) |
28 |
ES |
| ЕЕРROM 2 Кбайт |
24LC16 |
8 |
F |
| ЕЕPRОМ 8 Кбайт |
24LC64, 24LC65 |
8 |
EF |
Перечислю остальные микросхемы цифровой части: регистры, управляющие сегментами индикатора и аналоговыми цепями (К555ИР22, К555ИР23), элементы, производящие запись в эти регистры (К561ЛЕ5); дешифратор знакомест индикатора (К555ИД10). Проверка этих узлов несложна и не нуждается и пояснении.
Когда цифровая часть АОНа налажена, переходят к ремонту аналоговой - узлов, отвечающих за взаимодействие с телефонной линией.
Среди активных элементов аналоговой части задел им три ключевых транзистора (обычно используются KT940A):
а) импульсный ключ (ИК), выдающий в линию импульсы набора номера и служебные сигналы, в том числе голосовые;
б) транзистор "автоподнятия", подключающий к линии нагрузочный резистор при автодозвоне и определении номера;
в) разговорный ключ.
Такое построение является типовым, но бывают и исключения, в частности, в качестве ИК может использоваться р-n-р транзистор (КТ3157А) либо комбинация из двух транзисторов разной структуры.
Для проверки аналоговой части надо включить аппарат в телефонную сеть и испытать его во всех основных режимах (вызов, определение номера, разговор, набор номера, автодо-звон).
Ниже приведены характерные поломки аналоговой части и методы их нахождения
1. При подключении аппарата к телефонной линии в ней уменьшается напряжение, на данный номер невозможно дозвониться (постоянно "занято"). Отключив телефон от электропитания, надо измерить его входное сопротивление со стороны клемм телефонной линии, нормальное значение - от 100 до 300 кОм. Если сопротивление составляет от нескольких десятков ом до десятков килоом в обоих направлениях, причина - повреждение одного или нескольких ключевых транзисторов. Если сопротивление низкое лишь в одном направлении, неисправен один из диодов моста, включенного на входе аппарата. Еще одна возможная причина неисправности - дефект печатной платы, визуально это проявляется в виде почернения участка пластика.
2. На табло нет индикации того, что линия свободна, а после окончании разговора продолжается счет времени разговора (для версий "Русь"). Надо проверить цепь датчика состояния линии. В АОНе на Z80 на выводе 20 порта КР580ВВ55А при свободной телефонной линии должен быть высокий уровень, а при занятой - низкий. Если это так, то неисправен порт. В АОНе на микро-ЭВМ на ее выводе 15 при свободной линии должен быть низкий уровень (использован инвертор). Следует найти обрыв или заменить неисправный элемент.
3. При поступлении вызова аппарат звонит один-два раза, а потом отключается от линии (звонящий абонент слышит короткие гудки). Эта часто встречающаяся поломка связана с обрывом (перегоранием) резистора, подключаемого к линии в качестве нагрузки. Он должен быть рассчитан на мощность 0,25 Вт.
4. При поступлении вызова телефон не звонит. Надо проверить цепь детектора вызова. В АОНе на Z80 - наличие во время звонка импульсов на выводе 19 порта КР580ВВ55А. Если эти импульсы присутствуют, то порт неисправен. В АОНе на микро-ЭВМ импульсы должны быть на выводе 14 последней. В обоих случаях вероятен отказ конденсатора в цепи делителя напряжения. Бывает так, что АОН, нормально работавший на одной телефонной линии, перестает звонить на другой. Причина этому - нестандартный вызывной сигнал АТС, ведь в поздних версиях программы анализируется не только наличие, но и частота вызывного напряжения. Например, при двуполярном вызывном сигнале частота импульсов на выходе диодного моста становится вдвое больше стандартной и может выйти за пределы полосы частот, разрешенной для звонка. В этом случае работу телефона можно восстановить, подключив его к линии через диод (например, КД209А). Полярность включения диода подбирают экспериментально по наличию гудка в трубке. Следует добавить, что в программе "Русь-25с+", а также в некоторых вариантах версии "Русь-23" выбор полосы частот реализован программно.
5. Телефон звонит при отсутствии вызова на линии. Надо проверить цепь детектора (см. выше), возможен дефект конденсатора цепи делителя напряжения. Если телефон начинает звонить при наборе номера на параллельном аппарате, надо уменьшить сопротивление нижнего плеча делителя (для АОНа на Z80 - это резистор, подключенный между выводом 19 УВВ и общим проводом). Другая возможная причина - установлена слишком широкая полоса захвата частот (для версии "Русь-25с+"), В этом случае надо установить стандартную полосучастот.
6. Не работает "автодозвон", не определяются номера. Неисправность в канале усиления сигнала с линии. Для аппарата на Z80 надо проверить формирование сигнала компаратором К554СДЗ. При запуске "автодозвона" на выводе 18 УВВ должен присутствовать сигнал частотой 425 Гц. Если этот сигнал есть, то неисправно УВВ. В аппарате на микро-ЭВМ проверяют сигнал на ее выводе 13. В ранних моделях AOHoв усилитель был собран на двух-трех логических элементах КМОП, включенных последовательно и работающих в линейном режиме. Позже стали применять двухкаскадное включение ОУ. Следует проверить прохождение сигнала по этой цепи, обратив внимание на входной разделительный конденсатор - он должен быть высоковольтным (например, К73-17).
7. Автодозвон работает, но номера не определяются. Эта ситуация не обязательно говорит о неисправности аппарата. В общем случае нужно проверить настройки системы, если есть сомнения в их правильности, следует перезапустить программу. Номера могут не определяться и по другим причинам. В частности, устаревшая или ведомственная АТС может быть вообще не оборудована аппаратурой АОН. Современные же станции, напротив, часто имеют электронную блокировку, снятие которой является платной услугой. Некоторые АТС требуют индивидуального подбора параметров (вид и число запросов, пауза между ними, см. инструкцию по эксплуатации аппарата).
8. При снятой трубке невозможно набрать номер: после набора любой цифры происходит сброс линии (длинный гудок). "Автодозвон" при опущенной трубке работает нормально. Дефект связан с обрывом одного из транзисторов микрофонного усилителя, при этом эквивалентное сопротивление разговорного узла становится в несколько раз выше нормы. Из-за этого при снятии трубки напряжение в линии составляет 25...40 В вместо положенных 5...15 В. В результате после набора цифры приборы АТС не фиксируют состояние "трубка снята" и отключают абонента.
9. Нет гудка в трубке при исправной телефонной линии. Поломка вызвана неисправностью разговорного ключа, одного из транзисторов телефонного усилителя либо самого телефонного капсюля. Следует также проверить работу микропереключателя, расположенного под рычагом телефонной трубки.
10. Гудок в трубке есть, но не работает микрофон. Следует вскрыть трубку и. подключив аппарат к линии, несколько раз коснуться пинцетом плюсового вывода микрофона. Если при этом прослушиваются щелчки, то неисправен микрофон, в противном случае - дефект в микрофонном усилителе. Если телефонная трубка подключена через шнур с разъемами J11 (например, в корпусе аппарата "Technica"), надо дополнительно проверить наличие контакта в разъемах. В случае плохого контакта заменить шнур.
11. Шум в телефонной трубке при разговоре. Возможно, у электретного микрофона нарушен контакт между корпусом и отрицательным электродом. Следует слегка обжать плоскогубцами ободок микрофона либо заменить микрофон. Другая возможная причина - вышел из строя оксидный конденсатор в цепи фильтра питания микрофона.
Литература
- Коршун И, Тимаков С. Телефон делового человека. - Радио, 1993, № 9, с. 33-36.
- Никишин Д. Еще раз о доработках АОНов на Z80. - Радио, 2001, № 2, с. 38.
- Долгов О. Многофункциональный телефонный аппарат "Телинк". - Радио, 1996, № 6, с. 43-46.
Автор: Д. Никишин, г. Калуга; Публикация: radioradar.net
Смотрите другие статьи раздела Телефония.
Читайте и пишите полезные комментарии к этой статье.
<< Назад
Последние новости науки и техники, новинки электроники:
Оптимальная продолжительность сна
12.11.2025
Сон играет ключевую роль в поддержании здоровья, когнитивных функций и общего самочувствия. Несмотря на широко распространенный стереотип о восьмичасовом сне, последние исследования показывают, что оптимальная продолжительность сна для большинства здоровых взрослых ближе к семи часам.
Эволюционный биолог из Гарварда, Дэниел Э. Либерман, утверждает, что традиционная норма восьми часов сна - это скорее культурное наследие индустриальной эпохи, чем биологическая необходимость. По его словам, полевые исследования, проведенные в сообществах, не использующих электричество, показывают, что средняя продолжительность сна составляет 6-7 часов, что значительно отличается от общепринятого стандарта.
Современные эпидемиологические данные подтверждают этот взгляд. Исследования выявили так называемую "U-образную кривую" зависимости между продолжительностью сна и рисками для здоровья. Минимальные показатели заболеваемости и смертности наблюдаются именно у людей, спящих около семи часов в сутки. ...>>
Дефицит кислорода усиливает выброс закиси азота
12.11.2025
Парниковые газы играют ключевую роль в изменении климата, а закись азота (N2O) - один из наиболее опасных среди них. Этот газ не только втрое сильнее углекислого газа в удержании тепла, но и разрушает озоновый слой. Недавнее исследование американских ученых показало, что микробы в зонах с низким содержанием кислорода активно производят N2O, усиливая глобальные климатические риски.
Команда из Университета Пенсильвании изучала прибрежные воды у Сан-Диего и провела наблюдения на глубинах от 40 до 120 метров в Восточной тропической северной части Тихого океана - одной из крупнейших зон дефицита кислорода. Исследователи сосредоточились на том, как морские микроорганизмы превращают нитраты в закись азота.
В ходе работы выяснилось, что существует два пути образования N2O. Один путь начинается с нитрата, другой - с нитрита. На первый взгляд более короткий путь должен быть эффективнее, однако микробы, использующие нитрат, продуцируют больше газа, поскольку этот "сырьевой" источник более д ...>>
Омега-3 помогают молодым кораллам выживать
11.11.2025
Сохранение коралловых рифов становится все более актуальной задачей в условиях глобального изменения климата. Молодые кораллы особенно уязвимы на ранних стадиях развития, когда стрессовые условия и нехватка питательных веществ могут привести к высокой смертности. Недавнее исследование ученых из Технологического университета Сиднея показывает, что специальные пищевые добавки способны существенно повысить выживаемость личинок кораллов.
В ходе работы исследователи разработали особый состав "детского питания" для коралловых личинок. В него вошли масла, богатые омега-3 жирными кислотами, а также важные стерины, необходимые для формирования клеточных мембран. Личинки, получавшие эти добавки, развивались быстрее, становились крепче и демонстрировали более высокую устойчивость к стрессовым факторам.
Особое внимание ученые уделили липидам. Анализ показал, что личинки активно усваивают эти вещества, что напрямую влияет на их жизнеспособность. Стерины, содержащиеся в корме, повышают устойчи ...>>
Случайная новость из Архива Компьтерная оценка состояния культурных растений
15.07.2025
Современное сельское хозяйство переживает технологическую революцию, и одной из ключевых задач становится точная диагностика состояния растений. Устойчивость к климатическим изменениям, экономное использование ресурсов и повышение урожайности требуют новых подходов. Исследователи из Еврейского университета в Иерусалиме предложили инновационное решение, объединив возможности дронов и искусственного интеллекта.
Традиционные методы дистанционного анализа в агросекторе сталкиваются с ограничениями: они не всегда способны точно определить комбинированный стресс у растений, возникающий, например, при одновременном дефиците влаги и азота. Чтобы преодолеть это, израильские ученые оснастили дроны сложной системой сенсоров - гиперспектральными, тепловыми и RGB-камерами. Эти камеры не просто фиксируют изображение, но и собирают обширные данные о состоянии листвы, позволяя "увидеть" скрытые признаки стресса, незаметные невооруженному глазу.
Для обработки полученных изображений и сигналов была задействована модель машинного обучения, которая интегрирует данные со всех трех типов камер. Эксперимент проходил на плантациях кунжута в районе Реховота, где растения культивировались в разных режимах полива и удобрения. Кунжут был выбран не случайно - эта масличная культура востребована по всему миру и отличается высокой устойчивостью к засухе.
Новая технология позволила с точностью от 65 до 90 процентов определять содержание азота и влаги в листьях, а также фиксировать первые признаки нарушения физиологического состояния растений. На основе этих данных система строит карты распределения питательных веществ и уровня водоснабжения, что дает агрономам точную картину происходящего на поле.
Особое значение эта методика приобретает в условиях глобальных климатических сдвигов. Возможность оперативно выявлять и устранять проблемы до того, как они повлияют на урожай, позволяет не только сохранить продуктивность, но и снизить расход воды и удобрений. Это, в свою очередь, делает сельское хозяйство более экологически устойчивым и экономически эффективным.
Разработанная платформа может быть адаптирована и для других сельскохозяйственных культур, не ограничиваясь кунжутом. Ученые считают, что она станет важным инструментом в агротехнике будущего, особенно в регионах с нестабильным климатом или ограниченными водными ресурсами.
|
Другие интересные новости:
▪ Новая роль ДНК
▪ Теплопроводность меди улучшена
▪ Телефон не для разговоров
▪ Карманный проектор от TI
▪ Прототип видеокамеры с поддержкой 8K
Лента новостей науки и техники, новинок электроники
Интересные материалы Бесплатной технической библиотеки:
▪ раздел сайта Микрофоны, радиомикрофоны. Подборка статей
▪ статья Россия - родина слонов. Крылатое выражение
▪ статья Какую роль в истории географических открытий сыграл итальянец Пигафетта, участник первого кругосветного плавания? Подробный ответ
▪ статья Работа на ножевых фальцевочных машинах. Типовая инструкция по охране труда
▪ статья Простой генератор для отпугивания грызунов. Энциклопедия радиоэлектроники и электротехники
▪ статья Дама и валет меняются местами. Секрет фокуса
Оставьте свой комментарий к этой статье:
Комментарии к статье:
Сергей
Как правильно настроить Русь-25 на определение номера?
Главная страница | Библиотека | Статьи | Карта сайта | Отзывы о сайте

www.diagram.com.ua
2000-2025