Menu Home

Бесплатная техническая библиотека для любителей и профессионалов Бесплатная техническая библиотека


Так можно ли защитить АОН от сбоев?. Энциклопедия радиоэлектроники и электротехники

Бесплатная техническая библиотека

Энциклопедия радиоэлектроники и электротехники / Телефония

Комментарии к статье Комментарии к статье

Мы уже неоднократно рассказывали о методах повышения надежности телефонов с автоматическим определением номера звонящего абонента (АОН), питающихся от сети переменного тока. Некоторые из устройств перезапуска могли работать не со всеми версиями программного обеспечения. Были и другие ограничения. В предлагаемой статье рассмотрены варианты устройств защиты от сбоев, которые можно использовать не только в телефонах на процессоре Z80, а и в других АОНах.

Рассмотрим основные причины неустойчивой работы АОНов.

1. Сбои из-за импульсных помех в электросети. Сильные помехи создают бытовые приборы, содержащие трансформаторы питания или электродвигатели, особенно холодильник. По опыту автора, лучшая мера защиты - выделить для питания АОНа отдельную розетку, подключенную к электропроводке возможно дальше от таких устройств.

2. Качество сборки самого аппарата. Подчеркну, что испытания мною проводились лишь на АОНах, собранных на качественных печатных платах, имеющих добротную пайку (иначе стоит ли тратить время и силы на модернизацию?). Панельки, в которые установлены микросхемы, должны обеспечивать надежный контакт. При малейшем подозрении на плохое качество панелек их надо заменять.

3. Переходные процессы при отключении электропитания - причина подавляющего большинства сбоев. Наиболее характерные последствия этого для АОНов на Z80 таковы:

type="disc">
  • появление посторонних цифр и знаков в архивах входящих и исходящих звонков, записной книжке, буфере;
  • беспорядочное заполнение будильников информацией;
  • изменение режима работы телефона и констант пользователя, что может серьезно затруднить работу с аппаратом;
  • сбой текущего времени и даты;
  • неправильная реакция на вызов;
  • самопроизвольное "зависание", при котором возможно занятие телефонной линии без ведома пользователя.
  • Сбои последних двух категорий и подобные им имеют весьма печальные последствия, так как связаны с искажением недоступных пользователю системных переменных программы АОНа. Это влечет за собой "зависание" процессора и последующий перезапуск с полной потерей хранящейся в ОЗУ информации. Зачастую такой сбой не сразу вызывает "зависания", но остается в памяти и в дальнейшем проявляет себя подобно компьютерному вирусу, создавая иллюзию исправности аппарата. По этой причине устройства защиты, отслеживающие сканирование индикатора, не всегда эффективны. Не решает проблемы и отключение шин процессора сигналом BUSRQ (для Z80).

    К сожалению, подобные недостатки присущи и АОНам, выполненным на другой элементной базе, в частности на микро-ЭВМ 80с31. Лучше защищены от сбоев аппараты, в которых использована FLASH-память.

    Анализ работы АОНа показывает, что причина этих явлений - недостаточная проработка цифровой части аппарата. В частности, при изменении напряжения питания от +5 В до нуля (отключение электрической энергии ) сигналы WR и RD на входах микросхемы ОЗУ некоторое время имеют неопределенные значения, так как напряжение на этих линиях падает синхронно с питающим. Запрещающий же уровень таких сигналов для ОЗУ - высокий. Кроме того, не исключена вероятность ложного выбора ОЗУ сигналом CS. Сочетание этих двух факторов может привести к паразитному срабатыванию ОЗУ, запись в которое информации, для него не предназначенной, создает описанные выше эффекты. Ложный выбор ОЗУ в режиме чтения также вреден: при этом шина данных начинает подпитываться от конденсатора поддержки ОЗУ. В итоге за 2...3 с он разряжается более чем наполовину. Естественно, о длительном хранении данных в ОЗУ говорить не приходится.

    Наиболее эффективный способ защиты от подобных сбоев включает в себя контроль напряжения питания и блокирование ОЗУ в момент, когда напряжение упадет ниже определенного уровня. При этом запрещающий сигнал, формируемый на входе CS микросхемы ОЗУ, отключает ее на все время переходного процесса. Благодаря этому исключаются как искажение информации в памяти, так и быстрая разрядка конденсатора поддержки.

    Предлагаемый метод имеет очень высокую эффективность (более 99%), так как устраняются не только последствия, но и причина сбоев. Подобная защита применима в аппаратах с любой версией программы ПЗУ, с разными типами процессоров (как Z80, так и однокристальные микро-ЭВМ) и ОЗУ (как двух-, так и восьмикилобайтные), т. е. практически во всех АОНах, использующих питание от электросети. Недостаток - отсутствие защиты от импульсных помех. Если эта проблема все же возникает, можно дополнительно использовать устройство перезапуска для Z80, например, как указано в [1]. В АОНах на основе микро-ЭВМ устройство автоматического перезапуска обычно входит в состав аппарата.

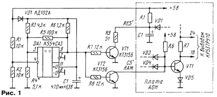
    На рис. 1 показан базовый вариант устройства защиты и подключение его к типовой схеме АОНа на Z80, использующего ОЗУ объемом 2 Кбайт. Обозначение элементов на плате АОНа соответствует [2]. Компаратор DA1 использован в качестве триггера Шмитта, уровни срабатывания которого зависят от соотношений номиналов резисторов R3 - R5 (практически важна лишь величина нижнего порога).

    Так можно ли защитить АОН от сбоев?

    При падении напряжения питания (а значит, и напряжения на выводе 4 DA1) до некоторого значения, на выводе 9 DA1 возникает высокий уровень. Транзисторы VT1 и VT2 открываются, при этом транзистор, управляющий выборкой ОЗУ АОНа закрывается. Конденсатор в цепи сброса процессора быстро разряжается через открытый транзистор VT1, что защищает процессор от "зависания" при коротких (менее 2 с) перерывах в электроснабжении. Питание же самого компаратора во время переходного процесса обеспечивает конденсатор С1.

    В устройстве использованы резисторы МЛТ, конденсатор С1 - К50-35. Чертеж печатной платы показан на рис. 2.

    Так можно ли защитить АОН от сбоев?

    Для налаживания устройства необходим цифровой вольтметр с входным сопротивлением не менее 1 МОм и разрешением не хуже 0,01 В. Сначала резистор R4 надо заменить цепью из последовательно соединенных постоянного резистора сопротивлением 2 кОм и переменного 4,7 кОм, причем движок последнего установить в положение минимального сопротивления. Затем измеряют напряжение на выводе 4 микросхемы DA1 и, медленно вращая движок переменного резистора, устанавливают на выводе 3 DA1 напряжение на 0,04...0,08 В ниже измеренного.

    Следует учитывать, что разность потенциалов более 0,1 В может понизить эффективность защиты, при слишком же малой разнице могут появиться ложные срабатывания, например, из-за температурной нестабильности элементов. При измерении надо следить за тем, чтобы компаратор не переключался в состояние высокого уровня на выводе 9.

    После этого измеряют сопротивление цепи из двух резисторов и заменяют ее одним постоянным резистором, подобранным как можно точнее. Настроенную плату размещают в корпусе АОНа, при этом соединительные провода следует делать как можно короче.

    Для проверки защитных свойств нужно включить АОН в сеть и перезапустить программу (в частности, для версий "Русь" нажать клавиши: "&№42;", "&№42;", "3", "5", "1"). Затем многократно (30...40 раз) провести цикл выключения-включенияпитания, используя электроудлинитель со встроенным выключателем. После этого надо просмотреть содержание областей памяти АОНа, доступных пользователю: архивов входящих и исходящих звонков, записной книжки, будильников. Отсутствие информации в них говорит о надежности действия защиты. Полезно также просмотреть константы пользователя, сравнив их со значениями, находившимися в памяти после перезапуска. Если сбои в памяти все же обнаружены, настройку следует повторить (см. выше), установив резистор R4 немного большего сопротивления.

    Теперь несколько слов о конденсаторе подпитки ОЗУ в АОНе. Оптимальной можно считать емкость 220...470 мкф. Главную роль играет не значение емкости, а качество изоляции, т. е. ток утечки. Тип конденсатора подбирают экспериментально. Так, дешевые конденсаторы китайского производства и отечественные К50-35 способны, как правило, поддерживать питание ОЗУ в течение 3...4 ч. Для конденсаторов с меньшим током утечки время хранения может исчисляться сутками и даже превышать неделю (автором использовались конденсаторы фирмы NITSUKO). Наилучший вариант - использование ионистора или батареи из 2-3 "пальчиковых" элементов, подключенной через диод, это делает память аппарата практически энергонезависимой. Для размещения элементов удобно воспользоваться батарейным отсеком, имеющимся во многих аппаратах, в частности "Technica".

    Еще одно замечание касается блока питания (БП) АОНа: в связи с высокой чувствительностью устройство защиты предъявляет повышенные требования к нему. Наличие заметных пульсаций крайне нежелательно, а в ряде случаев вообще недопустимо (особенно если установлена очень маленькая разность потенциалов между входами компаратора, см. выше). Поэтому следует проверить работу БП под нагрузкой: минимальное мгновенное напряжение на входе стабилизатора КР142ЕН5А не должно быть ниже 8,5 В. Полезно испытать источник и при пониженном напряжении в сети, используя для этого ЛАТР. В случае появления на выходе пульсаций следует заменить БП или принять меры по его доработке: увеличить число витков вторичной обмотки, заменить выпрямитель со средней точкой на мостовой, питающийся от всей обмотки, и др.

    Второй вариант устройства защиты показан на рис.3. Основу его составляет интегральный таймер DA1, включенный нетипично: вход UR (вывод 5) использован для подачи рабочего, а вход R (вывод 6) - опорного напряжения. Делитель R1 R2 позволяет установить между выводами 5 и 6 DA1 напряжение в несколько сотых долей вольта, определяющее чувствительность устройства.

    Принцип действия тот же, что и в первом варианте: при отключении электроэнергии напряжение на выводе 5 DA1 спадает гораздо быстрее, чем на выводе 6, в итоге срабатывает компаратор верхнего уровня, входящий в состав таймера DA1, и на выходах DA1 возникает низкий уровень. При последующем включении питания на выходах микросхемы DA1 удерживается высокий уровень за счет действия компаратора нижнего уровня, вход которого (вывод 2 DA1) подключен к общему проводу [3].

    Выход DA1, имеющий двухтактный выходной каскад (вывод 3), используется для блокировки ОЗУ аппарата. В зависимости от примененного в АОНе процессора и ОЗУ возможен один из трех вариантов включения.

    1. В аппарате использовано ОЗУ КР537РУ17 или аналогичное, вне зависимости от типа процессора. В этом случае используем неинвертирующий вход CS (вывод 26) микросхемы ОЗУ, который обычно не задействован и подключен к плюсовому выводу источника питания. Необходимо указанный вывод отключить от цепи питания и подать на него сигнал непосредственно с вывода 3 микросхемы DA1. Резистор R&№39;, поддерживающий на входе CS неактивный уровень в режиме хранения, надо смонтировать на плате АОНа (рис.3).

    Так можно ли защитить АОН от сбоев?

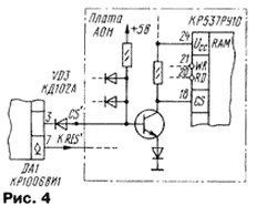
    2. Использован ОЗУ КР537РУ10 (РУ8), схема выборки которого содержит транзистор [4]. Такое построение узла применяется почти во всех аппаратах на Z80 и довольно редко - в других АОНах. В этом случае надо установить диод VD3 и соединить проводником его анод с базой вышеуказанного транзистора, как показано на рис.4.

    Так можно ли защитить АОН от сбоев?

    3. Использовано ОЗУ КР537РУ10 (РУ8), схема выборки которого не имеет транзистора. Такое подключение характерно для большинства АОНов на базе микро-ЭВМ (например, 80с31) и крайне редко встречается в аппаратах на Z80. Блокировка осуществляется по входу CS (вывод 18) микросхемы ОЗУ, для чего на плату АОНа устанавливают транзистор VT и резистор R&№39; (рис.5). Необходимо перерезать в удобном месте печатный проводник, идущий к указанному выводу микросхемы, и аккуратно припаять к нему транзистор выводами эмиттера и коллектора. К выводу базы VT&№39; подключают проводник от устройства защиты, при этом вместо диода VD3 устанавливают резистор R3. Резистор R&№39; установлен на плате АОНа между выводами 18 и 24 микросхемы ОЗУ.

    Так можно ли защитить АОН от сбоев?

    Следует заметить, что все разнообразие типов зарубежных микросхем ОЗУ, используемых в АОНах, на практике сводится лишь к двум видам микросхем, различным по емкости: 2 кБайт и 8 кБайт. В частности, микросхемы, имеющие 24 вывода, являются аналогами отечественных приборов КР537РУ10 (РУ8) как по функциональному назначению, так и по расположению выводов. Аналогично зарубежные микросхемы, выполненные в 28-выводных корпусах, взаимозаменяемы с отечественными КР537РУ17. Отдельно можно упомянуть микросхемы FLASH-памяти (обычно изготавливаются в 8-выводных корпусах); они используются в АОНах сравнительно редко и не требуют какой-либо защиты от помех благодаря иному физическому принципу работы.

    Выход таймера DA1 с открытым коллектором (вывод 7) используется для перезапуска процессора. В случае с Z80 достаточно отыскать на плате АОНа конденсатор цепи начального запуска, к плюсовому выводу которого подключают проводник с указанного выхода DA1.

    В АОНах, выполненных на однокристальных микро-ЭВМ, устройство защиты дополняет штатную систему автоматического перезапуска, делая ее работу более корректной. Для реализации защиты сначала необходимо найти проводник, идущий ко входу сброса микроЭВМ (например, для 80с31 в корпусе DIP это вывод 9 [4]). Затем выявляют логические элементы, участвующие в работе системы перезапуска (обычно она выполняется на микросхемах К561ЛН2 или К561ЛЕ5), и, наконец, конденсатор начального запуска. Минусовый вывод этого конденсатора, как правило, соединен с общим проводом, к положительному же надо подключить проводник от вывода 7 микросхемы DA1.

    Для налаживания устройства резистор R2 (рис. 3) надо временно заменить цепью из последовательно соединенных постоянного резистора сопротивлением 10 кОм и переменного 47 кОм. Затем включают АОН в электросеть и, медленно увеличивая сопротивление переменного резистора от нуля, добиваются сбоя в работе аппарата (исчезновение показаний на табло). После этого измеряют сопротивление цепи из двух резисторов и заменяют ее одним постоянным резистором, имеющим сопротивление на 4...5 кОм меньше измеренного.

    Проверить работу защиты можно тем же способом, что и в первом варианте устройства, а при необходимости повторить настройку. Применение резистора R2 меньшего сопротивления влечет за собой снижение эффективности защиты, а слишком большое сопротивление может вызвать сбои в работе аппарата.

    Требования к качеству электропитания АОНа и рекомендации по выбору конденсатора поддержки ОЗУ остаются те же, что и для первого варианта. Добавлю лишь, что микросхемы ОЗУ объемом 8 Кбайт (КР537РУ17 или аналогичные) имеют значительно больший ток потребления в статическом режиме, чем двухкилобайтные. По этой причине даже с высококачественным конденсатором редко удается достичь времени хранения более одного часа, желательно использовать для подпитки ионистор или батарею гальванических элементов.

    На рис. 6 показан чертеж печатной платы.

    Так можно ли защитить АОН от сбоев?

    Литература

    1. Турчинский Д. Доработка АОН на Z80. - Радио,1998, № 8,с.50.
    2. Принципиальная схема АОН. - М.: Центр СКС, 1993.
    3. Пухальский Г., Новосельцева Т. Проектирование дискретных устройств на интегральных микросхемах. Справочник. - М.: Радио и связь, 1990.
    4. Многофункциональный телефонный аппарат "Телинк". - Радио, 1996, №6, с.43-46.

    Автор: Д.Никишин, г.Калуга

    Смотрите другие статьи раздела Телефония.

    Читайте и пишите полезные комментарии к этой статье.

    << Назад

    Последние новости науки и техники, новинки электроники:

    Хорошо управляемые луга могут компенсировать выбросы от скота 15.02.2026

    Животноводство, особенно разведение крупного рогатого скота, часто обвиняют в значительном вкладе в глобальное потепление из-за мощного парникового газа - метана, который выделяется при пищеварении у жвачных животных. Это вызывает острые политические споры и призывы к сокращению потребления мяса. Однако ученые напоминают, что полная картина климатического воздействия отрасли не ограничивается только выбросами от животных: огромную роль играет окружающая экосистема - пастбища, почва и растительность, которые способны активно поглощать углекислый газ из атмосферы. Исследователи из Университета Небраски-Линкольна решили глубже изучить этот баланс. Группа под руководством профессора Галена Эриксона сосредоточилась на том, как правильно организованные пастбища накапливают углерод в растениях и грунте благодаря естественным процессам, стимулируемым выпасом скота. Ученые подчеркивают, что при достаточном уровне осадков и грамотном управлении такие луга превращаются в мощные природные погло ...>>

    NASA тестирует инновационную технологию крыла 15.02.2026

    Коммерческая авиация ежегодно расходует колоссальные объемы керосина, что сказывается не только на бюджете авиакомпаний, но и на состоянии окружающей среды. В 2024 году глобальные затраты на авиационное топливо достигли 291 миллиарда долларов, и эта сумма продолжает расти. Чтобы справиться с этими вызовами, NASA активно работает над технологиями, способными заметно повысить аэродинамическую эффективность самолетов. Одним из самых перспективных направлений стало создание специальной конструкции крыла, которая максимизирует естественный ламинарный поток воздуха и минимизирует сопротивление. В январе 2026 года специалисты NASA Armstrong Flight Research Center успешно провели важный этап наземных испытаний концепции Crossflow Attenuated Natural Laminar Flow (CATNLF). Для эксперимента под фюзеляж исследовательского самолета F-15B закрепили вертикально ориентированную масштабную модель высотой около 0,9 м (3 фута), напоминающую узкий киль. Такая компоновка позволила подвергнуть прототип р ...>>

    Забота о внуках очень полезна для здоровья мозга 14.02.2026

    Общение между поколениями приносит радость всей семье, но мало кто задумывается, насколько активно бабушки и дедушки, заботящиеся о внуках, поддерживают свою умственную форму. Регулярное взаимодействие с детьми стимулирует мозг пожилых людей, помогая сохранять память, скорость мышления и общую когнитивную активность. Новые научные данные подтверждают, что такая добровольная помощь не только важна для общества, но и может замедлять возрастные изменения в мозге. Исследователи из Тилбургского университета в Нидерландах провели анализ, чтобы понять, приносит ли уход за внуками реальную пользу здоровью пожилых людей. Ведущий автор работы Флавия Черечес отметила, что многие бабушки и дедушки регулярно присматривают за детьми, и оставался открытым вопрос, насколько это положительно сказывается на их собственном благополучии, особенно в плане когнитивных функций. Ученые поставили цель выяснить, способен ли регулярный уход за внуками замедлить снижение памяти и других умственных способ ...>>

    Случайная новость из Архива

    Генерация электроэнергии во время сушки древесины 13.12.2022

    Работая с мелкими деталями внутри дерева, шведские инженеры придумали интересный новый способ уборки электроэнергии. Эта технология использует естественные процессы, которые уже происходят при сушке древесины, но перегружает ее, чтобы получить достаточно электроэнергии для светодиодов и других небольших устройств.

    Исследование, которое проводит наноинженеры из Королевского технологического института KTH, сосредоточено на последовательности происходящих событий, когда древесина становится влажной, а затем высыхает. Это называется транспирация и происходит во всех растениях, когда вода проходит через них, а затем улетучивается, фактически производя небольшое количество биоэлектричества.

    Предыдущие попытки уловить и использовать это электричество были усложнены из-за низкой мощности, но авторы считают, что они решили эту проблему, реконструировав стенки деревянных ячеек. С помощью новой обработки с использованием гидроксида натрия, команда смогла создать высокопористые версии с большей площадью поверхности и большей проницаемостью клеточных стенок для воды.

    Это приводит к большему поверхностному заряду и перемещению воды через материал, что улучшает его способность генерировать электричество. Это можно было еще больше повысить за счет точной настройки уровня pH древесины.

    "Мы сравнили ячеистую структуру обычной древесины с материалом, который мы улучшили относительно поверхности, пористости, поверхностного заряда и переноски воды, - сказал Юаньюань Ли. - Наши измерения показали, что выработка электроэнергии в 10 раз выше, чем у натурального дерева".

    В текущем виде инженерная древесина может выдавать 1 вольт и выходную мощность 1,35 микроватт на квадратный сантиметр. Он может работать на этом уровне в течение двух-трех часов и выдерживать десять циклов воды, прежде чем производительность начнет падать. Нужна дополнительная работа, чтобы технология действительно нашла практическое применение, но потенциал вдохновил ученых.

    "Сейчас мы можем использовать небольшие устройства, такие как светодиодная лампа или калькулятор, - говорит Ли. Для нормального домашнего хозяйства нам понадобится гораздо больше материалов и воды, поэтому требуются дополнительные исследования".

    Другие интересные новости:

    ▪ Новый рекорд по длительности беспосадочного перелета

    ▪ Источники питания Mean Well HRP/N

    ▪ Температура воздуха в Арктике достигла максимума

    ▪ Любовь к фастфуду приближает деменцию

    ▪ Смартфон Intex Cloud String V2.0 с дактилоскопическим сенсором

    Лента новостей науки и техники, новинок электроники

     

    Интересные материалы Бесплатной технической библиотеки:

    ▪ раздел сайта Радио - начинающим. Подборка статей

    ▪ статья Александр Дюма (сын). Знаменитые афоризмы

    ▪ статья Чем запятнаны большинство американских долларов? Подробный ответ

    ▪ статья Александр Белл. Биография ученого

    ▪ статья Автомат-эконом электроэнергии. Энциклопедия радиоэлектроники и электротехники

    ▪ статья Приемник прямого преобразования на 28 МГц для космической связи. Энциклопедия радиоэлектроники и электротехники

    Оставьте свой комментарий к этой статье:

    Имя:


    E-mail (не обязательно):


    Комментарий:





    Главная страница | Библиотека | Статьи | Карта сайта | Отзывы о сайте

    www.diagram.com.ua

    www.diagram.com.ua
    2000-2026