Menu Home

Бесплатная техническая библиотека для любителей и профессионалов Бесплатная техническая библиотека


Кодовый выход на межгород. Энциклопедия радиоэлектроники и электротехники

Бесплатная техническая библиотека

Энциклопедия радиоэлектроники и электротехники / Телефония

Комментарии к статье Комментарии к статье

Предлагается схема на основе микроконтроллера фирмы MICROCHIP PIC12F629 - устройство кодового выхода на межгород и мобильную цифровую связь.

Устройство кодового выхода на межгород предназначено для кодового выхода на межгород и мобильную цифровую связь с телефонных аппаратов с импульсным набором номера, а также блокирования набора номера с телефона, пиратски подключенного параллельно телефонной линии. Устройство не влияет на работу телефонного аппарата при наборе номера и ведении городских телефонных переговоров. Устройство кодового доступа не предназначено для работы на телефонных линиях со спаренными телефонами.

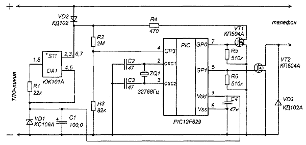
Схема электрическая принципиальная устройства приведена на рис. 1.

Кодовый выход на межгород. Принципиальная схема
Рис.1.

Схема расположения элементов приведена на рис. 2, а печатная плата - на рис. 3.

Кодовый выход на межгород. Схема расположения элементов
Рис.2.

Кодовый выход на межгород. Печатная плата
Рис.3.

Размеры печатной платы - 45x23 мм. Печатная плата устройства кодового выхода на межгород размещается в корпусе телефонной розетки.

Устройство кодового доступа выполнено на основе микроконтроллера PIC12F629 фирмы MICROCHIP с энергонезависимой памятью. Наличие энергонезависимой памяти позволяет сохранять текущие коды доступа и состояние устройства, программировать новые коды: - выхода на межгород; - отключения/включения кодового выхода на межгород; - входа в режим программирования кодов доступа.

Для выхода на межгород необходимо поднять телефонную трубку, последовательно, начиная со старшей цифры, набрать четырехзначный код доступа ХХХХ и, через 1...1,5 сек при появлении тонального сигнала телефонной линии, начать набор междугородного номера или номера мобильного телефона. Данную операцию необходимо делать при каждой попытке выйти через цифру "8" на межгород или мобильную связь. При попытке прямого набора междугороднего или мобильного номера, устройство кодового выхода будет блокировать импульсы набора.

Предусмотрен код отключения функции кодового выхода на межгород. Для этого необходимо поднять телефонную трубку и набрать другой код: YYYY. Выход из режима кодового доступа на межгород подтверждается двойным звуковым сигналом. После этого устройство в дальнейшем не влияет на набор междугородних и мобильных номеров телефонов.

Для включения функции кодового выхода на межгород необходимо при поднятой трубке набрать предыдущий код YYYY. Вход в режим кодового выхода на межгород подтверждается при этом коротким звуковым сигналом.

Если возникнет необходимость сменить коды доступа, необходимо при поднятой телефонной трубке набрать еще один код 7777 и, после длинного звукового сигнала, набрать одну из следующих кодовых комбинации:

type="disc">
  • хххх 1 - новый код выхода на межгород;
  • уууу 5 - новый код для включения/отключения кодового выхода на межгород;
  • zzzz 9 - новый код входа в режим программирования кодов доступа.
  • Здесь хххх, уууу, zzzz - четырехзначные коды доступа. Запись нового кода доступа подтверждается длинным звуковым сигналом.

    Если последние цифры набора не соответствуют указанным выше или телефонная трубка положена на телефон, устройство выходит из режима программирования без изменения кодов доступа и звукового сигнала.

    Исходные коды доступа, записанные в память микроконтроллера следующие:

    >
  • 2111 - выход на межгород;
  • 2115 - включение/отключение кодового выхода на межгород;
  • 2119 - программирование кодов доступа.
  • Что касается блокировки пиратски подключенного к телефонной линии телефона, то здесь есть некоторые особенности. Уверенно блокируется импульсный набор номера с телефонов импортного производства и с телефонов с электронным номеронабирателем. Несколько хуже обстоят дела, если пиратский телефон - отечественный телефонный аппарат с дисковым набором номера. Это связано с тем, что схемотехника зарубежных телефонных аппаратов несколько отличается от принятой у нас. Подробнее об этом можно прочитать в [1].

    При подключении данного устройства к телефонной сети необходимо соблюдать указанную на рис.1 полярность подключения. При неправильном подключении к телефонной сети устройство работать не будет.

    Номиналы и типы элементов приведены на рис. 1. Вместо стабилитрона VD1 КС106А можно применить КС106Б. Микроконтроллер DD1 PIC12F629 устанавливается на панельке на 8 выводов. Можно установить на такие панельки и стабилизатор тока DA1 КЖ101А и стабилитрон VD1 КС106А. Кварц ZQ1 на 32768 Гц часового типа. Транзисторы VT1 и VT2 только типов КП504А, КП504Б.

    После монтажа элементов на печатную плату и проверки проделанной работы, устройство можно подключить через резистор сопротивлением 470...1000 Ом мощностью 1...2 Вт к источнику напряжения 50...60 В, а на выход устройства подключить телефон. Напряжение на выводах микроконтроллера DD1 должно быть в пределах 2,9...3,5 В, как при положенной, так и при поднятой телефонной трубке.

    Далее необходимо измерить микроамперметром ток потребления устройства от телефонной линии, предварительно отключив телефон от устройства кодового доступа.

    Если значение тока лежит в пределах 190...210 мкА, то все нормально. Если ток меньше этого значения, то необходимо немного увеличить сопротивление R1, если ток больше -уменьшить сопротивление R1 или даже закоротить его накоротко.

    Если есть осциллограф, проверить им наличие импульсов частоты 32768 Гц на выводе 3 микроконтроллера DD1 при поднятой телефонной трубке. Если они отсутствуют, то можно попробовать поменять выводы кварца местами. Если импульсы не появятся - заменить кварц ZQ1.

    При отсутствии осциллографа, работоспособность устройства кодового выхода с подключенным телефоном и поднятой телефонной трубкой можно проверить, набрав код включения/отключения кодового выхода на межгород. При этом в телефонной трубке, при исправном устройстве и при правильном подключении к телефонной линии, будет слышен одинарный или двойной звуковой сигнал. Эту операцию можно проделывать периодически для контроля работоспособности устройства кодового выхода на межгород, не забывая возвращаться в ранее установленное состояние.

    На основе программы работы устройства кодового выхода на межгород и схемы на рис.1 можно собрать устройства с другими полезными функциями, например:

    >
  • периодический контроль телефонной линии при телефонном разговоре наналичие пиратского телефона с соответствующей звуковой сигнализацией при обнаружении факта прослушивания;
  • ограничение времени разговора по телефону с возможностью программирования длительности разговора;
  • блокировка выхода на межгород с ведомственных телефонных станций (при выходе в городскую телефонную сеть через дополнительную цифру);
  • набор городского телефонного номера через двух- четырехзначный код для защиты от радиотелефонных пиратов (при наличии в доме радиотелефона);
  • включение/отключение указанных функций по отдельным кодам доступа.
  • За консультацией по поводу работы схемы устройства кодового доступа на межгород и со своими пожеланиями и предложениями обращаться к автору статьи.

    Литература

    1. Кизлюк А. И. Справочник по устройству и ремонту телефонных аппаратов зарубежного и отечественного производства.- М.: Библион, 1995.

    Автор: Н. Купреев, г. Минск; Публикация: radioradar.net

    Смотрите другие статьи раздела Телефония.

    Читайте и пишите полезные комментарии к этой статье.

    << Назад

    Последние новости науки и техники, новинки электроники:

    Токсичность интернета преувеличена 07.01.2026

    Социальные сети нередко воспринимаются как арена постоянной агрессии, оскорблений и распространения фейковой информации. Новое исследование Стэнфордского университета показывает, что реальность значительно отличается от популярного представления: интернет гораздо менее токсичен, чем многие пользователи считают. Ученые опросили более тысячи американцев, попросив их оценить долю пользователей соцсетей, которые ведут себя агрессивно или распространяют ненависть. Оказалось, что впечатления людей сильно преувеличивают масштабы проблемы. Например, респонденты считали, что почти половина пользователей Reddit хотя бы раз оставляла оскорбительные комментарии, тогда как фактические данные платформы показывают, что таких людей не более 3%. Аналогичная ситуация наблюдается с дезинформацией. Опрос показал, что большинство участников считали почти половину аудитории Facebook распространителями фейковых новостей, однако статистика говорит об обратном: фактическая доля таких пользователей состав ...>>

    Процессоры Ryzen AI 400 07.01.2026

    Современные вычисления все больше ориентируются на интеграцию искусственного интеллекта и высокую производительность в компактных устройствах, таких как ноутбуки и мини-ПК. Новая линейка процессоров AMD Ryzen AI 400 демонстрирует, как разработчики объединяют мощные центральные ядра, графику и нейросетевые ускорители в одном чипе, чтобы удовлетворять растущие потребности пользователей в играх, контенте и ИИ-приложениях. AMD представила процессоры серии Gorgon Point, которые включают до 12 ядер Zen 5 и до 24 потоков вычислений. Чипы поддерживают интегрированную графику RDNA 3.5, обеспечивают максимальную тактовую частоту до 5,2 ГГц и имеют энергопотребление от 15 Вт до 54 Вт. Особое внимание уделено NPU, способному обрабатывать до 60 триллионов операций в секунду (TOPS), что делает эти процессоры эффективными для задач с искусственным интеллектом. Конструкция Ryzen AI 400 сочетает ядра Zen 5 и Zen 5c, обеспечивая высокую гибкость и производительность. Несмотря на то, что архитектур ...>>

    Женщины лучше распознают признаки болезни по лицу 06.01.2026

    Способность распознавать, что кто-то нездоров, часто проявляется интуитивно: бледная кожа, опущенные веки, уставшее выражение лица могут сигнализировать о недомогании. Новое исследование международной группы ученых показало, что женщины в среднем точнее мужчин улавливают такие тонкие невербальные признаки болезни, что может иметь эволюционные и социальные объяснения. В отличие от предыдущих работ, где использовались отредактированные фотографии или имитация больных лиц, ученые решили проверить, насколько люди способны распознавать естественные признаки недомогания. Такой подход позволил оценить реальную чувствительность к изменениям в лицах, возникающим при болезни. В исследовании приняли участие 280 студентов, поровну мужчин и женщин. Участникам предложили оценить 24 фотографии, на которых изображены люди как в здоровом состоянии, так и во время болезни. Это дало возможность сравнить восприятие естественных признаков недомогания в реальных лицах. Для анализа состояния каждого ...>>

    Случайная новость из Архива

    Бюджетный телефон Motorola G06 Power 09.09.2025

    Компания Motorola выпустила новый бюджетный телефон G06 Power, который сочетает впечатляющую батарею с современными характеристиками. Новинка демонстрирует, что даже в бюджетном сегменте возможно сочетание большой батареи, современных технологий и эргономичного дизайна.

    Главной особенностью Moto G06 Power стал аккумулятор емкостью 7000 мАч. Производитель обещает, что такой объем позволит устройству работать до двух с половиной дней без подзарядки. Более того, батарея способна сохранить около 80% своей емкости после 1000 циклов зарядки, что обеспечивает долговременную эксплуатацию без заметного снижения автономности.

    Смартфон оснащен крупным 6,88-дюймовым IPS-дисплеем с разрешением 1640 х 720 пикселей и частотой обновления 120 Гц. Яркость экрана достигает 600 нит, что позволяет комфортно использовать устройство как в помещении, так и на улице при солнечном свете.

    Аппаратная платформа построена на процессоре MediaTek Helio G81 Extreme с графическим ускорителем Mali-G52 MC2. В базовой конфигурации Moto G06 Power предлагает 8 ГБ оперативной памяти и 256 ГБ встроенной, которую можно расширить картой microSD до 1 ТБ, обеспечивая пользователю значительное пространство для приложений, фото и видео.

    Смартфон получил основную камеру с разрешением 50 Мп и диафрагмой f/1.8, дополненную светодиодной вспышкой, а фронтальная камера получила разрешение 8 Мп и диафрагму f/2.0. Устройство работает под управлением Android 15 и оснащено всем необходимым набором современных интерфейсов: сканером отпечатков на боковой панели, модулем NFC, Bluetooth 6, двухдиапазонным Wi-Fi и стереодинамиками с поддержкой Dolby Atmos.

    При этом смартфон получил степень защиты IP64, что делает его устойчивым к пыли и брызгам, а фирменное сотрудничество с PANTONE обеспечило привлекательные варианты окраски корпуса.

    В Европе новинка оценена в 130 евро, что делает Moto G06 Power одним из самых доступных устройств на рынке с таким объемным аккумулятором. Смартфон идеально подходит пользователям, которым важна автономность, но при этом они не готовы переплачивать за флагманские функции.

    Другие интересные новости:

    ▪ Искусственная кожа против наркотиков

    ▪ Роботизированный экзоскелет для семян

    ▪ Стволовые клетки для регенерации мышц

    ▪ Пчелиная огневка против полиэтилена

    ▪ Изоляционный эксперимент по имитации жизни на Марсе

    Лента новостей науки и техники, новинок электроники

     

    Интересные материалы Бесплатной технической библиотеки:

    ▪ раздел сайта Электротехнические материалы. Подборка статей

    ▪ статья А Васька слушает да ест. Крылатое выражение

    ▪ статья Какую вероятность увеличивает фотография младенца в кошельке? Подробный ответ

    ▪ статья Парусник из бревен. Личный транспорт

    ▪ статья Магнитно-твердые материалы. Энциклопедия радиоэлектроники и электротехники

    ▪ статья Автоматическое включение телевизора. Энциклопедия радиоэлектроники и электротехники

    Оставьте свой комментарий к этой статье:

    Имя:


    E-mail (не обязательно):


    Комментарий:





    Главная страница | Библиотека | Статьи | Карта сайта | Отзывы о сайте

    www.diagram.com.ua

    www.diagram.com.ua
    2000-2026