Menu Home

Бесплатная техническая библиотека для любителей и профессионалов Бесплатная техническая библиотека


Проект Незабудка. Энциклопедия радиоэлектроники и электротехники

Бесплатная техническая библиотека

Энциклопедия радиоэлектроники и электротехники / Охранные устройства и сигнализация объектов

Комментарии к статье Комментарии к статье

Микромощный радиопередатчик, находящийся в портфеле, рюкзаке, сумке, и миниатюрный радиоприемник у владельца, реагирующий на исчезновение контакта с "радиофицированными" вещами, образуют охранную систему, способную обнаружить пропажу на самом раннем этапе.

Принципиальная схема микропередатчика "Радионезабудки" показана на рис. 1. Мультивибратор на элементах DD1.1 и DD1.2 генерирует меандр с частотой 0,25...0,3 Гц. Дифференцирующая цепь R3C2 и элемент DD1.4 формируют короткие импульсы длительностью 20 мс. Эти импульсы управляют работой высокочастотного генератора на транзисторе VT1.

Проект Незабудка
Рис.1

Передатчик работает в импульсном режиме. Лишь при появлении на выходе DD1.4 высокого уровня будут созданы условия его возбуждения: откроется электронный ключ (транзистор VT2) в цепи питания, а в базе транзистора VT1 возникнет необходимый начальный ток. Рабочая частота передатчика определяется установленным кварцевым резонатором ZQ1 (26 945 кГц). Время вхождения передатчика в рабочий режим и соответственно фронт излучаемого им радиоимпульса - около 4 мс. Относительно медленное вхождение в рабочий режим кварцованных автогенераторов обусловлено высокой добротностью кварцевых резонаторов.

В паузе между импульсами энергопотребление высокочастотной части передатчика сведено практически к нулю. Для его уменьшения в цепь питания микросхемы DD1 введен резистор R4, снижающий напряжение на ней до величины, при которой сквозные токи через КМОП-структуры становятся малыми.

В качестве VT1 может быть применен любой кремниевый n-p-n-транзистор, имеющий граничную частоту не менее 200 МГц. Требование к VT2: Uкэнас <0,2 В. Если этот транзистор будет иметь меньшее усиление по току, то для введения его в режим насыщения потребуется уменьшить сопротивление резистора R7. Катушку L1 - "магнитную антенну" передатчика - наматывают виток к витку на стеклотекстолитовой пластине размерами 20х8 и толщиной 1,5 мм. Катушка содержит 30...35 витков, намотанных проводом ПЭВШО 0,25.

Кварцевый резонатор ZQ1 должен иметь частоту, разрешенную Госсвязьнадзором для охранных систем: 26 945 кГцили 26 960 кГц. Желательно, чтобы это был основной его резонанс. На резонаторах, рабочая частота которых является гармоникой основного резонанса (чаще третьей), она обычно обозначается иначе: 26,945 МГц или 26,960 МГц. При работе с таким кварцем дроссель-антенну L1 потребуется заменить полноценным колебательным контуром, включенном так, чтобы его сопротивление, приведенное к коллектору VT1, не превышало 1...1.5 кОм (возможно шунтирование резистором).

Микропередатчик работает, как правило, без какой-либо внешней антенны - при "незабудочных" расстояниях она просто не нужна. Но при необходимости "дальнобойность" может быть немного увеличена. Для этого достаточно подключить к коллектору транзистора VT1 10... 15-сантиметровый кусок монтажного провода.

Источником питания передатчика может служить любая 6-вольтная батарея. Зависимость потребляемого тока Iпотр от напряжения источника питания Uпит показана в табл. 1. Можно применить миниатюрную 6-вольтную батарею типа Е11А (диаметр 10,3 мм, высота 16 мм). В выключателе питания нет необходимости -достаточно ввести батарею в специальное гнездо, имеющее подпружиненные контакты. Если передатчик должен быть в работе постоянно, то батарею лучше припаять.

Таблица 1

Uпит, В Iпотр, мка
2,5 3,5
3.7 13
4,2 36
5 46
5,5 55
6 62

Все элементы микропередатчика располагают на печатной плате, изготовленной из двустороннего фольгированного стеклотекстолита толщиной 1 мм (рис. 2). Фольга со стороны деталей служит общим проводом (с ней соединен минусовый вывод батареи питания). Соединения с фольгой выводов резисторов, конденсаторов и др. показаны черными квадратами, "зеземляемый" вывод микросхемы - черным квадратом со светлой точкой в центре.

Проект Незабудка
Рис.2

Кварцевый резонатор ZQ1 устанавливают в вырезе печатной платы, а "заземляемый" вывод припаивают к фольге. Электролитические конденсаторы C3 (его диаметр 4 мм, а высота 8 мм) и С6 (диаметр 8 мм, высота 12 мм) монтируют в положении "лежа": C3 - над микросхемой, С6 - на плате. Все резисторы -МЛТ-0,125. Типы конденсаторов: С1 -К10-176, С2 и С6 - КМ6, С4 - КД.

Проект Незабудка
На рис. 3 показана смонтированная плата передатчика.

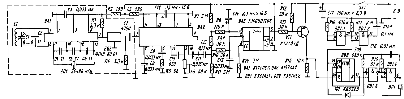
Радиоприемник "Радионезабудки" представляет собой супергетеродин с однократным преобразованием частоты (рис. 4). Микросхема DA1 - смеситель, входной контур которого настроен на частоту радиоканала охранной сигнализации 26 945 или 26 960 кГц. Частота гетеродина задана и стабилизирована кварцевым резонатором ZQ1. Эта частота смещена относительно рабочей частоты канала на 465 кГц. Сигнал разностной (промежуточной) частоты 465 кГц, выделенный пьезофильтром ZQ2, поступает на вход микросхемы DA2, в которую входят усилитель промежуточной частоты, амплитудный детектор и усилитель низкой частоты.

Проект Незабудка
Рис.4 (нажмите для увеличения)

Операционный усилитель DA3 представляет собой компаратор, преобразующий импульсный сигнал малого уровня в импульс с амплитудой, близкой к Uпит. Неинвертирующий вход DA3 отслеживает напряжение источника питания. Сигнал с детектора поступает на инвертирующий вход DA3 через интегрирующую цепь R10C15, которая существенно снижает чувствительность приемника к импульсным помехам. В компараторе особенно важен резистор R9: падение напряжения на нем задает порог срабатывания компаратора. Так, при указанных на схеме номиналах напряжение на резисторе R9 будет равно 30 мВ и компаратор будет реагировать лишь на входные сигналы, амплитуда которых превысит это значение.

Устройство, генерирующее тревожный сигнал при исчезновении микропередатчика, содержит задающий генератор на элементах DD1.1, DD1.2 и звуковой генератор (DD1.3, DD1.4). Импульс на входе R счетчика DD2 устанавливает его в нулевое состояние. В счетчик введена блокировка: при появлении высокого уровня на входе CN он перестает реагировать на сигналы, поступающие на вход СР. В этом состоянии создаются условия для периодического возбуждения звукового генератора - он возбуждается лишь при высоком уровне на выходе 10 DD1.1 и высоком уровне на выходе счетчика DD2.

Импульсы микропередатчика периодически возвращают счетчик в нулевое состояние. При исчезновении сигналов микропередатчика тревожная сигнализация включится, а при их возобновлении - немедленно прекратится.

Магнитная антенна L1 намотана на ферритовом стержне МЗОВН диаметром 8 и длиной 40 мм. Можно использовать отрезок магнитной антенны МЗОВН-Д9001, разломив сердечник по нужному месту после легкого надреза алмазным надфилем. Обмотка имеет 5 витков провода МГШВ-0,15, уложенных в ряд. Резонансная емкость контура Ср и его добротность Q мало зависят от размещения катушки на сердечнике: Ср=32 пф и Q=260 -если она находится в средней части сердечника, Ср=34 пФ и 0=280 - если в 5...6 миллиметрах от края.

Частоту кварцевого резонатора ZQ1 рекомендуется выбирать ниже рабочей частоты. В таком случае канал "зеркального" приема оказывается в малозагруженной сетке В диапазона гражданской связи.

Резистор R6, от которого зависит чувствительность приемника (она растет с перемещением движка R6 вниз), может быть выполнен как подстроечным, так и переменным - с удобной ручкой.

Экран, показанный на рис. 4 штриховой линией, предназначен не столько для защиты радиоприемника от внешних наводок (его чувствительность относительно невелика), сколько внутренних: сигналы с крутыми фронтами, циркулирующие в DD1 и DD2, имеют высокочастотные составляющие, которые при неудачном монтаже могут влиять на приемный тракт. Экран не должен образовывать короткозамкнутого витка на магнитной антенне!

Все постоянные резисторы в приемнике-МЛТ-0,125. Типы конденсаторов: С1 -КТ4-23; С12, С17 - К50-35 или К50-40; С14 - К53-30; остальные - КД, КМ6, К10-176 или аналогичные. Излучатель ВП-ЗП-22.

Проект Незабудка
Рис.5

Приемник монтируют на печатной плате из двустороннего фольгированного стеклотекстолита толщиной 1,5 мм (рис. 5). Она имеет три выреза: для размещения питающей батареи, кварцевого резонатора ZQ1 и обмотки магнитной антенны. Монтаж выполнен подобно тому, как это сделано в микропередатчике (черными квадратами со светлой точкой в центре здесь отмечены и проволочные перемычки, соединяющие с "общей" фольгой те или иные фрагменты печатного монтажа).

Проект Незабудка
Рис.6

Экран изготавливают из тонкой латуни или жести, его раскрой показан на рис. 6. Три его стороны отгибают по линиям, показанным штриховой, а четвертую - плавным перегибом на 10...11-миллиметровой болванке. Экран пропаивают по стыкам, выравнивают низ и крепят на печатной плате пайкой в четырех точках.

Проект Незабудка
На рис. 7 показан вид собранной платы приемника со снятым экраном.

В безошибочно собранном радиоприемнике необходимо лишь настроить входной контур L1C1C2 на частоту выбранного радиоканала. Это можно сделать с помощью генератора стандартных сигналов и вольтметра со шкалой 1 ...2 В. Подать сигнал с генератора можно, например, подключив к его выходу отрезок монтажного провода (своего рода антенну) и расположив рядом приемник. Вольтметр надо подключить к выводу 9 микросхемы DA2, Вращая ротор конденсатора С1, находят такое положение, которому соответствует максимальное показание вольтметра.

Генератор стандартных сигналов можно заменить работающей на передачу Си-Би радиостанцией, если она имеет канал 39 в сетке В европейского стандарта (этому каналу соответствует частота 26 945 кГц) или канал 1 сетки С российского стандарта (26 960 кГц).

Настройка входного контура радиоприемника может быть проведена и непосредственно по сигналам микропередатчика, расположенного в 1,5..,2 метрах: установив движок резистора R6 в среднее положение, находят такое положение ротора С1, при котором сигнал тревоги исчезает. При настройке приемника по сигналам микропередатчика полезен и осциллограф - с его помощью легко проследить прохождение импульсного сигнала по приемному тракту, настроить входной контур (по максимальной амплитуде импульсов на инвертирующем входе ОУ DA3), проконтролировать работу задающего и звукового генераторов и др.

Источником питания радиоприемника служит 6-вольтная гальваническая батарея типа 476А или аккумулятор. В табл. 2 показана зависимость потребляемого приемником тока Iпотр от напряжения источника питания Uпит.

Таблица 2

Uпит, В Iпотр., mА
4,2 3,5
4.5 3,7
5 4
5.5 4.4
6 4,7

Автор: Р. Балинский, г. Харьков, Украина; Публикация: Н. Большаков, rf.atnn.ru

Смотрите другие статьи раздела Охранные устройства и сигнализация объектов.

Читайте и пишите полезные комментарии к этой статье.

<< Назад

Последние новости науки и техники, новинки электроники:

Хорошо управляемые луга могут компенсировать выбросы от скота 15.02.2026

Животноводство, особенно разведение крупного рогатого скота, часто обвиняют в значительном вкладе в глобальное потепление из-за мощного парникового газа - метана, который выделяется при пищеварении у жвачных животных. Это вызывает острые политические споры и призывы к сокращению потребления мяса. Однако ученые напоминают, что полная картина климатического воздействия отрасли не ограничивается только выбросами от животных: огромную роль играет окружающая экосистема - пастбища, почва и растительность, которые способны активно поглощать углекислый газ из атмосферы. Исследователи из Университета Небраски-Линкольна решили глубже изучить этот баланс. Группа под руководством профессора Галена Эриксона сосредоточилась на том, как правильно организованные пастбища накапливают углерод в растениях и грунте благодаря естественным процессам, стимулируемым выпасом скота. Ученые подчеркивают, что при достаточном уровне осадков и грамотном управлении такие луга превращаются в мощные природные погло ...>>

NASA тестирует инновационную технологию крыла 15.02.2026

Коммерческая авиация ежегодно расходует колоссальные объемы керосина, что сказывается не только на бюджете авиакомпаний, но и на состоянии окружающей среды. В 2024 году глобальные затраты на авиационное топливо достигли 291 миллиарда долларов, и эта сумма продолжает расти. Чтобы справиться с этими вызовами, NASA активно работает над технологиями, способными заметно повысить аэродинамическую эффективность самолетов. Одним из самых перспективных направлений стало создание специальной конструкции крыла, которая максимизирует естественный ламинарный поток воздуха и минимизирует сопротивление. В январе 2026 года специалисты NASA Armstrong Flight Research Center успешно провели важный этап наземных испытаний концепции Crossflow Attenuated Natural Laminar Flow (CATNLF). Для эксперимента под фюзеляж исследовательского самолета F-15B закрепили вертикально ориентированную масштабную модель высотой около 0,9 м (3 фута), напоминающую узкий киль. Такая компоновка позволила подвергнуть прототип р ...>>

Забота о внуках очень полезна для здоровья мозга 14.02.2026

Общение между поколениями приносит радость всей семье, но мало кто задумывается, насколько активно бабушки и дедушки, заботящиеся о внуках, поддерживают свою умственную форму. Регулярное взаимодействие с детьми стимулирует мозг пожилых людей, помогая сохранять память, скорость мышления и общую когнитивную активность. Новые научные данные подтверждают, что такая добровольная помощь не только важна для общества, но и может замедлять возрастные изменения в мозге. Исследователи из Тилбургского университета в Нидерландах провели анализ, чтобы понять, приносит ли уход за внуками реальную пользу здоровью пожилых людей. Ведущий автор работы Флавия Черечес отметила, что многие бабушки и дедушки регулярно присматривают за детьми, и оставался открытым вопрос, насколько это положительно сказывается на их собственном благополучии, особенно в плане когнитивных функций. Ученые поставили цель выяснить, способен ли регулярный уход за внуками замедлить снижение памяти и других умственных способ ...>>

Случайная новость из Архива

Шерсть белых медведей отталкивает лед 09.02.2025

Арктика - суровое и беспощадное место обитания, где белые медведи сталкиваются с экстремальными условиями. Чтобы выжить в этой ледяной пустыне, эти мощные хищники должны быть хорошо адаптированы к холоду и постоянному контакту со льдом. Ученые из Тринити-колледжа в Дублине предположили, что секрет выживания белых медведей кроется в их шерсти, и их исследование подтвердило эту гипотезу.

Оказалось, что главная особенность, помогающая белым медведям не примерзать ко льду, - это жирная шерсть. Кожное сало, или жир для волос, покрывающее шерсть животных, препятствует прилипанию льда. Это открытие может иметь большое значение не только для понимания адаптации белых медведей к арктическим условиям, но и для разработки новых технологий. Химики и инженеры могут вдохновиться этим природным механизмом для создания новых противогололедных покрытий для различных материалов, от тканей до лыж и сноубордов.

По словам соавтора исследования, химика Ричарда Гоббса, под двумя слоями меха у белых медведей находится толстый слой жира, который помогает животным сохранять тепло. Эти слои настолько эффективно удерживают тепло, что взрослые самцы могут активно передвигаться даже во время бега. Ученые предполагают, что именно благодаря этому жировому слою и специальной структуре шерсти лед не накапливается на теле медведей, позволяя им чувствовать себя комфортно в ледяной воде и около нее.

Гоббс отмечает, что животные, обитающие в полярных регионах, часто становятся источником вдохновения для разработки новых материалов с защитой от наледи. В своей новой работе ученые сосредоточились на том, чтобы понять, как именно этот механизм работает у белых медведей. Для этого команда собрала шерсть шести белых медведей в дикой природе и измерила силу сцепления льда с шерстью, чтобы определить, насколько хорошо лед может прилипать к меху.

Затем ученые изучили гидрофобность шерсти - способность материала отталкивать воду и препятствовать ее замерзанию. Они также проанализировали время задержки замерзания, то есть время, необходимое для замерзания капли воды при определенных температурах на определенной поверхности. В качестве сравнения исследователи изучили также свойства человеческих волос и двух видов лыжных шкурок, изготовленных человеком.

По словам другого соавтора исследования, Джулиана Кэролана, ученые быстро поняли, что дело в кожном сале, которое обеспечивает антиледяной эффект. Невымытые, жирные волосы значительно усложняли прилипание льда. Напротив, когда шерсть белого медведя мыли и жир в значительной степени удаляли, она вела себя так же, как и человеческие волосы, к которым лед легко прилипает, независимо от того, вымыты они или жирны.

Далее ученые провели детальный химический анализ кожного сала белых медведей. Команда определила ключевые компоненты, среди которых холестерин, диацилглицерины и жирные кислоты. В то же время ученые обнаружили, что жирный метаболит под названием сквален, который ранее наблюдался в человеческих волосах и шерсти водных млекопитающих, не обитающих в условиях льда, отсутствовал в шерсти белого медведя. Предполагается, что отсутствие сквалена в шерсти белого медведя играет решающую роль в предотвращении обледенения.

Жирная шерсть, покрытая специальным секретом, отталкивает лед, предотвращая примерзание и обеспечивая комфорт животным в холодной воде и на льду. Это открытие может стать источником вдохновения для создания новых материалов с защитой от наледи, которые будут широко использоваться в различных областях техники и повседневной жизни.

Другие интересные новости:

▪ Губы из пробирки

▪ Гиперактивность появляется из-за дефицита внимания

▪ Вирусы опаснее для мужчин, чем для женщин

▪ Самая большая активно-матричная панель

▪ Цифровые запоминающие осциллографы серии TDS6000B

Лента новостей науки и техники, новинок электроники

 

Интересные материалы Бесплатной технической библиотеки:

▪ раздел сайта Бытовые электроприборы. Подборка статей

▪ статья У меня есть мечта. Крылатое выражение

▪ статья Каким желанием музыкантов оркестра был вдохновлен Гайдн, сочиняя Прощальную симфонию? Подробный ответ

▪ статья Скордия. Легенды, выращивание, способы применения

▪ статья Усовершенствованный блокиратор системы зажигания. Энциклопедия радиоэлектроники и электротехники

▪ статья Мощный преобразователь напряжения 12/5 вольт по простой схеме. Энциклопедия радиоэлектроники и электротехники

Оставьте свой комментарий к этой статье:

Имя:


E-mail (не обязательно):


Комментарий:





Главная страница | Библиотека | Статьи | Карта сайта | Отзывы о сайте

www.diagram.com.ua

www.diagram.com.ua
2000-2026