Бесплатная техническая библиотека
Стабилизаторы вращения двигателей ЛПМ

Энциклопедия радиоэлектроники и электротехники / Электродвигатели
Комментарии к статье
В широко распространенных ныне переносных магнитолах производства стран Юго-Восточной Азии и некоторых стран Европы используются коллекторные двигатели постоянного тока (КДПТ) со встроенными регуляторами частоты вращения (с правым или левым вращением) на напряжение 6, 9 и 12В.
Рис. 1. Регулятор частоты двухскоростного электродвигателя на напряжение 12 В
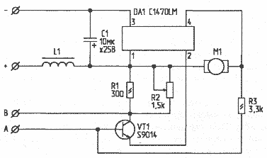
Надежность этих стабилизаторов, мягко говоря, оставляет желать лучшего, и они довольно часто (особенно при интенсивной эксплуатации) выходят из строя. Стоимость двигателей в сборе довольно существенна. По моему мнению, проще заменить интегральную микросхему стабилизатора. Для упрощения ремонта и возможной модернизации привожу принципиальные схемы наиболее часто встречающихся КДПТ фирм "Matsuschita" и "Mabushi". На рис.1 - регулятор частоты двухскоростного электродвигателя на напряжение 12 В, на рис.2 - односкоростного, на 9 В. Схемы составлены непосредственно по печатным платам стабилизаторов. Включение дополнительных элементов для регулировки скорости вращения в первой схеме показано на рис.3.
Рис. 2. Регулятор частоты односкоростного электродвигателя на напряжение 9 В
Направление вращения вала КДПТ определяется по обозначению в правом нижнем углу заводской таблички: двигатель левого вращения обозначается CCW ("contra clock way" - "против часовой стрелки"), правого вращения - CW ("clock way" - "по часовой стрелке"). Описанные здесь стабилизаторы можно использовать и в отечественных кассетных магнитофонах и магнитолах взамен устаревших регуляторов РЧВ-1-02 и РС-1-09. К сожалению, примененные в них интегральные микросхемы не имеют отечественных аналогов.
Рис. 3. Включение дополнительных элементов для регулировки скорости вращения
Автор: В.Харьковский, г. Лиски, Воронежской обл.; Публикация: radioradar.net
Смотрите другие статьи раздела Электродвигатели.
Читайте и пишите полезные комментарии к этой статье.
<< Назад
Последние новости науки и техники, новинки электроники:
Оптимальная продолжительность сна
12.11.2025
Сон играет ключевую роль в поддержании здоровья, когнитивных функций и общего самочувствия. Несмотря на широко распространенный стереотип о восьмичасовом сне, последние исследования показывают, что оптимальная продолжительность сна для большинства здоровых взрослых ближе к семи часам.
Эволюционный биолог из Гарварда, Дэниел Э. Либерман, утверждает, что традиционная норма восьми часов сна - это скорее культурное наследие индустриальной эпохи, чем биологическая необходимость. По его словам, полевые исследования, проведенные в сообществах, не использующих электричество, показывают, что средняя продолжительность сна составляет 6-7 часов, что значительно отличается от общепринятого стандарта.
Современные эпидемиологические данные подтверждают этот взгляд. Исследования выявили так называемую "U-образную кривую" зависимости между продолжительностью сна и рисками для здоровья. Минимальные показатели заболеваемости и смертности наблюдаются именно у людей, спящих около семи часов в сутки. ...>>
Дефицит кислорода усиливает выброс закиси азота
12.11.2025
Парниковые газы играют ключевую роль в изменении климата, а закись азота (N2O) - один из наиболее опасных среди них. Этот газ не только втрое сильнее углекислого газа в удержании тепла, но и разрушает озоновый слой. Недавнее исследование американских ученых показало, что микробы в зонах с низким содержанием кислорода активно производят N2O, усиливая глобальные климатические риски.
Команда из Университета Пенсильвании изучала прибрежные воды у Сан-Диего и провела наблюдения на глубинах от 40 до 120 метров в Восточной тропической северной части Тихого океана - одной из крупнейших зон дефицита кислорода. Исследователи сосредоточились на том, как морские микроорганизмы превращают нитраты в закись азота.
В ходе работы выяснилось, что существует два пути образования N2O. Один путь начинается с нитрата, другой - с нитрита. На первый взгляд более короткий путь должен быть эффективнее, однако микробы, использующие нитрат, продуцируют больше газа, поскольку этот "сырьевой" источник более д ...>>
Омега-3 помогают молодым кораллам выживать
11.11.2025
Сохранение коралловых рифов становится все более актуальной задачей в условиях глобального изменения климата. Молодые кораллы особенно уязвимы на ранних стадиях развития, когда стрессовые условия и нехватка питательных веществ могут привести к высокой смертности. Недавнее исследование ученых из Технологического университета Сиднея показывает, что специальные пищевые добавки способны существенно повысить выживаемость личинок кораллов.
В ходе работы исследователи разработали особый состав "детского питания" для коралловых личинок. В него вошли масла, богатые омега-3 жирными кислотами, а также важные стерины, необходимые для формирования клеточных мембран. Личинки, получавшие эти добавки, развивались быстрее, становились крепче и демонстрировали более высокую устойчивость к стрессовым факторам.
Особое внимание ученые уделили липидам. Анализ показал, что личинки активно усваивают эти вещества, что напрямую влияет на их жизнеспособность. Стерины, содержащиеся в корме, повышают устойчи ...>>
Случайная новость из Архива Трансатлантический оптоволоконный интернет-кабель Nuvem
29.09.2023
Корпорация Google объявила о запуске инновационного трансатлантического оптоволоконного кабеля под названием Nuvem. Этот проект направлен на установление высококачественного интернет-соединения между Соединенными Штатами, Португалией и Бермудскими островами. Он призван обеспечить более надежную трансатлантическую связь в условиях роста спроса на цифровые сервисы. Пока что подробные технические характеристики новой кабельной системы остаются неизвестными.
В последние годы правительство Бермудских островов предприняло шаги по привлечению инвестиций в подводную кабельную инфраструктуру и разработке цифрового хаба в Атлантическом океане. Это стало частью поддержки соответствующих инициатив на законодательном уровне. Nuvem не является первым кабелем связи, произведенным на Бермудах, но он станет единственным, соединяющим острова с Европой. Местные власти активно стремились сделать острова центром интерконнекта для подводных кабелей из Америки, Европы и Африки, аналогично тому, как Гуам играет эту роль в Тихом океане.
Португалия выбрана в качестве точки высадки кабеля не только благодаря своему стратегическому географическому положению, но и из-за активных усилий страны по укреплению инфраструктуры цифровой экономики. Она получила статус "цифровых ворот" Европы и делает значительные инвестиции в развитие кабельной инфраструктуры. Ожидается, что эти информационные магистрали станут катализаторами роста во многих высокотехнологичных секторах.
В Соединенных Штатах кабель будет проложен на побережье штата Южная Каролина. Этот проект также призван превратить регион в развивающийся технологический центр. Недавно здесь уже началась прокладка кабеля Firmina, который свяжет этот штат с Аргентиной, Бразилией и Уругваем. Планируется, что к 2026 году Nuvem будет готов к эксплуатации. В сочетании с проектами Firmina и Equiano, этот кабель создаст новые цифровые маршруты, объединяющие Северную и Южную Америку, Европу и Африку.
В мае текущего года Европейский Союз объявил о намерении построить подводный интернет-кабель в Черном море. Стоимость этого проекта оценивается в 45 миллионов евро, протяженность составит 1100 километров, и он свяжет страны-члены ЕС с Кавказским регионом через международные нейтральные воды.
|
Другие интересные новости:
▪ Энергопотребление дисплеев OLED уменьшится
▪ Два бита информации - в одном атоме
▪ Apple изменит телевидение
▪ Экстримальная камера Olympus TG-Tracker
▪ Землю взвесили при помощи нейтрино
Лента новостей науки и техники, новинок электроники
Интересные материалы Бесплатной технической библиотеки:
▪ раздел сайта Личный транспорт: наземный, водный, воздушный. Подборка статей
▪ статья Ножевой культиватор. Чертеж, описание
▪ статья Что называли танками? Подробный ответ
▪ статья Изготовление печатных форм высокой печати. Типовая инструкция по охране труда
▪ статья Антенна на 144 МГц. Энциклопедия радиоэлектроники и электротехники
▪ статья Преобразователь напряжения 5/12 вольт. Энциклопедия радиоэлектроники и электротехники
Оставьте свой комментарий к этой статье:
Комментарии к статье:
Гость
Спасибо! [up]
Главная страница | Библиотека | Статьи | Карта сайта | Отзывы о сайте

www.diagram.com.ua
2000-2025