Menu Home

Бесплатная техническая библиотека для любителей и профессионалов Бесплатная техническая библиотека


Газоразрядное освещение - от аккумулятора. Энциклопедия радиоэлектроники и электротехники

Бесплатная техническая библиотека

Энциклопедия радиоэлектроники и электротехники / Освещение

Комментарии к статье Комментарии к статье

Во время автопутешествий, жизни в палатках хорошо зарекомендовали себя преобразователи для газоразрядных ламп. Батарейное освещение - вещь очень дорогая. Гораздо дешевле использовать в качестве источника энергии автомобильный аккумулятор. Лампы накаливания в 10 или 15 Вт практически достаточно для освещения внутри палатки. В то же время, при одной и той же энергии световой поток от газоразрядной лампы существенно больше, поскольку ее КПД гораздо выше, чем у традиционной лампы накаливания. Кроме того, дополнительное преимущество газоразрядной лампы состоит в том, что источник света - не точечный, так что освещение будет более равномерным.

Привожу описание двух преобразователей для газоразрядных ламп; для обоих необходимо напряжение питания 12В. Первый из них используется для ламп мощностью 6 Вт, а второй - для ламп 18 Вт.

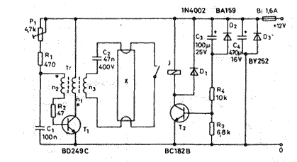
Газоразрядное освещение - от аккумулятора. Принципиальная схема преобразователя для газоразрядных ламп 6 Вт
Рис. 1. Принципиальная схема преобразователя для газоразрядных ламп 6 Вт

Преобразователь для газоразрядных ламп 6 Вт. Его принципиальная схема приведена на рис.1. Конденсатор С1 заряжается через резисторы Р1 и R1. Когда напряжение на конденсаторе достигает около 0,6 В, открывается транзистор Т1. Появившийся ток коллектора создает с помощью обмотки п1 магнитное поле. Под действием изменений магнитного потока в обмотке п2 индуцируется напряжение, которое добавляется к напряжению, имеющемуся на конденсаторе С1. Течение процесса обеспечивается надлежащим подключением начала и конца обмотки n2. С увеличением тока базы транзистор Т1 оказывается в состоянии насыщения; увеличение тока коллектора прекращается. Вместе с этим прекращается рост магнитного потока в сердечнике трансформатора. Раз магнитный поток перестает изменяться, индуцированное напряжение не возникает.

Ток базы транзистора Т1 резко падает. Вследствие этого уменьшается и ток коллектора. Как только магнитный поток начинает уменьшаться, индуцируемое на концах обмотки обратной связи напряжение меняет полярность, поэтому оно вычитается из напряжения на конденсаторе С1. Транзистор Т1 закрывается. Вследствие наличия положительной обратной связи, процессы открывания и закрывания происходят очень быстро. Описанный процесс повторяется периодически. Частота колебаний зависит от сопротивления потенциометра Р1. Чем меньше сопротивление, тем больше ток зарядки и, следовательно, тем выше частота колебаний. Величина сопротивления R2 определяет ток базы транзистора Т1. С помощью этого сопротивления коэффициент полезного действия блокинг-генератора можно настроить на оптимальную величину. Форма сигнала на коллекторе транзистора схематически показана на рис.2.

Газоразрядное освещение - от аккумулятора. Форма сигнала на коллекторе транзистора T1
Рис. 2. Форма сигнала на коллекторе транзистора T1

Трансформатор Тr наматывается на ферритовом сердечнике. В опытном экземпляре прибора был использован горшковый (сегментный) сердечник с диаметром 26 мм, АL=630, фирмы "Siemens". В этом случае частота колебаний для использованных газоразрядных ламп составляла 40 кГц. Последовательность намотки обмоток трансформатора показана на рис.3. Обмотка nЗ обеспечивает напряжение "зажигания" для газоразрядной лампы. Емкость конденсатора С2 определяет величину протекающего в лампе тока. Чем больше эта емкость, тем меньше емкостное сопротивление ХC и, следовательно, тем больше протекающий в лампе ток. С ростом тока увеличивается и величина светового потока, испускаемого лампой.

Газоразрядное освещение - от аккумулятора. Последовательность намотоки обмоток трансформатора
Рис. 3. Последовательность намотоки обмоток трансформатора

Газоразрядная лампа представляет собой, по сути дела, заполненную газом разрядную трубку. В ней возникает газовый разряд низкого давления. УФ-излучение преобразуется в видимый свет с помощью люминесцирующего порошка, нанесенного на стенки лампы. Преимущества газоразрядных ламп в том, что их срок службы гораздо больше, чем у ламп накаливания, и при одинаковой потребляемой мощности количество испускаемого света (световой поток) у люминесцентных ламп также гораздо больше.

В отношении работы этих ламп необходимо обратить внимание на следующее. Для возбуждения разряда необходимо так называемое напряжение зажигания. После зажигания разряда по мере увеличения тока необходимо снижать величину напряжения, прикладываемого к клеммам лампы. При работе лампы в обычной сети эту задачу выполняет включенный последовательно с ней дроссель.

В нашем случае это обеспечивается блокинг-генератором. Для запуска лампы существует много возможностей. Суть метода "холодного запуска" в том, что в момент подключения на лампу подается в 5...10 раз большее напряжение. После зажигания лампы на ней оказывается напряжение нормального "горения".

Вторым, гораздо более надежным, является способ "горячего зажигания". В этом случае разогреваются нити накала, находящиеся на концах газоразрядной лампы; затем, в момент их выключения, на лампу подается импульс напряжения, который ее и зажигает. Время задержки обеспечивается специальной лампой тлеющего разряда (стартером), который применяется при использовании ламп в электросети. Недостаток этого метода в том, что срок службы лампы уменьшается. Другим существенным моментом является то, что длительный накал нитей лампы значительно уменьшает КПД преобразователя.

Все эти моменты учитываются в транзисторном блоке зажигания. В момент включения незаряженный электролитический конденсатор C3 образует своего рода короткое замыкание. Этот конденсатор начинает заряжаться через резистор R4 и переход база-эмиттер транзистора Т2. Возникший под влиянием тока базы ток коллектора приводит к срабатыванию реле J. Контакты реле замыкают электроды газоразрядной лампы, и они разогреваются. Как только конденсатор C3 заряжается, ток базы транзистора Т2 исчезает. Реле размыкается; возникший на обмотке пЗ скачок напряжения зажигает лампу. Резистор R3 способствует полному закрыванию транзистора Т2. Диод D1 защищает транзистор Т2 от индуктивных скачков напряжения, возникающих в момент выключения реле.

Газоразрядное освещение - от аккумулятора. Печатная плата преобразователя для газоразрядных ламп 6 Вт
Рис. 4. Печатная плата преобразователя для газоразрядных ламп 6 Вт

Данный преобразователь имеет защиту от подключения аккумулятора с неправильной полярностью. При перемене полярности открывается диод D3 и перегорает предохранитель Bi.

Газоразрядное освещение - от аккумулятора. Схема размещения деталей преобразователя для газоразрядных ламп 6 Вт
Рис. 5. Схема размещения деталей преобразователя для газоразрядных ламп 6 Вт

Печатная плата преобразователя для газоразрядных ламп 6 Вт приведена на рис.4; схема размещения деталей на ней показана на рис.5. Те дорожки, по которым проходит большой ток, должны иметь увеличенную ширину и быть хорошо залужены. Для улучшения теплоотвода между радиатором (рис.6) и переключающим транзистором Т1 наносится тонкий слой силиконовой смазки. В опытном образце было использовано герконовое реле с сопротивлением обмотки 1 кОм на рабочее напряжение 12 В (типа MGR04-А3). Естественно, здесь можно использовать и другие реле с подобными параметрами. Правда, вследствие другого расположения выводов, необходимо будет несколько модифицировать печатную плату. Во избежание возможных пробоев выводы обмоток трансформатора изолируются тонкими пластиковыми трубками.

Газоразрядное освещение - от аккумулятора. Конструкция радиатора
Рис. 6. Конструкция радиатора

Параметры трансформатора приведены в табл.1. Горшкообразный сердечник привинчивается к плате медным или алюминиевым винтом. Между сердечником и печатной платой помещается резиновая прокладка - крепление сердечника будет упругим, и он не будет трескаться.

Таблица 1

Номер обмотки Число витков Диаметр провода, мм Примечание
n1 17 0,6 Между обмотками n1 и n2 - изоляция из двух слоев трансформаторной бумаги 0,02 мм
n2 4 0,35
n3 140 0,3

Преобразователь для газоразрядных ламп можно разместить в пластмассовом корпусе. Во избежание подключения преобразователя в неправильной полярности целесообразно установить на конце кабеля питания разъем от "прикуривателя".

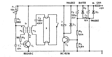
Газоразрядное освещение - от аккумулятора. Принципиальная схема преобразователя для газоразрядных ламп 18 Вт
Рис. 7. Принципиальная схема преобразователя для газоразрядных ламп 18 Вт

Настройка прибора очень проста. На собранный преобразователь подается напряжение питания 12 В от блока питания или автомобильного аккумулятора. Замеряется потребляемый ток, и с помощью потенциометра Р1 его величина устанавливается равной 200...220 мА. В этом случае сила света газоразрядной лампы будет довольно значительной. Работа преобразователя была проверена с лампами разных типов; во всех случаях он работал нормально. Необходимо следить, чтобы напряжение аккумулятора находилось в диапазоне 10...14 В; лампа зажигается надежно, и ее световой поток не меняется.

Газоразрядное освещение - от аккумулятора. Последовательность намотоки обмоток трансформатора
Рис. 8. Последовательность намотки обмоток трансформатора

Преобразователь для газоразрядных ламп 18 Вт. Его схема приведена на рис.7, и она полностью такая же, как и схема на рис.1; отличаются только типы и номиналы деталей. Естественно, и принцип действия у них одинаков. Поскольку используется лампа 18 Вт, переключающий транзистор должен быть более мощным; горшкообразный сердечник трансформатора также имеет большие размеры. Последовательность обмоток трансформатора схематически показана на рис.8; число витков обмоток и диаметр провода приведены в табл.2. Увеличение ферритового сердечника привело к необходимости модификации печатной платы. Печатная плата преобразователя для газоразрядных ламп 18 Вт приведена на рис.9, а схема размещения деталей на ней - на рис.10. Нити накала газоразрядной лампы 18 Вт имеют большую площадь, а поэтому для надежного зажигания необходимо больше времени, вследствие чего резистор R4 имеет большее сопротивление.

Газоразрядное освещение - от аккумулятора. Печатная плата преобразователя для газоразрядных ламп 18 Вт
Рис. 9. Печатная плата преобразователя для газоразрядных ламп 18 Вт

Преобразователь для ламп 18 Вт настраивается точно так же как и для ламп 6 Вт. Потенциометром Р1 устанавливается ток 1,1...1,3 А. В этом случае частота колебаний преобразователя примерно равна 10 кГц, а лампа имеет значительную светоотдачу. При такой настройке и напряжении питания в диапазоне 10...14 В лампа надежно зажигается, а световой поток практически равномерен. Данный преобразователь был испытан с лампами разных типов и со всеми хорошо работал.

Газоразрядное освещение - от аккумулятора. Схема размещения деталей преобразователя для газоразрядных ламп 18 Вт
Рис. 10. Схема размещения деталей преобразователя для газоразрядных ламп 18 Вт

Таблица 2

Номер обмотки Число витков Диаметр провода, мм Примечание
n1 12 0,9 Между обмотками n1 и n2 - два слоя изолирующей трансформаторной бумаги 0,02 мм;
между обмотками n2 и n3 - три слоя этой же бумаги
n2 4 0,4
n3 135 0,4
Сердечник: N22 AL600, диаметром 35 мм

Rediotechnika Evkonyve 2000, перевод А.Бельского; Публикация: radioradar.net

Смотрите другие статьи раздела Освещение.

Читайте и пишите полезные комментарии к этой статье.

<< Назад

Последние новости науки и техники, новинки электроники:

Хорошо управляемые луга могут компенсировать выбросы от скота 15.02.2026

Животноводство, особенно разведение крупного рогатого скота, часто обвиняют в значительном вкладе в глобальное потепление из-за мощного парникового газа - метана, который выделяется при пищеварении у жвачных животных. Это вызывает острые политические споры и призывы к сокращению потребления мяса. Однако ученые напоминают, что полная картина климатического воздействия отрасли не ограничивается только выбросами от животных: огромную роль играет окружающая экосистема - пастбища, почва и растительность, которые способны активно поглощать углекислый газ из атмосферы. Исследователи из Университета Небраски-Линкольна решили глубже изучить этот баланс. Группа под руководством профессора Галена Эриксона сосредоточилась на том, как правильно организованные пастбища накапливают углерод в растениях и грунте благодаря естественным процессам, стимулируемым выпасом скота. Ученые подчеркивают, что при достаточном уровне осадков и грамотном управлении такие луга превращаются в мощные природные погло ...>>

NASA тестирует инновационную технологию крыла 15.02.2026

Коммерческая авиация ежегодно расходует колоссальные объемы керосина, что сказывается не только на бюджете авиакомпаний, но и на состоянии окружающей среды. В 2024 году глобальные затраты на авиационное топливо достигли 291 миллиарда долларов, и эта сумма продолжает расти. Чтобы справиться с этими вызовами, NASA активно работает над технологиями, способными заметно повысить аэродинамическую эффективность самолетов. Одним из самых перспективных направлений стало создание специальной конструкции крыла, которая максимизирует естественный ламинарный поток воздуха и минимизирует сопротивление. В январе 2026 года специалисты NASA Armstrong Flight Research Center успешно провели важный этап наземных испытаний концепции Crossflow Attenuated Natural Laminar Flow (CATNLF). Для эксперимента под фюзеляж исследовательского самолета F-15B закрепили вертикально ориентированную масштабную модель высотой около 0,9 м (3 фута), напоминающую узкий киль. Такая компоновка позволила подвергнуть прототип р ...>>

Забота о внуках очень полезна для здоровья мозга 14.02.2026

Общение между поколениями приносит радость всей семье, но мало кто задумывается, насколько активно бабушки и дедушки, заботящиеся о внуках, поддерживают свою умственную форму. Регулярное взаимодействие с детьми стимулирует мозг пожилых людей, помогая сохранять память, скорость мышления и общую когнитивную активность. Новые научные данные подтверждают, что такая добровольная помощь не только важна для общества, но и может замедлять возрастные изменения в мозге. Исследователи из Тилбургского университета в Нидерландах провели анализ, чтобы понять, приносит ли уход за внуками реальную пользу здоровью пожилых людей. Ведущий автор работы Флавия Черечес отметила, что многие бабушки и дедушки регулярно присматривают за детьми, и оставался открытым вопрос, насколько это положительно сказывается на их собственном благополучии, особенно в плане когнитивных функций. Ученые поставили цель выяснить, способен ли регулярный уход за внуками замедлить снижение памяти и других умственных способ ...>>

Случайная новость из Архива

Измерена геометрия электронов в твердых материалах 07.01.2025

Впервые в истории физики ученые смогли измерить геометрическую форму, которую принимает электрон при движении через твердый материал. Этот научный прорыв открывает перспективы для изучения квантовой природы кристаллических твердых тел и их сложных взаимодействий.

Исследования проводились физиками Мингу Каном из Корнельского университета, Сунджи Кимом из Сеульского национального университета и Риккардо Комином из Массачусетского технологического института (MIT). Они смогли получить уникальную информацию о квантовом поведении электронов, недоступную ранее.

На макроуровне поведение материи хорошо описывается законами классической физики. Однако на субатомном уровне законы природы становятся куда сложнее. Электроны, традиционно воспринимаемые как частицы, на самом деле проявляют волновую природу, которая описывается с помощью волновых функций. Эти функции - математические модели, представляющие вероятность обнаружения электрона в конкретной точке пространства - содержат информацию о квантовых свойствах частицы.

Одним из ключевых открытий стало использование квантового геометрического тензора (QGT). Эта величина, описывающая геометрию квантового состояния, действует как своего рода карта, фиксирующая пространственные свойства электрона на волновом уровне. Например, некоторые свойства можно представить как вращающиеся геометрические формы: кривые, сферы и другие сложные структуры.

Для получения этих данных ученые применили метод углово-резольвающей фотоэмиссионной спектроскопии. Этот подход включает облучение материала фотонами для освобождения электронов и анализа их характеристик, таких как спин, поляризация и углы движения. Эксперименты проводились на монокристаллах сплава кобальт-олова, известного как металл кагоме.

Металл кагоме уже привлекал внимание физиков своей необычной кристаллической структурой. На этот раз он стал первым материалом, где удалось измерить QGT в твердом состоянии. Эти данные позволили не только описать квантовую геометрию электронов, но и оценить перспективы их использования для поиска новых свойств материалов.

Полученные результаты имеют широкий спектр применения. Исследования подобных материалов могут привести к открытию сверхпроводимости в веществах, где она ранее считалась невозможной. Кроме того, разработанный метод измерения может быть адаптирован для изучения других сложных материалов, что дает ученым возможность глубже понять поведение материи на квантовом уровне.

Измерение геометрии электронов стало значительным шагом в изучении квантовой физики твердых тел. Это открытие расширяет горизонты науки, позволяя по-новому взглянуть на взаимодействия частиц внутри кристаллических структур и изучить их потенциал для разработки новых технологий.

Другие интересные новости:

▪ Фотосинтетический двигатель для искусственных клеток

▪ Голубые светодиоды APED3820PBC

▪ Добыча железа на Марсе

▪ Набор модулей памяти DDR4-3200 128 ГБ

▪ Intel разрабатывает новые спецификации SSD для ультрабуков

Лента новостей науки и техники, новинок электроники

 

Интересные материалы Бесплатной технической библиотеки:

▪ раздел сайта Палиндромы. Подборка статей

▪ статья Резерфорд Эрнест. Биография ученого

▪ статья Чем мумпсимус отличается от сумпсимуса? Подробный ответ

▪ статья Монтажник санитарно-технического оборудования. Типовая инструкция по охране труда

▪ статья Как дешевый анализатор спектра сделать дорогим. Энциклопедия радиоэлектроники и электротехники

▪ статья Категории и группы взрывоопасных смесей по ПИВРЭ и ПИВЭ. Энциклопедия радиоэлектроники и электротехники

Оставьте свой комментарий к этой статье:

Имя:


E-mail (не обязательно):


Комментарий:





Главная страница | Библиотека | Статьи | Карта сайта | Отзывы о сайте

www.diagram.com.ua

www.diagram.com.ua
2000-2026