Menu Home

Бесплатная техническая библиотека для любителей и профессионалов Бесплатная техническая библиотека


Индикатор металлических предметов

Бесплатная техническая библиотека

Энциклопедия радиоэлектроники и электротехники / Индикаторы, детекторы, металлоискатели

Комментарии к статье Комментарии к статье

При проведении строительных и ремонтных работ нелишней будет информация о наличии и месторасположении различных металлических предметов (гвоздей, труб, арматуры) в стене, полу и т.д. Поможет в этом устройство, описание которого приводится ниже.

Принцип работы устройства основан на свойстве металлических предметов вносить затухание в частотозадающий LC-контур автогенератора. Режим автогенератора устанавливают вблизи точки срыва генерации, и приближение к его контуру металлических предметов (в первую очередь ферромагнитных) заметно снижает амплитуду колебаний или приводит к срыву генерации. Если индицировать наличие или отсутствие генерации, то можно определять месторасположение этих предметов.

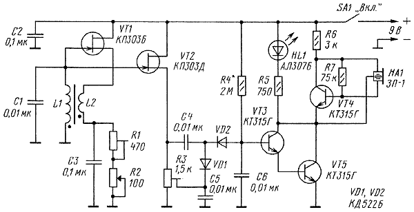
Схема устройства приведена на рис.1. Оно имеет звуковую и световую индикацию обнаруженного предмета. На транзисторе VT1 собран ВЧ автогенератор с индуктивной связью. Частотозадающий контур L1C1 определяет частоту генерации (около 100 кГц), а катушка связи L2 обеспечивает необходимые условия для самовозбуждения. Резисторами R1 (грубо) и R2 (плавно) устанавливают режим работы генератора. На транзисторе VT2 собран истоковый повторитель, на диодах VD1, VD2 - выпрямитель, на транзисторах VT3, VT5 - усилитель тока, а на транзисторе VT4 и пьзоизлучателе BF1 - звуковой сигнализатор.

Индикатор металлических предметов. Принципиальная схема детектора
Рис.1. Принципиальная схема детектора

При отсутствии генерации ток, протекающий через резистор R4, открывает транзисторы VT3 и VT5, поэтому светодиод HL1 будет светить, а пьезоизлучатель издавать тональный сигнал на резонансной частоте пьезоизлучателя (2...3 кГц). Если ВЧ автогенератор будет работать, то его сигнал с выхода истокового повторителя выпрямляется и минусовое напряжение с выхода выпрямителя закроет транзисторы VT3, VT5. Светодиод погаснет, звучание сигнализатора прекратится.

При приближении контура к металлическому предмету амплитуда колебаний в нем будет уменьшаться, либо генерация сорвется. В этом случае минусовое напряжение на выходе детектора будет снижаться и через транзисторы VT3, VT5 начнет протекать ток. Светодиод зажжется, раздастся звуковой сигнал, что укажет на наличие вблизи контура металлического предмета. Причем со звуковым сигнализатором чувствительность устройства выше, поскольку он начинает работать при токе в доли миллиампера, в то время как для светодиода необходим значительно больший ток.

Вместо указанных на схеме, в устройстве можно применить транзисторы КПЗ0ЗА (VT1), КПЗ03В, КП303Г, КП303Е (VT2), КТ315Б, КТ315Д, КТ312Б, КТ312В (VT3-VT5) с коэффициентом передачи тока не менее 50. Светодиод - любой с рабочим током до 20 мА, диоды VD1, VD2 - любые из серий КД503, КД522. Конденсаторы - серий КЛС, К10-17, переменный резистор - СП4, СПО, подстроечные - СПЗ-19, постоянные - МЛТ, С2-33, Р1-4. Устройство питается от батареи с общим напряжением 9 В. Потребляемый ток составляет 3...4 мА, когда светодиод не горит, и возрастает примерно до 20 мА, когда он зажигается. Если прибором пользоваться не часто, то выключатель SA1 можно не устанавливать, подавая напряжение на устройство подсоединением батареи питания.

Конструкция катушки индуктивности автогенератора показана на рис. 2 - она аналогична магнитной антенне радиоприемника. На круглый стержень 1 из феррита диаметром 8...10 мм и проницаемостью 400...600 надевают бумажные гильзы 2 (2...3 слоя плотной бумаги), на них наматывают виток к витку проводом ПЭВ-2 0,31 катушки L1 (60 витков) и L2 (20 витков) - 3. Намотку при этом надо проводить в одном направлении и правильно подсоединить выводы катушек к автогенератору. Кроме того, катушка L2 должна перемещаться по стержню с небольшим трением. Обмотку на бумажной гильзе можно закрепить скотчем.

Индикатор металлических предметов. Конструкция катушки индуктивности автогенератора
Рис.2. Конструкция катушки индуктивности автогенератора

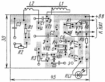
Большинство деталей размещают на печатной плате (рис.3) из двусторонне фольгированного стеклотекстолита. Вторая сторона оставлена металлизированной и используется в качестве общего провода. Пьезоизлучатель размещен на обратной стороне платы, но его надо изолировать от металлизации с помощью изоленты или скотча.

Индикатор металлических предметов. Печатная плата
Рис.3. Печатная плата

Плату и батарею размещают в пластмассовом корпусе, причем катушку устанавливают ближе к стенке (рис.4). Для повышения чувствительности устройства плату и батарею надо разместить на расстоянии нескольких сантиметров от катушки. Максимальная чувствительность будет с той стороны стержня, на которой намотана катушка L1. Мелкие металлические предметы удобнее обнаруживать с торца катушки, это позволит более точно определять их месторасположение.

Индикатор металлических предметов. Конструктив устройства
Рис.4. Конструкция устройства

Макет устройства имел следующие параметры по обнаружению: большие металлические предметы - 8...10 см, труба диаметром 15 мм - 6...8 см, винт М5х25 - З...4см, гайка М5 - 2,5...3 см, винт М2,5х10 - 1...1,5 см.

Налаживают устройство в следующей последовательности. Сначала подбирают резистор R4. Для этого временно отпаивают один из выводов диода VD2 и устанавливают резистор R4 такого сопротивления (максимально возможного), чтобы на коллекторе транзистора VT5 было напряжение 0,8...1 В. При этом светодиод должен светить, а звуковой сигнал звучать.

Затем устанавливают движок резистора R3 в нижнее по схеме положение и припаивают диод VD2, а катушку L2 отпаивают После этого транзисторы VT3, VT5 должны закрыться (светодиод погаснет). Аккуратно перемещая движок резистора R3 вверх по схеме, добиваются открывания транзисторов VT3, VT5 и включения сигнализации.

После этого устанавливают движки резисторов R1, R2 в среднее положение и припаивают катушку L2. При приближении L2 вплотную к L1 должна возникнуть генерация, а сигнализация выключиться. Катушку L2 удаляют от L1 и добиваются момента срыва генерации, а резистором R1 ее восстанавливают. При этом надо стремиться, чтобы катушка L2 была удалена на максимальное расстояние, а резистором R2 можно было бы добиваться срыва и восстановления генерации. Затем устанавливают генератор на грани срыва и проверяют чувствительность устройства.

Автор: И.Нечаев, г.Курск; Публикация: radioradar.net

Смотрите другие статьи раздела Измерительная техника.

Читайте и пишите полезные комментарии к этой статье.

<< Назад

Последние новости науки и техники, новинки электроники:

Канада планирует построить космодром 06.04.2026

Развитие космической инфраструктуры все чаще становится вопросом не только науки и технологий, но и национальной безопасности. Многие государства стремятся получить независимый доступ к космическим запускам, чтобы не зависеть от внешних партнеров и укреплять собственный технологический суверенитет. На этом фоне Канада объявила о запуске масштабного проекта по созданию собственного космодрома. Министр обороны Канады Дэвид Мак-Гинти сообщил, что правительство страны инвестирует 200 млн канадских долларов, что составляет около 150 млн долларов США, в строительство национального космодрома. Эти средства станут частью долгосрочной программы развития суверенных возможностей космических запусков. По словам Мак-Гинти, Министерство обороны подписало 10-летнее соглашение с компанией MLS на сумму 200 млн долларов. В рамках этого контракта планируется строительство стартовой площадки, которая будет использоваться не только военными структурами, включая Министерство обороны и Вооруженные силы ...>>

Обновленные телевизоры Xiaomi S Mini LED TV 2026 06.04.2026

Компания Xiaomi представила обновленную серию телевизоров S Mini LED TV 2026, которая заметно отличается от версии, недавно вышедшей на европейский рынок. Новое поколение ориентировано на расширенные возможности отображения и более гибкую конфигурацию экранов, что делает линейку более универсальной для разных сценариев использования. В обновленной серии Xiaomi S Mini LED TV 2026 предлагается сразу пять диагоналей, начиная от 55 дюймов и заканчивая внушительными 100 дюймами. Флагманская модель оснащена 1920 зонами локального затемнения, способна достигать пиковой яркости до 2000 нит и поддерживает частоту обновления изображения до 288 Гц, что делает ее особенно привлекательной для динамичного контента и игр. Младшая модель в линейке отличается в первую очередь количеством зон локального затемнения, которых здесь 576, однако остальные ключевые характеристики остаются на уровне старших версий. Это позволяет сохранить высокое качество изображения даже в более доступном сегменте, не ж ...>>

Беспилотный грузовой самолет с двигателем AEP100 05.04.2026

Авиационная отрасль стоит перед масштабной задачей перехода к экологически чистым технологиям, и одним из наиболее перспективных направлений считается использование водорода в качестве топлива. Этот элемент рассматривается как потенциальная альтернатива традиционным видам авиационного топлива благодаря своей энергоэффективности и отсутствию углеродных выбросов при использовании. На этом фоне Китай сообщил об успешном испытании беспилотного грузового самолета, оснащенного турбовинтовым двигателем AEP100 мегаваттного класса, работающим на водороде. Это событие стало важным этапом в развитии авиационных технологий, так как позволило протестировать двигатель в реальных условиях полета, а не только в лабораторной среде. Испытательный полет был проведен в субботу, 4 апреля, в городе Чжучжоу, расположенном в китайской провинции Хунань. Именно там впервые в реальных условиях был задействован водородный авиационный двигатель подобной мощности, что дало возможность оценить его стабильность ...>>

Случайная новость из Архива

Чай очищает воду от тяжелых металлов 21.02.2025

Чай, любимый многими за свой вкус и аромат, оказался не только приятным напитком, но и эффективным природным фильтром, способным удалять свинец и другие тяжелые металлы из воды. Ученые из Северо-Западного университета обнаружили, что чайные листья обладают уникальной способностью адсорбировать тяжелые металлы, задерживая их на своей поверхности в процессе заваривания.

Профессор Винаяк Дравид, возглавлявший исследование, отметил: "В этом исследовании нашей целью было измерить способность чая адсорбировать тяжелые металлы". Он также подчеркнул "неосознанный потенциал потребления чая для пассивного содействия уменьшению воздействия тяжелых металлов на население по всему миру". Это открытие особенно важно, учитывая, что длительное воздействие свинца связано с серьезными проблемами здоровья, такими как головные боли, бессонница, сердечно-сосудистые заболевания и инсульты.

В ходе исследования ученые протестировали различные виды чая - черный, зеленый и улун - и обнаружили, что черный чай демонстрирует наилучшие результаты. Бенджамин Шиндел, аспирант и член исследовательской группы, объяснил этот феномен структурными особенностями черного чая: "Когда чайные листья перерабатываются в черный чай, они сморщиваются, а его поры открываются. Эти морщины и поры увеличивают площадь поверхности, доступную для адсорбции". Дополнительное измельчение листьев еще больше повышает эффективность адсорбции.

Исследователи также установили, что тип чайного пакетика и время заваривания оказывают значительное влияние на процесс удаления металлов. Целлюлозные пакетики оказались более эффективными, чем хлопчатобумажные или нейлоновые, а более длительное время заваривания значительно повышает адсорбцию. "Любой чай, который дольше настаивается или имеет большую площадь поверхности, эффективно поглощает больше тяжелых металлов", - отметил Шиндел, добавив, что заваривание черного чая в течение 3-5 минут может снизить концентрацию свинца примерно на 15%.

Хотя исследователи не рекомендуют использовать чай в качестве основного метода очистки воды, их открытие имеет важное практическое значение. "Если люди будут выпивать дополнительную чашку чая в день, возможно, со временем мы увидим снижение уровня заболеваний, тесно связанных с воздействием тяжелых металлов", - предположил Шиндел. Это исследование также может объяснить, почему в некоторых популяциях, где традиционно потребляют много чая, наблюдается более низкий уровень сердечно-сосудистых заболеваний и инсультов.

Таким образом, чай, помимо своих вкусовых качеств, обладает ценными свойствами, способствующими очищению воды от тяжелых металлов. Это открытие подчеркивает потенциальную пользу регулярного употребления чая для здоровья человека.

Другие интересные новости:

▪ Улучшение производительности OLED

▪ Медиаплеер iRiver P8

▪ Новая наука - судебная сейсмология

▪ Впервые клонированы обезьян

▪ Электромобиль Toyota Tiny C+pod

Лента новостей науки и техники, новинок электроники

 

Интересные материалы Бесплатной технической библиотеки:

▪ раздел сайта Аудиотехника. Подборка статей

▪ статья Джон Фаулз. Знаменитые афоризмы

▪ статья В какой стране на Рождество принято решать накопившиеся за год конфликты в кулачном бою? Подробный ответ

▪ статья Измерение малых размеров без микрометра. Домашняя мастерская

▪ статья Регулятор мощности на микроконтроллере Z8. Энциклопедия радиоэлектроники и электротехники

▪ статья Компьютерный интерфейс для трансиверов ICOM. Энциклопедия радиоэлектроники и электротехники

Оставьте свой комментарий к этой статье:

Имя:


E-mail (не обязательно):


Комментарий:





Главная страница | Библиотека | Статьи | Карта сайта | Отзывы о сайте

www.diagram.com.ua

www.diagram.com.ua
2000-2026