Menu Home

Бесплатная техническая библиотека для любителей и профессионалов Бесплатная техническая библиотека


TDS-METP - приставка к мультиметру. Энциклопедия радиоэлектроники и электротехники

Бесплатная техническая библиотека

Энциклопедия радиоэлектроники и электротехники / Измерительная техника

Комментарии к статье Комментарии к статье

Приставка, предлагаемая вниманию читателей, расширяет возможности мультиметра М-830В (DT-830B), позволяя измерять концентрацию растворенных в воде солей. С ее помощью можно оценить пригодность питьевой, "качество" дистиллированной воды, отличить настоящую минеральную воду от поддельной. Приставка питается от мультиметра и не требует дополнительных подключений внутри него.

Вода, как известно, необходима для существования живых организмов. Достаточно сказать, что в теле человека она составляет около 65 % его массы, содержится во всех клетках и тканях и все жизненные процессы протекают с ее участием. Яркий пример, подтверждающий важность этого вещества: при наличии воды человек может прожить без пищи около месяца, без воды - только несколько дней.

Однако не всякая вода, даже прозрачная и чистая на вид, пригодна для питья, поэтому прежде чем попасть в водопровод, она проходит соответствующую очистку. Качество водопроводной воды в значительной мере зависит от количества содержащихся в ней солей. По санитарным нормам Госкомсанэпидемнадзора России общая концентрация растворенных в воде солей (так называемая общая минерализация) не должна превышать 1000 мг/л [1]. Воду, в которой содержание солей больше, считают минеральной. Для измерения степени минерализации применяют специальное оборудование.

В связи с ухудшающейся во всем мире экологической обстановкой многие фирмы начали выпускать приборы для экспресс-анализа параметров воды. Один из них - TDS-метр фирмы Zepter [2], измеряющий количество растворенных частиц (Total Dissolved Solids - отсюда и название - TDS-метр) на миллион молекул воды. Численно его показания равны общей минерализации, измеренной в миллиграммах на литр. Цена TDS-метра весьма высока - 112 долл. США. Однако подобный прибор можно собрать самостоятельно, причем затраты на его изготовление будут невелики. Принцип измерения подобных устройств основан нa зависимости электрической проводимости воды от количества растворенных солей. Из физики известно, что проводимость раствора определяется формулой [3]

S=F*Zp*np*(Up+Um)/Na,

где F=96,5*10^3 Кл/моль - число Фарадея; Na=6,02*10^23 моль^-1 - число Авогадро; Zp - валентность положительно заряженных ионов в растворе; np - число положительно заряженных ионов в единице объема электронлита; Up, Um - подвижность соответственно положительно и отрицательно заряженных ионов. Формула наглядно показывает, что проводимость пропорциональна концентрации растворенных соединений. Конечно, она зависит от растворенного вещества и температуры раствора [4], но считают, что средней концентрации 1000 мг/л примерно соответствует электропроводность 0,2 См/м [5].

Таким образом, чтобы определить степень минерализации воды, достаточно измерить ее электрическую проводимость или сопротивление. Чтобы исключить влияние электролиза раствора на результат, измерения необходимо проводить на переменном токе.

Предлагаемый прибор выполнен в виде приставки к широко распространенному мультиметру М-830В [6] или его аналогу DT-830B, которая преобразует результаты измерения проводимости в напряжение. Питается она напряжением 3 В от внутреннего стабилизатора микросхемы ICL7106 мультиметра. Потребляемый ток при не погруженных в воду электродах датчика не превышает 0,25 мА.

Погрешность измерения прибора оценивалась сравнением его показаний с показаниями упомянутого выше TDS-метра фирмы Zepter. В интервале концентраций от 0 до 1200 мг/л она не превышает ±10 %. Если же минерализация больше 1200 мг/л, погрешность резко возрастает вследствие увеличения потребляемого приставкой тока и невысокой нагрузочной способности стабилизатора. Следует также отметить, что при использовании приставки с DT-830B погрешность измерения может быть несколько выше, поскольку нагрузочная способность стабилизатора бескорпусного аналога микросхемы ICL7106, обычно устанавливаемого в эти мультиметры, крайне мала.

Принципиальная схема приставки изображена на рис. 1. Как видно, собрана она всего на двух микросхемах и двух транзисторах. На микросхеме ICL7660A (DA1) выполнен преобразователь полярности напряжения. Разнополярное напряжение необходимо для того, чтобы через электроды датчика протекал переменный ток.

TDS-METP - приставка к мультиметру. Принципиальная схема приставки
Рис.1. Принципиальная схема приставки

На ОУ DA2.1 собран генератор разнополярных симметричных прямоугольных импульсов с частотой следования около 170 Гц. Усиливает этот сигнал усилитель тока на транзисторах VT1, VT2, в эмиттерную цепь которых включен датчик проводимости, токоизмерительный резистор R6 и термистор RK1, частично компенсирующий зависимость проводимости воды от температуры.

Переменное напряжение с токоизмерительного резистора поступает на неинвертирующий вход ОУ DA2.2, выполняющего функции однополупериодного выпрямителя и неинвертирующего усилителя с коэффициентом усиления около 12. Для компенсации напряжения смещения нуля этого ОУ на инвертирующий вход через резистор R9 подается напряжение с резистивного делителя R5R7R8.

Чтобы на табло мультиметра не индицировался знак "минус", выходное напряжение приставки должно быть положительным. Поскольку напряжение питания положительной полярности стабилизировано внутренним стабилизатором микросхемы ICL7106 мультиметра, а стабильность напряжения отрицательной полярности невысока, ОУ DA2.2 включен неинвертирующим усилителем. Отфильтрованное цепью R12C7 напряжение поступает на вход мультиметра, включенного на измерение постоянного напряжения. Измеренному мультиметром напряжению в милливольтах соответствует общая минерализация в миллиграммах на литр.

Все элементы устройства, за исключением датчика и термистора, размещены на плате из фольгированного стеклотекстолита (рис. 2). Плата рассчитана на применение постоянных резисторов МЛТ, подстроечного СП5-2, оксидных конденсаторов К50-16 (С1, С2, С4), остальные конденсаторы - практически любые керамические низковольтные. Штыри разъемов Х1-ХЗ, с помощью которых приставку подключают к соответствующим гнездам мультиметра, припаивают со стороны печатных проводников.

TDS-METP - приставка к мультиметру. Печатная плата
Рис.2. Печатная плата

Вместо микросхемы ICL7660A допустимо использовать ICL7660 или отечественный аналог КР1168ЕП1. ОУ КР1446УД2А заменим любым из этой группы, а также КР1446УД4А- КР1446УД4В, однако потребляемый приставкой ток в последнем случае возрастет. Возможно применение ОУ КР1446УДЗА-КР1446УДЗВ, но у них иная "цоколевка", поэтому потребуется корректировка печатной платы.

Во время монтажа ОУ необходимо соблюдать осторожность: как и другие КМОП-микросхемы, они нередко выходят из строя от воздействия статического электричества.

Транзисторы указанных на схеме серий можно заменить любыми маломощными соответствующей структуры. Диоды - любые маломощные импульсные, например, серий КД521 или КД522. В приставке применен термистор ММТ-9, однако подойдет практически любой с отрицательным ТКС и сопротивлением приблизительно от 620 до 750 Ом.

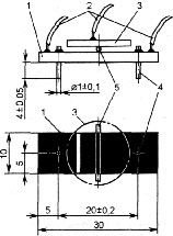
Чертеж датчика показан на рис. 3. Он состоит из основания 1 - пластины из фольгированного стеклотекстолита толщиной 2.5...3 мм и собственно датчика - двух металлических штырей 4 с антикоррозионным покрытием (удобно использовать посеребренные или позолоченные штыри подходящего диаметра от разъемного соединителя). Отверстия в основании необходимо сверлить на сверлильном станке и с таким расчетом, чтобы штыри в них вставлялись плотно (это обеспечит их параллельность). Закрепляют штыри пайкой к фольге. Затем примерно в середине основания, параллельно короткой стороне, к фольге большей площади припаивают отрезок луженого провода 5 диаметром 0,6...0,8 мм и длиной, чуть меньшей диаметра термистора 3. Последний закрепляют пайкой к выступающим за края основания концам отрезка, после чего к его второму выводу и обеим площадкам фольги припаивают гибкие многожильные изолированные провода 2. В завершение все неизолированные токопро-водящие поверхности (основания штырей, проводов, термистора) со стороны фольги покрывают водостойким лаком или клеем.

TDS-METP - приставка к мультиметру .Чертеж датчика
Рис.3. Чертеж датчика

При использовании термистора другого типа размеры и число площадок фольги основания, возможно, придется изменить, главное, чтобы термистор был надежно припаян к фольге. Следует помнить, что от качества изготовления датчика зависит точность измерений, поэтому диаметр штырей, длина их выступающих из основания частей и расстояние между ними должны быть выдержаны в указанных на рис. 3 пределах.

В налаживании прибор не нуждается. Единственное, что надо сделать, - это подключить его к мультиметру, включенному на пределе измерения напряжения 2000 мВ, и подстроечным резистором R7 установить нулевые показания. Для проверки к контактам датчика подсоединяют резистор сопротивлением 1,5 кОм: мультиметр должен показать напряжение около 1000 мВ.

При работе с прибором следует помнить, что термистор обладает тепловой инерцией, поэтому отсчитывать показания можно только спустя 1... 1,5 мин после погружения датчика в воду (когда они перестанут изменяться).

Литература

  1. water.ru/param/common.shtml
  2. zepter.ru/eco/systems4.html
  3. Яворский Б., Детлаф А. Справочник по физике. - М.: Наука, 1968.
  4. moc.urc.ac.ru/~tex/sensor/ion2.htm
  5. water.ru/param/electrocon-ductivity.shtml
  6. Афонский А. Кудреватых Е.. Плешкова Т. Малогабаритный мультиметр М-830В. - Радио, 2001, № 9, с. 25-27.

Автор: Б. Чуднов, г. Раменское Московской обл.; Публикация: cxem.net

Смотрите другие статьи раздела Измерительная техника.

Читайте и пишите полезные комментарии к этой статье.

<< Назад

Последние новости науки и техники, новинки электроники:

Лабораторная модель прогнозирования землетрясений 30.11.2025

Предсказание землетрясений остается одной из самых сложных задач геофизики. Несмотря на развитие сейсмологии, ученые все еще не могут точно определить момент начала разрушительного движения разломов. Недавние эксперименты американских исследователей открывают новые горизонты: впервые удалось наблюдать микроскопические изменения в контактной зоне разломов, которые предшествуют землетрясению. Группа под руководством Сильвена Барбота обнаружила, что "реальная площадь контакта" - участки, где поверхности разлома действительно соприкасаются - изменяется за миллисекунды до высвобождения накопленной энергии. "Мы открыли окно в сердце механики землетрясений", - отмечает Барбот. Эти изменения позволяют фиксировать этапы зарождения сейсмического события еще до появления традиционных сейсмических волн. Для наблюдений ученые использовали прозрачные акриловые материалы, через которые можно было отслеживать световые изменения в зоне контакта. В ходе искусственного моделирования примерно 30% ко ...>>

Музыка как естественный анальгетик 30.11.2025

Ученые все активнее исследуют немедикаментозные способы облегчения боли. Одним из перспективных направлений становится использование музыки, которая способна воздействовать на эмоциональное состояние и когнитивное восприятие боли. Новое исследование международной группы специалистов демонстрирует, что даже кратковременное прослушивание любимых композиций может значительно снижать болевые ощущения у пациентов с острой болью в спине. В эксперименте участвовали пациенты, обратившиеся за помощью в отделение неотложной помощи с выраженной болью в спине. Им предлагалось на протяжении десяти минут слушать свои любимые музыкальные треки. Уже после этой короткой сессии врачи фиксировали заметное уменьшение интенсивности боли как в состоянии покоя, так и при движениях. Авторы исследования подчеркивают, что музыка не устраняет саму причину боли. Тем не менее, она воздействует на эмоциональный фон пациента, снижает уровень тревожности и отвлекает внимание, что в сумме приводит к субъективном ...>>

Алкоголь может привести к слобоумию 29.11.2025

Проблема влияния алкоголя на стареющий мозг давно вызывает интерес как у врачей, так и у исследователей когнитивного старения. В последние годы стало очевидно, что границы "безопасного" употребления спиртного размываются, и новое крупное исследование, проведенное международной группой ученых, вновь указывает на это. Работы Оксфордского университета, выполненные совместно с исследователями из Йельского и Кембриджского университетов, показывают: даже небольшие дозы алкоголя способны ускорять когнитивный спад. Команда проанализировала данные более чем 500 тысяч участников из британского биобанка и американской Программы миллионов ветеранов. Дополнительно был выполнен метаанализ сорока пяти исследований, в общей сложности включавших сведения о 2,4 миллиона человек. Такой масштаб позволил оценить не только прямую связь между употреблением спиртного и развитием деменции, но и влияние генетической предрасположенности. Один из наиболее тревожных результатов касается людей с повышенным ге ...>>

Случайная новость из Архива

Электронный имплантат для контроля мозга 03.12.2013

В США одобрен к использованию в клинических условиях имплантат, способный управлять электрической активностью мозга. Пока планируется применять такие имплантаты для лечения нервных болезней, однако в будущем эти приборы могут использоваться более широко.

Электроды, помещенные в мозг, использовались в последние годы в качестве экспериментального лечения болезни Паркинсона, а также в т.н. нейроинтерфейсах, которые дают возможность парализованным людям управлять роботизированными манипуляторами. Комиссия по контролю за лекарствами и питательными веществами (FDA) одобрила новый имплантат, предназначенный, в первую очередь, для пациентов, страдающих эпилепсией. Это первое устройство такого типа, способное производить анализ деятельности мозга и оперативно корректировать ее направленными электрическими импульсами в случае обнаружения отклонений.

Как известно, эпилепсия вызывается хаотической электрической активностью мозга, приводящей к временной потере сознания и мышечным судорогам с продолжительностью приступа 1-2 минуты. Имплантат NeuroPace, способный автоматически управлять электрической активностью определенного участка мозга, на сегодняшний день имеет довольно большие габариты, поэтому его использование связано с риском инфицирования.

Нейростимулятор NeuroPace имплантируется непосредственно внутрь черепа и соединяется при помощи микроэлектродов с "проблемными" участками мозга, которые являются первопричиной эпилептических приступов. Нейростимулятор отслеживает электрическую активность в этих областях и автоматически посылает электрические импульсы, "гасящие" эпилептические нарушения в общей картине электрической активности мозга. При этом пациент электрических импульсов не замечает.

Стимулятор не лечит эпилепсию, но даже некоторое смягчение симптомов заметно повышает качество жизни при многих нервных заболеваниях. На сегодняшний день от эпилепсии страдают 65 млн чел. в мире. К сожалению, эта болезнь остается малоизученной, как правило, диагноз "эпилепсия" ставится людям, пережившим 2 или более эпилептических припадка за год. При этом первопричина заболевания обычно остается неизвестной. Бывает, что больным эпилепсией помогает диета или лекарственная терапия. Если же ничего не помогает, и при этом припадки бывают частыми и тяжелыми, проводится довольно рискованная операция по нейтрализации "проблемного" участка мозга. Иногда этот участок находится в такой области мозга, которая имеет важное значение для нормальной повседневной жизни. Именно в подобных случаях должен помочь нейроимплантат NeuroPace.

Другие интересные новости:

▪ Проектор EPSON EMP-8300

▪ Облака далекой планеты

▪ Автомобильный проектор понимает жесты и человеческую речь

▪ Дроны для сбора фруктов

▪ Перед взрывом сфотографировать

Лента новостей науки и техники, новинок электроники

 

Интересные материалы Бесплатной технической библиотеки:

▪ раздел сайта Строителю, домашнему мастеру. Подборка статей

▪ статья Нас утро встречает прохладой. Крылатое выражение

▪ статья Какой писательнице друзья подарили годовой оплачиваемый отпуск для литературного дебюта? Подробный ответ

▪ статья Маллотус филиппинский. Легенды, выращивание, способы применения

▪ статья Моющиеся рабочие чертежи. Простые рецепты и советы

▪ статья Аудиомикшер для видеокамеры. Энциклопедия радиоэлектроники и электротехники

Оставьте свой комментарий к этой статье:

Имя:


E-mail (не обязательно):


Комментарий:





Главная страница | Библиотека | Статьи | Карта сайта | Отзывы о сайте

www.diagram.com.ua

www.diagram.com.ua
2000-2025