Menu Home

Бесплатная техническая библиотека для любителей и профессионалов Бесплатная техническая библиотека


Радиолюбительский частотомер. Энциклопедия радиоэлектроники и электротехники

Бесплатная техническая библиотека

Энциклопедия радиоэлектроники и электротехники / Измерительная техника

Комментарии к статье Комментарии к статье

Вниманию читателей предлагается описание любительского частотомера на микроконтроллере AT89C52-24JC и двух приставок, с помощью которых, помимо измерения частоты и длительности импульсов, можно измерять емкость и индуктивность компонентов.

За последние несколько лет в периодической литературе появилось несколько публикаций, посвященных описанию радиолюбительских частотомеров, построенных на базе однокристальных микро-ЭВМ. Преимущества подобных конструкций очевидны: уменьшается число применяемых микросхем и, соответственно, уменьшаются габариты и потребляемая мощность, простота сборки и регулировки устройства, доступного для повторения даже начинающими радиолюбителями. Кроме того, появляется возможность модернизации и увеличения сервисных функций только за счет изменения управляющей программы.

Частотомер предназначен для применения в радиолюбительской практике. Он позволяет производить измерения:

  • частоты сигнала;
  • периода сигнала;
  • девиации (ухода) частоты сигнала;
  • длительности импульсов.

Частотомер также можно использовать в качестве цифровой шкалы радиоприемной аппаратуры. С помощью дополнительных приставок частотомер может измерять емкость конденсаторов и индуктивность дросселей, катушек.

Основные технические характеристики

  • Диапазон измеряемых частот, Гц......1...50·106
  • Время измерения в режиме измерения частоты (максимальная частота сигнала, МГц), с......0,1 и 1 (50) 10(25)
  • Измерение периода в диапазоне частот, Гц......1...50·106
  • Диапазон девиации частоты, Гц......±50·106
  • Длительность измеряемого импульса, мкс......0,1...10000
  • Пределы измерения емкости, мкФ......10-5...500
  • Пределы измерения индуктивности, Гн......1·10-6...2
  • Входное сопротивление, МОм......1
  • Уровень входного сигнала (эффективное значение), В......0,25...10
  • Напряжение питания, В......8...15
  • Ток потребления, не более, мА .....100
  • Габариты, мм......80x58x15

Частотомер (его схема приведена на рис. 1) состоит из компаратора сигнала, переключателя режимов работы, синхронизатора цикла измерения, счетчика импульсов, микроконтроллера, клавиатуры, жидкокристаллического индикатора, стабилизатора питания.

Радиолюбительский частотомер
(нажмите для увеличения)

Входной каскад построен на компараторе фирмы Analog Devices AD8561AR (DA1). Этот компаратор имеет типовое значение задержки около 7 нc.

Входной сигнал поступает на разъем ХР1 и поступает на защитную цепочку R1VD1VD2 и компаратор DA1. Резисторы R4, R5 формируют гистерезис компаратора для исключения появления дребезга при медленно меняющихся сигналах. На выходе компаратора сигнал представлен парой противофазных логических уровней, согласованных с уровнями логических микросхем частотомера.

Коммутатор режима работы выполнен на цифровом мультиплексоре DD2. Коммутатор переключает сигналы в соответствии с выбранным режимом работы частотомера. Синхронизатор (элементы DD1.2, DD1.3, DD4) формирует сигналы начала и окончания цикла измерения. Счетчик импульсов (DD3) подсчитывает число импульсов во входном сигнале или импульсы заполнения при измерении длительности импульса.

Микроконтроллер (DD5) фирмы ATMEL AT89C52-24JC управляет всеми элементами устройства: коммутатором режимов работы, индикатором, клавиатурой. Тактовая частота 10 МГц для микроконтроллера задается кварцевым резонатором BQ1. При настройке и поверке частотомера частоту тактирования микроконтроллера подстраивают конденсатором С6 к значению точно 10 МГц с помощью промышленного частотомера.

Сигнал с кварцевого резонатора микроконтроллера (сигнал BF) используется и для измерения длительности импульсов. При этом период следования импульсов заполнения равен 100 нc. Таким образом, погрешность измерения длительности импульса также не превышает этого значения.

Микроконтроллер работает с использованием внутренней памяти программ (вывод 35 DD5 подключен к шине +5В). При включении питания частотомера микроконтроллер устанавливается в исходное состояние перепадом напряжения, передаваемого конденсатором С5.

Клавиатура (кнопки SB1, SB2) используется для выбора режимов работы и параметров частотомера. Кнопкой SB1 ("Режим") выбирают режим работы, кнопкой SB2 ("Параметр") - параметр режима. Например, кнопкой SB1 устанавливают режим "Измерение частоты", а кнопкой SB2 выбирают значение параметра "Время измерения" - 10 с. Примерно через 1 с после выбора режима работы или параметра частотомер автоматически переходит к измерению.

В качестве индикатора применен алфавитно-цифровой LCD-модуль ITM1602ASR с двумя строками по 16 символов. В первой строке отображаются режим работы и параметры частотомера, а во второй строке - измеренное значение. Подстроечным резистором R8 можно отрегулировать контрастность изображения индикатора. Индикатор подключают к разъему XS3 и устанавливают непосредственно на плату. Подключенный через дополнительный кабель индикатор может быть размещен в ином месте по желанию пользователя.

В узле стабилизации напряжения питания применен интегральный стабилизатор DA2. Напряжение питания от внешнего источника подается на разъем ХР2. Конденсаторы С15, С16 - входной фильтр; С13, С14 - выходной фильтр стабилизатора. Конденсаторы С7 - С12 - блокировочные, их устанавливают вблизи микросхем.

В частотомере применены отечественные микросхемы серии КР1533 (импортный аналог - 74ALS). В качестве счетчика импульсов применена микросхема 74НС4040 с максимальной частотой 50 МГц, которая и ограничивает диапазон измерения частоты.

Рассмотрим работу частотомера в режиме измерения частоты входного сигнала.

Сигнал с компаратора (цепь F1) поступает на коммутатор режима работы (вывод 4 DD2). Микроконтроллер выставляет логические уровни сигналов А = 0иВ=1,а затем выдает сигнал START (лог. 1), инициирующий процесс измерения. Триггер DD4.1 переключается и разрешает проходить сигналу на выход коммутатора (вывод 7 DD2) и вход счетчика импульсов (вывод 10 DD3).

Микроконтроллер формирует временной интервал, например, длительностью 1 с (сигнал TW). В течение этого времени разрешена передача входного сигнала с выхода компаратора на счетчик импульсов входного сигнала. Импульсы переполнения счетчика DD3 подсчитывает таймер/счетчик 1 микроконтроллера. После выдержки микроконтроллером заданного интервала компаратор защелкивает свой выход (вывод 5 DAI - LATCH) и счет импульсов входного сигнала прекращается.

Микроконтроллер выставляет логические уровни сигналов А = 1, В = 1 и считывает из счетчика импульсов (DD3) накопленное число с помощью импульсов "досчета" (сигнал CP). Общее число импульсов в счетчике импульсов за выбранный интервал времени (а это и есть частота сигнала) микроконтроллер подсчитывает по формуле

Х·1048576+ Y·4096 + Z,

где X - содержимое старших 8 разрядов таймера/счетчика 1 микроконтроллера;

Y- содержимое младших 8 разрядов таймера/счетчика 1 микроконтроллера;

Z - содержимое счетчика импульсов (DD3).

Если входная частота очень большая, то возможно переполнение счетчика/таймера 1 микроконтроллера. В этом случае к результату, полученному по предыдущей формуле, микроконтроллер прибавляет еще число 268435456.

Рассмотрим работу частотомера на примере измерения длительности импульса положительной полярности.

Сигналы с выхода компаратора (сигнал F1 для положительного импульса или сигнал F2 для отрицательного импульса) поступают на коммутатор режима работы (DD2). Микроконтроллер выставляет логические уровни сигналов А - 0, В - 0. Затем выдается сигнал установки триггера DD4.1 в единичное состояние (сигнал WR/CM). После этого выдается сигнал START (лог. 1), соответствующий началу измерения. Микроконтроллер ожидает переключения триггера DD4.2. Триггер DD4.1 разрешает проходить импульсам заполнения с элемента DD1.1 на выход коммутатора (вывод 7 DD2).

С началом действия импульса входного сигнала импульсы заполнения (сигнал BF) поступают на вход счетчика импульсов (вывод 10 DD3) через элемент DD1.1 и коммутатор. Импульсы переполнения счетчика DD3 подсчитывает таймер/счетчик 1 микроконтроллера. После окончания импульса входного сигнала триггер DD4.1 переключается в обратное состояние и счет импульсов заполнения прекращается. По сигналу END микроконтроллер выставляет сигналы А = 1, В = 1 и считывает из счетчика импульсов (DD3) накопленное значение с помощью импульсов досчета (сигнал CP). Длительность измеряемого импульса микроконтроллер подсчитывает по формуле

(Х·1048576 +Y·4096 + Z)x100, где

X - содержимое старших 8 разрядов таймера/счетчика 1 -го микроконтроллера;

Y - содержимое младших 8 разрядов таймера/счетчика 1 -го микроконтроллера;

Z - содержимое счетчика импульсов DD3;

100 - период следования заполняющих импульсов, равный 100 нc.

Таким образом, при измерении длительности импульса временными воротами является сам импульс.

Для определения длительности отрицательного импульса микроконтроллер выставит логические уровни сигналов А = 1, В = 0.

Программное обеспечение написано на языке "С" для микроконтроллеров семейства MCS-51.

Конструктивно частотомер выполнен на двусторонней печатной плате (рис. 2), на которой смонтированы все элементы (рис. 3), за исключением индикатора.

Радиолюбительский частотомер
(нажмите для увеличения)

На рис. 2 круглые контактные площадки, условно показанные без отверстий, соединяются с соответствующими площадками на обратной стороне платы через металлизированные переходные отверстия. При любительском изготовлении печатной платы металлизацию заменяют тонкими проводниками.

Радиолюбительский частотомер

Разъемные соединители - PLS-2, PBS-14, а также панелька PLCC-44 для установки DD5.

Настройка частотомера

После сборки частотомера необходимо сделать три регулировочные операции.

1. Настройку контрастности индикатора выполняют после подачи питания на частотомер регулировкой подстроечного резистора R8.

2. Для установки частоты кварцевого генератора микроконтроллера необходим доступ к конденсатору подстройки частоты. Поэтому при отключенном питании частотомера удаляют с платы модуль индикатора и затем, удерживая кнопку SB1 в нажатом состоянии, включают питание частотомера. При минимальной емкостной связи входа образцового частотомера с точкой BF (рис. 3) подстройкой конденсатора С6 устанавливают частоту генератора точно 10 МГц.

3. Настройку компаратора во входном каскаде выполняют без подачи сигнала на разъем частотомера. После включения питания прибора нужно сначала вывернуть движок резистора R6 в крайнее левое положение, а затем медленно вращать движок вправо до появления на индикаторе надписи "НЕТ СИГНАЛА".

Ниже приведено описание режимов работы частотомера.

Режим цифровой шкалы

Кнопкой "РЕЖИМ" устанавливают режим "ЦИФРОВАЯ ШКАЛА". Кнопкой "ПАРАМЕТР" выбирают параметр режима - частота тракта ПЧ. Эту частоту можно выбирать из следующих значений: +455 кГц; -455 кГц; +465 кГц; -465 кГц; +500 кГц; -500 кГц.

Знак перед цифровым значением Fпч указывает на операцию, которую выполняет частотомер. Если знак "+", то частота Fпч прибавляется к измеренной частоте, если знак "-", то вычитается. Время измерения частоты в данном режиме равно 0,1 с.

Вид индикатора частотомера в рабочем режиме:

Измерение частоты входного сигнала

Кнопкой "РЕЖИМ" устанавливают режим "ЧАСТОТА", а кнопкой "ПАРАМЕТР" выбирают параметр режима - время измерения. Параметр в секундах может принимать одно из следующих значений: 0,1 с, 1 с; 10 с.

Примерно через 1 с после отпускания кнопки частотомер автоматически перейдет в режим измерений. Выбор нового параметра прерывает текущий цикл измерения и начинает новый с новым значением параметра. Единицы измерения частоты (Гц, кГц, МГц) определяются автоматически, в зависимости от частоты входного сигнала.

Вид индикатора частотомера в рабочем режиме: при частоте входного сигнала до 1 кГц

при частоте входного сигнала до 1 МГц

при частоте входного сигнала, равного или выше 1 МГц,

Символ ">" здесь и далее означает, что частотомер находится в режиме счета импульсов. То есть результат измерения, который в данный момент присутствует на индикаторе, относится к предыдущему циклу измерения.

Измерение периода входного сигнала

Кнопкой "РЕЖИМ" выбирают режим "ПЕРИОД СИГНАЛА". Для этого режима параметры не устанавливают. Примерно через 1 с после отпускания кнопки частотомер автоматически перейдет в режим измерений.

Период Т входного сигнала является обратной величиной относительно его частоты F. Поэтому частотомер сначала измеряет частоту входного сигнала при времени измерения 1 с, а после проведения вычислений выводит результат на индикатор.

Вид индикатора частотомера в рабочем режиме:

Измерение девиации частоты

Кнопкой "РЕЖИМ" выберите режим "ДЕВИАЦИЯ". Для этого режима параметры не устанавливают. Примерно через 1 с после отпускания кнопки частотомер автоматически перейдет в режим измерений.

Девиация (или уход) определяется как разница между текущей и частотой, которая была при начале измерения в этом режиме. При этом уход (девиация) частоты может быть как положительным, так и отрицательным. Поэтому значение девиации на индикатор выводится со знаком. Чтобы начать новое слежение за уходом частоты, нужно нажать на кнопку "ПАРАМЕТР".

Вид индикатора частотомера в рабочем режиме:

Измерение длительности импульса положительной полярности

Кнопкой "РЕЖИМ" выберите режим "ИМПУЛЬС". Кнопкой "ПАРАМЕТР" выберите параметр режима - полярность импульса. Для положительного импульса его длительность обозначена "П", а интервал между импульсами обозначен "0". Примерно через 1 с после отпускания кнопки частотомер автоматически перейдет в режим измерений.

Вид индикатора частотомера в рабочем режиме:

Измерение емкости

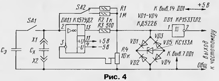
При наличии приставки к частотомеру, измеряющему период, можно измерять емкости любых конденсаторов в пределах от 10 пФ до сотен мкФ. Ее схема приведена на рис. 4.

Радиолюбительский частотомер

Мультивибратор, собранный на ОУ DA1, генерирует импульсы с периодом, пропорциональным емкости Сх. Это описывается выражением

Тх= 2CхRэ-lп[(R4+R4')/(R4-R4')].

Здесь значение R4' соответствует сопротивлению части подстроечного резистора между движком и нижним по схеме выводом. Если движок резистора R4 установлен так, что ln[(R4+R4')/(R4-R4')] - 0,5, тогда Тх = CхRэ, и при Rэ = 1 МОм значение емкости 10 пФ соответствует длительности периода генерируемых импульсов, равной 10 мкс, а при Rэ = 10 кОм значение 1 мкФ соответствует длительности 10000 мкс.

В приставке находится эталонный конденсатор Сэ (3000...10000 пФ), позволяющий калибровать приставку, а также измерять емкости менее 10 пФ. Точность эталонного конденсатора желательно подобрать с погрешностью не более 0,5...1 %.

Калибровка приставки заключается в выставке на частотомере значения величины эталонного конденсатора подстроечным резистором R2 (10 кОм). Тэ в частотомере должен быть равен 1 мкс (Fэ = 1 МГц).

Из-за наводок младшие разряды могут периодически изменять свое значение. Но для большинства случаев точность измерения емкости вполне удовлетворительна.

Для измерения емкости кнопкой "РЕЖИМ" выбирают режим "ЕМКОСТЬ". Этот режим не имеет параметров.

Примерно через 1 с после отпускания кнопки частотомер автоматически перейдет в режим измерений.

Вид индикатора частотомера в рабочем режиме:

Измерение индуктивности

При наличии приставки (ее схема приведена на рис. 5) можно измерять индуктивности в интервале 1 мкГн...2 Гн.

Радиолюбительский частотомер

Принцип измерения на основе соотношения периода гармонических колебаний с индуктивностью и емкостью колебательного контура генератора в приставке:

T2 = LC/25330, где T - в секундах, L - в мкГн, С - в пФ.

Поэтому, если использовать емкость контура, равную 25330 пф, то численное значение индуктивности вычисляется из следующего соотношения:

L = Т2 = 1/F2, где F - частота колебаний.

Для измерения индуктивности частотомером с приставкой кнопкой "РЕЖИМ" выбирают режим "ИНДУКТИВНОСТЬ". Примерно через 1 с после отпускания кнопки частотомер автоматически перейдет в режим измерений. Численные значения показаний соответствуют индуктивности в мкГн.

Вид индикатора частотомера в рабочем режиме:

Приставка состоит из измерительного генератора (VT1-VT5), частота которого определяется емкостью конденсаторов С1, С2 (общей емкостью около 25330 пФ) и индуктивностью, подключаемой к входным клеммам катушки. Для формирования сигнала с уровнем ТТЛ служит триггер Шмитта (VT6, VT7). Амплитуду колебаний стабилизирует цепь на диодах VD1, VD2 и транзисторах VT4, VT5, подключенная к генератору через эмиттерный повторитель на транзисторе VT3.

При указанном значении емкости С1, С2 и измеряемой индуктивности, равной 1 мкГн, частота генерации составит 1 МГц. При индуктивности 2 Гн - 700 Гц. Для перекрытия такого диапазона, особенно в области высоких частот, необходимо подобрать транзисторы VT1, VT2 с коэффициентом передачи тока базы не менее 150. Конденсаторы С1, С2 - К73-17 или аналогичные с малым ТКЕ. В сумме их емкость не должна отличаться от указанной более чем на 1...2%.

На ширину диапазона измерения влияет и транзистор VT5, точнее его коэффициент передачи тока базы. Лучшие результаты получались при использовании транзисторов ГТ311 с коэффициентом усиления 30...50.

Приставка обычно не требует настройки, если выполнены указанные требования.

Программное обеспечение к микроконтроллеру

Переходник для микроконтроллера AT89C52-24JC

Авторы: С.Зорин, Н.Королева, г.Ижевск

Смотрите другие статьи раздела Измерительная техника.

Читайте и пишите полезные комментарии к этой статье.

<< Назад

Последние новости науки и техники, новинки электроники:

Токсичность интернета преувеличена 07.01.2026

Социальные сети нередко воспринимаются как арена постоянной агрессии, оскорблений и распространения фейковой информации. Новое исследование Стэнфордского университета показывает, что реальность значительно отличается от популярного представления: интернет гораздо менее токсичен, чем многие пользователи считают. Ученые опросили более тысячи американцев, попросив их оценить долю пользователей соцсетей, которые ведут себя агрессивно или распространяют ненависть. Оказалось, что впечатления людей сильно преувеличивают масштабы проблемы. Например, респонденты считали, что почти половина пользователей Reddit хотя бы раз оставляла оскорбительные комментарии, тогда как фактические данные платформы показывают, что таких людей не более 3%. Аналогичная ситуация наблюдается с дезинформацией. Опрос показал, что большинство участников считали почти половину аудитории Facebook распространителями фейковых новостей, однако статистика говорит об обратном: фактическая доля таких пользователей состав ...>>

Процессоры Ryzen AI 400 07.01.2026

Современные вычисления все больше ориентируются на интеграцию искусственного интеллекта и высокую производительность в компактных устройствах, таких как ноутбуки и мини-ПК. Новая линейка процессоров AMD Ryzen AI 400 демонстрирует, как разработчики объединяют мощные центральные ядра, графику и нейросетевые ускорители в одном чипе, чтобы удовлетворять растущие потребности пользователей в играх, контенте и ИИ-приложениях. AMD представила процессоры серии Gorgon Point, которые включают до 12 ядер Zen 5 и до 24 потоков вычислений. Чипы поддерживают интегрированную графику RDNA 3.5, обеспечивают максимальную тактовую частоту до 5,2 ГГц и имеют энергопотребление от 15 Вт до 54 Вт. Особое внимание уделено NPU, способному обрабатывать до 60 триллионов операций в секунду (TOPS), что делает эти процессоры эффективными для задач с искусственным интеллектом. Конструкция Ryzen AI 400 сочетает ядра Zen 5 и Zen 5c, обеспечивая высокую гибкость и производительность. Несмотря на то, что архитектур ...>>

Женщины лучше распознают признаки болезни по лицу 06.01.2026

Способность распознавать, что кто-то нездоров, часто проявляется интуитивно: бледная кожа, опущенные веки, уставшее выражение лица могут сигнализировать о недомогании. Новое исследование международной группы ученых показало, что женщины в среднем точнее мужчин улавливают такие тонкие невербальные признаки болезни, что может иметь эволюционные и социальные объяснения. В отличие от предыдущих работ, где использовались отредактированные фотографии или имитация больных лиц, ученые решили проверить, насколько люди способны распознавать естественные признаки недомогания. Такой подход позволил оценить реальную чувствительность к изменениям в лицах, возникающим при болезни. В исследовании приняли участие 280 студентов, поровну мужчин и женщин. Участникам предложили оценить 24 фотографии, на которых изображены люди как в здоровом состоянии, так и во время болезни. Это дало возможность сравнить восприятие естественных признаков недомогания в реальных лицах. Для анализа состояния каждого ...>>

Случайная новость из Архива

Шоковая терапия умного браслета 03.10.2014

Команда разработчиков-энтузиастов из Бостона решила, что применение легкой шоковой терапии может положительным образом сказаться на отказе от пагубных привычек. А лучше всего для этого подходит носимая на запястье электроника в виде стильного браслета. Сборы средств на серийный выпуск устройства под названием Pavlok было решено начать на краудфандинговом сайте Indiegogo. Конечной целью для реализации идеи являлась сумма $50 тыс., но всего за три дня перечислено свыше $62,5 тыс. При этом кампания по финансированию проекта, взявшая свой старт 30 сентября, продлится до 30 октября включительно.

Сам "умный" браслет Pavlok представляет собой носимый гаджет, который не только готов разбудить вас утром или напоминать о недопустимости выполняемого действия характерным звуковым сигналом, но и позволит ощутить вашему организму короткий разряд от 17 до 340 Вольт. Разработчики сразу предупреждают, что подобные удары током не нанесут какого-либо вреда здоровью, но при установленном значении на "максимум" они окажутся весьма неприятными и ощутимыми. Хотя наиболее уместным словом здесь окажется "мотивируемыми". По крайней мере, именно на это сделал ставку создатель "умного" браслета в попытках найти действенный метод воспитания силы духа в совокупности с оригинальным видом наказания небольших проступков.

Pavlok может стать отличным способом для курильщиков расстаться со своей вредной привычкой раз и навсегда. Для этого потребуется запрограммировать гаджет на распознавание определенного движения руки в пространстве - вроде характерного жеста, когда вы подносите сигарету ко рту, и заставить отказаться вас от данного рода занятий при помощи неприятных "напоминающих импульсов", исходящих из браслета. Подобное решение выполняется за счет встроенных в Pavlok разнообразных датчиков, в том числе акселерометра, а также не без помощи мобильного приложения. Кроме того, модель оснащается модулями Bluetooth и GPS, небольшим вибромотором и крохотным светодиодным индикатором.

Над созданием браслета трудился выпускник Стэнфордского университета Манеш Сетхи (Maneesh Sethi), который планирует сделать платформу Pavlok открытой, что должно подтолкнуть (на этот раз уже без неприятных ударов током) сторонних программистов на разработку новых приложений. В качестве возможного режима работы носимой электроники рассматривается более глубокое взаимодействие со смартфоном. Это позволит, скажем, бить вас током каждый раз, когда вы решите набрать номер или отправить текстовое сообщение своей "бывшей" или начальнику, заставив вас дважды подумать перед этим.

Текущая же функциональность Pavlok позволит огородить вас от походов по злачным местам или ресторанам быстрого питания. Для этого придется задействовать GPS-навигацию, которая сможет отследить ваше текущее местоположение и, когда вы приблизитесь к кафе, напоминать оригинальным образом про обещание придерживаться здорового питания. Или же просто "ущипнуть" вас с уведомлением на смартфон о необходимости посетить тренажерный зал, когда вы будете находиться в районе его расположения.

Pavlok синхронизируется через Bluetooth 4.0 LE с вашим мобильным устройством, после чего вы сможете в специальном приложении выбрать интересующий вас режим работы и ввести необходимые настройки. Если вы противник неприятных ощущений, то безвредные разряды можно заменить, как уже было отмечено выше, на звуковой сигнал из встроенного в браслет динамика. В списке безболезненных предупреждений носимого гаджета значится виброоповещение, а также команда на автоматически генерируемую запись (ей может стать и сообщение постыдного характера для лучшей мотивации) на вашей странице в Facebook.

Первые прототипы Pavlok уже были продемонстрированы в этом году, а их стоимость равнялась на тот момент $250. Теперь же, когда стартап перебазировался на ресурс Indiegogo, цена на устройство для участников проекта составит $149. Отправка браслета покупателям, оформившим предзаказ на гаджет, запланирована на май 2015 года.

Другие интересные новости:

▪ Honeywell и Crossbow создают беспроводную измерительную продукцию

▪ Лавина в батарее

▪ Ученые любят заголовки покороче

▪ Компактный токамак разогрели до рекордных 100 миллионов кельвинов

▪ 64-слойная флэш-память V-NAND и SSD

Лента новостей науки и техники, новинок электроники

 

Интересные материалы Бесплатной технической библиотеки:

▪ раздел сайта Афоризмы знаменитых людей. Подборка статей

▪ статья Методы оценки тяжести труда. Основы безопасной жизнедеятельности

▪ статья Кто и когда выиграл золотые медали в фигурном катании, не испугавшись обрыва музыкального сопровождения? Подробный ответ

▪ статья Санитарка (мойщица) при работе в ванной комнате и бане. Типовая инструкция по охране труда

▪ статья Фотофон. Передача звука с помощью луча света. Энциклопедия радиоэлектроники и электротехники

▪ статья Выключатель-автомат. Энциклопедия радиоэлектроники и электротехники

Оставьте свой комментарий к этой статье:

Имя:


E-mail (не обязательно):


Комментарий:





Главная страница | Библиотека | Статьи | Карта сайта | Отзывы о сайте

www.diagram.com.ua

www.diagram.com.ua
2000-2026