Menu Home

Бесплатная техническая библиотека для любителей и профессионалов Бесплатная техническая библиотека


Осциллограф... без трубки. Энциклопедия радиоэлектроники и электротехники

Бесплатная техническая библиотека

Энциклопедия радиоэлектроники и электротехники / Измерительная техника

Комментарии к статье Комментарии к статье

Электрический сигнал. Можно ли его видеть?

"Конечно", - скажете вы. Для этого имеются специальные приборы - осциллографы, главная деталь которых - электронно-лучевая трубка. Конечно, вы знаете, как получается изображение на ее экране. Поэтому мы не станем останавливаться на этом вопросе.

А нельзя ли обойтись без трубки?

Оказывается, можно. Если вместо трубки применить электронно-оптический индикатор (ЭОИ). Он есть почти во всех ламповых радиоприемниках и магнитофонах.

Блок-схема такого осциллографа - на рисунке 1.


Рис. 1. Блок-схема осциллографа:1 - ЭОИ, 2 - диск, 3 - электродвигатель.

Перед экраном ЭОИ поместим непрозрачный диск с узкими радиальными щелями и будем равномерно вращать его с такой скоростью, чтобы за время, равное одному периоду входного сигнала, щель успевала пройти от одного края светящейся полосы до другого. На экране будет видна огибающая одного колебания входного сигнала (рис. 2). А так как входной сигнал периодический, следующая щель, находящаяся от первой на расстоянии ширины экрана ЭОИ, даст точно такое же изображение огибающей (в силу инерционности зрительного восприятия человека мы увидим неподвижную картину формы входного сигнала).


Рис.2. Так действует механическая развертки: 1 - ЭОИ, 2 - экран, 3 - диск со щелями.

Для получения устойчивого изображения необходима высокая стабильность скорости вращения диска. Поэтому электродвигатель, на валу которого находится диск, питается от стабилизированного источника питания.

Краткие технические данные

Входное сопротивление - 300 кОм
Чувствительность - 200 мм/В
Полоса пропускания при неравномерности 6дВ - 50-13000 Гц
Частота развертки - 0-1500 Гц
Размер изображения при нелинейности 15% - 6X6 мм
Максимальный размер изображения - 15 X 6 мм
Диапазон измеряемых напряжений - 0,01-10 В
Диапазон измеряемых частот - 100-10000 Гц
Мощность, потребляемая от сети - 6 Вт
Габариты - 164x148X84 мм

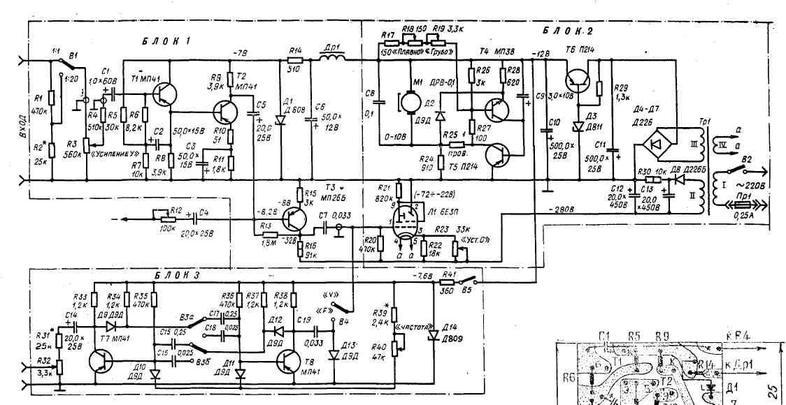
Принципиальная схема осциллографа - на рисунке 3. Блок 1 имеет два каскада усиления на транзисторах Т2, Т3 и эмиттерный повторитель (Т1) для повышения входного сопротивления. Т1 и Т2 связаны между собой по постоянному току. Выходной каскад должен обеспечивать неискаженный сигнал амплитудой 7-8 В, поэтому в нем используется транзистор с высоким значением напряжения перехода "коллектор - эмиттер". Все каскады термостабилизированы, имеют автоподстройку режима работы, что позволяет устанавливать в них транзисторы без предварительного отбора. Для предотвращения помех от электродвигателя питание на усилитель поступает через фильтрирующую цепочку Др1, С6 и стабилизируется диодом Д1.

Рис.3. Принципиальная схема осциллографа с электронно-оптическим индикатором.

Блок 2 представляет собой регулируемый стабилизатор скорости вращения вала электродвигателя, выполненный на транзисторах Т4, Т5. Если нагрузка на валу двигателя увеличивается (трение в подшипниках, вибрации диска), скорость вращения падает. В результате ток через резистор R25 увеличивается " напряжение смещения на базе Т4 возрастает. Это вызывает увеличение коллекторного тока последнего, а значит - и базового тока Т5. Сопротивление участка "эмиттер - коллектор" Т5 уменьшается, напряжение на электродвигателе увеличивается, и скорость вращения восстанавливается до номинальной. Уменьшение нагрузки вызывает обратный процесс.

При изменении напряжения питания ток через цепочку Д2, R24 поддерживает такой режим Т4, Т5, при котором напряжение на электродвигателе остается постоянным. Частота развертки устанавливается с помощью переменных резисторов R18 "Плавно" и R19 "Грубо".

Калибратор выполнен по схеме симметричкого мультивибратора с изменяемой частотой следования импульсов. Амплитуда входного сигнала измеряйся путем сравнения ее с амплитудой напряжения от калибратора. При определении частоты прибор используется в качестве нуль-индикатора.

Блок питания обеспечивает напряжение: 280 В, 12 В и 6,3 В, Стабилизатор напряжения 12 В выполнен на транзисторе Т6 и диоде Д3 по типовой схеме.

Конструкция и детали

Схема прибора смонтирована на трех печатных платах (рис. 4-6) из фольгированного стеклотекстолита или гетинакса толщиной 2-3 мм.

Печатная плата блока 1

Печатная плата блока 2

Печатная плата блока 3

Корпус прибора выполнен из уголке 10X10 мм. Его стенки сделаны съемными. На передней панели (см, рис 7) установлены электродвигатель и девятиштырьковая ламповая панелька.


Рис. 7

Экраны, разделяющие корпус на три отсека, изготовлены из жести толщиной 1 мм. Во избежание случайных электрических замыканий стенки экрана оклеены плотной бумагой. Фальш-панель сделана из гетинакса толщиной 2 мм и четырьмя винтами крепится к передней стенке.

Насадка на ось электродвигателя, прижимная гайка и диск развертки представлены на рисунке 8. Диск с одной стороны оклеен черной бумагой (для упаковки фотоматериалов), а которой прорезаны 44 радиальные щели шириной 0,3 мм. Прибор снабжен поворотной ручкой, изготовленной из стальной трубки 0 6 мм.


Рис.8. Насадка, прижимная гайка и диск.

Силовой трансформатор Тр1 намотан на сердечнике Ш16Х24 мм. Обмотка I содержит 1750 витков провода ПЭВ-1 0,15, 11 - 1950 витков ПЭВ-1 0,С 111-170 витков ПЭВ-1 0,35, IV-54 витка ПЭВ-1 0,25.

Обмотка дросселя Др1 намотана на сердечнике ШЗ X 6,3 и содержит 500 витков провода ПЭВ-1 0,15. Постоянные резисторы R16 и R30 - МЛТ-1, R25 представляют собой 45 см провода ПЭВ-1 0,1, намотанного на корпус резистора МЛТ-0,5 сопротивлением не менее 50 Ом. Остальные резисторы - МЛТ-0,25 или УЛМ. Переменные резисторы: R40 -• СПО-0.5-В, остальные - СПО-0.5-А. Электролитические конденсаторы С5, СЮ, С11, С12, С13, С14- К50-6; С2, С3, С6 -ЭТО-1; С1, С9 - ЭМ. Конденсаторы С7, С8, С15, С17, С19 - МБМ; С16, С18 - К10-7В. Конденсаторы С7, С19 рассчитаны на рабочее напряжение 300 В. Естественно, все детали могут быть заменены на другие с рабочими напряжениями не ниже указанных на схеме.

Транзисторы МП41 можно заменить на МП39 - МП42; МП26Б - на МП26, МЛ26А; МП38 - на МП35, МП37; П214 - на П213 - П217, П201 - П203.

Лампу 6ЕЗП можно заменить на 6Е2П, соединив между собой управляющие сетки.

Электродвигатель ДРВ-0,1 можно заменить любым малогабаритным двигателем постоянного тока с напряжением питания 10 В. В частности, на ДП-13 - микродвигатель от игрушек. Его необходимо поместить в экран из мягкой стали толщиной 0,5-1 мм и амортизировать.

В качестве Др1 можно использовать готовый трансформатор от транзисторного радиоприемника.

Переключатели В1 - В5 - микротумблеры МП3-1, МП-7. Корпус прибора должен быть соединен с общей "плюсовой" шиной и заземлен. Особое внимание следует обратить не экранировку входа и выхода цепей усилителя.

Настройка

Для настройки осциллографа необходимы следующие приборы: авометр, звуковой генератор, электроннолучевой осциллограф.

Проверяют монтаж выпрямителя и, подсоединив блок 2, включают прибор есть. Режимы элементов не должны отличаться от указанных на схеме более чем на ±20%. При вращении ручки R23 высота светящихся секторов лампы должна меняться от нуля до максимальной. Если это не удается сделать, подбирают величину R21. Затем устанавливают движок R18 в левое по схеме положение и, вращая ручку "Частота грубо", контролируют напряжение на электродвигателе. Оно должно изменяться от нуля до максимального (для данного мотора).

Скорость вращения электродвигателя проверяют с установленным на его оси диском.

Затем приступают к настройке блока 1. Диск останавливают, переключатель В1 переводят в положение "1 :1", а к коллектору ТЗ через конденсатор-, емкостью 0,1 мкФ подключают осциллограф. На вход прибора подают сигнал от ЗГ частотой 400-1000 Гц и напряжением 100-200 мВ. На выходе усилителя амплитуда сигнала равна 7--8в. В противном случае необходимо подобрать величины резисторов R5 и R13. Затем, переключив В1 в положение "1 :20", с помощью резистора R2 добиваются, чтобы уровень входного сигнала ослаблялся в 20 раз. Остается проверить общий коэффициент усиления. Сигнал от ЗГ уменьшают до 10 мВ, а настраиваемый прибор устанавливают в режим максимальной чувствительности (В1 в положении "1 :1", движок R3 - в верхнем по схеме положении). Высота сектора на экране ЭОИ должна увеличиться на 2 мм при начальной высоте сектора 5 мм. Это соответствует чувствительности 200 мм/В.

Постепенно увеличивая частоту вращения диска ручкой "Развертка грубо", добиваются получения на экране изображения полного периода колебаний входного сигнала частотой 400-800 Гц. Подстройку производят ручкой "Развертка плавно". Остается подключить блок 3, прокалибровать его, и прибор готов к работе.

Сначала проверяют, есть ли генерация. Замыкают В4 и 85. Высота светящихся секторов ЭОИ должна резко увеличиться и не пропадать в любом положении движка резистора R40 и переключателя ВЗ.

Затем от звукового генератора подают сигнал напряжением 80-100 мВ на вход осциллографа. Диск остановят, В4 разомкнут. Ручкой "Усиление V" устанавливают такой уровень напряжения, чтобы секторы ЭОИ почти сошлись. Замыкают В4. Плавно изменяют частоту ЗГ, находят положение, когда светящиеся полоски на экране резко расходятся. Это происходит в момент совпадения частот генератора и калибратора. Подбирая величины резистора R39 и конденсаторов С15-С18, устанавливают пределы изменения частот 100-1000 Гц, 1000-10000 Гц (первый и второй диапазоны) и наносят промежуточные деления на частотную шкалу калибратора.

Далее на ЗГ устанавливают частоту 1000 Гц амплитудой 1 В. Ручкой "Усиление У" высоту светящегося сектора устанавливают равной 10 мм. ЗГ отсоединяют от входа прибора. В4 разомкнут, диск остановлен, а движок резистора R32 находится в верхнем положении. Экранированным проводом соединяют выход калибратора со. входом усилителя "У". Калибратор настраивают на частоту 1000 Гц и включают. Если высота сектора будет отлична от 10 мм (амплитуда напряжения 1 В), подбирают сопротивление резистора R31. Изменяя величину выходного напряжения генератора, наносят промежуточные деления на шкалу резистора R32.

Теперь мы не только наладили осциллограф, но и научились им пользоваться.

Автор: В. Прохорин, пос. Черноголовка, Московская обл.; Публикация: Н. Большаков, rf.atnn.ru

Смотрите другие статьи раздела Измерительная техника.

Читайте и пишите полезные комментарии к этой статье.

<< Назад

Последние новости науки и техники, новинки электроники:

Оптимальная продолжительность сна 12.11.2025

Сон играет ключевую роль в поддержании здоровья, когнитивных функций и общего самочувствия. Несмотря на широко распространенный стереотип о восьмичасовом сне, последние исследования показывают, что оптимальная продолжительность сна для большинства здоровых взрослых ближе к семи часам. Эволюционный биолог из Гарварда, Дэниел Э. Либерман, утверждает, что традиционная норма восьми часов сна - это скорее культурное наследие индустриальной эпохи, чем биологическая необходимость. По его словам, полевые исследования, проведенные в сообществах, не использующих электричество, показывают, что средняя продолжительность сна составляет 6-7 часов, что значительно отличается от общепринятого стандарта. Современные эпидемиологические данные подтверждают этот взгляд. Исследования выявили так называемую "U-образную кривую" зависимости между продолжительностью сна и рисками для здоровья. Минимальные показатели заболеваемости и смертности наблюдаются именно у людей, спящих около семи часов в сутки. ...>>

Дефицит кислорода усиливает выброс закиси азота 12.11.2025

Парниковые газы играют ключевую роль в изменении климата, а закись азота (N2O) - один из наиболее опасных среди них. Этот газ не только втрое сильнее углекислого газа в удержании тепла, но и разрушает озоновый слой. Недавнее исследование американских ученых показало, что микробы в зонах с низким содержанием кислорода активно производят N2O, усиливая глобальные климатические риски. Команда из Университета Пенсильвании изучала прибрежные воды у Сан-Диего и провела наблюдения на глубинах от 40 до 120 метров в Восточной тропической северной части Тихого океана - одной из крупнейших зон дефицита кислорода. Исследователи сосредоточились на том, как морские микроорганизмы превращают нитраты в закись азота. В ходе работы выяснилось, что существует два пути образования N2O. Один путь начинается с нитрата, другой - с нитрита. На первый взгляд более короткий путь должен быть эффективнее, однако микробы, использующие нитрат, продуцируют больше газа, поскольку этот "сырьевой" источник более д ...>>

Омега-3 помогают молодым кораллам выживать 11.11.2025

Сохранение коралловых рифов становится все более актуальной задачей в условиях глобального изменения климата. Молодые кораллы особенно уязвимы на ранних стадиях развития, когда стрессовые условия и нехватка питательных веществ могут привести к высокой смертности. Недавнее исследование ученых из Технологического университета Сиднея показывает, что специальные пищевые добавки способны существенно повысить выживаемость личинок кораллов. В ходе работы исследователи разработали особый состав "детского питания" для коралловых личинок. В него вошли масла, богатые омега-3 жирными кислотами, а также важные стерины, необходимые для формирования клеточных мембран. Личинки, получавшие эти добавки, развивались быстрее, становились крепче и демонстрировали более высокую устойчивость к стрессовым факторам. Особое внимание ученые уделили липидам. Анализ показал, что личинки активно усваивают эти вещества, что напрямую влияет на их жизнеспособность. Стерины, содержащиеся в корме, повышают устойчи ...>>

Случайная новость из Архива

BLE-чип CC2640R2 12.04.2017

Новый BLE-чип CC2640R2F является версией CC2640 с увеличенным объемом ROM-памяти, что позволило разместить в нем большую часть программного кода стека Bluetooh low energy stack 4.2 вместе с компонентами операционной системы TI-RTOS. Теперь типичное BLE-приложение для периферийного устройства с функционалом BLE 4.2 оставляет свободным около 80 кБ FLASH-памяти, против 31 кБ для CC2640F128.

С точки зрения аппаратной части, новый чип выпускается в тех же самых корпусах и полностью совместим по выводам и схеме подключения с CC2640F128. Все внешние компоненты, включая кварц, элементы обвязки DC/DC-преобразователя и согласующие LC-элементы в цепи согласования антенны остаются неизменными. Это означает, что в уже разработанном устройстве микросхема CC2640F128 может быть заменена на CC2640R2F без внесения каких-либо изменений в схему изделия.

Для знакомства с возможностями CC2640R2F и разработки BLE-приложений Texas Instruments выпускает пакет программного обеспечения SIMPLELINK_CC2640R2_SDK 1.30.00.25 предназначенный для компиляции в среде CCS7.1. При установке пакета разработчик получает набор директорий с TI-RTOS, BLE-стек, драйвера периферии и готовые примеры приложений.

Особенности ПО SIMPLELINK_CC2640R2_SDK 1.30.00.25:

Полноценный бесплатный стек Bluetooth 4.2 с поддержкой всех типов устройств: Peripheral, Central, Broadcaster and Observer.
Поддержка все возможностей BLE версии 4.2 LE: Secure Connections, Data Length Extension и Privacy 1.2.
Возможность работы как одночиповое функционально-законченное устройство либо в варианте "Сетевой BLE-контроллер" под управлением внешнего микроконтроллера.
Полная интеграция с TI-RTOS для работы в приложениях реального-времени с гибким управлением энергопотреблением.
Режим Multi-role с 8 одновременными соединениями.
Поддержка обновления прошивки по эфиру (Over-the-Air Download) с использованием внешней или встроенной FLASH-памяти.
Включает одобренные BT SIG профили - HID over GATT (HOGP), Glucose and Heart Rate и custom TI Audio and firmware update (OAD) profiles.
Поддерживает автоматическую генерацию кода для профилей Bluetooth GATT с помощью плагина для ПО Bluetooth Developer Studio (BDS).
Простая конфигурация Micro BLE Stack для режима Маячка (Beacon).
Опция бесплатной генерации кода в среде разработки Code Composer Studio (CCS) v7.1.

Другие интересные новости:

▪ Очки с подсветкой

▪ Телескоп SPHEREx

▪ Офисное здание могут напечатать на 3D-принтере

▪ 20-дюймовые дисплеи AMOLED от Ignis

▪ Капсула для возврата с Марса

Лента новостей науки и техники, новинок электроники

 

Интересные материалы Бесплатной технической библиотеки:

▪ раздел сайта Акустические системы. Подборка статей

▪ статья Международное частное право. Конспект лекций

▪ статья Сколько процентов биологических видов нашей планеты открыто и классифицировано? Подробный ответ

▪ статья Начальник юридического отдела. Должностная инструкция

▪ статья Сенсорный регулятор мощности на микросхеме К145АП2. Энциклопедия радиоэлектроники и электротехники

▪ статья Экономичное управление симистором. Энциклопедия радиоэлектроники и электротехники

Оставьте свой комментарий к этой статье:

Имя:


E-mail (не обязательно):


Комментарий:





Главная страница | Библиотека | Статьи | Карта сайта | Отзывы о сайте

www.diagram.com.ua

www.diagram.com.ua
2000-2025