Menu Home

Бесплатная техническая библиотека для любителей и профессионалов Бесплатная техническая библиотека


Прибор для подбора емкостей. Энциклопедия радиоэлектроники и электротехники

Бесплатная техническая библиотека

Энциклопедия радиоэлектроники и электротехники / Измерительная техника

Комментарии к статье Комментарии к статье

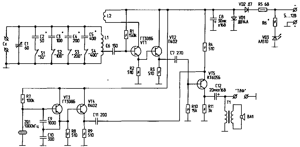
При постройке KB- и УКВ-аппаратуры радиолюбители часто сталкиваются с необходимостью точного подбора конденсаторов для генераторов плавного диапазона, контуров, фильтров и т.Д.

Предлагаемый прибор позволяет не только непосредственно измерять и сравнивать емкости конденсаторов с точностью до 0,5 пФ, но и определять величину и знак ТКЕ.

Прибор измеряет емкость методом резонанса по схеме замещения. Включение в схему диапазонных конденсаторов С2...С5 (рис.1) в различной комбинации позволяет измерять емкости в диапазонах 0...50,50...100,100...150, 150...200, 750...800 пФ.

Прибор для подбора емкостей
Рис.1 (нажмите для увеличения)

Прибор потребляет ток 30 мА при питании от источника постоянного напряжения 12 В. Его габариты - 120х200х70 мм. Масса - около килограмма.

Прибор монтируется в металлической коробке. На лицевой панели (рис.2) находится закрепленная на оси переменного конденсатора С1 ручка с визиром; шкала, которая проградуирована в единицах пикофарад; переключатели S1...S4, которыми выбирают диапазон измерений; зажимы для подключения испытуемого "Сх"; гнездо для подключения телефона и источника питания.

Прибор для подбора емкостей
Рис.2

Весь монтаж произведен на тыльной стороне лицевой панели (рис.3).

Прибор для подбора емкостей
Рис.3

Схема прибора содержит два генератора с эмиттерными повторителями и смеситель. Один из генераторов - опорный кварцевый, второй - параметрический. При подключении к параметрическому генератору всех диапазонных конденсаторов С2...С5 и полной емкости переменного конденсатора С1, частоты генераторов совпадают, и прослушиваются нулевые биения. На шкале это соответствует отметке "0". Для получения этих биений в исходном состоянии, параметрический генератор должен иметь элемент подстройки. Лучше всего это осуществить с помощью латунного подстроечного сердечника в катушке L1. Доступ к нему лучше сделать со стороны передней панели.

Прежде чем установить С1 в прибор, используя какой-либо заводской измеритель емкости, на неподвижных пластинах С1 наносят две риски, емкость между которыми составляет 50 пФ.

После установки С1 на его ось крепят ручку с визиром. Визир устанавливается напротив риски "0" при полностью введенных пластинах С1. После этого подводят подвижные пластины к другой риске и ставят обозначение "50". Теперь можно равномерно разделить всю шкалу на пятьдесят частей.

Перед настройкой прибора надо подобрать диапазонные конденсаторы С2...С5 с минимальным допуском и поочередно добиться работы генераторов. После этого подстроечный сердечник L1 устанавливается в среднее положение, и при включении прибора находят нулевые биения, перемещая по шкале указатель визира. Если разница частот незначительна (нулевые биения возникают вблизи от отметки "0"), то совмещения визира с нулем шкалы добиваются вращением сердечника L1, если значительна - изменением числа витков катушки L1 или добавлением в схему дополнительного конденсатора (когда частота параметрического генератора выше требуемой).

Чтобы подогнать С2 в диапазоне "50 пФ", необходимо при исходных нулевых биениях подключить к клеммам "Сх" конденсатор переменной емкости, затем перевести визир на отметку 50, и при помощи подключенного конденсатора установить нулевые биения. После этого конденсатор прибора С1 переводится на отметку "0", и отключается С2. Если С2 имеет необходимую емкость, то нулевые биения восстанавливаются. Если нулевые биения не восстанавливаются, и мы, двигая визир, видим, что они возникают при небольшом отклонении визира в ту или иную сторону, то к С2 нужно добавить маленький конденсатор или заменить его на другой с несколько меньшей емкостью.

Подбор конденсаторов C3...С5 производится аналогичным образом.

"Подгоночные" конденсаторы малой емкости удобно делать из двух небольших отрезков провода типа ПЭВ, скрученных между собой и расположенных на основных конденсаторах. Необходимо иметь в виду, что за счет наличия проходной емкости у переключателей, при их отключении от измерительной схемы емкость отключается не полностью.

Знак ТКЕ испытуемых конденсаторов определяют по уходу нулевых биений после прогрева их паяльником.

Катушка параметрического генератора L1 имеет диаметр 18 мм, содержит 50 витков провода ПЭВ 00,23 мм (намотка - виток к витку) и индуктивность 27...33 мкГн. Отвод сделан от 15-го витка, считая от заземленного конца. L2 - 30 витков на бумажном кольце, высота намотки - 3 мм, диаметр провода - 0,1 мм. Катушка связи располагается со стороны "горячего" конца катушки L1. Переключатели S - тумблеры МТ-1. Кварц ZQ1 (1 МГц) - в корпусе Б-1. Выводы кварца паяются непосредственно в схему. Конденсаторы С2...С6, С9, С10 желательно применить типа КСО группы "Г". С8, С12 - электролитические на рабочее напряжение 16 В, остальные конденсаторы -любые малогабаритные. Трансформатор и динамик ВА1 - от любого карманного приемника. Конденсатор переменной емкости С1 - керамический с максимальной емкостью 60...65 пФ. Светодиод VD3 - любой (необходимо только подобрать сопротивление R6).

Диод VD2 предохраняет прибор от выхода из строя при случайной переполюсовке питания. Детали прибора монтируются на печатной плате (можно применить и навесной монтаж), которая на стойках крепится к панели тремя винтами (рис.3).

Авторы: С.Лебедев, Л.Савельев, г.Чита; Публикация: Н. Большаков, rf.atnn.ru

Смотрите другие статьи раздела Измерительная техника.

Читайте и пишите полезные комментарии к этой статье.

<< Назад

Последние новости науки и техники, новинки электроники:

Хорошо управляемые луга могут компенсировать выбросы от скота 15.02.2026

Животноводство, особенно разведение крупного рогатого скота, часто обвиняют в значительном вкладе в глобальное потепление из-за мощного парникового газа - метана, который выделяется при пищеварении у жвачных животных. Это вызывает острые политические споры и призывы к сокращению потребления мяса. Однако ученые напоминают, что полная картина климатического воздействия отрасли не ограничивается только выбросами от животных: огромную роль играет окружающая экосистема - пастбища, почва и растительность, которые способны активно поглощать углекислый газ из атмосферы. Исследователи из Университета Небраски-Линкольна решили глубже изучить этот баланс. Группа под руководством профессора Галена Эриксона сосредоточилась на том, как правильно организованные пастбища накапливают углерод в растениях и грунте благодаря естественным процессам, стимулируемым выпасом скота. Ученые подчеркивают, что при достаточном уровне осадков и грамотном управлении такие луга превращаются в мощные природные погло ...>>

NASA тестирует инновационную технологию крыла 15.02.2026

Коммерческая авиация ежегодно расходует колоссальные объемы керосина, что сказывается не только на бюджете авиакомпаний, но и на состоянии окружающей среды. В 2024 году глобальные затраты на авиационное топливо достигли 291 миллиарда долларов, и эта сумма продолжает расти. Чтобы справиться с этими вызовами, NASA активно работает над технологиями, способными заметно повысить аэродинамическую эффективность самолетов. Одним из самых перспективных направлений стало создание специальной конструкции крыла, которая максимизирует естественный ламинарный поток воздуха и минимизирует сопротивление. В январе 2026 года специалисты NASA Armstrong Flight Research Center успешно провели важный этап наземных испытаний концепции Crossflow Attenuated Natural Laminar Flow (CATNLF). Для эксперимента под фюзеляж исследовательского самолета F-15B закрепили вертикально ориентированную масштабную модель высотой около 0,9 м (3 фута), напоминающую узкий киль. Такая компоновка позволила подвергнуть прототип р ...>>

Забота о внуках очень полезна для здоровья мозга 14.02.2026

Общение между поколениями приносит радость всей семье, но мало кто задумывается, насколько активно бабушки и дедушки, заботящиеся о внуках, поддерживают свою умственную форму. Регулярное взаимодействие с детьми стимулирует мозг пожилых людей, помогая сохранять память, скорость мышления и общую когнитивную активность. Новые научные данные подтверждают, что такая добровольная помощь не только важна для общества, но и может замедлять возрастные изменения в мозге. Исследователи из Тилбургского университета в Нидерландах провели анализ, чтобы понять, приносит ли уход за внуками реальную пользу здоровью пожилых людей. Ведущий автор работы Флавия Черечес отметила, что многие бабушки и дедушки регулярно присматривают за детьми, и оставался открытым вопрос, насколько это положительно сказывается на их собственном благополучии, особенно в плане когнитивных функций. Ученые поставили цель выяснить, способен ли регулярный уход за внуками замедлить снижение памяти и других умственных способ ...>>

Случайная новость из Архива

Искусственный фотосинтез для получения топлива 07.12.2014

Корпорация Toshiba заявила о разработке высокоэффективного искусственного фотосинтеза - технологии получения углеродных соединений из углекислого газа и воды при участии солнечной энергии. Технология была представлена публике на Международной конференции по искусственному фотосинтезу ICARP2014 в Японии.

Аналогичные технологии широко используются в растительном царстве для производства из тех же компонентов органических веществ (как правило, сахаров). В случае с Toshiba ожидается, что с помощью искусственного фотосинтеза удастся вырабатывать как топливо, так и сырье для химической промышленности.

По заявлениям корпорации, представленная технология искусственного фотосинтеза показывает КПД преобразования энергии солнечного света в углеродное топливо равный 1,5%, что, как говорят в Toshiba, является на нынешний день лучшим показателем среди аналогичных разработок (для получения соединений, которые можно использовать в качестве химического сырья или топлива).

Другие попытки реализации искусственного фотосинтеза, основаны обычно на использовании ультрафиолетовой части спектра солнечного света и отличаются невысоким уровнем эффективности, не подходящим для практического применения.

В разработке Toshiba итогом фотосинтетической реакции воды (H2O) и углекислого газа (CO2) является окись углерода (CO), компонент для получения так называемого "синтез-газа", (смеси CO и H2). Обогатив синтез-газ водородом, можно получить метанол (метиловый спирт).

Производство метанола само по себе не является новостью. Это вещество широко применяется как сырье в современной химической промышленности (в частности, для производства формальдегидных смол и пластиков). Кроме того, существуют работающие на метаноле двигатели внутреннего сгорания и топливные элементы для автомобилей и электроники.

Технология, предложенная японцами, призвана исключить из цепочки производства метанола одно дорогостоящее и энергозатратное звено - производство CO, в котором напрямую используется природный газ (метан). Теоретически, полагают в Toshiba, ее фотосинтез поможет решить проблемы как растущей концентрации углекислого газа в атмосфере, так и возможного исчерпания ископаемого топлива.

В химическом реакторе Toshiba для преобразования воды и углекислоты в метанол применена золотая каталитическая решетка с наноразмерными ячейками. Как замечает компания в своем сообщении, целью ее дальнейших исследований станет повышение эффективности фотосинтеза за счет увеличения активности катализатора. Компания надеется обеспечить практическую реализацию своей технологии в 2020-х гг.

Другие интересные новости:

▪ Дым коромыслом

▪ Самый большой в мире телевизор с жидкокристаллическим экраном

▪ Влияние живых елок на состав воздуха в помещении

▪ Игровая платформа для виртуальных игр Virtuix Omni

▪ Мировой океан установил новый температурный рекорд

Лента новостей науки и техники, новинок электроники

 

Интересные материалы Бесплатной технической библиотеки:

▪ раздел сайта Аудиотехника. Подборка статей

▪ статья Принтеры. История изобретения и производства

▪ статья Кто такой Джозеф Листер? Подробный ответ

▪ статья Наладка автоматики и телемеханики. Типовая инструкция по охране труда

▪ статья Укороченная антенна на диапазон 160 метров. Энциклопедия радиоэлектроники и электротехники

▪ статья Чудо-альбом. Секрет фокуса

Оставьте свой комментарий к этой статье:

Имя:


E-mail (не обязательно):


Комментарий:





Главная страница | Библиотека | Статьи | Карта сайта | Отзывы о сайте

www.diagram.com.ua

www.diagram.com.ua
2000-2026