Menu Home

Бесплатная техническая библиотека для любителей и профессионалов Бесплатная техническая библиотека


Автомат кормления аквариумных рыб. Энциклопедия радиоэлектроники и электротехники

Бесплатная техническая библиотека

Энциклопедия радиоэлектроники и электротехники / Дом, приусадебное хозяйство, хобби

Комментарии к статье Комментарии к статье

Да, любители аквариумный рыбы, заботу о регулярном кормлении ваших подопечных вполне можно поручить описываемому здесь автомату. Он обеспечивает ежедневное одноразовое утреннее кормление рыб.

Электронную часть такого устройства (рис. 1) образуют светочувствительный элемент, функцию которого выполняет фоторезистор R1, триггер Шмитта, собранный на элементах DD1.1 и DD1.2, формирователь импульса нормированной длительности подачи корма, выполненный на элементах DD1.3, DD1.4, и электронный ключ на транзисторах VT1,VT2. Роль дозатора корма выполняет электромагнит, управляемый транзисторным ключом.

Источником питания автомата служит серийно выпускаемое выпрямительное устройство ПМ-1, предназначаемое для питания двигателей электрифицированных самоходных моделей и игрушек, или любой другой сетевой блок питания с выходным напряжением 9 В и током нагрузки до 300 мА. Для повышения стабильности работы автомата его фотоэлемент и микросхема питаются от параметрического стабилизатора напряжения R7, VD2, С2.

В темное время суток, когда сопротивление фотодатчика R1 велико, на входе и выходе триггера Шмитта, а также на входе элемента DD1.3 и выходе элемента DD1.4 действует напряжение низкого уровня. Транзисторы VT1 и VT2 закрыты. В таком "дежурном" режиме устройство потребляет небольшой ток- всего несколько миллиампер. С рассветом сопротивление фоторезистора начинает постепенно уменьшаться, а падение напряжения на резисторе R2 - увеличиваться. Когда это напряжение достигает порога срабатывания триггера, на выходе его элемента DD1.2 появляется сигнал высокого уровня, который через резистор R5 и конденсатор С3 поступает на вход элемента DD1.3. В результате элементы DD1.3 и DD1.4 формирователя импульса нормированной длительности переключаются в противоположное логическое состояние. Теперь сигнал высокого уровня на выходе элемента DD1.4 открывает транзисторы VT1 и VT2, а электромагнит Y1, срабатывая, приводит в действие дозатор корма рыб.

С наступлением вечернего времени суток сопротивление фоторезистора увеличивается, а напряжение на резисторе R2 и, следовательно, на входе триггера уменьшается. При пороговом напряжении триггер переключается в исходное состояние и конденсатор С3 быстро разряжается через диод VD1, резистор R5 и элемент DD1.2. С рассветом весь процесс работы автомата повторяется.

Автомат кормления аквариумных рыб
Рис. 1 (нажмите для увеличения)

Длительность работы дозатора определяется временем зарядки конденсатора С3 через резистор R6. Изменением сопротивления этого резистора регулируют норму высыпаемого в аквариум корма. Чтобы устройство не срабатывало при пропадании и последующем появлении сетевого напряжения, различных световых помех, параллельно резистору R2 подключен конденсатор С1.

Микросхема DD1 может быть К561ЛА7, транзистор VT1 - КТ315А-КТ315И, КТ312А-КГ315В, КТ3102А-КТ3102Е,//Т2 - КТ603А, КТ603Б, КТ608А, КТ608Б, КТ815А-КТ815Г, КТ817А - КТ817Г. Стабилитрон КС156А заменим на КС168А, КС162В, КС168В. Диоды КД522Б - на КД521А, КД102А, КД102Б, КД103А, КД103Б, Д219А, Д220. Конденсатор С1-КМ; С2 и С3-К50-6, К50-16; С4 - К50-16 или К50-6. Подстроечные резисторы R2 и R6 - СП3-3, другие резисторы - ВС, МЛТ. Фоторезистор R1 -СФ2-2, СФ2-5, СФ2-6, СФ2-12, СФ2-16; можно также использовать фототранзистор ФТ-1.

Монтажную плату вместе с фоторезистором размешают в пластмассовом корпусе подходящих размеров. В стенке корпуса против фоторезистора сверлят отверстие. Устройство ставят на подоконнике таким образом, чтобы через отверстие в корпусе на фоторезистор падал рассеянный дневной свет и не попадали прямые солнечные лучи или свет от искусственных источников освещения. Для соединения с блоком питания и дозатором на корпусе можно установить разъемы любой конструкции.

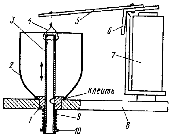
Возможная конструкция дозатора, устанавливаемого на аквариуме, показана на рис. 2. С целью упрощения, функцию электромагнита в нем выполняет несколько переделанное электромагнитное реле РЭН-18 (паспорт РХ4.564.706), которое срабатывает при напряжении 6 В и обеспечивает достаточное усилие для работы дозатора.

Сам дозатор состоит из конусообразного бункера 2 из тонкого металла (можно использовать корпус от аэрозольного препарата), приклеенного к цилиндрическому основанию 1 толщиной 5...7 мм и диаметром 15...20 мм. В основании - сквозное отверстие диаметром 5...7 мм, в котором свободно перемещаете тонкостенная трубка 3 с дозирующим отверстием в стенке. Снизу на трубку надета пружина 9, зафиксированная шайбой 10 и развальцованным (или оплавленным - для пластмассовой трубки) концом. Верхний конец трубки стальной проволочной тягой 4 соединен с рычагом 5, скрепленным с якорем 6 реле 7. Все контактные группы реле удаляют. Бункер и реле жестко скреплены с основанием 8 дозатора.

Сухой корм насыпают в бункер. В это время дозирующее отверстие в трубке, диаметр которого равен длине хода трубки, под действием якоря реле должен перекрываться основанием бункера. При срабатывании реле его якорь через рычаг 5 и тягу 4 смещает трубку вверх, дозирующее отверстие в трубке открывается и через него корм попадает в аквариум.

Налаживают автомат в таком порядке. Движок резистора R2 устанавливают верхнее (по схеме) положение и размещают устройство на выбранном месте. В утренние часы, при небольшом освещении, медленно увеличивая сопротивление этого резистора, добиваются срабатывания дозатора. Далее в бункер засыпают корм и, периодически затеняя фоторезистор, подстроечным резистором R6 регулируют длительность работы дозатора.

Работу устройства в автоматическом режиме контролируют в течение двух-трех недель и проводят дополнительные необходимые регулировки.

Автомат кормления аквариумных рыб
Рис. 2

Автор: И.Нечаев, г.Курск; Публикация: cxem.net

Смотрите другие статьи раздела Дом, приусадебное хозяйство, хобби.

Читайте и пишите полезные комментарии к этой статье.

<< Назад

Последние новости науки и техники, новинки электроники:

Власть является ключевым фактором счастья в отношениях 11.03.2026

Исследования семейных и романтических отношений показывают, что длительное счастье пары зависит не только от привычных факторов, таких как доверие, уважение и преданность, но и от более тонких психологических аспектов. Современные ученые ищут закономерности, которые отличают действительно счастливые пары от остальных, чтобы понять, какие механизмы поддерживают гармонию в отношениях. Группа исследователей из Университета Мартина Лютера в Галле-Виттенберге и Бамбергского университета провела опрос среди 181 пары, которые состояли в совместных отношениях более восьми лет и прожили вместе хотя бы месяц. Участники заполняли анкету, описывая различные аспекты своих отношений, включая распределение обязанностей, эмоциональную поддержку и степень вовлеченности в совместные решения. Анализ данных показал интересный паттерн: пары, где оба партнера ощущали высокий уровень личной власти, оказывались наиболее счастливыми и удовлетворенными. В данном контексте под властью понимается способност ...>>

Защищенная колонка-повербанк Anker Soundcore Boom Go 3i 11.03.2026

Компания Anker представила новую модель линейки Soundcore - колонку Soundcore Boom Go 3i, ориентированную на активное использование на улице. Новинка отличается высокой степенью защиты: корпус соответствует стандарту IP68, что обеспечивает водо- и пыленепроницаемость, а ударопрочный дизайн выдерживает падение с высоты до одного метра. За качество звука отвечает 15-ваттный драйвер, обеспечивающий пик громкости до 92 дБ, а технология BassUp 2.0 усиливает низкие частоты, делая звучание более насыщенным. Колонка обладает автономностью до 24 часов, а LED-индикатор позволяет контролировать уровень заряда батареи. Кроме того, Soundcore Boom Go 3i может выполнять функцию павербанка: согласно внутренним тестам, устройство способно зарядить iPhone 17 с нуля до 40% за один час, что делает его полезным аксессуаром в походах и поездках. Среди функциональных особенностей модели стоит выделить технологию Auracast, которая улучшает подключение и позволяет создавать стереопару из двух колонок ...>>

Раннее воздержание от алкоголя перестраивает мозг и иммунитет 10.03.2026

Алкогольная зависимость - хроническое расстройство с компульсивным употреблением спиртного, которое влияет не только на поведение, но и на функционирование мозга и иммунной системы. Недавние исследования показали, что даже на ранних этапах воздержания организм начинает перестраиваться, открывая новые возможности для терапии зависимости. Ученые сосредоточились на пациентах, находящихся в первые недели абстиненции, и зафиксировали значительные изменения в мозговой активности. С помощью функциональной магнитно-резонансной томографии они выявили перестройку сетей нейронных связей, отвечающих за контроль импульсов и принятие решений. Эти изменения могут быть ключевыми для восстановления самоконтроля и снижения риска рецидива. Одновременно с нейронной перестройкой исследователи наблюдали колебания иммунной системы. В крови повышался уровень цитокинов - сигнальных белков, регулирующих воспалительные процессы. Эти данные свидетельствуют о существовании нейроиммунного взаимодействия, при ...>>

Случайная новость из Архива

Лошади распознают страх человека из-за запаха пота 25.01.2026

Взаимодействие человека и животных далеко не всегда ограничивается жестами, голосом или зрительным контактом. Все больше исследований показывает, что важную роль в межвидовой коммуникации играют химические сигналы - летучие вещества, которые организм выделяет в разных эмоциональных состояниях. Новая работа французских ученых демонстрирует, что лошади способны распознавать страх человека, ориентируясь исключительно на запах его пота.

Исследование было проведено группой специалистов из Национального института сельского хозяйства, питания и окружающей среды INRAE во Франции. Ученые сосредоточились на так называемых chemosignals - химических сигналах, сопровождающих эмоции. Если способность собак улавливать человеческий стресс уже хорошо известна, то реакции лошадей до сих пор оставались менее изученными, несмотря на их тесное и давнее сосуществование с человеком.

Для эксперимента исследователи привлекли 30 добровольцев, у которых собирали образцы пота в двух разных эмоциональных состояниях. Испытуемые смотрели фрагменты фильма ужасов Sinister, вызывающие страх, а также веселые видеоролики, провоцирующие положительные эмоции. Таким образом были получены образцы, связанные со страхом и радостью, а также нейтральные контрольные материалы.

Затем эти образцы использовали в тестах с участием 43 валлийских кобыл. Животных разделили на три группы: одной предлагали запахи, связанные со страхом, другой - с радостью, а третьей - нейтральные тампоны. Каждая лошадь носила специальный намордник, внутри которого размещался соответствующий образец, что позволяло стандартизировать условия и исключить случайные факторы.

Результаты показали четкую разницу в поведении животных. Лошади, вдыхавшие запах человеческого страха, демонстрировали повышенную тревожность, старались избегать контакта с человеком, дольше и осторожнее исследовали новые предметы, а также имели более высокую частоту сердечных сокращений. При этом визуальные или поведенческие подсказки со стороны людей были полностью исключены, что указывает на решающую роль именно запаха.

Авторы исследования подчеркивают, что лошади не видели эмоциональных проявлений человека и не могли ориентироваться на выражение лица или позу. Это, по их словам, подтверждает, что реакция животных была вызвана исключительно химическими сигналами, содержащимися в поте, и не зависела от других каналов восприятия.

Полученные данные имеют важное практическое значение для благополучия лошадей и качества работы с ними. Ученые отмечают, что эмоциональное состояние наездников, тренеров или конюхов может неосознанно передаваться животным через запах, даже если человек старается внешне сохранять спокойствие. Это особенно важно учитывать в контексте обучения, ухода и ветеринарных процедур.

Другие интересные новости:

▪ Ректальный джойстик

▪ Польза от детских занятий музыкой

▪ Разработка стандарта связи 6G

▪ Сверхтонкие линзы из фрактального метаматериала

▪ Вращающийся телевизор

Лента новостей науки и техники, новинок электроники

 

Интересные материалы Бесплатной технической библиотеки:

▪ раздел сайта Усилители низкой частоты. Подборка статей

▪ статья Пирогов Николай Иванович. Знаменитые афоризмы

▪ статья Что такое озоновая дыра? Подробный ответ

▪ статья Микроэлектродрель. Домашняя мастерская

▪ статья Цемент для прикрепления ножей и вилок к ручкам. Простые рецепты и советы

▪ статья Конвертор для Си-Би радиостанции. Энциклопедия радиоэлектроники и электротехники

Оставьте свой комментарий к этой статье:

Имя:


E-mail (не обязательно):


Комментарий:





Главная страница | Библиотека | Статьи | Карта сайта | Отзывы о сайте

www.diagram.com.ua

www.diagram.com.ua
2000-2026