Menu Home

Бесплатная техническая библиотека для любителей и профессионалов Бесплатная техническая библиотека


Лазерная указка в исполнительном устройстве. Энциклопедия радиоэлектроники и электротехники

Бесплатная техническая библиотека

Энциклопедия радиоэлектроники и электротехники / Электроника в быту

Комментарии к статье Комментарии к статье

Лазерные указки, появившиеся в последнее время в продаже, предназначены, прежде всего, для преподавателей учебных заведений, чтобы пользоваться ими при объяснениях графических материалов. Однако такая указка может найти применение и в быту, скажем, для дистанционного управления работой электро- и радиоприборов. О том, как это осуществить, рассказывается в публикуемой статье. Лазерная указка, несмотря его внешнюю простоту, сравнительно сложное изделие. Она содержит полупроводниковый лазер, автоматику поддержания определенного тока протекающего через него, оптическую систему, батарею гальванических элементов напряжением 3...4,5 В, кнопку включения.

Потребляемый лазером ток составляет 30... 50 мА. Хотя излучаемая указкой мощность (длина волны 630...650 нм) не превышает 5 мВт, за счет концентрации ее в узконаправленном луче потери на распространение невелики. Излучение лазера можно зафиксировать на большом расстоянии. Однако категорически не допускается направлять луч указки на глаза - это опасно. Указка может работать в охранных устройствах, светотелефонах, самодельных игрушках, устройствах отпугивания птиц и т. д. Пока же ограничимся рассказом о постройке автомата, способного по сигналу указки включать и выключать бытовые электро- и радиоприборы. Сама указка при этом никакой переделки не требует.

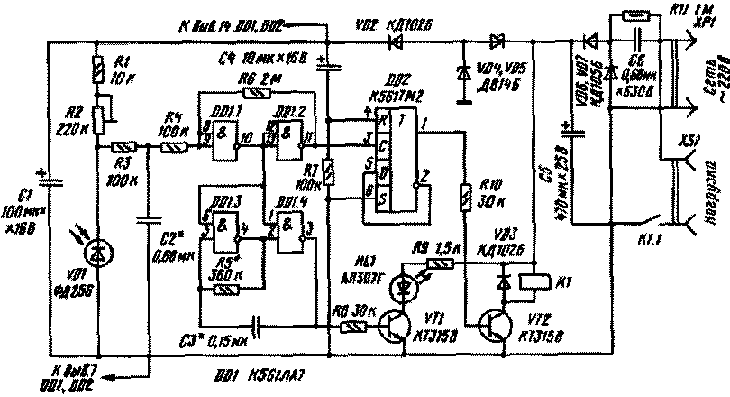
Лазерная указка в исполнительном устройстве. Схема
Рис. 1 (нажмите для увеличения)

Автомат (рис. 1) содержит фотоприемник на фотодиоде VD1, компаратор напряжения на логических элементах DD1.1, DD1.2, генератор импульсов на элементах DD1.3, DD1.4, D-триггер DD2, два электронных ключа на транзисторах VT1, VT2, исполнительный элемент - электромагнитное реле К1 и блок питания. Блок питания выполнен по бестрансформаторной схеме с гасящим конденсатором Сб. Переменное напряжение выпрямляется диодами VD6, VD7, сглаживается конденсатором С5 и стабилизируется стабилитронами VD4, VD5. Питание на микросхемы поступает со стабилитрона VD4 через диод VD2 и сглаживающий конденсатор С 1.

Работает устройство так. В начальный момент времени, после подключения устройства к сети, высокий логический уровень через цепочку C4R7 поступает на вход R триггера и обнуляет его. На выходе триггера - низкий логический уровень, ключ на транзисторе VT2 закрыт, реле обесточено, нагрузка отключена от сети. На входе и выходе компаратора будет высокий логический уровень, а на входах элементов DD1.3, DD1.4 - низкий, генератор не работает. При этом на выходе элемента DD1.4 устанавливается высокий уровень, транзистор VT1 открывается и включает светодиод HL1.

Как происходит переключение? Фотодиод VD1 освещают лазерным лучом, и напряжение на нем значительно уменьшается. Компаратор после разрядки конденсатора С2 срабатывает, и на его выходе появляется низкий уровень. На выводы элементов DD1.3, DD1.4 поступает высокий уровень, генератор начинает работать, светодиод мигает, свидетельствуя об освещении фотодиода. Если теперь выключить лазер или убрать луч в сторону от фотодиода, то напряжение на нем увеличится, компаратор установится в положение с высоким уровнем на выходе, и триггер переключится. На его выходе появится высокий логический уровень, транзистор VT2 откроется, реле сработает и замыкающимися контактами К1.1 подаст на нагрузку сетевое напряжение. В случае повторного кратковременного освещения фотодиода (пока не замигает светодиод) устройство переключится в исходное состояние и нагрузка обесточится.

Благодаря использованию реле, к устройству допустимо подключать самую разнообразную радиоэлектронную аппаратуру: радиоприемники, телевизоры, видеомагнитофоны и т.д. с любыми блоками питания, а также электроприборы с электродвигателями, например вентиляторы.

Лазерная указка в исполнительном устройстве. Плата
Рис. 2

Все детали устройства, кроме реле и диода VD3, размещают на печатной плате (рис. 2) из одностороннего фольгированного стеклотекстолита. Она рассчитана на использование транзисторов КТ315А-КТ315Е, КТ312А-КТ312В, КТ3102А-КТ3102Д, микросхем серий К 176, К561, 564, любого светодиода из серии АЛ307 (желательно в пластмассовом корпусе). Диоды VD2, VD3 - любые выпрямительные, VD6, VD7 - КД102Б или аналогичные маломощные с максимально допустимым обратным напряжением не менее 400 В и током не менее 100 мА, стабилитроны - на напряжение стабилизации 8...10 В. Полярные конденсаторы - серий К50, К52, С6 - К73, остальные - КМ, КЛС, К 10. Подстроечный резистор R2 - СПЗ-19, постоянные - МЛТ, С2-33. Реле следует подобрать с напряжением срабатывания 12... 15 В при токе не более 30 мА, например, РЭС9 (паспорт РС4.524.200, РС4.524.201), его контакты должны выдерживать напряжение сети и ток, потребляемый нагрузкой.

Несколько слов о реле РЭС9. По справочным данным его контакты рассчитаны на напряжение 115 В. Однако многолетняя практика использования реле в различных устройствах показала надежную работу контактов при сетевом напряжении 220 В. Конечно, можно остановить выбор на реле типов РКН, МКУ-48, но габариты конструкции значительно возрастут.

Плату вместе с реле размещают в корпусе подходящих габаритов, выполненном из изоляционного материала. Фотодиод и светодиод располагают в отверстиях корпуса рядом, чтобы светодиод служил ориентиром и своими вспышками сигнализировал о попадании лазерного луча на фотодиод. Чтобы избежать помех и сбоев в работе, нужно так установить автомат, чтобы фотодиод был защищен от попадания на него света от осветительных приборов. Налаживание устройства сводится к установке его чувствительности (подстроечным резистором R2), скорости реагирования на освещение лазером (подбором конденсатора С2), частоты мигания светодиода (грубо - подбором конденсатора C3, плавно - резистора R5).

Автомат можно несколько упростить, исключив генератор. При этом левый по схеме вывод резистора R8 надо отсоединить от вывода 3 микросхемы DD1 и соединить с выводом 11. Элементы R5, C3 удаляют, соединение между выводами 2 и 4 DD1 убирают, а неиспользованные входы элементов DD1.3, DD1.4 соединяют с общим проводом. В этом случае при попадании лучом лазера на фотодиод и срабатывании компаратора, светодиод будет гаснуть.

Лазерная указка в исполнительном устройстве
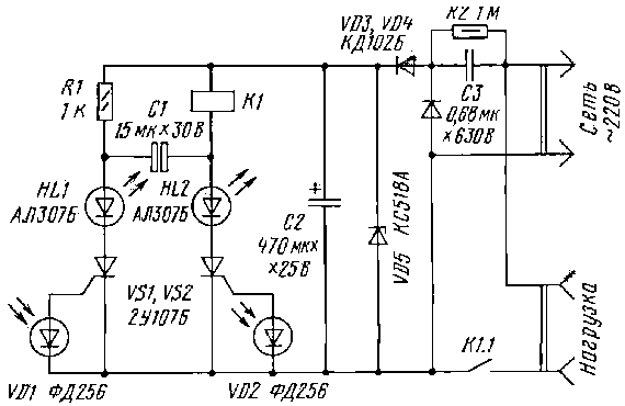
Рис. 3

Возможен вариант более простого автомата (рис. 3), если в нем использовать чувствительные тринисторы 2У107А-2У107Е, которые открываются при небольшом (менее вольта) напряжении на управляющем электроде и малом (несколько микроампер) токе в его цепи. Его основой является триггер на тринисторах VS1.VS2, который питается, как и в предыдущей конструкции, от блока с гасящим конденсатором. Разберем работу автомата. После подключения его к сети оба тринистора будут закрыты, а реле обесточено.

Если осветить фотодиод VD2 лазерным лучом, то за счет фотоэффекта на нем появится напряжение, которое поступит на управляющий электрод тринистора VS2, и он откроется. Реле сработает и включит нагрузку в сеть - об этом просигнализирует загоревшийся светодиод HL2. Начнет заряжаться конденсатор С1 (минус на правом по схеме выводе). Чтобы отключить нагрузку, освещают фотодиод VD1. При этом тринистор VS1 открывается, включая светодиод HL1. Тринистор VS2 закрывается, поскольку на его анод кратковременно поступает отрицательное напряжение с конденсатора С1. Реле обесточивается, светодиод HL2 гаснет, нагрузка отключается от сети.

Если теперь снова осветить фотодиод VD2, откроется тринистор VS2, a VS1 закроется, поскольку на его анод поступит отрицательное напряжение с конденсатора С1. На нагрузку поступит напряжение. Эксперименты показали, что в качестве фотодиода в этом автомате неплохо работают светодиоды АЛ360А, АЛ360Б, поскольку их основой являются излучающие диоды ИК диапазона. Кроме того, они снабжены фокусирующим отражателем, что повышает их чувствительность к лазерному излучению указки.

Лазерная указка в исполнительном устройстве. Конструкция 
Рис. 4

Детали автомата рассчитаны для работы с реле РЭС9 (паспорт РС4.524.200). Их можно разместить в корпусе небольших габаритов (рис. 4), изготовленном из изоляционного материала. На передней стенке корпуса сверлят отверстия под светодиоды и фотодиоды, на задней устанавливают сетевую розетку.

При налаживании автомата предварительно подбирают конденсатор C3 и стабилитрон. Напряжение стабилизации стабилитрона должно быть примерно на 4...5 В больше напряжения срабатывания реле, а емкость конденсатора такой, чтобы обеспечивался ток через реле на 15...20 мА больше тока его срабатывания. Недостаток автомата - низкая чувствительность, ограничивающая дальность управления им. При налаживании автомата следует соблюдать меры электробезопасности, поскольку его детали гальванически связаны с сетью. Все перепайки нужно делать только при отключенном от сети автомате.

Автор: И. Нечаев, г. Курск; Публикация: cxem.net

Смотрите другие статьи раздела Электроника в быту.

Читайте и пишите полезные комментарии к этой статье.

<< Назад

Последние новости науки и техники, новинки электроники:

Лабораторная модель прогнозирования землетрясений 30.11.2025

Предсказание землетрясений остается одной из самых сложных задач геофизики. Несмотря на развитие сейсмологии, ученые все еще не могут точно определить момент начала разрушительного движения разломов. Недавние эксперименты американских исследователей открывают новые горизонты: впервые удалось наблюдать микроскопические изменения в контактной зоне разломов, которые предшествуют землетрясению. Группа под руководством Сильвена Барбота обнаружила, что "реальная площадь контакта" - участки, где поверхности разлома действительно соприкасаются - изменяется за миллисекунды до высвобождения накопленной энергии. "Мы открыли окно в сердце механики землетрясений", - отмечает Барбот. Эти изменения позволяют фиксировать этапы зарождения сейсмического события еще до появления традиционных сейсмических волн. Для наблюдений ученые использовали прозрачные акриловые материалы, через которые можно было отслеживать световые изменения в зоне контакта. В ходе искусственного моделирования примерно 30% ко ...>>

Музыка как естественный анальгетик 30.11.2025

Ученые все активнее исследуют немедикаментозные способы облегчения боли. Одним из перспективных направлений становится использование музыки, которая способна воздействовать на эмоциональное состояние и когнитивное восприятие боли. Новое исследование международной группы специалистов демонстрирует, что даже кратковременное прослушивание любимых композиций может значительно снижать болевые ощущения у пациентов с острой болью в спине. В эксперименте участвовали пациенты, обратившиеся за помощью в отделение неотложной помощи с выраженной болью в спине. Им предлагалось на протяжении десяти минут слушать свои любимые музыкальные треки. Уже после этой короткой сессии врачи фиксировали заметное уменьшение интенсивности боли как в состоянии покоя, так и при движениях. Авторы исследования подчеркивают, что музыка не устраняет саму причину боли. Тем не менее, она воздействует на эмоциональный фон пациента, снижает уровень тревожности и отвлекает внимание, что в сумме приводит к субъективном ...>>

Алкоголь может привести к слобоумию 29.11.2025

Проблема влияния алкоголя на стареющий мозг давно вызывает интерес как у врачей, так и у исследователей когнитивного старения. В последние годы стало очевидно, что границы "безопасного" употребления спиртного размываются, и новое крупное исследование, проведенное международной группой ученых, вновь указывает на это. Работы Оксфордского университета, выполненные совместно с исследователями из Йельского и Кембриджского университетов, показывают: даже небольшие дозы алкоголя способны ускорять когнитивный спад. Команда проанализировала данные более чем 500 тысяч участников из британского биобанка и американской Программы миллионов ветеранов. Дополнительно был выполнен метаанализ сорока пяти исследований, в общей сложности включавших сведения о 2,4 миллиона человек. Такой масштаб позволил оценить не только прямую связь между употреблением спиртного и развитием деменции, но и влияние генетической предрасположенности. Один из наиболее тревожных результатов касается людей с повышенным ге ...>>

Случайная новость из Архива

Электронный язык мгновенно различает остроту пищи 04.11.2025

Определить, насколько острым окажется соус или перец, бывает сложно даже для опытных дегустаторов. Внешний вид продукта не всегда отражает его жгучие свойства, а лабораторные методы требуют времени и сложного оборудования. Чтобы устранить эту неопределенность, группа ученых создала искусственный язык, способный точно измерять степень остроты продуктов. Разработка основана на взаимодействии веществ, сходных с белками молока, которые нейтрализуют капсаицин - активный компонент перца чили.

Основой для вдохновения стали казеиновые белки, содержащиеся в молоке и связывающие капсаицин, благодаря чему ощущение жжения уменьшается. Исследователи использовали этот принцип и включили сухое молоко в структуру своего гелевого сенсора. Получившийся материал способен определять капсаицин и другие раздражающие соединения, например те, что придают жгучесть чесноку, имбирю или хрену. Описание эксперимента опубликовано в журнале ACS Sensors.

Современные методы анализа вкусовых свойств - будь то определение сладости, кислотности или остроты - обычно требуют участия людей или дорогостоящих приборов. Искусственные языки уже применяются для распознавания вкусов вроде сладкого или умами, однако измерить жгучесть было особенно трудно. Команда исследователей решила эту задачу, создав электрохимический гель, способный улавливать изменения электрического тока при связывании молочного белка с капсаицином.

Чтобы придать материалу форму и чувствительность, ученые смешали акриловую кислоту, хлорид холина и обезжиренное сухое молоко, после чего обработали полученную массу ультрафиолетом. Так возникла гибкая гелевая пленка, напоминающая язык по форме. Когда на ее поверхность нанесли капсаицин, через десять секунд сила электрического тока снизилась - что подтвердило успешное взаимодействие сенсора с раздражающим веществом.

Эксперименты показали, что искусственный язык способен реагировать даже на концентрации капсаицина, недоступные человеческому восприятию, и продолжает фиксировать изменения при уровнях, превышающих болевой порог человека. Более того, устройство одинаково точно определяло жгучие вещества в перце, чесноке, черном перце, луке и имбире - ингредиентах, часто используемых для приготовления острых блюд и соусов.

Чтобы проверить практическую надежность технологии, исследователи протестировали восемь сортов перца и восемь готовых острых продуктов, включая соусы. Одновременно с работой сенсора команда дегустаторов оценивала образцы на вкус. Сравнение показало, что результаты искусственного языка совпадали с субъективными ощущениями людей, но при этом система работала значительно быстрее и без риска для здоровья участников.

Руководители проекта отмечают, что искусственный язык может стать эффективным инструментом для пищевой промышленности и медицины. Он позволит стандартизировать уровень остроты в продуктах, исключая человеческий фактор, а также применяться при разработке новых рецептур, где важно точно регулировать интенсивность жгучести.

Другие интересные новости:

▪ Энергия падающей капли воды

▪ Слон не глупее обезьяны

▪ Эффективное использование опилок

▪ Нанороботы для лечения астронавтов

▪ Состояние сверхтвердости получено в экспериментальных условиях

Лента новостей науки и техники, новинок электроники

 

Интересные материалы Бесплатной технической библиотеки:

▪ раздел сайта Регуляторы тембра, громкости. Подборка статей

▪ статья ВИЧ-инфекция (СПИД). Основы безопасной жизнедеятельности

▪ статья Сколько узников вышло на свободу после взятия Бастилии? Подробный ответ

▪ статья Хранение и эксплуатация газовых баллонов. Типовая инструкция по охране труда

▪ статья Компактные люминесцентные лампы. Дополнительные возможности. Энциклопедия радиоэлектроники и электротехники

▪ статья SSB трансивер на 80 м. Энциклопедия радиоэлектроники и электротехники

Оставьте свой комментарий к этой статье:

Имя:


E-mail (не обязательно):


Комментарий:





Главная страница | Библиотека | Статьи | Карта сайта | Отзывы о сайте

www.diagram.com.ua

www.diagram.com.ua
2000-2025