Menu Home

Бесплатная техническая библиотека для любителей и профессионалов Бесплатная техническая библиотека


Стабилизаторы температуры в бытовых устройствах. Энциклопедия радиоэлектроники и электротехники

Бесплатная техническая библиотека

Энциклопедия радиоэлектроники и электротехники / Регуляторы мощности, термометры, термостабилизаторы

Комментарии к статье Комментарии к статье

Публикуемая статья посвящена выбору и практике реализации электронных автоматов, предназначенных для поддержания необходимой температуры в различных бытовых устройствах. Рекомендации автора могут быть полезны многим радиолюбителям - конструкторам.

Область применения стабилизаторов температуры в устройствах, используемых в домашнем хозяйстве, довольно широка. Это, например, хранилища овощей, аквариумы, малогабаритные инкубаторы, камеры тепловой обработки пчел, теплицы и многое другое. Конструированию термостабилизаторов различного назначения, описанию их работы посвящена обширная литература. И тем не менее эта тема, на мой взгляд, остается актуальной, особенно для тех, кто решил самостоятельно построить такие устройства. Учитывая определенные трудности, связанные с приобретением ряда деталей, и различные условия эксплуатации стабилизаторов, хотелось бы перед описанием конкретных конструкций остановиться на некоторых общих вопросах.

Прежде всего, приступая к конструированию термостабилизатора, необходимо определить мощность нагревателя, обеспечивающего требуемую температуру в заданном объеме. Это - отдельная, подчас сложная задача, требующая теплотехнических расчетов. Для ориентировочных же расчетов можно воспользоваться простыми формулами. Так, например, для защиты от замерзания продуктов в вашем овощехранилище при температуре наружного воздуха до -30°С в ящике, выполненном из досок или ДСП толщиной 20 мм, со слоем пенопласта толщиной 25...30 мм, требуемая мощность нагревателя должна быть такой, как указано в [1]: Р = V2/3, где Р - мощность нагревателя, выраженная в ваттах; V- внутренний объем ящика в литрах.

Для лоджии, каркасной теплицы с покрытием из стекла или полиэтилена требуемую суммарную мощность нагревателя определяют по следующей формуле [2]:

Р = 1,23·Sп·Kт (tвн - tнap),

где Р - мощность нагревателя в ваттах; Sп - суммарная площадь поверхности охлаждения (стены, пол, потолок) в м2; Кт - коэффициент теплопередачи в Вт/м2 °С; tвн и tнар - соответственно внутренняя и наружная температура в градусах. Значение коэффициента Кт может быть от Кт = 3,3 (для двойного остекления) до Кт = 7,5 (для однослойной полиэтиленовой пленки).

Любой стабилизатор температуры включает в себя чувствительный элемент - датчик температуры и усилитель сигнала датчика; устройство сравнения сигналов или компаратор; электронный ключ, выполняющий функции исполнительного устройства; блок питания и нагревательный элемент.

В качестве датчика температуры обычно используют терморезисторы серий KMT, MMT, СТ, температурный коэффициент сопротивления (ТКС) которых отрицательный - 2...7 % / град. - и изменяется в зависимости от температуры, а допуск на значение сопротивления терморезистора составляет 10...30%. В любительских термостабилизаторах терморезисторы применяют наиболее часто из-за большого ТКС. Однако их существенная нелинейность и большие допуски требуют индивидуальной регулировки конструируемых термостабилизаторов, градуировки шкал, затрудняет замену в случае ремонта.

Расчет параметров моста с полупроводниковым терморезистором, при повышенных требованиях к точности, изложен, например, в [3, 4].

Наилучшими метрологическими характеристиками обладают термодатчики серии ТСМ - медные. Их ТКС - положительный, но составляет всего 0,3 % / град.= = 1/293°, причем линейность характеристики обеспечивается в широком диапазоне температур. Они относятся к приборам высокого класса точности (0,1...0,5 %) и могут работать даже в агрессивных средах. Недостаток ТСМ - относительно большая длина (около 300 мм) и высокая стоимость.

Стабилизаторы температуры в бытовых устройствах

Менее известен как термодатчик кремниевый диод, отрицательный коэффициент преобразования которого равен 2 мВ/град. [5, 6]. Практически любой маломощный кремниевый диод обеспечит линейное преобразование температуры в напряжение.

Любой из перечисленных здесь термопреобразователей обычно включают в одно из плеч резистивного моста, источник питания которого стабилизирован. Выходной сигнал моста подают на вход устройства сравнения или, если это необходимо, предварительно усиливают. Для сравнения сигналов удобнее всего использовать компаратор, представляющий собой операционный усилитель (ОУ) с положительной обратной связью. Функцию сравнения могут выполнять любые ОУ серий К140, К553 или специально разработанные компараторы серии К554. Наиболее предпочтителен компаратор К554САЗ, обеспечивающий выходной ток до 50 мА, что позволяет без дополнительного усилителя непосредственно включать электромагнитное реле исполнительного механизма.

Выбор того или иного типа реле определяется двумя факторами - значением тока срабатывания и допустимыми напряжением и током его коммутирующих контактов. При напряжении сети 220 В контакты реле должны надежно коммутировать ток нагревателя. Наиболее распространенные маломощные реле - РЭС8, РЭН18 [7]. Обмотки реле РЭН20 и МКУ-48 (паспорт 4.509.146) рассчитаны на работу непосредственно от сети переменного напряжения 220 В при допустимом токе контактов 5 А, что на практике позволяет использовать их в большинстве случаев. При параллельном соединении двух групп контактов эти реле обеспечивают включение нагревателей общей мощностью до 2,2 кВт. Кроме электромагнитного реле, элементом исполнительного устройства, включающего нагреватель, может быть тринистор или симистор.

Эти приборы позволяют коммутировать ток нагревателей до 80 А. Отсутствие контактов делает их применение предпочтительным. Правда, сама конструкция термостабилизатора становится более сложной, чем с электромагнитным реле в исполнительном звене.

Блок питания термостабилизатора - это, как правило, трансформатор, понижающий напряжение сети до 13...16 В, с одним - двумя выпрямителями и простейшими стабилизаторами выпрямленного напряжения. Мощность сетевого трансформатора обычно не превышает 10...15 Вт. Можно использовать унифицированные трансформаторы серии ТПП, имеющие нужный набор вторичных обмоток [8].

В качестве источника тепла, особенно сточки зрения электробезопасности, лучше всего использовать трубчатые электронагреватели - ТЭН; пригодны, конечно, и обычные лампы накаливания, рассчитанные на напряжение сети.

Сегодня существует немало схемотехнических решений построения термостабилизаторов, в которых перечисленные элементы сочетаются в различных комбинациях. Для ориентировки в выборе конструируемого стабилизатора температуры можно воспользоваться предлагаемой здесь таблицей, в которой приведены основные технические данные некоторых термостабилизаторов, опубликованных ранее в "Радио".

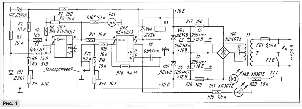
Одновременно предлагаю для повторения термостабилизатор широкого применения (рис. 1), в котором датчиком температуры служит кремниевый диод или медный резистор. Другое отличие этого варианта электронного автомата - отсутствие в нем транзисторов и наличие микроамперметра для измерения температуры.

Стабилизаторы температуры в бытовых устройствах
(нажмите для увеличения)

Как и большая часть термостабилизаторов, указанных в таблице, он состоит из четырех узлов: чувствительного элемента, компаратора, исполнительного устройства и сетевого блока питания. Датчик температуры, функцию которого выполняет диод VD1, включен в измерительный мост с резисторами R1 - R4 в трех других его плечах. Сигнал с выхода моста поступает (через резисторы R5 и R6) на оба входа операционного усилителя DA1, охваченного отрицательной обратной связью (цепь R8R9), а с его выхода - на инвертирующий вход компаратора DA2. Необходимую температуру в закрытом объеме устанавливают переменным резистором R12, снабженным соответствующей шкалой.

Функцию исполнительного устройства выполняет электромагнитное реле К1. Срабатывая по выходному сигналу компаратора, контакты К1.1 реле включают светодиод HL1, сигнализирующий о включении нагрева, а контакты К1.2 - нагреватель (Rн).

Блок питания образуют трансформатор Т1, выпрямительный мост VD6, сглаживающие фильтры C5R17 и C6R18. Стабилитроны VD4 и VD5 обеспечивают микросхемам устройства питающее двуполярное напряжение ±10 В.

Для визуального контроля температуры воздуха в обогреваемом объеме в устройство введен микроамперметр РА1 на ток полного отклонения стрелки 100 мкА (М4248), шкала которого проградуирова-на в градусах. Если электронная часть устройства будет находиться вне обогреваемого объема, то диодный датчик (VD1) соединяют с резистивным мостом экранированным проводом.

При указанных на рис. 1 микросхемах, номиналах резисторов и других деталей устройство обеспечивает стабилизацию температуры в диапазоне 0...20°С. Для стабилизации температуры в пределах +36... +45°С, необходимой, например, для инкубатора, номинальное сопротивление резистора R13 должно быть 2 кОм.

Все постоянные резисторы, используемые в термостабилизаторе, - МЛТ, а переменные - СП5-2 (R4, R9 и R14), ППЗ-40 или ППБ (R12). Конденсаторы C3 - С6 - оксидные К50-6, К50-16 или К50-29, остальные - КМ-5 или КМ-6. Диодный мост КЦ407А заменим на сборку КЦ402 с любым буквенным индексом. Стабилитрон VD2 - на напряжение стабилизации 8...8,5 В, a VD4 и VD5 - на 9,5...10,5 В.

Реле К1 - РЭН18 (паспорт РХ4.564.509) или МКУ-48 (паспорт 4.500.232).

Датчик температуры VD1 - любой кремниевый. Лучше, однако, в металлическом корпусе, например, серии Д207 или Д226 с любым буквенным индексом, так как такой диод обладает меньшей тепловой инерцией.

Мощность сетевого трансформатора Т1 блока питания - примерно 5 Вт. Его вторичная обмотка должна обеспечивать переменное напряжение 2x12 В при токе нагрузки 80...100 мА.

Термостабилизатор смонтирован в корпусе размерами 170x90x60 мм. Большая часть его деталей размещена на печатной плате размерами 100x85 мм (рис. 2), выполненной из одностороннего фольгированного стеклотекстолита. Трансформатор Т1 и реле К1 смонтированы отдельно, а микроамперметр РА1, переменный резистор R12 и светодиоды HL1 и HL2 вынесены на лицевую панель корпуса.

Стабилизаторы температуры в бытовых устройствах

Настройку прибора лучше проводить в такой последовательности. Диод VD1 поместить в среду с температурой, соответствующей нижнему пределу регулирования (0°С), и сбалансировать мост резистором R4. При этом показания микроамперметра должны быть нулевыми. Затем температуру диода повысить до максимального значения (20°С) и резистором R9 добиться максимального отклонения стрелки микроамперметра до 100 мкА.

Далее необходимо отрегулировать работу компаратора DA2. Для этого движок резистора R12 устанавливают в крайнее верхнее по схеме положение, а диод VD1 нагревают до максимальной температуры (20°С). Подстроечным резистором R14 добиваются переключения компаратора в другое состояние, срабатывания реле К1 и загорания светодиода HL2. При этом деление на шкале резистора R12 будет соответствовать температуре 20°С. Затем, не изменяя сопротивления резистора R14, градуируют шкалу резистора R12 в нескольких точках, добиваясь срабатывания компаратора при различных значениях температуры диода-датчика VD1.

Если в качестве датчика температуры используется медный терморезистор, ТКЕ которого положительный, его в измерительный мост включают на место резисторов R3 и R4, а эти резисторы - на место диода VD1. Порядок подгонки нижнего и верхнего пределов диапазона температуры остается таким же.

Если электронная часть термостабилизатора находится вне обогреваемого объема, стабилитрон VD2 для повышения точности работы устройства следует установить термокомпенсированный, например, серии Д818 или КС191.

Литература

  1. Баранов Н. Простой термостабилизатор. - Радио, 1988, № 8, с. 29, 30.
  2. Кислое В. В. Оборудование теплиц для подсобных и личных хозяйств. - М.: Энергоатомиздат, 1992, с. 96.
  3. Ткачев Ф. Расчет термочувствительного моста. - Радио, 1995, № 8, с. 46.
  4. Алешин П. Линеаризация терморезис-торного моста. - Радио, 1997, № 11, с. 59.
  5. Цибин В. Цифровой термометр. - Радио, 1996, №10, с. 41.
  6. Бирюков С. Простой цифровой термометр . - Радио, 1997, № 1, с. 40-42.
  7. Игловский И. Г., Владимиров Г. В. Слаботочные электрические реле. - М.: КУБК-а, 1996.
  8. Шульгин Г. Унифицированные трансформаторы. - Радио, 1982, № 1, с. 59, 60.
  9. Габов С. Стабилизатор температуры в домашнем "овощехранилище". - Радио, 1993, № 9, с. 28, 29.
  10. Мерзликин А., Пахомов Ю. Мощный термостабилизатор. - Радио, 1988, № 2. с. 52.53.
  11. Маяцкий Ю. Простой термостабилизатор. - Радио, 1991, № 7, с. 32 - 34.
  12. Цыгикало Г. Высокоточный термостабилизатор. - Радио, 1993, № 4, с. 35 - 37.

Автор: Ю.Андреев, г.Санкт-Петербург

Смотрите другие статьи раздела Регуляторы мощности, термометры, термостабилизаторы.

Читайте и пишите полезные комментарии к этой статье.

<< Назад

Последние новости науки и техники, новинки электроники:

Хорошо управляемые луга могут компенсировать выбросы от скота 15.02.2026

Животноводство, особенно разведение крупного рогатого скота, часто обвиняют в значительном вкладе в глобальное потепление из-за мощного парникового газа - метана, который выделяется при пищеварении у жвачных животных. Это вызывает острые политические споры и призывы к сокращению потребления мяса. Однако ученые напоминают, что полная картина климатического воздействия отрасли не ограничивается только выбросами от животных: огромную роль играет окружающая экосистема - пастбища, почва и растительность, которые способны активно поглощать углекислый газ из атмосферы. Исследователи из Университета Небраски-Линкольна решили глубже изучить этот баланс. Группа под руководством профессора Галена Эриксона сосредоточилась на том, как правильно организованные пастбища накапливают углерод в растениях и грунте благодаря естественным процессам, стимулируемым выпасом скота. Ученые подчеркивают, что при достаточном уровне осадков и грамотном управлении такие луга превращаются в мощные природные погло ...>>

NASA тестирует инновационную технологию крыла 15.02.2026

Коммерческая авиация ежегодно расходует колоссальные объемы керосина, что сказывается не только на бюджете авиакомпаний, но и на состоянии окружающей среды. В 2024 году глобальные затраты на авиационное топливо достигли 291 миллиарда долларов, и эта сумма продолжает расти. Чтобы справиться с этими вызовами, NASA активно работает над технологиями, способными заметно повысить аэродинамическую эффективность самолетов. Одним из самых перспективных направлений стало создание специальной конструкции крыла, которая максимизирует естественный ламинарный поток воздуха и минимизирует сопротивление. В январе 2026 года специалисты NASA Armstrong Flight Research Center успешно провели важный этап наземных испытаний концепции Crossflow Attenuated Natural Laminar Flow (CATNLF). Для эксперимента под фюзеляж исследовательского самолета F-15B закрепили вертикально ориентированную масштабную модель высотой около 0,9 м (3 фута), напоминающую узкий киль. Такая компоновка позволила подвергнуть прототип р ...>>

Забота о внуках очень полезна для здоровья мозга 14.02.2026

Общение между поколениями приносит радость всей семье, но мало кто задумывается, насколько активно бабушки и дедушки, заботящиеся о внуках, поддерживают свою умственную форму. Регулярное взаимодействие с детьми стимулирует мозг пожилых людей, помогая сохранять память, скорость мышления и общую когнитивную активность. Новые научные данные подтверждают, что такая добровольная помощь не только важна для общества, но и может замедлять возрастные изменения в мозге. Исследователи из Тилбургского университета в Нидерландах провели анализ, чтобы понять, приносит ли уход за внуками реальную пользу здоровью пожилых людей. Ведущий автор работы Флавия Черечес отметила, что многие бабушки и дедушки регулярно присматривают за детьми, и оставался открытым вопрос, насколько это положительно сказывается на их собственном благополучии, особенно в плане когнитивных функций. Ученые поставили цель выяснить, способен ли регулярный уход за внуками замедлить снижение памяти и других умственных способ ...>>

Случайная новость из Архива

Мелкие насекомые не стараются идеально мимикрировать 07.04.2012

Изучая способность многих живых организмов - в основном, насекомых - к мимикрии, придающей им отпугивающий хищников или просто "невкусный" вид, еще Чарльз Дарвин обратил внимание на парадокс. Многие виды, заметил он, притворяются другими небрежно, так, что разница между копией и оригиналом может быть обнаружена сразу. По идее такие плохие притворы должны быть эволюционно обречены, хищники разоблачат подмену и съедят их, однако эволюция почему-то прощает им такую небрежность, и они не исчезают в течение многих миллионов лет.

Исследование, проведенное канадскими биологами из Карлтонского университета в Оттаве, объяснило, почему плохое копирование "сходит им с рук". Как и следовало ожидать, то, что распознает человеческий глаз, вполне может обмануть глаз хищника, потому что его органы чувств отличны от наших. Но здесь есть свои тонкости.

Ученые изучили 81 вид мух-журчалок, которые имеют привычку и видом, и звуком, издаваемым во время полета, имитировать осу. Некоторые из них очень похожи на ос, некоторые - лишь приблизительно. Пригласив добровольцев, исследователи попросили их оценить по фотографии каждую из них по десятибалльной шкале. Затем они изучили полученные десять групп.
Выяснилось, что крупные виды журчалок идеально или почти идеально имитируют ос, тогда как мелкие явно не стараются. Это касается и вида и качества "осиного" жужжания.

Ученые объясняют этот так. "Журчалке маленького размера не нужно полное сходство, - говорит профессор Томас Шерратт, возглавляющий исследование. - Птицы не проявят к ней интереса, поскольку для них она и так малопривлекательна, по сути, крошка, не более. По этой причине даже примерное сходство отвадит от нее птицу - ведь риск быть ужаленным осой перевесит для них и без того малую выгоду от такого обеда. Однако муха толстая и "красивая", ее вид возбуждает аппетит у птицы, и в этом случае ее спасет лишь очень хорошее сходство с осой или пчелой, потому что особое внимание к ней со стороны хищника гарантировано".

Другие интересные новости:

▪ Honeywell и Crossbow создают беспроводную измерительную продукцию

▪ SSD-накопитель MSI SPATIUM M570 на PCIe 5.0

▪ Учебники из космоса

▪ Игровой компьютер HP Envy Phoenix 810

▪ Нанотрубки способны изменить форму воды

Лента новостей науки и техники, новинок электроники

 

Интересные материалы Бесплатной технической библиотеки:

▪ раздел сайта Цветомузыкальные установки. Подборка статей

▪ статья За что же, не боясь греха, кукушка хвалит петуха? Крылатое выражение

▪ статья Кто впервые сказал: Кто с мечом к нам войдет, от меча и погибнет? Подробный ответ

▪ статья Резчик стекла. Типовая инструкция по охране труда

▪ статья Двухуровневый индикатор напряжения. Энциклопедия радиоэлектроники и электротехники

▪ статья Тамбурин. Секрет фокуса

Оставьте свой комментарий к этой статье:

Имя:


E-mail (не обязательно):


Комментарий:





Главная страница | Библиотека | Статьи | Карта сайта | Отзывы о сайте

www.diagram.com.ua

www.diagram.com.ua
2000-2026