Menu Home

Бесплатная техническая библиотека для любителей и профессионалов Бесплатная техническая библиотека


Симисторный регулятор мощности. Энциклопедия радиоэлектроники и электротехники

Бесплатная техническая библиотека

Энциклопедия радиоэлектроники и электротехники / Регуляторы мощности, термометры, термостабилизаторы

Комментарии к статье Комментарии к статье

Компактный электронный регулятор, позволяющий плавно и в достаточно широком диапазоне изменять яркость свечения нитей ламп накаливания, мощность бытового электронагревателя или скорость вращения вала у двигателя переменного тока, может смастерить даже не слишком опытный радиолюбитель. Ведь в основе предлагаемого устройства лежит знакомое многим по публикациям предыдущих аналогов и хорошо зарекомендовавшее себя техническое решение: на симисторе с экономичным управлением по фазоимпульсному методу. К тому же принципиальную электрическую схему дополняет обстоятельно разработанная топология печатной платы с конкретизацией расположения элементов монтажа. Да и радиодетали в конструкции применены довольно распространенные.

Среди достоинств следует также отметить использование КМОП-микросхем, позволяющих снизить ток, потребляемый системой управления во всех режимах, до минимальных 1,5 мА и потому - не отключать полностью ее от сети. А замена типового тумблера малогабаритной кнопкой, располагаемой вместе со светодиодным индикатором поблизости от нагрузки, повышает удобство ее включения-выключения.

Разумеется, и это еще не идеал. Не все логические элементы микросхем оказываются задействованными в работе. Неиспользуемые входы приходится соединять с "общим" проводом.

Почти вся схема питается от источника постоянного тока, собранного на VD1-VD3, С2, С4 и С5. Причем конденсатор С2 выполняет роль гасящего реактивного сопротивления. Диоды VD1, VD2 образуют двухполупериодный выпрямитель, напряжение которого поддерживается на уровне 10 В стабилитроном VD3 и сглаживается суммарной емкостью С4 и С5. Конденсатор С4 шунтирует в основном высокочастотные помехи, поступающие от бытовой электросети, но не подавляемые большеемкостным "электролитом" из - за свойственной ему значительной паразитной индуктивности.

Следующая особенность данного источника электропитания связана непосредственно с симисторами. Ведь большинство столь характерных полупроводниковых приборов можно открыть (при "плюсовом" напряжении на аноде) импульсами любой полярности, подаваемыми на управляющий электрод относительно катода, а при "минусовом" Uа - только отрицательными. Поэтому положительный вывод у рассматриваемого источника питания соединен не иначе как с катодом симистора, и на управляющем электроде будут формироваться отрицательные импульсы при напряжении любой полярности на аноде.

Для уяснения сути нелишне, думается, напомнить о том, что фазоимпульсный метод позволяет регулировать мощность в нагрузке изменением той части полупериода сетевого напряжения, в течение которой симистор пропускает ток. Значит, для правильной работы устройства необходимо прежде всего выделить начало каждого полупериода (чему соответствует мгновенное напряжение в сети, равное или близкое нулю), а затем в течение 10 мс (длительность полупериода сетевого напряжения частотой 50 Гц) сформировать импульс. И чем раньше будем открывать симистор, тем большая мощность станет выделяться на нагрузке.

Формирователь импульсов частотой 100 Гц собран на элементах VT1, VT2, R3, R4, R7. С появлением положительного полупериода на верхнем (по схеме) сетевом проводе к эмиттерному переходу транзистора \/Т1 оказывается приложенным напряжение "открывающей" полярности. Полупроводниковый триод действительно становится открытым, а его Uк - близким к Uэ. Падение напряжения на резисторе R3 приближается к 1 В открытого эмиттерного перехода транзистора VТ1, поэтому "обратносмещенный" эмиттерный переход транзистора \/Т2 не пробивается. При отрицательном полупериоде полупроводниковые триоды меняются ролями.

Резистор R4 ограничивает ток через базы транзисторов. А R7,являясь коллекторной нагрузкой \/Т1 и VT2, задает нулевой потенциал на входе 1 логического элемента DD1.1 (при закрытых полупроводниковых триодах).

Симисторный регулятор мощности
Принципиальная электрическая схема самодельного устройства (символ "1" применен для условного обозначения "общего" провода, заземлять который в предлагаемом техническом решении категорически запрещено) (нажмите для увеличения)

Симисторный регулятор мощности
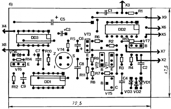
Топология печатной платы (а) и расположение деталей (б) при монтаже

В моменты, когда Uсети близко к нулю, ток через названные выше транзисторы не течет, так как падение напряжения на резисторе R3 недостаточно для их отпирания. Значит, Uк оказывается равным напряжению на минусовом выводе источника питания. В итоге получают короткие отрицательные импульсы, соответствующие началу каждого полупериода сети.

Во включенном состоянии на входе 2 DD1.1 высокий уровень напряжения. Поэтому отрицательные импульсы, поступающие на первый вход, инвертируются логическим элементом и через эмиттерный повторитель (транзистор \/Т5) заряжают конденсатор С8 практически до напряжения источника питания.

Разряд -через цепочку R8R9 и \/Т4. При снижении напряжения до порогового элементы DD1.2, DD1.3 переключаются. "Спад", поступая с элемента DD1.3, дифференцируется цепью С9R12 и уже в виде импульса длительностью около 12 мкс включает (через инвертор DD1.4 и транзистор \/Т6, работающий как усилитель тока) симистор VS1.

Переменным резистором R9 регулируют длительность разряда конденсатора С8, а значит, изменяют момент включения симистора и эффективное напряжение на нагрузке. Емкость конденсатора С9 определяет саму длительность импульса открывания симистора, резистор R12 задает потенциал на входе логического элемента DD1.4. Что касается стабилитрона VD6, то он обеспечивает надежный запуск устройства.

На инверторе DD2.1 и триггере DD3.1 собран узел включения - выключения регулятора. От этого же узла идут управляющие сигналы на другие части схемы. Транзистор VT4 служит для плавного включения нагрузки, а элементы DD2.2, DD2.3 совместно с VT7 и VD5 обеспечивают подсветку кнопки.

При первоначальном включении устройства или после пропадания напряжения сети цепочка C3R2 формирует положительный импульс на входе R логического элемента DD3.1, устанавливающий его в нулевое состояние, при котором нагрузка выключена. Выполняя функции Т-триггера, DD3.1 чутко реагирует на положительные перепады напряжения на входе С. При каждом появлении такого перепада данный логический элемент изменяет свое состояние на противоположное.

Цепочка R1C1 подавляет дребезг контактов, а входящий в ее состав резистор R1 задает нужный потенциал на входе инвертора DD2.1. Нажатие же на любую из кнопок SB вызывает положительный перепад напряжения на выходе данного элемента, переключая триггер DD3 в единичное состояние. Получающийся сигнал высокого уровня уходит на DD1.1, разрешая его работу. При этом создаются благоприятные условия для заряда конденсатора С6 до 10 В через резистор R6. Сопротивление канала транзистора VT4 плавно уменьшается и через 5-7 с достигает своего минимума.

Но канал транзистора VT4 включен последовательно с резистором R9 в цепь разряда конденсатора С8, и с повышением напряжения на затворе VT4 мощность в нагрузке будет плавно возрастать до уровня, установленного резистором R9.

Резистор R10 создает минимальное отрицательное смещение на затворе для полного запирания регулятора при нулевом сопротивлении резистора R9. Необходимость такого напряжения смещения обусловлена тем, что после включения устройства не должно оставаться времени на возникновение нештатной ситуации, когда нагрузка все еще обесточена, а конденсатор С7 выполняет по переменному напряжению роль шунта для резистора R10, исключая его из цепи разряда вышеназванного С8.

Низкий уровень с инверсного выхода триггера закрывает VT3 и запрещает переключение инверторов DD2.2, DD2.3. На баэе транзистора VT7 сохраняется высокий уровень, и светодиод VD5 не горит.

Следующее нажатие на любую из кнопок SB снова переключает триггер в нулевое состояние. Логический "0" с выхода 13 триггера запретит переключение элемента DD1.1, на его выходе установится высокий уровень. Следовательно, транзистор VT6 будет постоянно открыт, конденсатор С8 заряжен, а сама нагрузка (например, электролампа) обесточена. Логическая же единица, поступая с выхода 12 триггера через токоограничительный резистор R6, откроет транзистор VT3, через который быстро разрядится конденсатор С6, и это обеспечит подготовку устройства к новому включению.

Высокий уровень на входах 13 и 9 логических элементов DD2.2, DD2.3 позволит им пропускать отрицательные импульсы с транзисторов VT1, VT2. Эти импульсы открывают на короткое время транзистор VT7, и светодиод загорается. Резистор R13 ограничивает средний ток через VD5 (чтобы не перегружать источник питания, иначе выдаваемое им напряжение начнет падать).

Практически весь самодельный регулятор (за исключением разъемов, плавкого предохранителя, симистора и светодиода) смонтирован на печатной плате из односторонне фольгированного стеклотекстолита.

Транзисторы VT1, VT2, VT7 могут быть маломощными кремниевыми, но обязательно структуры р-п-р, с коэффициентом передачи по току более 100. Почти те же требования и к выбору VT3, VT6, кроме самой структуры. Она здесь п-p-n. В качестве VT5 приемлем полупроводниковый триод серии КТ201 (с любым буквенным индексом в конце). Можно использовать и кремниевые маломощные транзисторы структуры n-p-п, обезопасив такую замену включением VD4 (на рисунке это выделено штриховым контуром). Диод защитит эмиттерный переход от пробоя обратным напряжением, которое появляется после закрывания транзистора VT5. На месте VT4 одинаково хорошо работают все полевые транзисторы серии КП305.

Не очень строги критерии и при подборе других радиодеталей. Стабилитрон VT3 не является здесь исключением - подойдет любой с напряжением стабилизации 10 В. Диоды из серий КД509, КД510, КД522. Конденсаторы: С5 типа К50 - 24, К50 - 29; С6, С7 - К53; C3 - любой оксидный; С4, С9 - кремниевые; С1, С2, С8 - металлопленочные типов К70 - К78 (причем у С2 расчетное рабочее напряжение - не менее 250 В). Переменный резистор - любого типа, его корпус в целях экранирования соединяют с "плюсовым" проводом цепи питания. Постоянные резисторы - типа С2 - 33Н, МЛТ. Что касается плавкого предохранителя FU1, то он, конечно же, должен соответствовать току конкретной нагрузки.

Отладка устройства сводится к подбору резистора R10 по следующей методике (излагается конспективно).

Вывод 2 элемента DD1.1 временно отсоединяют от цепи и подключают к выводу 1. Установив вместо R10 переменный резистор номиналом 100 кОм, уменьшают его сопротивление до нуля. Включают симисторный регулятор в сеть и минуту-другую ждут, пока через "малоемкостный" С2 не зарядится до номинального напряжения 10В электролитический конденсатор С5.

Контролируя по осциллографу форму импульсов в нагрузке, увеличивают сопротивление переменного резистора - замены R10 до тех пор, пока симистор не перестает открываться. Затем несколько раз включают-выключают нагрузку, добиваясь имеющимися органами регулировки, чтобы транзистор \/Т4, срабатывая должным образом, надежно запирал VS1. После этого переменный резистор заменяют постоянным и восстанавливают соединение вывода 2 DD1.1 согласно схеме.

Практика показывает: установкой и подбором резистора R11 можно достичь того, что максимальному сопротивлению резистора R9, работающего как реостат, будет соответствовать нулевое напряжение на нагрузке. А чтобы при полном включении нагрузки добиться минимизации падения напряжения на симисторе, его надо открывать после начала полупериода как можно быстрее. Значит, формирователь импульсов перехода сетевого напряжения через нуль должен вырабатывать достаточно короткие импульсы. Для их минимизации следует увеличивать сопротивление резистора R3 и подбирать R7. Идти же по пути снижения номинала R4 нежелательно - это энергорасточительство.

И еще. При налаживании и практическом использовании симисторного регулятора нельзя забывать, что с подключением устройства к сети все, в том числе и переменный резистор, оказывается под ее высоким напряжением. А с переменным током 220 В не шутят, даже если корпус электронной самоделки выполнен из добротного изоляционного материала.

Автор: А.Руденко

Смотрите другие статьи раздела Регуляторы мощности, термометры, термостабилизаторы.

Читайте и пишите полезные комментарии к этой статье.

<< Назад

Последние новости науки и техники, новинки электроники:

Польза белкового завтрака 14.01.2026

Правильное питание по утрам играет ключевую роль в поддержании здоровья и контроле веса. Многочисленные исследования подтверждают, что состав завтрака может влиять на аппетит в течение всего дня и качество употребляемой пищи. Австралийские ученые провели масштабный эксперимент, который показал, что употребление белковой пищи с утра помогает дольше чувствовать сытость и предотвращает переедание. В исследовании участвовали более 9 тысяч человек среднего возраста 46 лет. В период с 2011 по 2012 год специалисты анализировали рационы респондентов, оценивая долю основных макронутриентов. В среднем участники потребляли 43% углеводов, 31% жиров, 18% белков, 2% клетчатки и 4% алкоголя. Такой рацион позволил ученым проследить взаимосвязь между утренним приемом пищи и пищевым поведением в течение дня. Выяснилось, что участники, чей завтрак содержал недостаточное количество белка, ощущали повышенный аппетит в течение дня. Они ели больше, чем необходимо, и часто выбирали продукты с высоким со ...>>

Технология SmartPower HDR 14.01.2026

Ноутбуки стремительно развиваются в плане графики и мультимедийных возможностей, но яркие дисплеи с высоким динамическим диапазоном (HDR) часто становятся серьезной нагрузкой для аккумуляторов. Длительная работа с видео высокого качества или играми в HDR приводит к быстрой разрядке батареи, что ограничивает мобильность пользователей и снижает комфорт работы. Решить эту проблему призвана новая технология SmartPower HDR, разработанная совместно компаниями Samsung Display и Intel. Суть технологии заключается в динамическом управлении напряжением OLED-панелей. Чипсет ноутбука в реальном времени анализирует пиковую яркость каждого кадра и передает эти данные контроллеру дисплея, который оптимизирует подачу напряжения в зависимости от количества активных пикселей. В отличие от традиционных режимов HDR, где яркость часто фиксируется на максимальном уровне, SmartPower HDR адаптируется к конкретному контенту, что снижает энергопотребление без потери качества изображения. Технология позвол ...>>

Недосып существенно сокращает жизнь 13.01.2026

Сон является одной из самых фундаментальных потребностей человека. Он влияет на обмен веществ, работу сердца и мозга, иммунитет и общее самочувствие. Современный ритм жизни часто заставляет людей жертвовать сном ради работы, учебы или развлечений, но ученые предупреждают: регулярный недосып может иметь далеко идущие последствия для здоровья и долголетия. Исследователи из Орегонского университета здравоохранения и науки пришли к выводу, что сон менее семи часов в сутки связан с сокращением продолжительности жизни. По данным специалистов, хроническая нехватка сна не только вызывает усталость и снижение работоспособности, но и постепенно сказывается на здоровье органов и систем, увеличивая риски развития различных заболеваний. Для анализа ученые использовали обширную национальную базу данных США, сопоставляя показатели ожидаемой продолжительности жизни на уровне штатов с результатами опросов Центров контроля и профилактики заболеваний за период с 2019 по 2025 годы. Они учитывали мно ...>>

Случайная новость из Архива

Графеновый лазер для фотонных микросхем 07.06.2013

Международной группе исследователей из Великобритании, Греции и Японии удалось найти новое применение графену. На основе этого материала удалось создать инфракрасный импульсный лазер, причем, по мнению ученых, подобные лазеры могут генерировать и обычные световые импульсы.

Графен отличается отсутствием запрещенной зоны, то есть его электроны могут находиться в состоянии с любым уровнем энергии, в отличие от изоляторов или полупроводников, у которых есть некоторое минимальное расстояние между основным и следующим за ним по энергии состоянием. Благодаря отсутствию запрещенной зоны графен может поглощать даже кванты с не очень большой энергией и за счет этого временно блокировать излучение инфракрасного лазера.

При воздействии на графен инфракрасным излучением материал в определенный момент (в экспериментах физиков это происходило меньше чем через наносекунду) резко меняет свои оптические свойства и становится прозрачным. Как сообщают ученые, реализация подобного эффекта непосредственно внутри лазера на иттербиевом стекле позволяет управлять его работой: лазер излучает только тогда, когда размещенная внутри его резонатора графеновая пленка становится достаточно прозрачной. После того, как графен выпускает световой импульс наружу, он снова начинает поглощать излучение и все повторяется заново, с частотой около 1,6 ГГц.

Расчеты показывают, что аналогичная схема может успешно применяться для генерации импульсов с любой другой длиной волны как в ближнем инфракрасном, так и в видимом диапазоне. Иными словами, на основе графена теоретически можно сделать импульсные лазеры самых разных цветов, причем материал при этом не потребуется подвергать дополнительной обработке. Еще одним преимуществом графена авторы новой работы считают термостойкость материала: многие другие вещества, обладающие подобными свойствами, быстро выгорают при интенсивном облучении.

Другие интересные новости:

▪ Роботы-внуки для пожилых людей

▪ Утоление боли без лекарств

▪ Антирадиационный костюм для лунной миссии NASA

▪ Банковская карта лишится магнитной полосы

▪ Радиационно-стойкие микросхемы контроллера ШИМ и драйвера от Renesas Electronics

Лента новостей науки и техники, новинок электроники

 

Интересные материалы Бесплатной технической библиотеки:

▪ раздел сайта Антенны. Подборка статей

▪ статья Муки слова. Крылатое выражение

▪ статья Какие психические проявления называют прямым и обратным эффектами Динь-Динь? Подробный ответ

▪ статья Тис ягодный. Легенды, выращивание, способы применения

▪ статья Звуковой генератор как сирена. Энциклопедия радиоэлектроники и электротехники

▪ статья Загадочные кольца и ключи. Секрет фокуса

Оставьте свой комментарий к этой статье:

Имя:


E-mail (не обязательно):


Комментарий:





Главная страница | Библиотека | Статьи | Карта сайта | Отзывы о сайте

www.diagram.com.ua

www.diagram.com.ua
2000-2026