Menu Home

Бесплатная техническая библиотека для любителей и профессионалов Бесплатная техническая библиотека


Охранное устройство с управлением ключами-таблетками iBUTTON. Энциклопедия радиоэлектроники и электротехники

Бесплатная техническая библиотека

Энциклопедия радиоэлектроники и электротехники / Охранные устройства и сигнализация объектов

Комментарии к статье Комментарии к статье

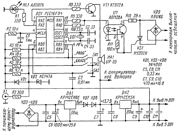
Предлагаемое устройство может выполнять функции охранной сигнализации или просто включать освещение при движении человека в помещении и при открывании входной двери. Его схема показана на рис.1. Основой служит микроконтроллер PIC16F84. В его программе предусмотрено автоматическое восстановление нормальной работы после случайных сбоев.

Охранное устройство с управлением ключами-таблетками iBUTTON. Принципиальная схема охранного устройства
Рис.1. Принципиальная схема охранного устройства

Постановку на охрану и снятие с нее производят с помощью электронных ключей-таблеток iButton DS1990 [1]. Эти очень простые в эксплуатации и надежные изделия не боятся влаги и агрессивной внешней среды, не требуют смены или подзарядки элементов питания, так как не содержат их. Код, записанный в таблетке, невозможно изменить. Он имеет 280 триллионов вариантов, что практически исключает возможность подборки ключа.

Контактное устройство Х1, которого нужно коснуться ключом, чтобы включить или выключить охрану, располагают в любом удобном месте, например, на косяке двери. Однако сам охранный прибор должен быть недоступен посторонним. Проводку от него к контактному устройству выполняют витой парой проводов длиной не более нескольких метров.

Светодиод HL1 служит для контроля состояния прибора. По нему можно определить, включен ли режим охраны, срабатывала ли сигнализация за прошедшее с момента ее включения время. Охранный шлейф, условно показанный на схеме как выключатель SA3, - последовательно соединенные выходные контакты ИК датчика движения и установленного на двери герконового датчика СМК. Если датчика движения нет, прибор будет реагировать только на открывание двери.

При включении питания устройство начинает работу в режиме, в котором оно при размыкании шлейфа лишь включает освещение. Приблизительно через минуту свет будет автоматически выключен. Чтобы перейти в режим охраны, нужно коснуться зарегистрированным ключом контактного устройства Х1. Прочитав код ключа, микроконтроллер на 1 с запрещает повторное считывание, предотвращая непредсказуемую смену режимов при слишком продолжительном удержании ключа в контактном устройстве.

Постановка на охрану будет подтверждена коротким звуком сирены НА1 и вспышкой светодиода HL1. Но фактически охрана будет включена только после восстановления замкнутого состояния шлейфа (если последний был разомкнут). Это дает возможность хозяину уйти из помещения и закрыть за собой дверь, не вызвав ложной тревоги.

В режиме охраны светодиод HL1 горит, освещение выключено. Нарушение шлейфа приводит к включению на 3 мин сирены НА1 и миганию светодиода HL1. Затем микроконтроллер еще раз проверяет состояние шлейфа. Если он окажется вновь замкнутым, сирена будет выключена, но мигание светодиода продолжится. Повторное касание зарегистрированным ключом контактного устройства снимет помещение с охраны, что будет подтверждено двукратным кратковременным включением сирены и погасанием светодиода. А вот любая попытка подобрать ключ не изменит режима работы, но вызовет включение сирены на 1 с.

Узел питания прибора состоит из выпрямителя на диодном мосте VD3-VD6 (понижающий трансформатор питания на схеме не показан) и двух интегральных стабилизаторов DA1 и DA2. Диоды VD3-VD8 можно заменять любыми на напряжение не менее 50 В и ток 1 А. Напряжение 13,7 В предназначено для питания сирены НА1 и подзарядки аккумуляторной батареи, поддерживающей работу устройства при отключении сети. Если в резервном питании нет необходимости, вместо КР142ЕН8Е можно установить стабилизатор на 12 В, а диоды VD7 и VD8 исключить.

Сирена НА1 - автомобильная UP-35, но можно применить и любые другие пьезосирены, например, используемые в охранных системах (ООПЗ-12, "Свирель"). Аккумуляторная батарея - необслуживаемая кислотная, предназначенная для приборов в охранно-пожарной сигнализации.

Устройство собрано на печатной плате из односторонне фольгированного стеклотекстолита (рис.2).

Охранное устройство с управлением ключами-таблетками iBUTTON. Печатная плата
Рис.2. Печатная плата

Для микроконтроллера DD1 лучше всего предусмотреть панель. Это позволит, при необходимости, заменить или перепрограммировать микроконтроллер. Схему программатора и программу для него можно найти в Интернете. Например, по адресу pic16f84.narod.ru. Там же имеется инструкция по программированию.

Чтобы зарегистрировать ключ, кратковременно замкните контакты выключателя SA1 "PROG". Как только загорится светодиод HL1, прикоснитесь ключом контактов Х1. Успешную регистрацию подтвердят погасание светодиода и короткий звук сирены. Через некоторое время светодиод вновь загорится - контроллер готов к регистрации следующего ключа. Всего их может быть семь. Восьмой сотрет данные о первом, девятый - о втором и так далее по кругу. Через 40 с после последней регистрации прибор автоматически возвратится в рабочий режим.

Чтобы отменить регистрацию всех ключей, достаточно кратковременно замкнуть выключатель SA2 "ERASE". Память будет очищена и включен описанный выше режим регистрации. Эта процедура необходима при первом включении устройства, а также в случае утери одного из ключей.

Текст программы на ассемблере и прошивку контроллера можно скачать здесь.

Публикация: cxem.net

Смотрите другие статьи раздела Охранные устройства и сигнализация объектов.

Читайте и пишите полезные комментарии к этой статье.

<< Назад

Последние новости науки и техники, новинки электроники:

Биопластик из отходов хлеба и авокадо 28.01.2026

Проблемы пищевых отходов и загрязнения окружающей среды пластиком все чаще рассматриваются как взаимосвязанные вызовы современности. Ученые по всему миру ищут решения, которые позволили бы одновременно сократить объем выбрасываемых продуктов и заменить традиционные полимеры экологически безопасными материалами. В этом контексте особенно интересны разработки, использующие то, что раньше считалось бесполезным мусором. Исследовательская группа из Австралии предложила технологию превращения пищевых отходов в биопластиковые пленки, применяя кожуру авокадо, черствый хлеб и крахмал саговой пальмы. Работа была выполнена учеными Университета Дикина, а ее результаты опубликованы в журнале Matter, о чем сообщил Anthropocene Magazine. По словам авторов, метод изначально разрабатывался как масштабируемый и экономически оправданный, чтобы его можно было внедрять в промышленность без существенных затрат. Австралийские исследователи подчеркивают, что полученные материалы потенциально пригодны не ...>>

Смартфон NexPhone на трех операционных системах 28.01.2026

Идея объединить смартфон и персональный компьютер в одном устройстве давно волнует инженеров и пользователей, однако до сих пор такие проекты оставались нишевыми или компромиссными. Компания Nex Computer решила подойти к этой задаче радикально и представила NexPhone - смартфон, который позиционируется как полноценная альтернатива ПК. Его ключевая особенность заключается в одновременной поддержке сразу трех операционных систем, каждая из которых рассчитана на свой сценарий использования. В NexPhone реализована система мультизагрузки, позволяющая работать с Android 16, Linux на базе Debian и Windows 11. Android 16 выступает основной мобильной платформой и предназначен для повседневных задач, таких как общение, мультимедиа и приложения. Linux запускается как отдельная рабочая среда, ориентированная на разработчиков и пользователей, привыкших к классическим настольным инструментам. Windows 11 устанавливается во второй раздел накопителя и требует перезагрузки устройства, но именно она до ...>>

Солнечный свет помогает мозгу работать быстрее 27.01.2026

Влияние света на самочувствие человека давно интересует ученых, однако лишь в последние годы стало возможным изучать этот эффект вне строгих лабораторных условий. Современные носимые датчики и мобильные приложения позволяют наблюдать, как освещение в повседневной жизни отражается на внимании, памяти и уровне бодрствования. Именно таким путем пошли исследователи из Манчестерского университета, решив выяснить, какую роль играет дневной свет в поддержании когнитивной активности. В ходе исследования 58 добровольцев на протяжении недели носили специальные сенсоры, фиксирующие интенсивность окружающего освещения. Параллельно участники выполняли задания в приложении Brightertime, которое оценивало их внимание, скорость реакции, рабочую память и субъективную сонливость. Для этого использовались шкала сонливости Каролинского университета, тест на бдительность, трехзадачный тест памяти и задания на визуальный поиск, что позволяло отслеживать изменения когнитивной производительности практическ ...>>

Случайная новость из Архива

Самый продвинутый космический радар LeoLabs 30.04.2021

На территории Коста-Рики достроен новый гигантский космический радар, который способен без каких-бы то ни было трудностей отслеживать орбитальный мусор размером вплоть до двух сантиметров. Он был построен компанией LeoLabs, которая знаменита тем, что предоставляет коммерческие услуги радиолокационного слежения за объектами на низкой околоземной орбите.

Новый радар является на сегодняшний день единственным, который способен не только распознавать, но и отслеживать объекты размером с мяч для гольфа и даже меньше, движущиеся со скоростью до 30,000 километров в час. Примечательно и то, что данный радар может без каких-бы то ни было проблем следить как за активными спутниками, так и за космическим мусором, которые составляют подавляющее большинство искусственных объектов, обнаруженных на орбите нашей планеты.

Устройтво способно представлять возможность уменьшения, предотвращения и предупреждения различных рисков, за которыми хотят следить различные корпоративные клиенты LeoLabs, например другие операторы спутников, оборонные, космические и регулирующие агентства, а также всевозможные страховые, научные учреждения и так далее. Но все-же первоочередная задача телескопа - слежка за космическим мусором и объектами. Космический мусор, кстати, занимает все больше и больше места на орбите Земли. За последние десятилетия количество космического мусора увеличилось до невероятных масштабов. Ну а в ближайшие годы это и вовсе обязательно станет еще большей проблемой, поскольку частные компании развертывают все более и более массивные спутниковые группировки.

Обломки, летающие в космосе, представляют собой огромную угрозу как для МКС, так и для будущих пилотируемых кораблей, совершающих свои полеты в рамках различных миссий. И именно помощь в обнаружении этого мусора для его утилизации, либо же его "облете" и вызывает потребность в такой компании, как LeoLabs.

Другие интересные новости:

▪ Прочитан геном тополя

▪ Модули памяти DDR4 RDIMM 64 ГБ от Samsung

▪ Предоставление природе конституционных прав

▪ Электрический летающий автомобиль eVTOL

▪ Робот-охранник LG AI Agent

Лента новостей науки и техники, новинок электроники

 

Интересные материалы Бесплатной технической библиотеки:

▪ раздел сайта Эффектные фокусы и их разгадки. Подборка статей

▪ статья Судно без паруса и винта. Советы моделисту

▪ статья Какой металл наиболее распространен в земной коре? Подробный ответ

▪ статья Чеснок посевной. Легенды, выращивание, способы применения

▪ статья Инфракрасный порт для компьютера. Энциклопедия радиоэлектроники и электротехники

▪ статья Тиристорный стабилизатор напряжения. Энциклопедия радиоэлектроники и электротехники

Оставьте свой комментарий к этой статье:

Имя:


E-mail (не обязательно):


Комментарий:





Главная страница | Библиотека | Статьи | Карта сайта | Отзывы о сайте

www.diagram.com.ua

www.diagram.com.ua
2000-2026