Бесплатная техническая библиотека
Стабильный гетеродин УКВ конвертера. Энциклопедия радиоэлектроники и электротехники

Энциклопедия радиоэлектроники и электротехники / Узлы радиолюбительской техники. Генераторы, гетеродины
Комментарии к статье
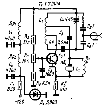
В качестве неперестраеваемых гетеродинов для конвертеров диапазона 144-146 МГц обычно используют ламповые или транзисторные автогенераторы, стабилизированные кварцем, генерирующим в диапазоне 10-50 МГц (кварцевый резонатор при этом возбуждается на третьей - пятой механической гармонике), и два - три каскада умножения частоты. В то же время однокаскадные транзисторные гетеродины, стабилизированные кварцем на высших (вплоть до одиннадцатой) механических гармониках, имеют целый ряд преимуществ: отсутствие в спектре сигнала низкочастотных гармоник с достаточно большими амплитудами; малые габариты, позволяющие полностью экранировать и достаточно простыми средствами термостатировать блок гетеродина; малую температурную нестабильность амплитуды выходного сигнала (что обусловлено наличием минимального количества узкополосных контуров); большую надежность (из-за меньшего числа элементов).
Практическая схема гетеродина на частоту 115 МГц, предназначенного для конвертера диапазона 144- 146 МГц при промежуточной частоте 29-31 МГц, приведена на рисунке. Он собран на транзисторе T1, включенном по схеме с общей базой, с кварцевым резонатором в цепи положительной обратной связи между коллекторным контуром и цепью эмиттера. Такой автогенератор устойчиво генерирует на частотах до 250-300 МГц. Для достижения оптимальных условии самовозбуждения и максимальной стабильности частоты генерирования коэффициенты включения транзистора и кварца в коллекторный контур выбраны соответственно равными 0,65 и 0,25.

Обозначение по схеме |
Индуктивность, мкгн |
Добротность |
Провод |
Каркас |
Шаг намотки, мм |
Число витков |
ДР1, ДР2 |
1,3 |
|
ПЭЛШО 0,12 |
Резистор МЛТ-0,5, 1 Мом керамический диаметром 18 мм керамический диаметром 6 MM |
0,2 |
27 |
|
|
|
|
|
|
L1 |
6 |
50 |
посеребренный |
1.2 |
20 |
|
|
|
0.64 |
|
|
L2 |
0,3 |
25 |
ПЭЛШО 0,25 |
0,5 |
6 |
Кварц включен через конденсатор C8 (15пф). Параллельно кварцевому резонатору включена катушка индуктивности L2, компенсирующая статическую емкость кварца. Генератор возбуждается на седьмой механической гармонике кварца с частотой резонанса 16,44 МГц. При этом амплитуда выходного сигнала достигает 120-140 мВ. Кроме того, возможно возбуждение автогенератора на одиннадцатой гармонике (кварцевый резонатор при этом должен быть с частотой резонанса 10,45 МГц), однако амплитуда сигнала получается несколько меньшей, кроме того, усложняется настройка автогенератора: он становится критичным даже к небольшим расстройкам коллекторного и компенсирующего контуров. В конструкции гетеродина использована эффективная развязка по цепям питания с помощью двойного Г-образного защитного LC фильтра. Выход автогенератора рассчитан на подключение стандартного 75-омного коаксиального кабеля и имеет частичную емкостную связь с коллекторным контуром.
Потребляемая гетеродином по цепям питания мощность - не более 60 мвт. Детали и конструкция обусловливают стабильность частоты генерирования в той же степени, что и выбор схемы. Поэтому в конструкции целесообразно применить постоянные резисторы МЛТ-0,5 (или МЛТ-0,25); резистор R3-СПO-0,15; конденсаторы С1 и С2 - KCО, СГМ или К10-7в, С3-КСО, СГМ, С4 -КПК-1 или КПК-М; контурные конденсаторы и конденсатор С7 - КТ-1, причем желательно С5 и С6 взять с положительным ТКЕ (группы П120, синий цвет или ПЗЗ - серый цвет корпуса), а C8 - с отрицательным ТКЕ (группы МЗЗ, М47 - голубой цвет соответственно с коричневой или красной точкой). Данные катушек и дросселей приведены в таблице. Катушка L1 помещена в алюминиевый экран размерами 35х35х50 мм. Отводы, считая от верхнего по схеме конца,- от пятого витка - к конденсатору C8 и от тринадцатого витка - к коллектору транзистора Т1.
Конструкция выполнена в виде блока на отдельном (от конвертера) шасси размерами 80х45х75 мм. Гетеродин настраивают с помощью тестера, УКВ ГСС и ВЧ лампового вольтметра. Подбором сопротивления резистора R5 устанавливают ток эмиттера, равный 2-3,5 мА (или более), до возникновения устойчивой генерации. С помощью резистора Лз подбирают напряжение на базе транзистора T1. Далее подстроечным сердечником катушки L2 настраивают компенсационный контур. Затем настраивают коллекторный контур на частоту, несколько большую (на 500-600 кГц) частоты генерации - при этом нестабильность частоты автогенератора будет минимальной.
Отвод от катушки L1 для включения коллектора транзистора Т1 подбирают в пределах 11 и 15 витка - до появления устойчивой генерации, Далее в уже настроенном автогенераторе можно уточнить величину емкости конденсатора С7, варьируя ее в пределах 5-25 пФ и добиваясь более устойчивой генерации при максимально допустимых расстройках коллекторного контура. (Эта расстройка при использовании седьмой механической гармоники кварца может достигать величины порядка 1 МГц). Максимально допустимая величина расстройки компенсационного контура составляет 250-350 кГц.
Литература
- Радио №10/1971, c.27
Публикация: Н. Большаков, rf.atnn.ru
Смотрите другие статьи раздела Узлы радиолюбительской техники. Генераторы, гетеродины.
Читайте и пишите полезные комментарии к этой статье.
<< Назад
Последние новости науки и техники, новинки электроники:
Питомцы как стимулятор разума
06.10.2025
Помимо эмоциональной поддержки, домашние питомцы могут оказывать заметное воздействие на когнитивные процессы, особенно у пожилых людей. Новое масштабное исследование показало, что общение с кошками и собаками не просто улучшает настроение - оно действительно способствует замедлению возрастного снижения умственных способностей.
Работа проводилась в рамках проекта Survey of Health, Ageing and Retirement in Europe (SHARE), охватывающего период с 2004 по 2022 год. В исследовании приняли участие тысячи европейцев старше 50 лет. Анализ показал, что владельцы домашних животных демонстрируют более устойчивые когнитивные функции по сравнению с теми, кто не держит питомцев. Особенно выражен эффект оказался у владельцев кошек и собак.
Согласно данным ученых, владельцы собак дольше сохраняют хорошую память, в то время как хозяева кошек медленнее теряют способность к быстрому речевому взаимодействию. Исследователи связывают это с тем, что ежедневное взаимодействие с животными требует внимани ...>>
Мини-ПК ExpertCenter PN54-S1
06.10.2025
Компания ASUSTeK Computer презентовала новый мини-компьютер ASUS ExpertCenter PN54-S1. Устройство ориентировано на пользователей, которым важно сочетание производительности, энергоэффективности и универсальности - от офисных задач до мультимедийных проектов.
В основе ExpertCenter PN54-S1 лежит современная аппаратная платформа AMD Hawk Point, использующая архитектуру Zen 4. Это поколение чипов отличается улучшенным управлением энергопотреблением и повышенной вычислительной мощностью. Новинка доступна в конфигурациях с процессорами Ryzen 7260, Ryzen 5220 и Ryzen 5210, представленных AMD в начале 2025 года. Таким образом, устройство охватывает широкий диапазон задач - от базовых офисных до ресурсоемких вычислений.
Корпус мини-ПК выполнен из прочного алюминия и имеет размеры 130×130×34 мм, что делает его практически незаметным на рабочем столе или за монитором. Несмотря на компактность, внутренняя компоновка позволяет установить два модуля оперативной памяти SO-DIMM ...>>
Глазные капли, возвращающие молодость зрению
05.10.2025
С возрастом человеческий глаз постепенно теряет способность четко видеть на близком расстоянии - развивается пресбиопия, или возрастная дальнозоркость. Этот естественный процесс связан с утратой эластичности хрусталика и ослаблением цилиарной мышцы, отвечающей за фокусировку. Миллионы людей по всему миру сталкиваются с необходимостью носить очки для чтения или прибегают к хирургическим методам коррекции. Однако исследователи из Центра передовых исследований пресбиопии в Буэнос-Айресе представили решение, которое может стать удобной и неинвазивной альтернативой - специальные глазные капли, способные улучшать зрение на длительный срок.
Разработку возглавила Джованна Беноцци, директор Центра. По ее словам, цель исследования состояла в том, чтобы предоставить пациентам с пресбиопией эффективный и безопасный способ коррекции зрения без хирургического вмешательства. Новые капли, созданные на основе пилокарпина и диклофенака, показали убедительные результаты: уже через час после первого пр ...>>
Случайная новость из Архива Удивление побуждает к исследованию
09.04.2015
Философы говорят, что познание мира начинается с удивления. Значит ли это, если говорить более приземленным языком, что эффективность обучения будет выше, если окружающие нас предметы станут вести себя не так, как им положено? Действительно, так и есть, причем удивление помогает учиться и познавать мир, начиная с самого раннего возраста, когда человек и речью-то еще не овладел.
Психологи из Университета Джонса Хопкинса провели с 11-месячными детьми несколько экспериментов, в которых дети должны были наблюдать за поведением обычных игрушек (мячиков, машинок и т.д.). Но только в одном случае поведение предметов согласовывалось с привычной физикой, а в другом предметы вдруг начинали вести себя совершенно непонятным образом. Например, игрушечная машинка, скатывающаяся с игрушечной горки к какому-то препятствию, не упиралась в него, а проходила насквозь.
В статье в Science авторы пишут, что, столкнувшись с необычной ситуацией, дети лучше запоминали свойства объекта. То есть машинка, которая просто съезжала с горки, слабее задерживалась в памяти, нежели машинка, которая проходила сквозь стену. Более того, странное поведение объекта побуждало детей активно исследовать его: например, ту же машинку начинали колотить о стол, как бы проверяя ее прочность и твердость. Если же предмет внезапно зависал в воздухе, вместо того, чтобы упасть, как полагается, то и ребенок начинал испытывать его, роняя с высоты.
Можно сказать, что дети вели себя, подобно ученым, пытаясь воспроизвести странные свойства объекта, которые наблюдали до этого. И даже новые игрушки, которые ребенок до сих пор не видел, вызывали меньше интереса, чем непонятная ситуация.
Известно, что человек с раннего возраста располагает неким минимумом необходимых знаний об окружающем мире. Так, несколько лет назад в журнале WIREs Cognitive Science была опубликована статья, в которой говорилось, что младенцы могут оперировать элементарной физикой. Например, двухмесячные малыши понимают, что незакрепленный предмет может упасть, а объект, который исчез из поля зрения, все же продолжает где-то существовать; к пяти месяцам у них появляется понимание различий между твердыми и сыпучими или текучими веществами; а десятимесячные осознают разницу между "меньше" и "больше" (хотя "меньше" и "больше" - категории скорее логико-математические, нежели физические). Очевидно, что такое знание не пребывает в голове пассивным грузом, а активно используется - то, что ребенок видит вокруг себя, он сверяет с привычными правилами.
Также удивительно, что удивление (просим прощения за тавтологию) побуждает даже таких маленьких детей, которым нет еще и года и которые еще не научились говорить, к активному исследованию окружающего мира. Можно лишь только пожалеть, что у многих взрослых это свойство психики куда-то бесследно исчезает.
|
Другие интересные новости:
▪ Сканер сетчатки глаза для смартфона
▪ Экологически чистое топливо на основе углекислого газа
▪ Инопланетяне нас не нашли
▪ Звучащая стена
▪ В Канаде построят точный детектор темной материи
Лента новостей науки и техники, новинок электроники
Интересные материалы Бесплатной технической библиотеки:
▪ раздел сайта Прошивки. Подборка статей
▪ статья Гром победы раздавайся. Крылатое выражение
▪ статья Кто построил первые каналы? Подробный ответ
▪ статья Дизайнер. Должностная инструкция
▪ статья Физика аэроионизации. Энциклопедия радиоэлектроники и электротехники
▪ статья Зарядное устройство для герметичных свинцовых (гелевых) аккумуляторов. Энциклопедия радиоэлектроники и электротехники
Оставьте свой комментарий к этой статье:
Главная страница | Библиотека | Статьи | Карта сайта | Отзывы о сайте

www.diagram.com.ua
2000-2025