Menu Home

Бесплатная техническая библиотека для любителей и профессионалов Бесплатная техническая библиотека


ЭНЦИКЛОПЕДИЯ РАДИОЭЛЕКТРОНИКИ И ЭЛЕКТРОТЕХНИКИ
Бесплатная библиотека / Электрику

Электромонтажные изделия. Энциклопедия радиоэлектроники и электротехники

Бесплатная техническая библиотека

Энциклопедия радиоэлектроники и электротехники / Электромонтажные работы

Комментарии к статье Комментарии к статье

Электромонтажными называются изделия, позволяющие произвести монтаж электропроводки. К ним относят: дюбеля, скобки, полоски и полоски-пряжки, электромонтажные трубки ХВТ из поливинилхлоридного пластиката, гильзы ГАО, колпачки изолирующие из полиэтилена, крюки для подвески светильников, изолятор ТФ-16 (телефонный фарфоровый), фарфоровые втулки, воронки, кабельные концевые наконечники (рис 12).

Электромонтажные изделия
Рис. 12. Электромонтажные изделия: а- скобки У641 и У642; б - полоски; в - пряжки; г - полоски-пряжки; з - электромонтажные трубки; е - гильзы ГАО; ж - изолирующие колпачки

Дюбеля незаменимы при монтаже электропроводок. Предназначаются для крепления опорных конструкций, коробок, элементов открытых электропроводок и т. д. и подразделяются на стальные гвоздеобразные ручной забивки типа ДГР, пластмассовые и распорные, с волокнистым наполнителем.

Дюбеля ручной забивки (ДГР) выпускают со стержнем диаметром 3,5 мм, длиной 25, 35 мм, а в последние годы появились дюбеля длиной 100 мм и более. Допустимая нагрузка на дюбеля составляет 100-800 Н (10-80 кгс). В основание дюбеля забивают молотком или при помощи оправки.

Дюбеля типов У656-У678 представляют собой пластмассовую гильзу, в которой установлен болт или винт. Крепление дюбеля в гнезде осуществляется за счет гильзы при вкручивании в нее болта или винта.

Скобки различных марок применяют для крепления плоских проводов и кабелей сечением до 6 мм2 при открытой и скрытой прокладке.

К кирпичным или бетонным основаниям скобки прикрепляют дюбель-гвоздями диаметром 3,5 мм с применением оправки.

Полоски и полоски-пряжки применяют для крепления кабелей и проводов к строительным основаниям при открытой прокладке. Под провода подкладывают изоляционные прокладки из электрокартона или аналогичного материала так, чтобы он выступал в обе стороны от полоски.

Электромонтажные трубки ХВТ из поливинилхлоридного пластиката применяют для изоляции проводов и жил кабелей. Внутренний диаметр трубки указывается в обозначении и составляет 3, 5, 6, 8, 10, 12, 14, 16, 18, 20 или 22 мм, толщина стенки - от 0,4 до 1,15 мм.

Гильзы ГАО применяют для соединения однопроволочных жил и проводов и кабелей сечением 2,5-10 мм2. Гильзы - это алюминиевые трубки, внутренняя поверхность которых может быть смазана в заводских условиях кварцевазелиновой пастой.

Колпачки изолирующие из полиэтилена предназначены для изоляции мест соединений проводов сечением до 4 мм в ответвительных коробках электрических сетей. Места соединений, выполненных скруткой, сваркой или опрессовкой в гильзах, смазывают клеем или битумной массой для надежного закрепления на них колпачков и предохранения от коррозии, затем на них надевают изолирующие колпачки.

Крюки для подвески светильников (рис 13) выбирают в зависимости от конструктивного исполнения плит перекрытий. В железобетонные перекрытия, имеющие пустоты, устанавливают так называемые "ломающиеся" крюки типов У623, У628: коромысло крюка вертикально устанавливают в отверстие, пробитое в плите перекрытия; под действием силы тяжести коромысло поворачивается и занимает в пустоте перекрытия горизонтальное положение, закрепляя крюк.

В деревянные перекрытия вкручивают крюки с резьбой по дереву. В условиях дачного строительства при отсутствии крюков заводского изготовления используют самодельные.

Размеры крюка для подвеса бытовых светильников: внешний диаметр полукольца - 35 мм, расстояние от перекрытия до начала изгиба - 12 мм, диаметр прутка при изготовлении крюка из круглой стали - 6 мм. Полукольцо крюка, изготовленного из прутка диаметром 4 мм, начинает разгибаться при нагрузке 500 Н (50 кг). На такой крюк можно подвешивать светильники массой не более 10 кг.

Электромонтажные изделия
Рис. 13. Крюки для подвески светильников: а- типов У623 и У628; б - типов У625 и У629; в - к деревянному перекрытию; г - проволочный

Металлические крюки изолируют, надевая на них поливинилхлоридную трубку. Крюки, вкручиваемые в деревянные перекрытия, изолировать не надо.

Крюк КН-16 (из стали) применяют при устройстве вводов в здание. На штыревом конце крюка имеется девять выступающих ершей или насечек высотой 0,7-1,2 мм, равномерно расположенных по окружности в три ряда и обращенных остриями вниз. При монтаже крюки вворачивают в опору всей нарезной частью плюс 10-15 мм. Отверстия выполняют на глубину 0,75 длины нарезной части.

Изолятор ТФ-16 (телефонный фарфоровый) устанавливают на штырь крюка при помощи полиэтиленового колпачка. При отсутствии колпачков изолятор наворачивают на штыревую часть крюка, на которую по ходу резьбы наматывают ровным слоем паклю.

Изолятор наворачивают до конца, а затем отворачивают на пол-оборота для предотвращения раскола изолятора при воздействии ветровых нагрузок.

Фарфоровые втулки разных типоразмеров (ВТК-9, ВТК-11, ВТК-13, ВТК-16, ВТК-18, ВТК-20, ВТК-23, ВТК-30) предназначены для оконцевания изоляционных трубок при выходе из стен и перекрытий, а также для защиты проводов и кабелей от повреждений.

Цифры, следующие за буквами в обозначении втулок, указывают внутренний диаметр втулки в мм.

Воронки В-2, В-6, В-10, В-16, В-25, В-35 служат для выполнения вводов с наружной стороны проходов в сырые и особо сырые помещения, а также используются при обходе препятствий открытыми проводами и для вывода проводов наружу при скрытой прокладке. В деревянных стенах втулки и воронки плотно вставляют в отверстия, проделанные буравом.

Кабельные концевые наконечники (рис. 14) предназначены для оконцевания медных многопроволочных жил сечением 1-2,5 мм .

Электромонтажные изделия
Рис. 14. Наконечник кабельный кольцевой

На жилах концевые наконечники закрепляются обжатием. Изоляционная лента предназначена для изолирования токопроводящих частей. Чаще всего применяют прорезиненную одностороннюю ленту шириной 10, 15 или 20 мм. Основой изоляционной ленты является пропитанная клейким составом хлопчатобумажная ткань.

К электромонтажным изделиям относятся также ответвительные коробки, силовые ящики, квартирные щитки.

Ответвительные коробки (рис. 15) предназначены для ответвления, протяжки и соединения проводов при открытой и скрытой прокладке и представляют собой металлические или пластмассовые корпуса, закрытые или металлическими пластмассовыми крышками. Некоторые коробки имеют утонения, выламываемые на монтаже для ввода проводов, или надрубы.

Для скрытой проводки, выполняемой проводами АППВ и аналогичными, применяют коробки типов У197, У198, У419, У191. Для открытых проводок, выполняемых плоскими проводами и проводом АПРФ, используют коробки У191, У194, У419, а для проводок, выполненных кабелями АВВГ, АНРГ, - коробки КОР-73.

Электромонтажные изделия
Рис. 15. Ответвительная коробка:

Коробки и закладные кольца для установки выключателей, переключателей и штепсельных розеток при скрытой электропроводке представляют собой металлический или пластмассовый корпус. Закладные кольца замоноличивают в стеновые панели на домостроительных комбинатах, но их можно устанавливать и при монтаже.

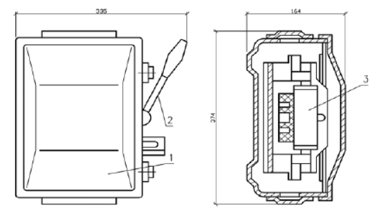
Силовые ящики (рис. 16) служат вводными устройствами для защиты электроприемников и распределения электрической энергии, а также для оперативных отключений.

Электромонтажные изделия
Рис. 16. Силовой ящик: 1 - корпус; 2 - рубильник; 3 - предохранители

В строительстве часто применяют ящики ЯВП2-60 и ЯРВМ-6122. Можно применять и другие ящики аналогичной конструкции, например типа ЯРП11-302 или ЯБПВУ-1м.

Выпускаются ящики для эксплуатации при температуре воздуха от -40 до +45 °C или от -10 до +40 °C.

Ящики монтируют на стене с наружной стороны дома в вертикальном положении, рукоятка рубильника располагается обычно справа. Допускается отклонение ящика от рабочего положения до 5° в любую сторону.

Обычно конструкция ящиков обеспечивает блокировку рубильника с крышкой таким образом, что при включенном рубильнике крышку невозможно открыть, а при открытой крышке рубильник невозможно включить без нарушения блокировки. Ящики допускают ввод и присоединение сверху или снизу бронированных и небронированных кабелей и проводов в трубах с алюминиевыми или медными жилами с резиновой или пластмассовой изоляцией с сечением жил до 50 мм на фазу при номинальном токе 100 А.

При присоединении построек к электрической сети в цепочку (рис. 17) ящик соединяют следующим образом: к вводным зажимам рубильника присоединяют по два провода. Сечение проводника, присоединяемого от первого ящика к последующему, составляет не более половины сечения проводника, присоединенного к первому ящику со стороны сети.

Электромонтажные изделия
Рис. 17. Схема присоединения приусадебных построек в цепочку: 1- распределительный ящик; 2 - кабель; 3 - провода к квартирному щитку У некоторых конструкций ящиков предусмотрено запирание рукоятки рубильника в положении "отключено" висячим замком.

В домах частной постройки и в квартирах используются так называемые квартирные щитки.

Квартирные щитки предназначены для распределения и учета электрической энергии, а также для защиты отходящих линий при перегрузках и коротких замыканиях.

Щитки эксплуатируются при температуре окружающего воздуха от + 1 до +40 °C, относительной влажности воздуха до 80 % при температуре 25 °C и при более низких температурах без конденсации влаги в окружающей среде, не содержащей газов, жидкостей и пыли в концентрациях, нарушающих работу щитков. Рабочее положение щитка - вертикальное, с отклонением не более 1°.

На щитках устанавливают автоматические выключатели переднего присоединения типов АЕ 1000, АБ-25, ВАН с номинальным током расцепителей 16 и 25 А или однополюсные резьбовые предохранители, пакетный выключатель, используемый в качестве вводного аппарата, и счетчик.

Некоторые щитки изготовляют с нулевой шиной, имеющей зажимы для присоединения медных или алюминиевых жил сечением, равным сечению фазных проводов. Однополюсные плавкие резьбовые предохранители состоят из основания с крышкой, крепежных деталей и плавких вставок.

Сменные плавкие вставки заводского изготовления представляют собой заполненные песком фарфоровые или стеклянные трубки, на концы которых надеты металлические колпачки, соединенные между собой плавким мостиком (калиброванной проволокой).

Номинальные токи плавких вставок исполнения I - 6 и 10 А; исполнения II - 6, 10, 16, 20, 25, 40 и 60 А.

При прохождении через плавкие вставки тока, превышающего в 1,6-2 раза номинальный (в зависимости от исполнения), они плавятся в течение 1 ч, при прохождении токов КЗ срабатывают сразу же и прерывают электрическую цепь.

При перегорании плавкой вставки ее следует заменить. Для этого плавкие вставки устанавливают в головку предохранителя (рис. 18). Головки исполнения II имеют индикаторы срабатывания.

На фарфоровом основании предохранителя закреплена контактная пластина, один конец которой размещен в контрольной фарфоровой гильзе с отверстием в центре. Диаметр отверстия выполняют таким, что в него входит плавкая вставка только определенного диаметра (диаметр вставки определяется ее номинальным током): чем он больше, тем больше номинальный ток. В предохранителях на 6 А диаметр отверстия равен 7 мм, и в него можно установить плавкую вставку диаметром 6 мм. Установить в такой предохранитель плавкую вставку на номинальный ток 10 А, диаметр которой 8 мм, не удастся, так как при этом замкнуть электрическая цепь не позволит конструктивное исполнение контрольной гильзы, которое предотвращает возможные ошибки при эксплуатации и монтаже.

Контрольные гильзы в предохранителях на номинальный ток 20 и 60 А не устанавливают. Контрольные гильзы и индикаторы

срабатывания окрашивают в зависимости от номинального тока плавкой вставки. Так, для 10 А гильза синяя, для 15 и 40 А - зеленая и для 6 и 25 А не окрашивается.

Электромонтажные изделия
Рис. 18. Размещение плавких вставок в предохранителе: 1 - головка предохранителя; 2 - плавкая вставка; 3 - контактная пластина; 4 - контрольная фарфоровая гильза

Защитными средствами энергосистемы дома служат предохранители и автоматические выключатели.

Резьбовые предохранители серии ПАР-6,3 или ПАР-10 имеют ряд преимуществ перед плавкими предохранителями: они обеспечивают более совершенную защиту, не требуют замены, просты в управлении. Автоматические предохранители имеют термобиметаллические и электромагнитные расцепители, осуществляющие защиту электрических цепей от перегрузок и токов короткого замыкания. При прохождении тока, в 2 раза превышающего номинальный, предохранитель срабатывает в течение 2,5 мин.

Электромагнитный элемент имеет отсечку (мгновенное отключение) при 7-10-кратном токе по отношению к номинальному.

Автоматические выключатели (рис. 19) АБ-25 м и АЕ-1000 предназначены для защиты однофазных осветительных сетей от токов перегрузки и короткого замыкания, а также для включения и отключения этих цепей вручную.

Автоматический выключатель АЕ-1031 состоит из основания, крышки, механизма свободного расцепления, расцепителя максимального тока (теплового, электромагнитного или комбинированного) и дугогасительного устройства, представляющего собой камеру с деионной решеткой из стальных пластин. Электромагнитный расцепитель максимального тока срабатывает только при коротком замыкании без выдержки времени. Электромагнитный расцепитель содержит сердечник, якорь и возвратную пружину. При коротком замыкании якорь притягивается к сердечнику и воздействует на отключающий элемент, вызывая быстрое срабатывание (отключение) выключателя. Тепловой расцепитель срабатывает с обратнозависимой от тока выдержкой времени при перегрузках и коротком замыкании.

Автоматический выключатель АБ-25 м имеет тепловой расцепитель, биметаллический термоэлемент которого соединяется последовательно с коммутирующей контактной системой. При возникновении токов короткого замыкания или перегрузке термоэлемент изгибается, освобождая при этом рычаг механизма отключения; выключатель срабатывает, контакты размыкаются.

Номинальные токи расцепителей устанавливаются на заводе-изготовителе и в процессе эксплуатации не регулируются. Изменять установки расцепителей нельзя.

При перегрузке или токах короткого замыкания, превышающих установку тока срабатывания, контактная система отключается автоматически, причем вне зависимости от того, будет или не будет удерживаться рукоятка управления вручную. Иными словами, механизм свободного расцепления выключателей обеспечивает мгновенное замыкание или размыкание контактной системы при автоматическом или ручном управлении.

Электромонтажные изделия
Рис. 19. Выключатель автоматический: 1 - корпус; 2 - указатель срабатывания; 3 - рукоятка управления.

Позиции рукоятки управления: I - включен; II - выключатель отключился автоматически; III - отключение вручную; IV - взвод для автоматическою срабатывания

На автоматическое отключение выключателей указывает рукоятка управления, которая устанавливается в соответствующее положение. Для включения выключателя после срабатывания рукоятку необходимо перевести в положение взвода для автоматического срабатывания, а затем перевести в положение "включен".

Для защиты от перенапряжения (через предохранители и автоматические выключатели) и учета потребляемой электроэнергии используют счетчики. Они бывают одно- и трехфазными.

Устанавливают счетчик в соответствии с требованиями ПУЭ. В месте крепления кожуха счетчика должна быть пломба с клеймом, указывающим срок его проверки.

При установке трехфазных счетчиков давность пломбы должна быть не более 12 месяцев, однофазных - не более 2 лет. Внешний вид счетчиков должен свидетельствовать о правильности его хранения. Крышку колодки для подключения проводов пломбирует служба владельца сетей при допуске счетчика к эксплуатации или при его замене. Ответственность за сохранность и целостность счетчика и пломб на нем несет потребитель. Владелец сетей обеспечивает плановую замену счетчиков, принятых на обслуживание, в сроки, установленные Госстандартом.

При нарушении проводки к счетчику и его повреждении по вине потребителя ремонт, замену и проверку аппарата оплачивает потребитель. Кроме того, энергоснабжающая организация имеет право требовать приобретения нового электросчетчика взамен поврежденного.

Для нормальной работы счетчика нужно соблюдать следующие требования:

  • Счетчик нужно расположить в сухом помещении с температурой в зимнее время не ниже 0 °C. Загромождать подход к счетчику нельзя.
  • Высота от пола до места подключения проводов к счетчику 0,8-1,7 м.
  • Не допускается размещать на счетчике какие-либо предметы. Как правило, место для счетчика выбирают вблизи входной двери на стене, имеющей достаточно жесткую конструкцию.
  • Счетчик следует устанавливать на специальном щитке вместе с необходимыми коммутационными и защитными аппаратами.
  • Счетчики допускается крепить на деревянных, пластмассовых или металлических щитках, при этом аппараты защиты линий, отходящих от него, можно монтировать отдельно, но не далее 10 м по длине проводки.

Для безопасной установки или замены счетчика нужно предусмотреть возможность отключения питающих проводов. Расстояние от счетчика до отключающего его коммутационного или защитного аппарата не должно превышать 10 м. Обычно этому требованию отвечает вводное устройство, но лучше использовать пакетный выключатель на щитке, общем со счетчиком.

При однофазном ответвлении необходим счетчик однофазного тока на 220 В и номинальную силу тока 5 или 10 А.

Однофазный счетчик предназначен для непосредственного учета потребляемой энергии в однофазных цепях переменного тока частотой 50 Гц и рассчитан на работу при номинальном напряжении 127 или 220 В. Номинальные значения напряжения (127 или 220 В), токов (5, 10 или 20 А), перегрузочная способность, постоянная счетчика указаны на его щитке.

На щитке счетчика указывается также наибольшая допустимая сила тока, которая в 3-3,5 раза больше номинальной, например для счетчика на силу тока 5 А наибольшая допустимая сила тока - 15-17 А, для счетчика на 10 А - 30-34 А.

При трехфазном ответвлении применяют трехфазный счетчик для четырехпроводной сети напряжением 380/220 В на 5 или 10 А. При этом допускается использовать три однофазных счетчика на 220 В. Проводку от вводного устройства к щитку со счетчиком выполняют кабелем или изолированными проводами в металлической трубе без каких-либо сращиваний, паек и других нарушений цельности провода. Сечение жил принимают в зависимости от мощности токоприемников, но не менее 4 мм2 для алюминиевых проводов и 2,5 мм2 для медных.

Электромонтажные изделия
Рис. 20. Трехфазный учетно-распределительный щиток: 1- трехполюсный выключатель; 2 - трехфазный счетчик для четырехпроводной сети; 3 - кожух; 4 - приборная панель; 5 - отходящие кабели; 6 - автоматический выключатель трехфазной группы; 7 - планка с зажимами для нулевых проводов; 8 - резьбовые предохранители однофазных групп; 9 - питающий кабель

Если владельцем электрической сети не оговорена предельно допустимая сила тока, то защита во вводном устройстве или на ответвлении должна отключать ток, длительно превышающий 25 А, т. е. номинальный ток плавкой вставки или ток установки автоматического выключателя должен быть 20 или 25 А.

При монтаже электропроводки, подключаемой к счетчику, необходимо оставлять концы проводов длиной не менее 120 мм. Изоляция или оболочка нулевого провода на длине 100 мм перед счетчиком должна иметь отличительную окраску.

В зависимости от расположения помещений в доме проводку от вводного устройства к счетчику можно вести как по наружным стенам, так и внутри здания. Проход трубы через стену уплотняют битумом или цементно-алебастровым раствором. Для защиты провода (кабеля) в месте его прохода через стену применяют отрезок металлической или пластмассовой трубы. На концы трубы с наружной стороны надевают воронку, с внутренней - втулку. Защиту от проникновения влаги обеспечивают битумной заливкой.

Учетно-распределительные щитки крепятся к стене или устанавливаются в нише (в каменных постройках). Однофазные щитки выпускают с выключателем и без него, на две и на три отходящие группы, с резьбовыми предохранителями (пробками) и автоматическими выключателями.

Широко распространенные однофазные щитки прежних выпусков с аппаратами защиты в обоих отходящих проводах, применять в электропроводке опасно, а в условиях приусадебного хозяйства недопустимо.

Трехфазные учетно-распределительные щитки (рис. 20) выпускают с выключателями со стороны ввода, а на отходящих линиях могут быть плавкие предохранители либо автоматы.

Автор: Банников Е.А.

Смотрите другие статьи раздела Электромонтажные работы.

Читайте и пишите полезные комментарии к этой статье.

<< Назад

Последние новости науки и техники, новинки электроники:

Питомцы как стимулятор разума 06.10.2025

Помимо эмоциональной поддержки, домашние питомцы могут оказывать заметное воздействие на когнитивные процессы, особенно у пожилых людей. Новое масштабное исследование показало, что общение с кошками и собаками не просто улучшает настроение - оно действительно способствует замедлению возрастного снижения умственных способностей. Работа проводилась в рамках проекта Survey of Health, Ageing and Retirement in Europe (SHARE), охватывающего период с 2004 по 2022 год. В исследовании приняли участие тысячи европейцев старше 50 лет. Анализ показал, что владельцы домашних животных демонстрируют более устойчивые когнитивные функции по сравнению с теми, кто не держит питомцев. Особенно выражен эффект оказался у владельцев кошек и собак. Согласно данным ученых, владельцы собак дольше сохраняют хорошую память, в то время как хозяева кошек медленнее теряют способность к быстрому речевому взаимодействию. Исследователи связывают это с тем, что ежедневное взаимодействие с животными требует внимани ...>>

Мини-ПК ExpertCenter PN54-S1 06.10.2025

Компания ASUSTeK Computer презентовала новый мини-компьютер ASUS ExpertCenter PN54-S1. Устройство ориентировано на пользователей, которым важно сочетание производительности, энергоэффективности и универсальности - от офисных задач до мультимедийных проектов. В основе ExpertCenter PN54-S1 лежит современная аппаратная платформа AMD Hawk Point, использующая архитектуру Zen 4. Это поколение чипов отличается улучшенным управлением энергопотреблением и повышенной вычислительной мощностью. Новинка доступна в конфигурациях с процессорами Ryzen 7260, Ryzen 5220 и Ryzen 5210, представленных AMD в начале 2025 года. Таким образом, устройство охватывает широкий диапазон задач - от базовых офисных до ресурсоемких вычислений. Корпус мини-ПК выполнен из прочного алюминия и имеет размеры 130&#215;130&#215;34 мм, что делает его практически незаметным на рабочем столе или за монитором. Несмотря на компактность, внутренняя компоновка позволяет установить два модуля оперативной памяти SO-DIMM ...>>

Глазные капли, возвращающие молодость зрению 05.10.2025

С возрастом человеческий глаз постепенно теряет способность четко видеть на близком расстоянии - развивается пресбиопия, или возрастная дальнозоркость. Этот естественный процесс связан с утратой эластичности хрусталика и ослаблением цилиарной мышцы, отвечающей за фокусировку. Миллионы людей по всему миру сталкиваются с необходимостью носить очки для чтения или прибегают к хирургическим методам коррекции. Однако исследователи из Центра передовых исследований пресбиопии в Буэнос-Айресе представили решение, которое может стать удобной и неинвазивной альтернативой - специальные глазные капли, способные улучшать зрение на длительный срок. Разработку возглавила Джованна Беноцци, директор Центра. По ее словам, цель исследования состояла в том, чтобы предоставить пациентам с пресбиопией эффективный и безопасный способ коррекции зрения без хирургического вмешательства. Новые капли, созданные на основе пилокарпина и диклофенака, показали убедительные результаты: уже через час после первого пр ...>>

Случайная новость из Архива

Чистый воздух - лучшее условие для высоких школьных оценок 05.05.2025

Влияние качества воздуха на здоровье давно стало объектом внимания ученых и врачей, но в последние годы стало очевидно, что от состояния атмосферы внутри помещений зависит не только самочувствие, но и успеваемость школьников. Один из ярких примеров - исследование, проведенное в Милане, где специалисты впервые масштабно оценили эффект от установки воздухоочистителей в школьных классах. В условиях мегаполиса, страдающего от смога и высокой концентрации загрязняющих веществ, такой эксперимент оказался особенно актуален.

Работа проводилась в пяти учебных заведениях с участием примерно двух тысяч школьников. В рамках проекта в классах были установлены современные очистители воздуха. По результатам наблюдений стало ясно, что частота пропусков занятий снизилась на 11 процентов, а в среднем каждый ученик стал отсутствовать на 1,3 дня в году меньше. Особенно заметное улучшение отмечалось среди тех учащихся, кто ранее регулярно пропускал школу, а также среди детей-иностранцев, часто испытывающих повышенную уязвимость к неблагоприятным факторам окружающей среды.

Параллельно с мониторингом посещаемости исследователи измеряли качество воздуха в помещениях. Они зафиксировали значительное снижение уровня загрязнения: концентрация мелких твердых частиц (PM2.5), которые считаются одними из наиболее вредных для дыхательной системы, уменьшилась на 28 процентов. Ученики, по их собственным словам, стали реже сталкиваться с проблемами дыхания и ощущали общее улучшение самочувствия.

Тем не менее, ученые подчеркивают, что остается неясным, какие именно компоненты загрязненного воздуха оказали наибольшее влияние. Это могли быть как твердые частицы PM2.5, так и пыльца, аллергены или патогены. Сложность интерпретации результатов также связана с отсутствием контрольной группы, в которой воздухоочистители были бы неактивны. Это не исключает возможное влияние эффекта плацебо - сама видимость заботы о чистом воздухе могла повлиять на отношение учеников и их родителей к посещаемости.

Особое значение полученные данные имеют для таких городов, как Милан, где проблема загрязнения воздуха усугубляется природными и географическими факторами. Однако исследователи подчеркивают, что их выводы применимы и к другим европейским мегаполисам, где уровни загрязнения стабильно превышают санитарные нормы. Внедрение подобных технологий может стать важным шагом в направлении не только охраны здоровья, но и повышения образовательных результатов.

Опыт миланских школ демонстрирует, что забота о микроклимате в учебной среде приносит реальные и измеримые результаты. Хотя необходимы дальнейшие исследования, уже сейчас можно сказать, что чистый воздух становится неотъемлемой частью современной образовательной инфраструктуры, способной не только оберегать здоровье, но и способствовать успеху в учебе.

Другие интересные новости:

▪ Источники питания для систем безопасности Mean Well PSC-160

▪ Фотокамера оставляет следы

▪ Новый источник питания 0 до 32 В

▪ Отопление солью

▪ Яркий свет улучшает работу важных генов

Лента новостей науки и техники, новинок электроники

 

Интересные материалы Бесплатной технической библиотеки:

▪ раздел сайта Эффектные фокусы и их разгадки. Подборка статей

▪ статья Булгаков Михаил Афанасьевич. Знаменитые афоризмы

▪ статья Сколько лет спортивным прыжкам в воду? Подробный ответ

▪ статья Швея (портной). Должностная инструкция

▪ статья Монтаж электросчетчиков и электропроводки к ним. Энциклопедия радиоэлектроники и электротехники

▪ статья Барометрическое давление и QSO. Энциклопедия радиоэлектроники и электротехники

Оставьте свой комментарий к этой статье:

Имя:


E-mail (не обязательно):


Комментарий:





Главная страница | Библиотека | Статьи | Карта сайта | Отзывы о сайте

www.diagram.com.ua

www.diagram.com.ua
2000-2025