Menu Home

Бесплатная техническая библиотека для любителей и профессионалов Бесплатная техническая библиотека


ЭНЦИКЛОПЕДИЯ РАДИОЭЛЕКТРОНИКИ И ЭЛЕКТРОТЕХНИКИ
Бесплатная библиотека / Электрику

Монтаж открытой электропроводки. Энциклопедия радиоэлектроники и электротехники

Бесплатная техническая библиотека

Энциклопедия радиоэлектроники и электротехники / Электромонтажные работы

Комментарии к статье Комментарии к статье

Открытую проводку прокладывают по поверхностям стен и потолков, следовательно, ее монтаж можно начинать только тогда, когда закончены все отделочные работы, включая покраску или оклеивание обоями.

Монтаж электропроводки на роликах и клицах

По легкосгораемым поверхностям, например по деревянным основаниям, допускается прокладка проводов при креплении их на роликах и специальных пластмассовых клицах (рис. 30).

Монтаж открытой электропроводки
Рис. 30. Крепление проводов марки АППВ на роликах по деревянным основаниям: а - вид сбоку; б - разрез; в - вид сверху: 1 - пряжка; 2 - полоска размером 0,5 x 10 x 70 мм; 3 - провод; 4 - прокладка из электроизоляционного картона размером 0,5 x 14 x 50 мм; 5 - шуруп 5 x 50 мм; 6 - ролик; 7 - пленка разделительная; 8 - деревянное основание.

Ролики крепятся к основаниям шурупами с полукруглой головкой. Чтобы не расколоть фарфоровый ролик при креплении гвоздями, под шляпку гвоздя надо подложить эластичную шайбу.

При прокладке проводов в сухих или влажных помещениях применяются ролики РШ-4, РП-2,5, РП-6. Для сырых помещений пригодны ролики только типа РСШ-4, РСВ-4. Расстояние между смежными роликами, располагаемыми вдоль трассы электропроводки, не должно превышать 80 см, а между роликами в ряду - 3,5 см. Провода к роликам крепятся следующим образом. Один конец провода закрепляют на первом ролике, затем натягивают провод вдоль линии установки роликов, отмечая на нем места ответвлений. После этого провод снимают, присоединяют к нему провода ответвлений и окончательно натягивают. Крепят провода сначала на концевых роликах прямых участков трассы, потом на среднем ролике и окончательно укрепляют на всех промежуточных роликах.

При установке ролика под шляпку шурупа подкладывают металлическую полоску шириной 10 мм. В качестве металлической полоски используют оцинкованный или покрытый антикоррозийным составом листовой металл. На металлическую полоску кладут прокладку из электрокартона шириной 14 мм. Провод укладывают плашмя на прокладку, после чего концы металлической полоски вместе с картонной прокладкой загибают и крепят с помощью пряжки или проволочной петли.

Крепление на роликах проводов марок АПН, АППВС, ППВС без разделительной пленки между жилами показано на рис. 31.

Монтаж открытой электропроводки
Рис. 31. Крепление проводов марки АПН, АППВС, ППВС на роликах: а - вид сбоку; б - вид сверху (размеры даны в мм).

Способы закрепления проводов на роликах представлены на рис. 32.

Монтаж открытой электропроводки
Рис. 32. Способы закрепления проводов на роликах: 1 - провод; 2 - тесьма.

Схема прокладки в помещении одножильных проводов марок АПР, АППВ, АПРВ, АПН приведена на рис. 33, все расстояния даны в мм.

Монтаж открытой электропроводки
Рис. 33. Прокладка проводов марок АППВ, АПР, АПРВ, АПН внутри помещения на роликах: а - 1,5-2 высоты ролика; 1 - розетка штепсельная; 2 - ролик; 3 - светильник; 4 - крюк для крепления светильника; 5 - провод электропроводки; 6 - выключатель.

Если используются провода без разделительной пленки, например марки АПН, АППВС, ППВС, то в местах их крепления делают продольный разрез по изоляции между проводами так, чтобы не повредить изоляцию, надевают провод на головку ролика и привязывают к роликам с помощью тесьмы или тонкого шпагата.

На роликах прокладывают скрученные двужильные провода марки ПРД, ПРВД. Их закрепляют сначала на крайних роликах, затем на среднем и на всех остальных. Провода привязывают только на крайних роликах, на промежуточные же только надевают. Провода закрепляются на роликах хлопчатобумажной тесьмой или тонким шпагатом.

В углах помещения устанавливают ролики от потолков и смежных стен на расстоянии в 1,5-2 высоты ролика. На таком же расстоянии от проходов через стены устанавливают концевые ролики.

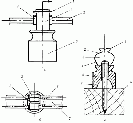
При прокладке проводов из сухого помещения в сырое, из сырого помещения в другое сырое и при прокладке проводов из помещений наружу каждый провод прокладывают в отдельной изоляционной трубке (рис. 34). При прокладке проводов из сырого помещения в сырое воронки необходимо залить с обеих сторон прохода изолирующим компаундом.

Монтаж открытой электропроводки
Рис. 34. Монтаж электропроводки при прокладке ее через стены и междуэтажные перекрытия в помещениях: а - переход из сухого помещения в сухое; б - переход из сухого помещения в сырое: 1 - провод; 2 - ролик; 3 - шуруп; 4 - прорезиненная или полихлорвиниловая изоляционная лента; 5 - изоляционная трубка; 6 - воронка фарфоровая; 7 - втулка фарфоровая.

При монтаже проводов при проходе их из одного сухого помещения в другое сухое помещение все провода допускается прокладывать в одной изоляционной трубке.

При проходе через стену как к крайним роликам, так и к концевым провода привязывают с одной и другой стороны крестом с хомутом мягкой стальной проволокой (лучше оцинкованной) диаметром 0,6-0,8 мм. В местах привязки к ролику провода обматывают в два слоя прорезиненной или полихлорвиниловой изоляционной лентой во избежание повреждения их изоляции.

К промежуточным роликам провода привязывают крестом, а к угловым - крестом с хомутом. Возможно крепление проводов к роликам с помощью полихлорвиниловых колец. Кольца нарезают из полихлорвиниловой трубки диаметром 40 мм с толщиной стенки 1,5-2 мм. При таком способе крепления подмотка на провод изоляционной ленты не требуется.

Монтаж электропроводки при креплении проводов и кабелей металлической полоской и скобами

Монтаж проводов и кабелей марок АНРГ, АВРГ, АПВГ, АВВГ, АВП, ABB по деревянным и кирпичным основаниям выполняют с помощью металлической полоски, как показано на рис. 35, а, б или с помощью полоски, вмазанной в основание (рис. 35, в).

Монтаж открытой электропроводки
Рис. 35. Крепление проводов и кабелей с помощью металлической прибиваемой полоски: а - по деревянным основаниям; б - по кирпичным основаниям; в - полоской, вмазанной в основание (в): 1 - кабель; 2 - полоска; 3 - гвоздь П 1,6 x 40 мм; 4 - пряжка; 5 - прокладка электрокартона; 6 - алебастр.

Крепление выполняют следующим образом. Предварительно из белой жести, оцинкованных или окрашенных стальных листов нарезают полоски шириной не менее 10 мм, толщиной 0,3-1 мм. Длину полоски берут в зависимости от марки кабеля и его поперечного сечения - она может составлять 120-200 мм. По размеченной трассе электропроводки прибивают полоску к основанию и оборачивают ею закрепляемый кабель. По бетонным и кирпичным основаниям полоску прибивают дюбель-гвоздем. При ручном забивании используют дюбель-гвоздь типа ДГР 3,5 х 25 мм и ДГР 3,5 х 35 мм. Если используются дюбель-гвозди с рифлением типа ДГ 4,5 х 30 мм, ДГ 5,5 х 35 мм, ДГ 6,8 х 35 мм, то для их забивки применяют специальный пистолет. По деревянным основаниям полоску прибивают гвоздями диаметром 1,6 мм, длиной 40-50 мм. При креплении проводов полосками применяют полоски-пряжки типа К395, К398, которые закрепляют пряжкой типа К407.

При креплении проводов полоской, вмазанной в основание, по размеченной трассе высверливают или выдалбливают гнезда. Диаметр сверла, пробойника или бура должен составлять 10 мм, глубина гнезда - 30-40 мм. Полоску вмазывают в гнездо алебастровым раствором. Провода закрепляют в полоске пряжкой или в замок. Длина полоски, закрепляемой в замок, должна быть на 10 мм больше длины полоски, закрепляемой под пряжку. Провода защищают прокладками из электрокартона, которые помещают между полоской и проводом. Электрокартон должен выступать с обеих сторон полоски на 1,5-2 мм. Расстояние между полосками должно составлять 50 см, а между полосками, вмазанными в основание, - 40 см.

К кирпичным, бетонным и деревянным основаниям провода и кабели крепят однолапковыми или двухлапковыми скобами. По кирпичным и бетонным основаниям скобы крепят капроновыми дюбелями с шурупами, по деревянным основаниям - шурупами. Для закрепления скобы с помощью капронового распорного дюбеля надо сначала разметить трассу электропроводки, затем просверлить по трассе в основании гнезд углубления диаметром 8 мм, глубиной 35 мм, вставить дюбель в гнездо нажимом от руки или слегка ударяя молотком. Затем шуруп пропускают в отверстие скобы, вставляют его в дюбель и завертывают с помощью отвертки.

При креплении кабелей горизонтальной прокладки по стенам скобами с одной лапкой последняя должна располагаться ниже кабеля. Кабели при прокладке по стенам и на потолках, а также на углах и концах крепят скобами с двумя лапками. Расстояние между скобами не должно превышать 50 см.

Допускается крепление кабелей при вертикальной прокладке скобами с одной лапкой с любой стороны кабеля при наличии на скобе ребра жесткости.

Открытый монтаж электропроводок по деревянным основаниям

Плоские провода и кабели в оболочке из трудносгораемых или несгораемых материалов, например провода АППР, можно прокладывать непосредственно по сгораемым основаниям с креплением гвоздями. Гвозди должны быть диаметром 1,4-1,6 мм, длиной 25-32 мм, со шляпками диаметром до 3 мм. Их надо забивать по средней линии разделительной пленки между жилами. Забивают гвозди молотком массой до 200 г с применением оправки, защищающей провода от повреждений во время работы (рис. 36).

Монтаж открытой электропроводки
Рис. 36. Крепление плоских проводов гвоздями.

Рекомендуется подкладывать под шляпки гвоздей эбонитовые, пластмассовые или резиновые шайбочки (для плоских проводов). Четырехжильные провода крепят полосками, нарезанными из белой жести, оцинкованных или окрашенных стальных листов. Ширина полоски - не более 10 мм, толщина - 0,3-1 мм, длина - 80 мм.

Под металлические полоски надо подкладывать прокладки из электроизоляционного картона, так чтобы они выступали на 1,5-2 мм с обеих сторон полоски. Если нет электроизоляционного картона, можно использовать любой картон толщиной 0,3-0,5 мм.

Под открытые провода марок АПВ, АППВ, АПН, АПРВ, проложенные по сгораемым основаниям, необходимо положить слой листового асбеста толщиной не менее 3 мм. Он должен выступать с каждой стороны провода не менее чем на 10 мм.

Для закрепления проводов применяют металлические полоски. При креплении проводов полосками последние закрепляют пряжкой типа К-407 или в замок. Длина полоски, закрепляемой в замок, должна быть больше длины полоски под пряжку на 10 мм. Под металлическими полосками провода следует защищать прокладками из электроизоляционного картона, выступающими на 1,5-2 мм с обеих сторон полоски. На рис. 37 показана открытая прокладка электропроводки в помещении непосредственно по деревянным основаниям.

Монтаж открытой электропроводки
Рис. 37. Открытая прокладка проводов и кабелей (общий вид) внутри помещения: 1 - розетка штепсельная; 2 - коробка разветвительная; 3 - электросчетчик; 4 - места крепления проводов к основанию; 5 - провод электропроводки; 6 - светильник; 7 - крюк для крепления светильника; 8 - выключатель.

Монтаж электропроводки в стальных и пластмассовых трубах

В стальных трубах электропроводка может выполняться открыто по поверхности, скрыто, при наружной прокладке проводов, а также при вводе в здание и монтаже электропроводки в чердачных помещениях.

Прежде чем приступить к монтажу электропроводки, стальные трубы следует очистить от ржавчины и снять заусенцы в торцевой части, чтобы не повредить провода при их протаскивании внутрь трубы. Для защиты от коррозии трубы надо покрасить или покрыть битумным лаком как снаружи, так и внутри. Оцинкованные трубы окрашивать не следует. При укладке труб в бетоне снаружи их не окрашивают. Сгибать трубы следует на специальном оборудовании, чтобы не смять их на углах. Углы изгиба должны быть равны 90°. При скрытой прокладке труб радиус изгиба должен составлять не менее шести наружных диаметров трубы, при открытой прокладке - не менее четырех, а при прокладке в бетоне - не менее десяти. Для выполнения криволинейных участков трассы электропроводки, а также ввода проводов в корпус электроустановки применяют гибкие вводы типа К1080-К1088. Вводы состоят из металлорукава с полимерным покрытием, вводной и трубной муфт.

Для соединения труб между собой используют муфты типа ТР, МТ. Муфта выполняется с металлорукавами или патрубками. Соединение с помощью муфт делается без резьбы. Вводные патрубки типа У476-У479 используются для ввода в металлические корпуса электроустановок стальных труб электропроводок и металлорукавов.

Для обеспечения надлежащего заземляющего контакта между корпусом электроустановки и трубами используют установочные заземляющие гайки типа К480-К486.

Для крепления стальных труб электропроводки к различным металлоконструкциям применяют хомутики типа С437-С442 и накладки типа НТ.

Для крепления стальных труб электропроводок, а также проводов и кабелей к различным основаниям используют скобы типа К142-К470. Их крепят к основаниям с помощью болтов, винтов, шурупов.

Перед затяжкой проводов в трубы закладывают стальную проволоку или трос диаметром 3-4 мм. Концы проводов крепят к тросу или стальной проволоке и с их помощью протягивают внутрь трубы провод.

Стальные трубы электропроводок могут быть использованы в качестве заземляющих или зануляющих проводников, если на всем протяжении их обеспечивается надлежащий электрический контакт.

В пластмассовые трубы можно прокладывать провода марок АПВ, АПРТО, АПРВ, АПР, АППВС, АППВ, АПН.

Полиэтиленовые трубы можно применять только для скрытых электропроводок по несгораемым основаниям вместо стальных труб.

Винипластовые трубы следует применять для скрытых и открытых электропроводок вместо стальных труб в качестве защитной оболочки от механических повреждений. Нарезка резьбы на винипластовых трубах не допускается. Можно делать только накатку. Глубина борозд, а также гнезд в них под установку разветвительных и протяжных коробок, установочных изделий утопленного типа должна быть определена с учетом толщины штукатурного или облицовочного слоя.

Винипластовые и полиэтиленовые трубы следует прокладывать ниже труб отопления или горячего водоснабжения. При пересечении винипластовых и полиэтиленовых труб со стальными трубами отопления расстояние между ними должно быть не менее 5 см. Обходы препятствий на горизонтальных участках прокладки труб не должны создавать возможности скопления влаги ("водяные мешки"). Пластмассовые трубы между собой должны соединяться муфтами типа У438-У442, У297, У276-У279 из того же материала, что и трубы. Концы труб должны плотно прилегать друг к другу и находиться в середине соединительной муфты .

Соединение и ответвление проводов следует выполнять в коробках или ящиках. Соединение проводов непосредственно в трубе не допускается.

Внутренний диаметр пластмассовых труб при прокладке в них нескольких проводов должен соответствовать числу и диаметру прокладываемых проводов и быть не менее 11 мм. Радиусы изгиба пластмассовых труб должны составлять не менее десятикратного диаметра трубы при прокладке труб в бетонных массивах (как исключение допускается шестикратный радиус).

Для обеспечения свободного затягивания проводов в трубы, а также в случае необходимости их замены, расстояние между протяжными или соединительными коробками не должно превышать 10 м на прямом участке трассы, 7,5 м - на участке трассы с одним углом, 5 м - на участке трассы с двумя или тремя углами.

Пластмассовые трубы, не введенные в коробки и корпуса аппаратов и приборов, надо оконцовывать изолирующими втулками типа У292, У293 или воронками. Скрытая прокладка электропроводов в винипластовых трубах по сгораемым стенам (деревянным), перекрытиям и конструкциям допускается при условии прокладки труб по слою листового асбеста толщиной не менее 3 мм или по слою штукатурки толщиной не менее 5 мм, выступающих с каждой стороны трубы не менее чем на 5 мм, с последующим заштукатуриванием трубы слоем толщиной не менее 10 мм.

Винипластовые трубы можно прокладывать по сгораемым основаниям, покрытым мокрой штукатуркой слоем толщиной не менее 20 мм.

К конструкциям и различным основаниям пластмассовые трубы крепятся скобами типа СД-311, СО-27, КС, КСП. Скобы типа КС и КСП применяются при открытой электропроводке.

Автор: Коршевр Н.Г.

Смотрите другие статьи раздела Электромонтажные работы.

Читайте и пишите полезные комментарии к этой статье.

<< Назад

Последние новости науки и техники, новинки электроники:

Глазные капли, возвращающие молодость зрению 05.10.2025

С возрастом человеческий глаз постепенно теряет способность четко видеть на близком расстоянии - развивается пресбиопия, или возрастная дальнозоркость. Этот естественный процесс связан с утратой эластичности хрусталика и ослаблением цилиарной мышцы, отвечающей за фокусировку. Миллионы людей по всему миру сталкиваются с необходимостью носить очки для чтения или прибегают к хирургическим методам коррекции. Однако исследователи из Центра передовых исследований пресбиопии в Буэнос-Айресе представили решение, которое может стать удобной и неинвазивной альтернативой - специальные глазные капли, способные улучшать зрение на длительный срок. Разработку возглавила Джованна Беноцци, директор Центра. По ее словам, цель исследования состояла в том, чтобы предоставить пациентам с пресбиопией эффективный и безопасный способ коррекции зрения без хирургического вмешательства. Новые капли, созданные на основе пилокарпина и диклофенака, показали убедительные результаты: уже через час после первого пр ...>>

Цифровая рация Xiaomi Digital Walkie Talkie 05.10.2025

Компания Xiaomi представила современное устройство, объединившее классические принципы радиосвязи с возможностями цифровых технологий. Новинка под названием Xiaomi Digital Walkie Talkie демонстрирует, как привычные рации могут быть переосмыслены в духе времени. Устройство оснащено цветным дисплеем диагональю 1,57 дюйма, который отображает список контактов, параметры соединения и даже примерное местоположение собеседника. Такой подход превращает стандартную рацию в компактное средство связи, сочетающее функциональность смартфона и устойчивость профессиональной техники. Одним из ключевых преимуществ стала высокая автономность. Встроенный аккумулятор емкостью 2500 мА·ч обеспечивает до 100 часов работы в режиме ожидания и около 14 часов непрерывных разговоров, что особенно важно в экспедициях, на дальних маршрутах или в зонах, где подзарядка невозможна. Согласно данным портала unionrayo.com, такое время работы выгодно отличает устройство от большинства аналогов. По дальности дейст ...>>

Открыт обращаемый драйвер старения 04.10.2025

Недавняя работа ученых из Сямэньского университета в Китае показала, что в гипоталамусе, главном регуляторе внутренних функций организма, кроется один из ключей к продлению молодости. Команда под руководством Лиге Ленга обнаружила, что снижение уровня белка менина в гипоталамусе связано с ускорением процессов старения. Менин, как выяснилось, играет важную роль в предотвращении воспаления и поддержании нормальной работы нейронов. Когда его уровень снижается, в мозге возрастает активность воспалительных сигналов, что запускает цепную реакцию возрастных изменений во всем организме - от ослабления когнитивных функций до потери плотности костей и истончения кожи. Чтобы понять, как именно менин влияет на старение, ученые вывели генномодифицированных мышей, у которых этот белок можно было выборочно отключить. Даже у молодых животных такое вмешательство быстро привело к ухудшению памяти, снижению прочности костей и эластичности кожи, а также к укорочению жизни. Эти результаты убедительно ...>>

Случайная новость из Архива

Земля ускоряет свое вращение 26.07.2025

Измерение времени - одна из основ современной цивилизации. От точности хода часов зависят технологии навигации, биржевые сделки, синхронная работа интернета и систем связи. Однако в последние годы ученые фиксируют необычное явление: Земля вращается все быстрее, пусть и на крошечные доли секунды. Это может показаться незначительным, но даже миллисекунда имеет огромное значение в мире, где все синхронизировано до микросекунд.

Наиболее заметное из последних ускорений произошло 9 июля 2025 года. В этот день вращение планеты заняло на 1,3 миллисекунды меньше привычных 24 часов. Хотя это еще не абсолютный рекорд по скорости вращения, отклонение было достаточно серьезным, чтобы обратить на него внимание специалистов в области точного времени и глобальных систем координации.

Феномен ускорения вращения Земли уже давно интересует ученых. Исследователи связывают его с целым рядом геофизических процессов, происходящих как в глубинах планеты, так и на ее поверхности. Внутренние движения мантии и ядра, приливное воздействие Луны, перераспределение массы из-за таяния полярных льдов, мощные землетрясения и сезонные изменения водных запасов - все это влияет на скорость вращения Земли вокруг своей оси.

Такие сдвиги, едва уловимые в повседневной жизни, могут вызывать значительные трудности в системах, где каждая микросекунда имеет значение. Спутники, работающие по GPS, финансовые платформы и телекоммуникационные узлы вынуждены адаптироваться к даже самым незначительным изменениям во времени суток. Отказ от точной синхронизации может обернуться сбоями в сложных цифровых процессах.

Особый интерес вызывает прогноз на ближайшее будущее. Ученые ожидают еще два ускоренных вращения: 22 июля продолжительность суток сократится на 1,38 миллисекунды, а 5 августа - на 1,52 миллисекунды. Эти значения могут показаться несущественными, но в контексте точного времени они выходят за допустимые пределы стабильности.

Растущее число таких случаев вновь активизировало дискуссию среди международных организаций, ответственных за хронометрию. На повестке стоит идея введения так называемой "отрицательной секунды" - редкой коррекционной меры, при которой одна секунда будет искусственно удалена из стандартного временного отсчета, чтобы синхронизировать атомное и астрономическое время. До сих пор человечество сталкивалось только с противоположной процедурой - добавлением "високосной секунды".

Другие интересные новости:

▪ 128-слойная флеш-память 3D NAND

▪ USB 3.1 со скоростью до 10 Гбит/с

▪ Колонии микробов на украшениях

▪ Атомные часы станут еще точнее

▪ Осязание робота в 100 раз чувствительней человеческого

Лента новостей науки и техники, новинок электроники

 

Интересные материалы Бесплатной технической библиотеки:

▪ раздел сайта Электромонтажные работы. Подборка статей

▪ статья Бесконечный водоподъемник. Советы домашнему мастеру

▪ статья Чьи детеныши могут сожрать своих потенциальных братьев и сестер еще в утробе матери? Подробный ответ

▪ статья Подготовка продуктов и их упаковка. Советы туристу

▪ статья Обоснование выбора современного осциллографа. Энциклопедия радиоэлектроники и электротехники

▪ статья Трансиверная приставка к радиоприемнику Катран (Р-399). Энциклопедия радиоэлектроники и электротехники

Оставьте свой комментарий к этой статье:

Имя:


E-mail (не обязательно):


Комментарий:





Главная страница | Библиотека | Статьи | Карта сайта | Отзывы о сайте

www.diagram.com.ua

www.diagram.com.ua
2000-2025