Бесплатная техническая библиотека
Повышение температурной стабильности рабочей частоты трансивера RA3AO. Энциклопедия радиоэлектроники и электротехники

Энциклопедия радиоэлектроники и электротехники / Гражданская радиосвязь
Комментарии к статье
В данной статье рассмотрена проблема повышения температурной стабильности рабочей частоты трансивера RA3AO путем введения в его состав схемы термокомпенсации напряжения питания варикапа узла расстройки частоты.
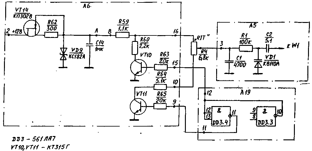
Повышение температурной стабильности рабочей частоты трансивера RA3AO при изменении окружающей температуры и самопрогреве аппарата в процессе работы может быть достигнуто путем термокомпенсации напряжения питания варикапа VD 1 узла расстройки частоты ГПД А5 (рис. 1 [1]).
Рис.1 (нажмите для увеличения)
Принцип предлагаемого способа термокомпенсации состоит в том, что изменением напряжения питания варикапа VD1 добиваются ухода частоты, равного по величине, но противоположного по знаку уходу частоты ГПД, вызванному изменением температуры [2,3].
Так как рабочая частота трансивера RA3AO в режимах приема и передачи определяется, кроме ГПД, кварцевыми генераторами в узлах Л4, А7, Л 19, путем термокомпенсации суммарного ухода рабочей частоты всех генераторов трансивера одним предлагаемым устройством можно добиться повышения стабильности рабочей частоты трансивера в диапазоне температур от -10°С до +50°С.
При повторении трансивера RA3AO из-за многообразия конструктивных особенностей, примененных материалов и разброса параметров комплектующих изделий величина и знак температурного ухода рабочей частоты могут иметь различные значения. В рассматриваемой ниже схеме термокомпенсации имеется возможность осуществить выбор знака и величины напряжения термокомпенсации.
Экспериментальные кривые, иллюстрирующие уходы частоты трансивера при изменении температуры внутри корпуса от времени работы, приведены на рис. 2. Здесь кривая 1 показывает уход рабочей частоты трансивера без термокомпенсации, кривая 2 - уход частоты трансивера со схемой термокомпенсации, но недостаточно отрегулированной для получения необходимой стабильности частоты трансивера. Кривая 3 иллюстрирует минимальный уход рабочей частоты трансивера при оптимально выбранном режиме работы схемы термокомпенсации.

Анализ кривых 1-3 (рис. 2) показывает, что с помощью узла термокомпенсации можно добиться уменьшения отклонения частоты трансивера, связанного с его самопрогревом, и свести нестабильность частоты трансивера к величине дрейфа при установившемся температурном режиме работы трансивера.
Предложенная схема термокомпенсации обеспечивает нестабильность рабочей частоты трансивера не более 200 Гц в течение нескольких часов его работы.
Необходимо отметить, что рассматриваемый узел термокомпенсации не уменьшает величину дрейфа рабочей частоты трансивера.
Введение схемы термокомнснсации требует небольших затрат и незначительно усложняет схему трансивера RA3AO. Она также не приводит к изменению работы узла расстройкой частоты трансивера. Однако из-за изменений напряжения на варикапе VD1 при термокомпенсации происходит незначительное изменение величины диапазона расстройки частоты трансивера.
Схема термокомпснсации может найти применение в любом устройстве, имеющем параметрическую стабилизацию частоты гетеродина.
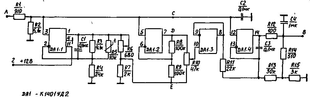
Схема узла термокомпенсации приведена на рис.3, а его включение в трансивер RA3AO показано на рис.1. Узел тсрмокомпснсации включается в разрыв (обозначенный точками А, В) цепи питания варикапа VD1 узла расстройки частоты трансивера. Узел тсрмокомнснсации сохраняет начальное напряжение в точке В, равное +8 В. Он выполнен на счетверенном операционном усилителе К 1401 УД 2Л (Б). В качестве термодатчика примечен терморезистор (R5), через который протекает стабильный ток, формируемый операционным усилителем DA1.1. Линеаризация температурной зависимости сопротивления резистора R5 в диапазоне температуры от минус 10°С до плюс 50°С осуществлена с помощью резистора R3. Терморезистор устанавливается на корпусе блоха ГПД трансивера. Изменение температуры блока ГПД приводит к изменению величины сопротивлении терморезистора, что в свою очередь приводит к отклонению напряжения в точке E относительно опорного напряжения в точке С, равного +7 В. на величину dU. Операционный усилитель DA1.2 формирует в точке D равное по величине и обратное по знаку напряжение dU.
Рис.3 (нажмите для увеличения)
Перемещением движка переменного резистора R10 можно получить на выходе масштабного усилителя DA1.4 необходимый знак и величину напряжения тсрмокомпснсации относительно выходного напряжения +8 В в пределах ± 1 В при изменениях температуры терморезистора относительно комнатной температуры на ±30'C.
Узел термокомпенсации смонтирован на печатной плате, устанавливаемой па боковой стенке блока ГПД. В узле применены резисторы типа С2-ЗЗП или МЛТ 0,125 Вт, СП5-1б, CП5-3B, конденсаторы типа КМ. Тсрморезистор типа СТ4-16А или СТ1-17 должен иметь надежный тепловой контакт с корпусом блока ГПД. Микросхему К1401УД2A (Б) можно заменить на две К140УД20 или четыре К140УД6 (К140УД608).
Настройка узла термокомпенсации должна проводиться в следующей последовательности.
Предварительная настройка узла термокомпенсации сводится к установке нулевого напряжения между точками С, D переменным резистором R6. Напряжение между точками С, D должно контролироваться тестером с током полного отклонения не более 100 мкА.
Проверка правильности предварительной настройки узла сводится к контролю напряжения в точке В, которое должно быть равно + (8±0,5) В при нормальной комнатной температуре внутри трансивера.
Окончательная настройка узла термокомпенсации проводится после часового прогрева трансивера. Регулировкой переменного резистора R 10 добиваются установки рабочей частоты трансивера, которая была при его включении.
После выключения и охлаждения трансивер вновь включают и проверяют стабильность рабочей частоты, дрейф которой должен быть подобен кривой 3 на рис. 2.
Литература
1. Дроздов В.В. Любительские KB трансиверы. - М.: Радио и связь, 1988.
2. Кривоносов Л.И. Температурная компенсация электронных схем. - М.: Связь, 1977.
3. Альтштуллер Г.Б. и др. Кварцевые генераторы. - Справочное пособие. - М.:Радио и связь, 1984.
Авторы: В.Усов, В.Гринман; Публикация: Н. Большаков, rf.atnn.ru
Смотрите другие статьи раздела Гражданская радиосвязь.
Читайте и пишите полезные комментарии к этой статье.
<< Назад
Последние новости науки и техники, новинки электроники:
Психологическое состояние и старение
26.04.2026
Наука все чаще рассматривает старение не только как биологический процесс, но и как явление, тесно связанное с психологическим состоянием человека. Эмоциональное благополучие, уровень стресса и ощущение социальной включенности могут напрямую влиять на то, как быстро изнашивается организм на клеточном уровне.
Китайские исследователи провели масштабный анализ данных людей старше 45 лет и обнаружили важную закономерность: такие факторы, как одиночество и субъективное ощущение несчастья, связаны с ускорением биологического старения примерно на 1,65 года. Иными словами, внутреннее эмоциональное состояние может "добавлять" организму лишний возраст даже при одинаковом паспортном возрасте.
Чтобы получить более точную оценку биологического старения, ученые использовали комплексный подход. В их анализ вошли 16 биомаркеров крови, семь биометрических параметров, а также данные, связанные с биологическим полом участников. Такой набор позволил сформировать более многослойную картину состояния ...>>
BMW i7 2027
26.04.2026
Компания BMW представила обновленный флагманский седан BMW i7 модельного года 2027, который стал заметным шагом в эволюции линейки.
Внешность автомобиля сохранила узнаваемые черты бренда, однако была переосмыслена в стилистике Neue Klasse. Фирменная решетка радиатора стала шире и ниже, получив светодиодную подсветку, а передняя оптика разделилась на два уровня: основные фары смещены вниз, а тонкие дневные ходовые огни расположены выше. Задняя часть получила удлиненные фонари и обновленный матовый логотип, подчеркивающий современный характер модели.
Интерьер BMW i7 2027 года во многом строится вокруг новой системы Panoramic iDrive. Она выводит информацию на всю нижнюю часть лобового стекла, создавая расширенное поле визуализации данных для водителя. Центральную роль по-прежнему играет 17,9-дюймовый дисплей, а передний пассажир впервые получает собственный экран диагональю 14,6 дюйма, который автоматически затемняется при отвлечении водителя.
Задняя часть салона остается ориенти ...>>
Новизна корма влияет на кошачий аппетит
25.04.2026
Пищевое поведение животных часто кажется простым, но на деле оно зависит от множества тонких сенсорных и когнитивных механизмов. Особенно это заметно у кошек, чьи предпочтения в еде могут меняться не только из-за насыщения, но и из-за восприятия вкуса и запаха. Новое исследование японских ученых позволило точнее понять, почему питомцы нередко оставляют корм в миске.
В лабораторных условиях исследователи из Японии наблюдали за двенадцатью кошками, чтобы изучить, как меняется их аппетит при повторяющемся питании. Животным поочередно предлагали шесть видов промышленного сухого корма, обозначенных от A до F, что позволило сравнить их предпочтения и оценить стабильность потребления.
В ходе экспериментов выяснилось, что корм F оказался наиболее привлекательным для кошек и заметно опережал остальные варианты по уровню потребления. Однако даже он не сохранял свою "привлекательность" при многократном повторении: когда один и тот же корм предлагали шесть раз подряд в течение двух часов, жи ...>>
Случайная новость из Архива Подкожный нанодатчик
07.11.2013
Оксид азота (NO) - одна из наиболее важных молекул в живых клетках. Она отвечает за доставку сигналов внутри клетки и между клетками, координирует работу иммунной системы. Во многих раковых клетках уровень оксида азота отличается от нормы, однако ученые точно не знают механизмов функционирования этого газа. Так, по их словам, роль оксида азота в прогрессировании рака весьма противоречива, и ученым нужны новые инструменты для понимания процесса.
Исследователи из Массачусетского технологического института разработали новый инструмент для измерения уровня оксида азота в теле в режиме реального времени. Сконструированный инженерами сенсор можно имплантировать в тело (под кожу) на срок более года и контролировать процесс воспаления - тот процесс, во время которого производится NO.
Данная работа - первое доказательство того, что наносенсоры можно использовать прямо в теле в течение длительного периода времени. Сенсоры, изготовленные из углеродных нанотрубок, предполагается применять, в том числе, для обнаружения других молекул, например, глюкозы. Уже сейчас команда исследователей работает над датчиком для диабетиков - он будет следить за уровнем сахара и инсулина без необходимости брать пробы крови.
Углеродные нанотрубки в один нанометр толщиной ученые считают перспективными для изготовления сенсоров. Исследователи из Массачусетского технологического института недавно разработали сенсоры на основе углеродных трубок для различных молекул, в том числе перекиси водорода и зарина. Такие датчики используют флуоресценцию углеродных нанотрубок: когда нанотрубка соединяется с конкретной молекулой она светится более ярким или более тусклым светом.
В новой работе исследователи модифицировали нанотрубку для создания двух различных типов датчиков: один для введения в кровоток для краткосрочного мониторинга, а другой - для долгосрочной имплантации под кожу.
Для лучшей работы сенсора ученые использовали биосовместимый полимер (полиэтиленгликоль), который предотвращает слипание частиц в кровотоке. Опыт на мышах показал, что в этом случае частицы могут проходить через легкие и сердце, не причиняя никакого ущерба. Большинство частиц накапливается в печени, где они используются для мониторинга уровня NO. При этом исследователи отмечают, что до сих пор они изучали только печень, но теперь видят, что частицы остаются в крови. Это значит, что можно изучать различные области тела с помощью наночастиц.
Сенсор для длительного нахождения в организме состоит из нанотрубок, встроенных в гель из альгината (полимера, получаемого из водорослей). После имплантации под кожу мышей гель оставался на месте и функционировал в течение 400 дней. Но исследователи предполагают, что срок работы сенсора можно продлить. В будущем такой сенсор будет полезным для контроля рака или других воспалительных заболеваний, для обнаружения иммунных реакций у пациентов с искусственным бедром или другими имплантированными устройствами.
Сейчас ученые работают над адаптацией данной технологии для обнаружения глюкозы. Предполагается, что нанотрубки придут на смену электрохимическим датчикам по измерению уровня сахара в крови, которые работают недолго, к тому же повышают риск развития инфекции из-за проникновения электрода под кожу. Но новый сенсор будет определять уровень сахара в режиме реального времени, а подключенная к нему инсулиновая помпа будет подавать гормон в нужном количестве.
|
Другие интересные новости:
▪ i-Disk BulletProof
▪ 12 Тб SSD-хранилище AKiTiO Thunder2 Quad Mini
▪ Сенсорная панель Airboard
▪ Микросхемы FMS6151 для связи сотовых телефонов с большими экранами
▪ Самый мощный суперкомпьютер построен
Лента новостей науки и техники, новинок электроники
Интересные материалы Бесплатной технической библиотеки:
▪ раздел сайта Охрана и безопасность. Подборка статей
▪ статья Дело табак. Крылатое выражение
▪ статья Как живут в своем стаде слоны? Подробный ответ
▪ статья Цицания даурская. Легенды, выращивание, способы применения
▪ статья Обесцвечивание и дезодоризация керосина. Простые рецепты и советы
▪ статья Простейший резонансный волномер. Энциклопедия радиоэлектроники и электротехники
[an error occurred while processing this directive]
Оставьте свой комментарий к этой статье:
Главная страница | Библиотека | Статьи | Карта сайта | Отзывы о сайте

www.diagram.com.ua
2000-2026