Menu Home

Бесплатная техническая библиотека для любителей и профессионалов Бесплатная техническая библиотека


Светоакустические установки. Энциклопедия радиоэлектроники и электротехники

Бесплатная техническая библиотека

Энциклопедия радиоэлектроники и электротехники / Цветомузыкальные установки

Комментарии к статье Комментарии к статье

В нашей стране и за рубежом находят широкое применение различные светоакустические устройства, создающие световые эффекты в такт с мелодией воспроизводимой музыкальной программы. За рубежом такие устройства называются "Цветовыми органами", "Танцевальными огнями", "Ритмиконами" и т. д. Большинство устройств выполняют в виде приставок к приемникам, электро- и магнитофонам.

Как известно, работа светоакустических установок основана на изменении цвета и яркости свечения осветительных приборов, размещенных за специальным прозрачным экраном, в такт с изменением тона и громкости звучания акустической системы. Управляющее напряжение для светоакустической приставки снимается со звуковой катушки головки громкоговорителя или с линейного выхода УНЧ, входящего в состав электроакустической установки.

Принято считать, что звуковым сигналам басовой группы (нижним частотам), занимающим полосу частот до 150-.200 Гц, должен соответствовать красный цвет; средним частотам (200-1000 Гц) -желтый или зеленый; высшим частотам (более 1 кГц) - синий или голубой. Эти цветовые эффекты создаются источниками света, стеклянные колбы которых покрыты прозрачным лаком соответствующего цвета. Яркость свечения канальных источников света регулируется транзисторными или тиристорными управителями. Число таких управителей должно быть равно числу каналов, обычно трем. Нередко на страницах зарубежных изданий можно встретить описания четырех-, пяти- и более канальных светоакустических установок. В этих случаях либо вводятся так называемые фоновые каналы фиолетового или бледно-желтого цвета, работающие постоянно или в моменты, когда выключаются все остальные каналы, либо выделяются в отдельный канал, управляемый частотами выше 4-б кГц.

В соответствии с изложенными принципами построения светоакустические установки должны содержать многоканальные фильтры, разделяющие спектр входного сигнала на несколько частотных полос (3, 4 или 5), канальные управители, работающие совместно с канальными источниками света определенной окраски, и источник питания. Поскольку светоакустические эффекты проявляются наиболее заметно при электрической мощности канальных источников света не менее 50-60 Вт, то питать такие установки целесообразно только от сети.

Транзисторные приставки, создающие светоакустические эффекты, маломощны, часто выходят из строя, требуют кропотливого налаживания, хотя и позволяют получить плавное воспроизведение переходов тональности и интенсивности. Наиболее распространены тиристорные приставки.

Простая светоакустическая приставка на тиристорах

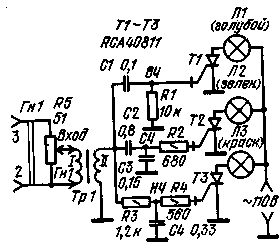
На рис.1 дана принципиальная схема простой тиристорной светоакустической приставки, содержащей три. цветовых канала и питающейся от сети переменного тока 1'27 В. Для повышения входного управляющего напряжения, снимаемого со звуковой катушки головки акустической системы, а также для развязки входной цепи и сети переменного тока на входе приставки включен повышающий трансформатор Тр1, в качестве которого рекомендуется использовать выходной трансформатор от лампового сетевого приемника II или IV класса, включив его вторичную обмотку на вход, а первичную - к фильтру.

Светоакустические установки
Рис.1

Приставка по схеме рис.1 способна обеспечить одновременную работу всех трех каналов при использовании в каждом из них по одной лампе мощностью 100 Вт. Столь высокие напряжения и мощности требуют принятия дополнительных мер предосторожности при налаживании и работе с приставкой. Все конденсаторы должны быть рассчитаны на рабочее напряжение не менее 200В. Тиристоры, используемые в качестве управляемых ключей, должны выдерживать обратные запирающие напряжения, по крайней мере в 1,5-2 раза большие, чем напряжение питания. Допустимый средний ток тиристоров должен быть не менее максимального тока, потребляемого лампой каскада. В данном случае - не менее 1 А. С учетом вышеизложенного при повторении приставки можно использовать тиристоры типа КУ202И или КУ202Л. При наличии высоковольтных тиристоров типа КУ202Н можно увеличить напряжение питания до 220 В переменного тока. При этом мощность ламп в каждом канале может быть доведена до 200 Вт.

Если же в распоряжении радиолюбителя будут только низковольтные тиристоры, например, типа КУ202Б, КУ202В или КУ202Г, допускающие обратные напряжения до 25, 50 и 100 В соответственно, питание приставки следует производить через регулируемый автотрансформатор. Конечно, лампы накаливания должны быть рассчитаны на более низкое напряжение. И, как показывает практика, даже при таком усложнении схемы приставки ее свечение значительно заметнее, чем у транзисторных приставок. Однако подобные приставки имеют ряд недостатков. Приведем основные из них.

1. В ряде случаев, особенно при работе с большой громкостью, все канальные лампы включаются и выключаются одновременно, в такт с изменением громкости. При этом изменение тональности звука не влияет на работу ламп различных каналов. Как правило, это происходит из-за очень высокого уровня входного сигнала и несовершенства разделительных фильтров, имеющих крутизну скатов характеристик вне полос пропускания всего 6 дБ/окт. Устранить этот недостаток можно включив на входе приставки дополнительный резистор R5. С помощью переменного резистора можно регулировать уровень сигнала на входе разделительных фильтров таким образом, чтобы при установленной выходной мощности УНЧ обеспечивалось четкое включение и выключение каналов. Напряжение сигнала на входе первичной обмотки трансформатора при этом должно быть равно 0,2-0,5 В. При большем напряжении сигнала нарушается нормальная работа приставки.

Дополнительный переменный резистор должен быть проволочным на 51- 100 Ом. Для удобства подведения сигнала рекомендуется в качестве входного гнезда использовать разъем типа СГ-3. Во всех случаях должна быть обеспечена надежная изоляция монтажной платы с тиристорами и деталями разделительных фильтров от входного гнезда и переменного резистора.

2. Наблюдается большая неравномерность свечения ламп. Они либо горят полным накалом, либо не светятся совсем. Иногда экран полностью гаснет, чаще всего это бывает, когда громкость звучания сильно падает. Этот недостаток является прямым следствием простоты данной конструкции. Частично его можно устранить введением четвертого, фонового канала, который остается включенным в то время, когда три других выключаются полностью. Конструкция такого улучшенного варианта приставки приводится ниже. 3. Лампы накаливания не дают яркого свечения, заметно мигание. Этот недостаток объясняется использованием тиристоров, обладающих несимметричной выходной характеристикой. Это значит, что такие тиристоры ведут себя как управляемые однополупериодные выпрямители, тогда как для нормального свечения стандартных ламп накаливания необходимо использование обоих полупериодов - положительного и отрицательного.

Устранение такого недостатка возможно двумя путями. Во-первых, питанием анодных цепей тиристоров от сети через двухполупериодный выпрямитель по мостовой схеме. Если для этой цели использовать выпрямитель на четырех диодах типа Д226, то суммарный ток, потребляемый от сети, не должен превышать 0,6 А, что соответствует применению в каждом канале ламп мощностью не более 50 Вт. Как показывает практика, в большинстве случаев этого бывает достаточно. Во-вторых, можно использовать тиристоры с симметричной выходной характеристикой. В этом случае дополнительный выпрямитель в цепи питания не требуется.

Светоакустическая приставка с фоновым каналом

Эта приставка была разработана болгарским радиолюбителем. В ней устранены многие недостатки простой приставки, о которой шла речь выше. Приставка имеет три основных частотных канала с полосами частот от самых низших до 230 Гц (лампы красного цвета); от 230 Гц до 2,3 кГц(лампы зеленого цвета); выше 2,3 кГц(лампы синего цвета). Принципиальная схема приведена на рис.2. Из рисунка видно, что питание анодов тиристоров производится от сети переменного тока напряжением 220 В через двухполупериодный выпрямитель на четырех диодах типа Д246, рассчитанных на ток до 5 А. Входной управляющий сигнал подается на гнездо Гн2, далее через повышающий трансформатор Тр1 на входы разделительных фильтров. Для коррекции уровня сигнала на входах разделительных фильтров используется переменный резистор R1. В данном случае он может быть непроволочным.

Светоакустические установки
Рис.2

Разделительные фильтры выполнены с применением катушек индуктивности. Для выравнивания чувствительности тиристоров различных каналов применены дополнительные резисторы, включенные между анодами и управляющими электродами тиристоров. Один из резисторов - подстроечный. Особенностью схемы является наличие фонового канала на лампе Л2, колба которой окрашена в желтый цвет. Эта лампа подключается параллельно аноду и катоду тиристора Д6. Светится она только тогда, когда тиристор Д6 закрыт и все напряжение с выхода выпрямителя делится примерно поровну между лампами среднечастотного (зеленого цвета) и фонового (желтого цвета) канала.

Кроме того, в каждом разделительном фильтре есть подстроечные резисторы R2-R4. С их помощью производится коррекция коэффициентов передачи каждого фильтра для достижения правильного срабатывания тиристоров в соответствии со спектральным составом управляющего сигнала.

Катушки LI и L2 намотаны на каркасах, в которые потом вставляют сердечники ШЗХ'6 от выходных трансформаторов для карманного приемника. Катушки намотаны проводом ПЭЛ-1 0,1 и содержат соответственно 750 и 500 витков.

Светоакустическая приставка на симметричных тиристора

На рис.3 приведена принципиальная схема простой светоакустической приставки с тремя каналами, в каждом из которых включена лампа мощностью 200 Вт. Приставка была описана на страницах румынского молодежного журнала. Частоты разделения полос каналов 150, 800 Гц и 2 кГц. Конструкция имеет много общего с .приставкой на рис.1: простейшие разделительные фильтры, повышающий трансформатор на входе разделительных фильтров, лампы и тиристоры с симметричной выходной характеристикой. Симметричные тиристоры Д1-ДЗ управляются так же, как тиристоры с несимметричной характеристикой, но проводят так в течение обоих полупериодов переменного напряжения сети.

Светоакустические установки
Рис.3

Как видно из рис.3, приставка содержит, корректирующие переменные резисторы на входе каждого разделительного фильтра, что позволяет регулировать работу приставки в зависимости от музыкального содержания прослушиваемой и .просматриваемой программы.

При повторении конструкции можно использовать высоковольтные симметричные тиристоры типа КУ208Г, допускающие обратное напряжение на аноде до 400 В. Сведения о других деталях приставки можно почерпнуть из описаний двух предшествующих приставок.

Светоакустические установки являются пока относительно редкими для слушателя и зрителя устройствами, поэтому к ним обычно привлекается внимание многих. Декоративно оформленные экраны светоакустических установок могут быть установлены в жилом помещении или в клубе.

Определенный интерес представляет использование двух светоакустических установок, работающих совместно со стереофонической системой. На экранах установок хорошо различается разбалансировка каналов усилителя, особенности работы каналов при воспроизведении звуков от перемещающихся инструментов.

И, наконец, все описанные приставки являются по существу простейшими анализаторами спектра электрических сигналов, которые можно использовать без акустических установок. Например, если ко входу приставки подключить выход генератора импульсов, то число и яркость свечения каналов будут зависеть от длительности импульсов и частоты их повторения.

Литература:

  1. В.А.Васильев. Зарубежные радиолюбительские конструкции. Москва, "Радио и Связь", 1982.

Публикация: Н. Большаков, rf.atnn.ru

Смотрите другие статьи раздела Цветомузыкальные установки.

Читайте и пишите полезные комментарии к этой статье.

<< Назад

Последние новости науки и техники, новинки электроники:

Токсичность интернета преувеличена 07.01.2026

Социальные сети нередко воспринимаются как арена постоянной агрессии, оскорблений и распространения фейковой информации. Новое исследование Стэнфордского университета показывает, что реальность значительно отличается от популярного представления: интернет гораздо менее токсичен, чем многие пользователи считают. Ученые опросили более тысячи американцев, попросив их оценить долю пользователей соцсетей, которые ведут себя агрессивно или распространяют ненависть. Оказалось, что впечатления людей сильно преувеличивают масштабы проблемы. Например, респонденты считали, что почти половина пользователей Reddit хотя бы раз оставляла оскорбительные комментарии, тогда как фактические данные платформы показывают, что таких людей не более 3%. Аналогичная ситуация наблюдается с дезинформацией. Опрос показал, что большинство участников считали почти половину аудитории Facebook распространителями фейковых новостей, однако статистика говорит об обратном: фактическая доля таких пользователей состав ...>>

Процессоры Ryzen AI 400 07.01.2026

Современные вычисления все больше ориентируются на интеграцию искусственного интеллекта и высокую производительность в компактных устройствах, таких как ноутбуки и мини-ПК. Новая линейка процессоров AMD Ryzen AI 400 демонстрирует, как разработчики объединяют мощные центральные ядра, графику и нейросетевые ускорители в одном чипе, чтобы удовлетворять растущие потребности пользователей в играх, контенте и ИИ-приложениях. AMD представила процессоры серии Gorgon Point, которые включают до 12 ядер Zen 5 и до 24 потоков вычислений. Чипы поддерживают интегрированную графику RDNA 3.5, обеспечивают максимальную тактовую частоту до 5,2 ГГц и имеют энергопотребление от 15 Вт до 54 Вт. Особое внимание уделено NPU, способному обрабатывать до 60 триллионов операций в секунду (TOPS), что делает эти процессоры эффективными для задач с искусственным интеллектом. Конструкция Ryzen AI 400 сочетает ядра Zen 5 и Zen 5c, обеспечивая высокую гибкость и производительность. Несмотря на то, что архитектур ...>>

Женщины лучше распознают признаки болезни по лицу 06.01.2026

Способность распознавать, что кто-то нездоров, часто проявляется интуитивно: бледная кожа, опущенные веки, уставшее выражение лица могут сигнализировать о недомогании. Новое исследование международной группы ученых показало, что женщины в среднем точнее мужчин улавливают такие тонкие невербальные признаки болезни, что может иметь эволюционные и социальные объяснения. В отличие от предыдущих работ, где использовались отредактированные фотографии или имитация больных лиц, ученые решили проверить, насколько люди способны распознавать естественные признаки недомогания. Такой подход позволил оценить реальную чувствительность к изменениям в лицах, возникающим при болезни. В исследовании приняли участие 280 студентов, поровну мужчин и женщин. Участникам предложили оценить 24 фотографии, на которых изображены люди как в здоровом состоянии, так и во время болезни. Это дало возможность сравнить восприятие естественных признаков недомогания в реальных лицах. Для анализа состояния каждого ...>>

Случайная новость из Архива

Разочарование перестраивает мозг 03.01.2026

Способность менять свои действия в ответ на неудачи и неожиданности лежит в основе выживания и успешного взаимодействия с окружающим миром. Мы ежедневно сталкиваемся с ситуациями, когда привычные стратегии перестают работать, и тогда мозгу приходится быстро перестраиваться. Несмотря на очевидную важность этой гибкости, долгое время оставалось неясным, какие именно нейронные и химические процессы позволяют нам адаптироваться к меняющимся обстоятельствам.

Новое исследование проливает свет на эту проблему. Нейробиологи из Окинавского института науки и технологий (OIST) изучили, как мозг реагирует на разочарование и потерю ожидаемого вознаграждения. Авторы показали, что такие ситуации сопровождаются заметными изменениями в химическом составе мозга, которые напрямую связаны с корректировкой поведения. Эти результаты важны не только для фундаментальной нейронауки, но и для понимания механизмов зависимостей, обсессивно-компульсивного расстройства и болезни Паркинсона.

В эксперименте мышей обучали ориентироваться в виртуальном лабиринте, выбирая путь, который приводил к получению награды. После того как животные надежно усваивали правило, исследователи неожиданно меняли правильный маршрут. В результате мыши сталкивались с ситуацией, когда привычный выбор больше не приносил вознаграждения, что создавало состояние, аналогичное разочарованию.

Чтобы понять, что происходит в мозге в такие моменты, ученые использовали метод двухфотонной микроскопии. Он позволил в реальном времени наблюдать активность нейронов и изменения в выделении нейромедиаторов. Было обнаружено, что после неожиданной неудачи в ряде областей мозга резко возрастает высвобождение ацетилхолина - вещества, играющего важную роль в обучении и внимании. Одновременно на поведенческом уровне увеличивалась доля мышей, которые после проигрыша меняли стратегию и выбирали другой путь, демонстрируя так называемое поведение "смены после неудачи".

Чтобы убедиться, что ацетилхолин действительно является ключевым фактором этих изменений, исследователи искусственно снизили его выработку. В таком состоянии мыши значительно хуже адаптировались к новым условиям и чаще продолжали следовать неэффективной стратегии. Этот результат показал, что ацетилхолин не просто сопутствует разочарованию, а играет причинную роль в запуске гибкого поведения.

При этом реакция мозга оказалась неоднородной. Хотя большинство холинергических интернейронов усиливали выброс ацетилхолина, в небольших группах клеток его уровень, напротив, снижался или оставался стабильным. По мнению авторов исследования, такая тонкая настройка может быть необходима для того, чтобы мозг не стирал полностью прежний опыт, а сохранял информацию о ранее успешных стратегиях, даже когда текущие условия меняются.

Другие интересные новости:

▪ Хладнокровные отравители

▪ Внешний жесткий диск WD Passport Pocket

▪ Взрослые оценивают детей по словам

▪ Производства водородного топлива из воздуха

▪ Трехатомный ультрахолодный газ

Лента новостей науки и техники, новинок электроники

Интересные материалы Бесплатной технической библиотеки:

▪ раздел сайта Мобильная связь. Подборка статей

▪ статья Джон Мильтон. Знаменитые афоризмы

▪ статья Для кого зарезервирована пустая могила возле могилы пророка Мухаммеда? Подробный ответ

▪ статья Курильский чай. Легенды, выращивание, способы применения

▪ статья Серебряная полировка слоновой кости. Простые рецепты и советы

▪ читать в Бесплатной технической библиотекестатья Нормы испытаний электрооборудования и аппаратов электроустановок потребителей. Допускаемые значения tgδ. Энциклопедия радиоэлектроники и электротехники

Оставьте свой комментарий к этой статье:

Имя:


E-mail (не обязательно):


Комментарий:





Главная страница | Библиотека | Статьи | Карта сайта | Отзывы о сайте

www.diagram.com.ua

www.diagram.com.ua
2000-2026