Menu Home

Бесплатная техническая библиотека для любителей и профессионалов Бесплатная техническая библиотека


Универсальное согласующее устройство. Энциклопедия радиоэлектроники и электротехники

Бесплатная техническая библиотека

Энциклопедия радиоэлектроники и электротехники / Гражданская радиосвязь

Комментарии к статье Комментарии к статье

Устройство предназначено для согласования передатчика с различными типами антенн, как имеющими коаксиальный фидер, так и с открытым входом (типа "длинный луч" и т. д.). Применение устройства позволяет добиться оптимального согласования передатчика на всех любительских диапазонах, даже при работе с антенной случайной длины. Встроенный измеритель КСВ может быть использован при настройке и регулировке антенно-фидерных систем, а также как индикатор мощности, отдаваемой в антенну.

Согласующее устройство работает в диапазоне 3-30 МГц и рассчитано на мощность до 50 Вт. При соответствующем увеличении электрической прочности деталей допустимый уровень мощности может быть повышен.

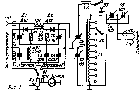
Принципиальная схема согласующего устройства показана на рис. 1. Он включает в себя два функциональных узла: собственно устройство согласования (катушки L1 и L2. конденсаторы С6-С9, переключатели В2 и ВЗ) и измеритель КСВ, собранный по схеме балансного ВЧ моста.

Универсальное согласующее устройство

Устройство смонтировано на шасси. На переднюю панель выведены все органы настройки, на ней установлен и стрелочный индикатор измерителя КСВ. На задней стенке шасси укреплены два высокочастотных разъема для подключения выхода передатчика и антенн с коаксиальным фидером, а также проходной изолятор с зажимом для антенн типа "длинный луч" и т. п. Монтаж измерителя КСВ выполнен на печатной плате (см. рис. 2).

Универсальное согласующее устройство

Конденсаторы С1 и С2 - воздушные или керамические с начальной емкостью 0,5-1,5 пФ. ВЧ трансформатор Тр1 намотан на кольцо из феррита М30ВЧ2 размерами 12Х6Х Х4,5 мм. Вторичная обмотка содержит 41 виток провода ПЭЛШО 0,35, обмотка размешена равномерно по кольцу. Первичная обмотка состоит из двух витков провода ПЭВ-1 0,51. Дроссель Др1 намотан на кольце из феррита 600НН размерами 10Х6Х Х4 мм и содержит 150 витков провода ПЭЛШО 0,18, размешенных равномерно по кольцу. Катушка L1 намотана на кольцо М30ВЧ2 размерами 32Х15х8 мм и содержит 23 витка провода ПЭВ-2 0,81. Отводы сделаны от 1, 2, 4, 6, 8, 10, 12, 14, 16 и 19 витков. Обмотка изолирована двумя слоями фторопластовой ленты. Катушка L2 намотана на кольцо М30ВЧ2 12Х Х6Х4.5 мм и содержит 30 витков провода ПЭЛШО 0,41. Блоки переменных конденсаторов - самодельные, из воздушных подстроенных конденсаторов типа КПВ. Конструкция сочленения их в блоки может быть любой, важно лишь обеспечить изоляцию роторов и статоров от шасси.

Собственно устройство согласования настройки не требует. Измеритель КСВ настраивают следующим образом. От печатной платы отпаивают провод, идущий к конденсаторам С6, С7. К нему подключают резистор сопротивлением 75 Ом и мощностью- 5-10 Вт (можно использовать несколько резисторов МЛТ-2. соединенных параллельно). Вход измерителя подключают к передатчику. Переключатель В1 устанавливают в положение "Прямая". Подают такое напряжение ВЧ (частотой 21 или 28 МГц), чтобы стрелка индикатора отклонилась на всю шкалу. Затем устанавливают переключатель в позицию "Отраженная" и настройкой конденсатора С2 добиваются нулевых показаний индикатора. Если это не удается, подбирают резистор R2 или диод Д2.

Меняют местами нагрузку и выход передатчика и повторяют настройку конденсате ром С1, а также подбором резистора R1 и диода Д1.

Соотношения прямой и отраженной волн, соответствующие КСВ==1, в правильно настроенном измерителе должны сохраняться во всем диапазоне частот.

Для общей проверки согласующего устройства передатчик подключают к входу устройства, а к его выходу подключают активную нагрузку сопротивлением 75-200 Ом. Конденсаторы С6 и С7 устанавливают в положение максимальной емкости, переключатели - в позиции, показанные на схеме. Включают передатчик и резистором R3 добиваются отклонения стрелки индикатора на всю шкалу. Переводят переключатель B1 в позицию "Отраженная" и переключателем В2 добиваются Минимальных показаний индикатора. Затем настройкой переменных конденсаторов С6 и С7 добиваются нулевых показаний индикатора, что соответствует значению КСВ =1 и свидетельствует о полном согласовании выхода передатчика с эквивалентом нагрузки. На высокочастотных диапазонах может потребоваться подключение катушки L2 параллельно L1.

Аналогичная процедура настройки выполняется и при подключении реальных типов антенн. Отсчет КСВ производят по формуле

KCB=(А+В)/(А-В),

где А - отсчет по шкале индикатора для прямой волны. В-для отраженной. Шкалу можно отградуировать непосредственно в единицах КСВ.

Описанное устройство используется автором с антенной "наклонный луч" длиной 80 м. На всех любительских диапазонах удается получить полное согласование антенны с передатчиком. Помехи телевидению отсутствуют полностью. Данное устройство проверялось на радиостанции UA4IF при работе с отрезком провода случайной длины (15-17 м). На всех любительских диапазонах было получено согласование с КСВ не хуже 1,2 - 1,5.

Автор: Инж. В. Кобзев (UW4HZ); Публикация: cxem.net

Смотрите другие статьи раздела Гражданская радиосвязь.

Читайте и пишите полезные комментарии к этой статье.

<< Назад

Последние новости науки и техники, новинки электроники:

Кислотность океана разрушает зубы акул 03.10.2025

Мировые океаны выполняют важнейшую функцию - они поглощают около трети углекислого газа, выбрасываемого в атмосферу. Это помогает замедлять темпы глобального потепления, но имеет и обратную сторону. Растворяясь в воде, CO2 образует угольную кислоту, которая повышает концентрацию водородных ионов и приводит к снижению pH. Вода становится более кислой, а последствия этого процесса уже заметны для морских экосистем. Средний показатель кислотности океана сейчас равен примерно 8,1, тогда как еще недавно за условную норму брали значение 8,2. По прогнозам, к 2300 году уровень может упасть до 7,3 - это сделает океан почти в десять раз кислее нынешнего состояния. Для обитателей морей подобные изменения означают не просто сдвиг химического равновесия, а реальную угрозу физиологическим процессам, начиная от формирования раковин у моллюсков и заканчивая охотничьим поведением акул. Чтобы выяснить, как именно кислотная среда отражается на зубах акул, группа немецких исследователей провела эксп ...>>

Почтовый космический корабль Arc 03.10.2025

Космические технологии становятся частью инфраструктуры, способной повлиять на логистику, медицину и даже военную сферу. Идея использовать орбиту как глобальный склад для срочных поставок звучала еще недавно как научная фантастика, но стартап Inversion пытается превратить ее в практическое решение. Компания Inversion появилась в начале 2021 года благодаря Джастину Фиаскетти и Остину Бриггсу, которые на тот момент были студентами Бостонского университета. Их замысел состоял в том, чтобы сделать возможной доставку грузов не только через спутниковые сети данных, но и в буквальном смысле - физических предметов. В основе лежит простая мысль: если космос обеспечивает доступ к любой точке Земли, то и грузы должны перемещаться тем же маршрутом. Уже за три года работы команда из 25 специалистов успела построить демонстрационный аппарат "Ray". Его запуск состоялся в рамках миссии SpaceX Transporter-12. Устройство весом 90 килограммов проверяло ключевые технологии Inversion, включая двухком ...>>

Лазерное обогащение урана 02.10.2025

Ядерная энергия остается одним из ключевых источников стабильного электричества, особенно для стран с растущими потребностями в энергоснабжении. Однако обеспечение бесперебойных поставок топлива для атомных станций требует современных технологий обогащения урана, которые одновременно эффективны и безопасны. Американская компания Global Laser Enrichment (GLE) делает значительный шаг в этом направлении, завершив масштабное тестирование лазерной технологии обогащения урана. Демонстрационная программа была проведена на объекте в Уилмингтоне, Северная Каролина. Тестирование технологии SILEX (Separation of Isotopes by Laser EXcitation), разработанной австралийской Silex Systems, стартовало в мае 2025 года и продлится до конца года. В ходе экспериментов компания планирует получить сотни фунтов низкообогащенного урана (LEU), который может быть использован в качестве топлива для атомных электростанций. GLE была создана в 2007 году для коммерциализации лазерных методов обогащения урана в С ...>>

Случайная новость из Архива

Cверхзвуковой самолет без лобового стекла 12.10.2021

Сверхзвуковые самолеты имеют одну существенную проблему: они издают невыносимо громкий звук при полете. Когда самолет движется со скоростью, превышающей скорость звука, образуются ударные волны. Удаляясь от самолета, сливаясь и генерируя новые звуковые удары, они разносятся на многие километры. Инженеры НАСА нашли решение, а потому оснастили сверхзвуковой самолет X-59 не только системой, снижающей звуковые удары - Quiet SuperSonic Technology (QueSST), - но и отказавшись от лобовых стекол.

Новый одноместный самолет X-59 (30 м в длину и 9 м в ширину) сможет подняться на высоту 16,7 км и двигаться со скоростью 1,4 Маха, или 1488 км/ч. При этом его можно будет пилотировать за неимением лобового стекла. Его заменит разработанная в NASA система eXternal Vision (XVS).

Инженеры называют систему искусственного зрения "последней линией защиты", дающей возможность пилоту увидеть другой приближающийся самолет на радарах. Система принимает и анализирует данные, поступающие от Управления воздушным движением.

Также у модели X-59 нет так называемого "фонаря", прозрачной части кабины, защищающей пилота и пассажиров от воздействия встречного потока воздуха, погодных условий, шума, что поможет сохранить его длинную остроконечную форму. Вместо фонаря конструкторы использовали "электронное окно".

Система электронного окна XVS NASA включает в себя пару камер с высоким разрешением и монитор 4K. Первая камера 4K расположена наверху и немного впереди кабины и дополнена возможностью синтетического зрения, что позволяет пилоту искусственно видеть сквозь туман и облака. Вторая камера расположена под носом. Она может выдвигаться во время взлета и посадки. В этом смысле самолет полностью закрыт и не требует окна. Система сXVS предоставляет всю визуальную информацию, необходимую для безопасного полета пилота.

Другие интересные новости:

▪ Многоразовая супергубка для впитывания нефти

▪ Беспроводные наушники Vernte заменят смартфон

▪ Бетон для строительства на Марсе

▪ Снижение негативного воздействия телевидения на мозг

▪ Гаджет Panasonic MS-DS100 избавит от неприятного запаха обуви

Лента новостей науки и техники, новинок электроники

 

Интересные материалы Бесплатной технической библиотеки:

▪ раздел сайта Крылатые слова, фразеологизмы. Подборка статей

▪ статья Вам не видать таких сражений! Крылатое выражение

▪ статья Какие рыбы демонстрируют гомосексуальное поведение как хитрость для привлечения самок? Подробный ответ

▪ статья Подводная молния. Детская научная лаборатория

▪ статья Телевизор в качестве осциллографа. Энциклопедия радиоэлектроники и электротехники

▪ статья Простой стереогенератор. Энциклопедия радиоэлектроники и электротехники

Оставьте свой комментарий к этой статье:

Имя:


E-mail (не обязательно):


Комментарий:





Главная страница | Библиотека | Статьи | Карта сайта | Отзывы о сайте

www.diagram.com.ua

www.diagram.com.ua
2000-2025