Бесплатная техническая библиотека
Каскадный широкополосный усилитель мощности. Энциклопедия радиоэлектроники и электротехники

Энциклопедия радиоэлектроники и электротехники / Гражданская радиосвязь
Комментарии к статье
При создании транзисторных KB передатчиков радиолюбители сталкиваются с трудностями конструирования диапазонных усилителей мощности. Если применить обычные резонансные усилители, для получения выходной мощности 1-1.5 Вт (при входной 0,3-0,6 мВт) потребуется несколько каскадов, которые необходимо коммутировать. Использование каскодных широкополосных усилителей с дроссельной нагрузкой на многоэмиттерных транзисторах позволяет значительно упростить схему усилителя и дает возможность получить высокий коэффициент усиления.
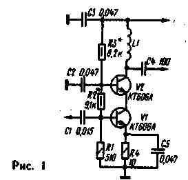
На рис. 1 изображена схема такого усилителя. Он имеет коэффициент усиления по мощности до 16 дБ в диапазоне частот от 3 до 35 МГц при неравномерности не более 2,5 дБ. Выходная мощность определялась измерителем мощности МЗ-ЗА, имеющим входное сопротивление 75 Ом.
Усилитель работает в режиме класса А. Начальный ток (80-90 мА) устанавливают подбором резисторов R2. R3. В точке соединения коллектора транзистора VI с эмиттером транзистора V2 напряжение должно составлять от половины до двух третей напряжения питания Uк. Термостабилизация осуществляется с помощью цепочки R4, С5. Если усилитель будет эксплуатироваться при постоянной температуре (работа в помещении), то ее применение не обязательно. При отсутствии цепочки выходная мощность несколько возрастает.
Усилитель может работать также в классе АВ, для чего начальный ток подбором резисторов R2, R3 уменьшают до 20-30 мА, однако коэффициент усиления по мощности при этом падает.
Следует также отметить, что данный усилитель может работать на частотах до 300 МГц, однако уже на 250 МГц его коэффициент усиления падает до 10 дБ.
В усилителе применялся фабричный дроссель L1 типа Д-0,12 индуктивностью 43 мкГ. однако его можно заменить самодельным. В случае использования на высоких частотах (выше 100 МГц) дроссель можно намотать на резисторах МЛТ-0,5 сопротивлением больше 1 кОм проводом ПЭВ-2 0,2 виток к витку до заполнения.
Лучшие результаты могут быть получены при использовании в качестве нагрузки трансформаторов с коротко-замкнутым объемным витком. Схема включения трансформаторов приведена на рис. 2, чертеж трансформаторов - на рис. 3. Связь между их магнитными потоками осуществляется короткозамкнутым объемным витком. выполненным в виде стержня, припаянного к крышкам латунного цилиндра. Каждая из обмоток намотана на сердечнике типоразмера К10х6х3 из феррита марки 1000НМ-9. Обмотка трансформатора Т1 содержит 12 витков провода ПЭВ-2 0,31, трансформа тора Т2 - 5-7 витков провода ПЭВ-2 0,64. Корпус трансформатора соединяют с общим проводом.
Зависимость выходной мощности от входной для второго усилителя показана на рис. 4, а зависимость максимальной выходной мощности от величины коллекторного напряжения при неизменной входной мощности - на рис. 5. Хорошие результаты были получены при усилении однополосного сигнала.
Следует отметить, что при применении более мощных транзисторов, например КТ904, усилитель при выходной мощности (Рвых>2 Вт) склонен к самовозбуждению, однако при снижении коэффициента усиления работает вполне устойчиво.
Публикация: cxem.net
Смотрите другие статьи раздела Гражданская радиосвязь.
Читайте и пишите полезные комментарии к этой статье.
<< Назад
Последние новости науки и техники, новинки электроники:
Власть является ключевым фактором счастья в отношениях
11.03.2026
Исследования семейных и романтических отношений показывают, что длительное счастье пары зависит не только от привычных факторов, таких как доверие, уважение и преданность, но и от более тонких психологических аспектов. Современные ученые ищут закономерности, которые отличают действительно счастливые пары от остальных, чтобы понять, какие механизмы поддерживают гармонию в отношениях.
Группа исследователей из Университета Мартина Лютера в Галле-Виттенберге и Бамбергского университета провела опрос среди 181 пары, которые состояли в совместных отношениях более восьми лет и прожили вместе хотя бы месяц. Участники заполняли анкету, описывая различные аспекты своих отношений, включая распределение обязанностей, эмоциональную поддержку и степень вовлеченности в совместные решения.
Анализ данных показал интересный паттерн: пары, где оба партнера ощущали высокий уровень личной власти, оказывались наиболее счастливыми и удовлетворенными. В данном контексте под властью понимается способност ...>>
Защищенная колонка-повербанк Anker Soundcore Boom Go 3i
11.03.2026
Компания Anker представила новую модель линейки Soundcore - колонку Soundcore Boom Go 3i, ориентированную на активное использование на улице.
Новинка отличается высокой степенью защиты: корпус соответствует стандарту IP68, что обеспечивает водо- и пыленепроницаемость, а ударопрочный дизайн выдерживает падение с высоты до одного метра. За качество звука отвечает 15-ваттный драйвер, обеспечивающий пик громкости до 92 дБ, а технология BassUp 2.0 усиливает низкие частоты, делая звучание более насыщенным.
Колонка обладает автономностью до 24 часов, а LED-индикатор позволяет контролировать уровень заряда батареи. Кроме того, Soundcore Boom Go 3i может выполнять функцию павербанка: согласно внутренним тестам, устройство способно зарядить iPhone 17 с нуля до 40% за один час, что делает его полезным аксессуаром в походах и поездках.
Среди функциональных особенностей модели стоит выделить технологию Auracast, которая улучшает подключение и позволяет создавать стереопару из двух колонок ...>>
Раннее воздержание от алкоголя перестраивает мозг и иммунитет
10.03.2026
Алкогольная зависимость - хроническое расстройство с компульсивным употреблением спиртного, которое влияет не только на поведение, но и на функционирование мозга и иммунной системы. Недавние исследования показали, что даже на ранних этапах воздержания организм начинает перестраиваться, открывая новые возможности для терапии зависимости.
Ученые сосредоточились на пациентах, находящихся в первые недели абстиненции, и зафиксировали значительные изменения в мозговой активности. С помощью функциональной магнитно-резонансной томографии они выявили перестройку сетей нейронных связей, отвечающих за контроль импульсов и принятие решений. Эти изменения могут быть ключевыми для восстановления самоконтроля и снижения риска рецидива.
Одновременно с нейронной перестройкой исследователи наблюдали колебания иммунной системы. В крови повышался уровень цитокинов - сигнальных белков, регулирующих воспалительные процессы. Эти данные свидетельствуют о существовании нейроиммунного взаимодействия, при ...>>
Случайная новость из Архива Открыт шестой вкус
25.04.2025
Как считают специалисты, помимо традиционных пяти вкусов - сладкого, соленого, кислого, горького и умами - существует возможность выделить и шестой вкус. Недавние исследования, проведенные учеными из Университета Южной Калифорнии, открыли новую главу в изучении вкусового восприятия, добавив к известным ароматам еще один, ранее не замеченный.
Этот шестой вкус связан с веществом, называемым хлоридом аммония, которое давно известно своим острым, неприятным вкусом. Исследования показали, что хлорид аммония активирует специальный рецептор в организме, который носит название OTOP1. Этот рецептор является аналогом того, который отвечает за восприятие кислотности. Такое открытие может значительно изменить представление ученых о том, как мы воспринимаем вкус и как химические соединения в пище влияют на наше восприятие.
Исследователи изучали реакцию клеток с белком OTOP1 на воздействие хлорида аммония. Эксперименты подтвердили, что это вещество вызывает такую же реакцию, как и кислота, активируя рецептор. Интересно, что этот процесс наблюдается не только у человека, но и у других видов животных, включая птиц и рыб. Это открытие подсказывает, что восприятие хлорида аммония могло эволюционно развиться как способ защиты, позволяя организму избегать потенциально опасных и токсичных веществ.
Хотя для большинства людей вкус хлорида аммония достаточно неприятен, он все же имеет свою нишу. В некоторых странах, например, в Нидерландах и северной Германии, хлорид аммония добавляют в лакричные конфеты, придавая им характерную резкость и уникальный вкус. Ученые полагают, что вкусовые предпочтения людей могут формироваться под влиянием культурных традиций и пищевых привычек, которые различаются по регионам.
Тем не менее, хлорид аммония не является единственным кандидатом на звание шестого вкуса. В последние годы ученые активно исследуют возможность выделения вкуса для жиров, который называется олеогустус. Этот вкус связан с восприятием окисленных жиров, что, по мнению исследователей, может служить сигналом о порче пищи. Однако, в отличие от хлорида аммония, восприятие олеогустуса не связано с конкретным рецептором, что делает его восприятие менее четким и однозначным.
Необычное открытие о рецепторе OTOP1 и его реакции на хлорид аммония может кардинально изменить подходы к изучению вкусового восприятия. Это исследование подчеркивает, насколько сложным и многогранным может быть процесс восприятия пищи. Открытие нового вкуса и нового механизма его восприятия открывает перед учеными новые горизонты и возможности для дальнейших исследований.
Шестой вкус, пока представленный хлоридом аммония, может стать важным шагом в изучении биологии вкусов. Оно демонстрирует, как сложное взаимодействие химических веществ и рецепторов в нашем организме определяет наши ощущения от пищи.
|
Другие интересные новости:
▪ Автономная охлаждающая ткань
▪ Коты понимают своих хозяев
▪ Высоковольтные драйверы сверхъярких светодиодов от IR
▪ Игра в наперсток с волками
▪ Человек на земле
Лента новостей науки и техники, новинок электроники
Интересные материалы Бесплатной технической библиотеки:
▪ раздел сайта Жизнь замечательных физиков. Подборка статей
▪ статья Уилл Роджерс. Знаменитые афоризмы
▪ статья Почему ночное небо темное? Подробный ответ
▪ статья Катамаран на матрацах. Советы туристу
▪ статья Автоматический выключатель света. Энциклопедия радиоэлектроники и электротехники
▪ статья Свет вместо звонка. Энциклопедия радиоэлектроники и электротехники
Оставьте свой комментарий к этой статье:
Главная страница | Библиотека | Статьи | Карта сайта | Отзывы о сайте

www.diagram.com.ua
2000-2026