Menu Home

Бесплатная техническая библиотека для любителей и профессионалов Бесплатная техническая библиотека


Гидроакустический сигнализатор. Энциклопедия радиоэлектроники и электротехники

Бесплатная техническая библиотека

Энциклопедия радиоэлектроники и электротехники / Электроника в быту

Комментарии к статье Комментарии к статье

Несмотря на широкоразветвленную сеть спасательной службы на водоемах, все же встречаются несчастные случаи, вызванные обычно нарушением правил поведения на воде. Одной из основных задач, стоящих перед спасателями, является своевременное оказание помощи пострадавшим. От того, как быстро будет найден человек, терпящий бедствие, или только что утонувший, зависит спасут его или нет.

В статье приводится описание комплекта приборов, предназначенных для сигнализации о тонущем пловце. Такой комплект необходим при проведении работ, связанных с кратковременным погружением на небольшую глубину без акваланга. Гидроакустический сигнализатор незаменим во время соревнований ныряльщиков на длительность пребывания под водой. Сама идея сигнализации с помощью радиотехнических средств о чрезмерно длительном, а следовательно опасном для жизни, пребывания под водой заслуживает внимания радиолюбителей. Датчик, реагирующий на длительное пребывание на глубине 1-2 м под водой не универсален, так как несчастный случай может произойти на меньшей глубине. Следовало бы сконструировать датчик, реагирующий на прекращение дыхания или сердцебиения. Много еще нерешенных задач в области применения электроники для подводного плавания, и, в частности, для создания надежной связи под водой. Здесь открывается простор для творчества радиолюбителей, которые должны помочь спасателям в их благородном и трудном деле.

Гидроакустическая аппаратура автоматической сигнализации о тонущем человеке состоит из малогабаритных автоматических передатчиков и одного "дежурного" приемника. Передатчики закрепляются на теле пловцов, а приемник находится на спасательном посту непосредственно у воды. При приеме сигналов бедствия от любого из передатчиков на спасательном посту автоматически включается световая и звуковая тревожная сигнализация.

Дальность действия аппаратуры порядка 200 м.

Передатчик

Передатчик, блок-схема которого помещена на рис. 1, а принципиальная схема - на рис. 2, состоит из датчика погружения, реле времени и генератора ультразвуковых колебаний с пьезокерамическим излучателем. Рабочая частота передатчика 53 кГц.

Гидроакустический сигнализатор
Рис.1 (нажмите для увеличения)

С целью повышения надежности и экономичности передатчика включение его питания осуществляется контактами датчика погружения, который отрегулирован так, что замыкание происходит при погружении на глубину свыше 0,2-0,5 м.

Гидроакустический сигнализатор
Рис.2

Реле времени исключает возможность подачи ложных сигналов при нырянии купающихся и включает передатчик только через 55-60 сек после срабатывания датчика погружения. Такое время выдержки выбрано исходя из того, что тренированный пловец способен задержать дыхание под водой на время порядка одной минуты: Всякий случай пребывания человека под водой дольше одной минуты может расцениваться как опасный для жизни. Если же в практике и будут встречаться случаи, когда ныряльщик сможет находиться под водой дольше одной минуты, то, во-первых, после подъема пловца на глубину менее границы срабатывания датчика погружения тревожная сигнализация выключится, а, во-вторых, в приемнике имеется дополнительно реле времени, выдержку которого можно регулировать в зависимости от необходимости в широких пределах.

Для излучения и приема ультразвуковых колебаний в передатчике и в приемнике применены пьезокерамические преобразователи из титаната бария чувствительностью 3-10 мкв/бар, имеющие форму полого цилиндра с наружным диаметром 30 мм, внутренним диаметром 26 мм и высотой 28 мм. Электроакустический коэффициент полезного действия таких преобразователей порядка 25%.

Цилиндрическая форма преобразователей позволяет получить круговую характеристику направленности приемника и передатчика, достаточно же малое отношение высоты преобразователя к длине рабочей волны приближает характеристику направленности к сферической. И все же у преобразователей цилиндрической формы пространственная характеристика излучения (приема) имеет зоны малой интенсивности (чувствительности) сигналов. Хотя вероятность совпадения зон малой интенсивности передатчиков с зоной малой чувствительности приемника невелика, этих зон желательно не иметь совсем. Для получения в пространстве полной сферической и равномерной характеристики излучения (приема) более эффективным будет применение в аппаратуре преобразователей сферической формы.

Генератор ультразвуковых колебаний и реле времени выполнены на двух транзисторах T1 и Т2 типа П-13А и П-401. На первом из них собрано реле времени и на втором- собственно генератор. Генератор собран по схеме с индуктивной обратной связью.

В качестве источника питания в передатчике используются два аккумулятора типа Д-0,06, соединенные последовательно. При погружении на глубину менее 0,2-0,5 м передатчик электрической энергии не потребляет; при нахождении на большей глубине, когда работает реле времени, потребление тока составляет 4,0 ма. В режиме излучения передатчик потребляет ток 3,0 ма, поэтому практически можно считать, что продолжительность работы источников литания в течение одного цикла определяется временем их саморазряда. Выходная электрическая мощность передатчика составляет 6,0 мВт, акустическая мощность - около 2 мВт.

Расположение деталей передатчика изображено на рис 4.

Гидроакустический сигнализатор
Рис.4

Передатчик смонтирован внутри корпуса пьезокерамического преобразователя на прямоугольной гетинаксовой плате, имеющей размеры 15х22 мм. Транзистор Т2 взят с коэффициентом усиления не менее 60. Трансформатор Tp1 выполнен на ферритовом кольце (Ф-600) с наружным диаметром 8 мм. Обмотки I и II содержат соответственно 70 и 9 витков провода ПЭЛШО 0,17. С целью получения наименьших габаритов конденсатор C1 собран из 12 параллельно соединенных конденсаторов типа ЭМИ 10 мкф 3B.

Нижний торец преобразователя (ПКП) клеем 88 закреплен в пазу гетинаксовой фигурной крышки. В корпусе крышки имеется герметизированное отделение для аккумуляторов. Замена аккумуляторов производится через дно крышки, укрепленное на шести винтах. Герметизация дна осуществляется посредством круглой резиновой прокладки сечением 2х2 мм диаметром 20 мм.

Схематический чертеж датчика погружения дан на рис. 5. Контактная группа (К) датчика погружения укреплена с внутренней стороны верхней крышки (ВК) преобразователя. Воспринимающим элементом датчика погружения является опорный штифт (1), выполненный в форме грибка.

Гидроакустический сигнализатор
Рис.5

Диаметр верхней площадки равен 10 мм. Сверху на крышку и опорный штифт клеем 88 приклеена эластичная резина (2) толщиной 0,2-0,3 мм. При погружении передатчика на глубину 0,2-0,5 м опорный штифт под давлением воды, перемещаясь до упора в ограничитель, производит переключение контактов. Регулировка датчика глубины производится с помощью груза, равного силе давления столба воды высотой в 0,2-0,5 м (около 40 г).

Частота генерации определяется индуктивностью первичной обмотки трансформатора Тр1и емкостью пьезокерамического преобразователя. Настройка передатчика производится по частотомеру на резонансную частоту преобразователя изменением числа витков первичной обмотки трансформатора. Настройка передатчика посредством подсоединения параллельно преобразователю добавочного конденсатора нежелательна, так как это приводит к бесполезной потере выходной мощности передатчика. Выдержка реле времени регулируется изменением величины емкости конденсатора C1.

Вопрос наиболее рационального размещения передатчика на купающемся человеке имеет немаловажное значение как с точки зрения нежелательной экранировки сигналов передатчика телом человека, так и с точки зрения обеспечения свободы движений пловца в воде.

Как показал опыт, наиболее удобным вариантом размещения передатчика на купающемся человеке следует считать крепление на плавательной шапочке, -в специально предусмотренном резиновом "кармане". В связи с небольшим весом (50 г на воздухе и 22 г в воде) такой способ крепления не вызывает неудобств.

Приемник

Распространяющиеся от передатчика по воде ультразвуковые колебания воспринимаются пьезокерамическим преобразователем, усиливаются приемно-усилительным трактом и осуществляют включение тревожной сигнализации.

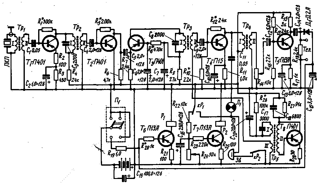
Принципиальная схема приемника приведена на рис. 3. Он собран на восьми транзисторах по своеобразной супергетеродинной схеме с заземленным эмиттером и предназначен для работы на фиксированной частоте 53 кГц. Номинальное напряжение питания - 15 в (четыре батареи КБС-Л-0,5); при снижении напряжения питания до 11 В работоспособность приемника полностью сохраняется.

Гидроакустический сигнализатор
(нажмите для увеличения)

Рис. 3. Конденсатор С17 должен быть соединен с коллектором транзистора Т8.

Потребляемый ток в дежурном режиме порядка 17-20 ма; в режиме включения предварительного индикатора около 105 ма и в режиме работы тревожной сигнализации - не более 300 ма.

Коэффициент усиления приемника по напряжению равен 6-9-105. Чувствительность, определяемая минимальной величиной сигнала на базе первого транзистора, при котором срабатывает реле P1, равна 1 мкв.

Усилитель ВЧ состоит из трех каскадов, собранных на транзисторах T1, T2, T3. Преобразователь ПКП вместе с первичной обмоткой трансформатора Tp1 составляет контур, настроенный в резонанс на частоту 53 кГц. Межкаскадные согласующие трансформаторы Тр2 и Тр3 также являются резонансной нагрузкой и повышают избирательность приемника.

Для получения максимального усиления и уменьшения вероятности самовозбуждения каскадов усиления ВЧ второй и третий каскады, собраны по каскодной схеме с параллельным питанием. Усиленные ультразвуковые колебания вместе с частотой гетеродина со вторичной обмотки трансформатора Тр3 поступают на смеситель, собранный на транзисторе Т4. Гетеродин приемника собран на транзисторе T8 по той же схеме, что и генератор передатчика. Низкочастотные колебания, представляющие собой разность частот основного сигнала и гетеродина, выделенные в обмотке I трансформатора Tp4 усиливаются каскадом усилителя НЧ, выполненного на транзисторе T5. После выпрямления (диод Д1) напряжение сигнала подается на усилитель достоянного тока (транзистор T6) с высокочувствительным поляризованным реле P1 в цепи коллектора.

При поступлении сигнала срабатывает реле P1. Через контакты этого реле подается питание на предварительный индикатор - лампочку Л1, на один полюс звонка (ЗВ) тревожной сигнализации и одновременно снимается минус напряжения питания с конденсатора С16 и с базы открытого до этого транзистора Т7 реле времени. При этом контакты реле Р2 разомкнуты. Конденсатор C16 начинает разряжаться на сопротивление R24, и через некоторое время ток транзистора T7 уменьшится настолько, что якорь реле Р2 перебросит контакты реле и плюс источника питания подключится ко второму выводу звонка, приведя в действие тревожную сигнализацию. Время выдержки реле времени может изменяться в пределах от 0 до 60 сек. с помощью переменного сопротивления R24, выведенного на переднюю панель приемника.

В исправном приемнике при легком трении пальцем по поверхности преобразователя загорается лампочка Л1 и срабатывает звуковая сигнализация.

Приемник смонтирован на двух гетинаксовых платах, установленных на шасси и на передней панели прибора, жестко скрепленной с шасси. Шасси вставляется в металлический кожух, имеющий размеры 240х145х180 мм, на котором укреплена ручка для переноски прибора и замки для закрепления шасси внутри кожуха. Монтаж и расположение деталей приемника хорошо видны на рис. 6.

Гидроакустический сигнализатор
Рис.6

На переднюю панель приемника выведены: переключатель П1 лампочка-индикатор Л1, ручка потенциометра R24 со шкалой установки выдержки времени и разъем для подсоединения коаксиального кабеля с гидроакустическим преобразователем.

Реле P1 и P2 применены типа РП-5, двухпозиционные с преобладанием. Сопротивление обмоток реле 6000 ом.

Гидроакустический преобразователь приемника закреплен между двумя латунными крышками, которые стягиваются тремя шпильками. Герметизация внутренней полости преобразователя осуществляется резиновыми прокладками в пазах. В одной из крышек имеется сальник с резиновым уплотнением, через который осуществляется ввод кабеля типа РК-1 от приемника.

Намоточные данные трансформаторов приведены в табл. 1.

Обозначение по схеме Число витков обмоток Марка и диаметр провода Тип сердечника
I II III
ТР1 250 - - ПЭЛ 0, 1 Карбонильный типа СБ-1
- 100 - ПЭЛ 0, 1
ТР2 520 - - ПЭЛ 0, 1 Карбонильный типа СБ-1
Обмотка I наматывается поверх обмотки II
- 60 - ПЭЛ 0,12
ТР3 500 - - ПЭЛ 0, 1 "
- 50 - ПЭЛ 0,12
ТР4 2000 - - ПЭЛ 0, 1 Ферритовый, Ш-образный uH=1000 S = 0,'8 см2
- 200 - ПЭЛ 0.18
ТР5 350 - - ПЭЛ 0,1 Карбонильный типа СБ-1 Обмотка I наматывается поверх обмоток II и Ш
- 40 - ПЭЛ 0,15
- - 50 ПЭЛ 0,15

При монтаже приемника особое внимание следует обратить на размещение каскадов усиления ВЧ и гетеродина. Трансформаторы необходимо разместить друг от друга на расстоянии не менее 30 мм и так, чтобы оси их симметрии были расположены под углом 90°; гетеродин желательно смонтировать на отдельной плате вместе с исполнительной частью приемника.

После проверки правильности монтажа приемника включается питание и производится проверка режимов транзисторов по постоянному току (см. таблицу 2).

Транзисторы Uк=, В Iк,ма Uк~, мВ в Iко, мка
Т1 0,5-1 0,4- 0,5 4-9 40-50 1-2
Т2 2,2 2-2,4 3-6 40-50 3-5
Т3 3, 1 0,4-1 150-270 40-50 3-5
Т4 14,6 0,8-1 0,6-1.5 в 30-40 5-10
Т5 5,5 10 1.8-2 в 30-40 5-10
Т6 14 0,15-0,2 - 40-50 3-5
Т7 3 2 - 40-50 3-5
T8 1,5 0,1 0,65 в 30-40 10-15

Примечания:

1. Режимы транзисторов даны при Uвх=1-2 мкв.
2. Режимы транзисторов по постоянному напряжению и току замерены прибором ТТ1, режимы по переменному напряжению замерены ламповым вольтметром типа МВЛ-2М.

После этого настраивают усилитель ВЧ. Для чего отключают гетеродин и на вход приемника от генератора стандартных сигналов через конденсатор емкостью 0,05- 0,1 мкф подают немодулированные колебания с частотой 53 кГц; усиленное напряжение высокой частоты измеряется ламповым вольтметром на коллекторе транзистора Т3. При выключении сигнала с входа приемника вольтметр должен показывать напряжение собственных шумов приемника. Величина этих шумов, приведенная к входу, не должна превышать 0,01 мкв для настроенного приемника (при закороченном входе). Если при выключении сигнала вольтметр показывает напряжение, значительно превышающее уровень шумов, то это указывает на возбуждение в каскадах усиления ВЧ. Для устранения этого следует несколько разнести друг от друга трансформаторы Тр2 и Тр3, в ряде случаев помогает смена концов вторичных обмоток этих трансформаторов.

Затем необходимо настроить в резонанс контуры трансформаторов Tp1, Tp2 и Тр3 изменением величин конденсаторов С3 и C8 или подбором чисел витков первичных обмоток.

В последнюю очередь производится настройка контура, образованного гидроакустическим преобразователем и первичной обмоткой трансформатора Tp1. В этом случае сигнал на входе приемника воспринимается непосредственно преобразователем ПКП от катушки индуктивности, включенной на выходе ГСС и установленной на расстоянии 10- 15 см от ПКП. На катушку индуктивности с ГСС подается сигнал напряжением около 1 в. Настройка входного контура в резонанс достигается изменением числа витков обмотки I или подключением параллельно контуру конденсаторов. Резонанс определяется по максимальному показанию вольтметра. Чувствительность приемника после настройки входного контура должна повыситься в 1,5-2 раза.

Подключенный к схеме гетеродин настраивается по частотомеру на частоту 51-51,5 кГц изменением числа витков обмотки I трансформатора Tp5 и подстроечным сердечником.

Работа смесителя и усилителя НЧ проверяется при подаче на вход приемника частоты 53 кГц от ГСС. Наибольшее усиление и лучшая передача низкочастотных сигналов достигается подбором смещения на базе транзистора Т4 с помощью сопротивлений R10 и R12.

Реле P1 исполнительной части приемника должно срабатывать при напряжении на базе транзистора Т6 минус 0,1-0,2 в, ток коллектора в этом случае равен 0,15-0,2 мА; при установке электромагнитных реле с более низкоомными обмотками коллекторный ток может увеличиваться до 8-10 мА.

После настройки передатчика и приемника в отдельности проверяется работа всей аппаратуры в воде.

Авторы: А.Давыдов, Б.Давыдов; Публикация: Н. Большаков, rf.atnn.ru

Смотрите другие статьи раздела Электроника в быту.

Читайте и пишите полезные комментарии к этой статье.

<< Назад

Последние новости науки и техники, новинки электроники:

Власть является ключевым фактором счастья в отношениях 11.03.2026

Исследования семейных и романтических отношений показывают, что длительное счастье пары зависит не только от привычных факторов, таких как доверие, уважение и преданность, но и от более тонких психологических аспектов. Современные ученые ищут закономерности, которые отличают действительно счастливые пары от остальных, чтобы понять, какие механизмы поддерживают гармонию в отношениях. Группа исследователей из Университета Мартина Лютера в Галле-Виттенберге и Бамбергского университета провела опрос среди 181 пары, которые состояли в совместных отношениях более восьми лет и прожили вместе хотя бы месяц. Участники заполняли анкету, описывая различные аспекты своих отношений, включая распределение обязанностей, эмоциональную поддержку и степень вовлеченности в совместные решения. Анализ данных показал интересный паттерн: пары, где оба партнера ощущали высокий уровень личной власти, оказывались наиболее счастливыми и удовлетворенными. В данном контексте под властью понимается способност ...>>

Защищенная колонка-повербанк Anker Soundcore Boom Go 3i 11.03.2026

Компания Anker представила новую модель линейки Soundcore - колонку Soundcore Boom Go 3i, ориентированную на активное использование на улице. Новинка отличается высокой степенью защиты: корпус соответствует стандарту IP68, что обеспечивает водо- и пыленепроницаемость, а ударопрочный дизайн выдерживает падение с высоты до одного метра. За качество звука отвечает 15-ваттный драйвер, обеспечивающий пик громкости до 92 дБ, а технология BassUp 2.0 усиливает низкие частоты, делая звучание более насыщенным. Колонка обладает автономностью до 24 часов, а LED-индикатор позволяет контролировать уровень заряда батареи. Кроме того, Soundcore Boom Go 3i может выполнять функцию павербанка: согласно внутренним тестам, устройство способно зарядить iPhone 17 с нуля до 40% за один час, что делает его полезным аксессуаром в походах и поездках. Среди функциональных особенностей модели стоит выделить технологию Auracast, которая улучшает подключение и позволяет создавать стереопару из двух колонок ...>>

Раннее воздержание от алкоголя перестраивает мозг и иммунитет 10.03.2026

Алкогольная зависимость - хроническое расстройство с компульсивным употреблением спиртного, которое влияет не только на поведение, но и на функционирование мозга и иммунной системы. Недавние исследования показали, что даже на ранних этапах воздержания организм начинает перестраиваться, открывая новые возможности для терапии зависимости. Ученые сосредоточились на пациентах, находящихся в первые недели абстиненции, и зафиксировали значительные изменения в мозговой активности. С помощью функциональной магнитно-резонансной томографии они выявили перестройку сетей нейронных связей, отвечающих за контроль импульсов и принятие решений. Эти изменения могут быть ключевыми для восстановления самоконтроля и снижения риска рецидива. Одновременно с нейронной перестройкой исследователи наблюдали колебания иммунной системы. В крови повышался уровень цитокинов - сигнальных белков, регулирующих воспалительные процессы. Эти данные свидетельствуют о существовании нейроиммунного взаимодействия, при ...>>

Случайная новость из Архива

Облепиха помогает быть стройным и здоровым 04.12.2024

Облепиха, признанная новым "суперфудом", активно привлекает внимание диетологов и ученых. Эти ярко-оранжевые ягоды, растущие на неприхотливых кустарниках, сочетают в себе богатство питательных веществ и широкий спектр полезных свойств. Новейшие исследования подтверждают, что облепиха помогает в борьбе с ожирением и диабетом, а также оказывает мощное антиоксидантное действие.

Несмотря на кислый и слегка горьковатый вкус, облепиха - настоящий кладезь витаминов и микроэлементов. Ягоды содержат высокую концентрацию витамина C, который укрепляет иммунитет, а также редкие жирные кислоты омега-7, полезные для обмена веществ и здоровья кожи. Эти свойства делают облепиху не только вкусным дополнением к рациону, но и эффективным природным средством для поддержания стройной фигуры.

Ученые из Мемориального университета Ньюфаундленда Ферейдун Шахиди и Ренан Даниэльские провели исследование, показавшее, что облепиха содержит уникальные биологически активные соединения: фенольные кислоты, флавоноиды и танины. Эти компоненты обладают выраженным антиоксидантным эффектом, что делает ягоды особенно ценными в профилактике хронических заболеваний.

Исследователи изучили воздействие экстракта облепиховых ягод на процессы окисления в организме. Экстракт показал высокую эффективность в защите липопротеинов низкой плотности (так называемого "плохого" холестерина) и ДНК от окислительного повреждения. Это особенно важно для предотвращения сердечно-сосудистых заболеваний и замедления процессов старения.

Кроме антиоксидантной активности, облепиха помогает регулировать обмен веществ. Исследование выявило, что экстракт ягод ингибирует два ключевых фермента, участвующих в развитии ожирения и диабета. Это открывает перспективы для создания на основе облепихи натуральных средств, способствующих контролю веса и уровню сахара в крови.

Благодаря своему химическому составу облепиха полезна как в свежем виде, так и в составе экстрактов, масел или соков. Она может стать основой полезных десертов, добавкой к чаю или ингредиентом для смузи. Однако из-за высокого содержания кислоты важно употреблять ягоды умеренно, особенно людям с повышенной кислотностью желудка.

Облепиха - это не просто ягода, а настоящий природный помощник для здоровья. Ее способность поддерживать стройность, бороться с диабетом и защищать организм от окислительных процессов делает ее незаменимой частью современного рациона. Ученые продолжают изучать уникальные свойства этого "суперфуда", открывая новые горизонты его применения.

Другие интересные новости:

▪ Гибкий смартфон сможет заменить компьютер

▪ Умное кольцо boAt Smart Ring Active

▪ Оцифровка - следующий уровень производства зерна и сои

▪ Антирекорд выбросов углекислого газ

▪ Чип вывода видеоизображений для портативных устройств

Лента новостей науки и техники, новинок электроники

Интересные материалы Бесплатной технической библиотеки:

▪ раздел сайта Мобильная связь. Подборка статей

▪ статья Психология. Шпаргалка

▪ статья Как растет рис? Подробный ответ

▪ статья Врач-онколог. Должностная инструкция

▪ статья Звуковой генератор как сирена. Энциклопедия радиоэлектроники и электротехники

▪ статья Поглощение запаха пористыми веществами. Химический опыт

Оставьте свой комментарий к этой статье:

Имя:


E-mail (не обязательно):


Комментарий:





Главная страница | Библиотека | Статьи | Карта сайта | Отзывы о сайте

www.diagram.com.ua

www.diagram.com.ua
2000-2026