Бесплатная техническая библиотека
Малогабаритная высокочастотная установка для плавки металлов. Энциклопедия радиоэлектроники и электротехники

Энциклопедия радиоэлектроники и электротехники / Сварочное оборудование
Комментарии к статье
Если возникает необходимость расплавить металл (латунь, алюминий, цинк, серебро и др.) в небольших объемах, можно применить ВЧ-установку для плавки металлов индукционными токами. Общий вил установки показан на рис.1, а принципиальная электрическая схема изображена на рис.2.

Рис.1. Общий вид высокочастотной установки для плавки металлов
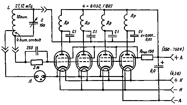
Генератор ВЧ генерирует колебания с частотой 27,12 МГц, он собран на четырех электронных лампах (тетродах). Неоновая лампа сигнализирует о готовности установки к работе. Ручка конденсатора переменной емкости (КПЕ) С выведена наружу. При наибольшей емкости КПЕ происходит быстрое нагревание куска металла, помещенного и ткгль, который вводится в катушку L. Для расплавления куска цинка
достаточно нагревать его в течение 15-20 с. Катушка L - бескаркасная, состоит из 10 витков провода ПЭВ 0,8, внутренний диаметр витка 12 мм. При необходимости увеличить диаметр катушки L, не изменяя частоты колебания работы генератора, можно воспользоваться расчетом, т. е. произвести пересчет катушки, связанный с изменением ее диаметра.

Принципиальная электрическая схема установки
Конденсатор С переменной емкости можно взять от радиоприемника (с удаленной каждой второй пластиной). Мощность установки такова, что она практически мгновенно нагревает до красного каления отвертку. Скорость плавления металла в таких установках зависит прежде всего от мощности генератора, частоты, потерь на гистерезис и на вихревые токи в куске металла. Лампы должны быть мощными, но число их при параллельном включении не должно превышать четырех.
Конденсаторы С1-керамические или слюдяные с рабочим напряжением 1500-2000 В, если применены триоды, резистор R не нужен. ВЧ-установка питается от сети переменного тока напряжением 127 или 220 В через выпрямитель, который можно смонтировать вместе с установкой или вынести в отдельный блок. При работе с установкой необходимо строго соблюдать правила техники безопасности.
Примечание. Данные дросселя Др в установке. Катушка без сердечника 10 витков, расстояние между витками 1 мм, провод ПЭВ 0,6, диаметр катушки 9 мм. Тигель - керамический. В качестве источника питания можно использовать любой силовой трансформатор от ламповых телевизоров или лампового радиоприемника, который имел не менее 5-6 радиоламп. Или, используя практический совет 25, произвести расчет и изготовить силовой трансформатор мощностью на 250-300 Вт.
Литература:
- В.Г.Бастанов. 300 практических советов. Московский рабочий, 1986.
Публикация: Н. Большаков, rf.atnn.ru
Смотрите другие статьи раздела Сварочное оборудование.
Читайте и пишите полезные комментарии к этой статье.
<< Назад
Последние новости науки и техники, новинки электроники:
Луна поглощает воздух нашей планеты
22.01.2026
Взаимодействие Земли и Луны оказывается не только гравитационным. Новые исследования показывают, что наш естественный спутник постепенно "поглощает" крошечные фрагменты атмосферы Земли, используя для этого солнечный ветер и магнитное поле нашей планеты. Этот процесс исследователи называют космическим каннибализмом.
Еще во времена миссий "Аполлон" в 1970-х годах ученые обнаружили в лунном реголите необычные следы воды, углекислого газа, гелия и азота. Стало ясно, что часть этих веществ, включая ионы азота, попала на Луну из верхних слоев земной атмосферы.
Долгое время считалось, что подобная передача могла происходить только до того, как Земля сформировала свое магнитное поле. Магнитосфера, как считалось, должна была защищать планету и блокировать утечку атмосферных частиц в космос. Новое моделирование показало, что это представление неверно.
Ученые объединили данные лунных образцов с компьютерными моделями и выяснили, что поток ионов усиливается, когда Луна проходит через так ...>>
Игровой компьютер Asus ROG G1000
22.01.2026
Компания Asus представила ROG G1000 - устройство, которое сочетает мощнейшие комплектующие с уникальной системой визуализации, превращая корпус компьютера в полноценный элемент шоу.
Главной особенностью новинки стали три голографических вентилятора AniMe Holo, установленных в отдельных стеклянных камерах. Главный вентилятор диаметром 380 мм оснащен от 680 до 720 светодиодов, а два дополнительных вентилятора размером 215 мм имеют по 384-404 светодиода. Они способны воспроизводить голографические изображения, анимации и видео в форматах MP4, GIF, JPEG и PNG, создавая эффект "живых" панелей внутри корпуса.
Представители Asus подчеркивают, что эти вентиляторы не участвуют в охлаждении и предназначены исключительно для визуальных эффектов. Управление анимациями осуществляется через программу Armoury Crate, позволяющую пользователю персонализировать отображение по собственному вкусу.
Для поддержания оптимальной температуры компонентов ROG G1000 оснащен 420-мм жидкостным охладителем ...>>
Дефицит витамина B12 удваивает риск депрессии
21.01.2026
Питание и баланс микроэлементов играют ключевую роль не только для физического, но и для психического здоровья. Недавние исследования ирландских ученых показывают, что недостаток витамина B12 способен значительно повышать риск развития депрессии у пожилых людей, влияя на работу нервной системы и общее самочувствие.
Витамин B12 необходим для правильного формирования эритроцитов, поддержания нервной системы и синтеза ДНК. Его дефицит может проявляться широким спектром симптомов: усталостью, слабостью, запорами, потерей аппетита и веса. У некоторых людей наблюдаются нарушения памяти, дезориентация и снижение когнитивных функций, доходящее до деменции.
Особое внимание ученых привлекает анемия, которая является одним из самых опасных последствий недостатка B12. Она может возникать также при дефиците других витаминов группы B, включая фолиевую кислоту, и требует ранней диагностики и коррекции для предотвращения необратимых изменений в организме.
Новое исследование показало, что у по ...>>
Случайная новость из Архива Заваривание кофе с помощью лазера
27.09.2022
Немецкие ученые придумали лазер для приготовления кофе. Устройство не только в 300 раз быстрее готовит напиток, но и лучше раскрывает его вкусовые и ароматические свойства.
Один из популярных способов заваривания кофе - cold-brew - предполагает холодную экстракцию напитка. Перемолотые кофейные зерна заливают водой и оставляют настояться. Для заваривания холодного напитка требуется около 24 часов, однако современное оборудование сокращает время до 12 часов. Есть способ ускорить процесс.
Метод основан на лазерном синтезе и обработке коллоидов (laser synthesis and processing of colloids, LSPC). Обычно его используют для создания растворов взвешенных наночастиц. Исследователи взяли лазер на иттрий-алюминиевом гранате (Nd:YAG), легированный неодимом, настроенный на 532 нанометра, и создали импульсы мощностью 125 пикоджоулов продолжительностью всего 10 пикосекунд. После этого лазер пропустил через раствор кофе. Они пропускали его через раствор молотого кофе, смешанного с водой, около 80 000 раз в секунду в течение трех минут, ни разу не повышая температуру более чем на несколько градусов.
Лазер-кофе сравнили с напитком cold-brew, который заваривали 24 часа, и чашкой горячего кофе, заваренного с использованием капельного фильтра. Кислотность в лазер-кофе была почти идентична уровню напитка, который заваривали 24 часа, и значительно меньше, чем в горячем кофе. Самый душистый кофе - традиционной холодной заварки, а приготовленный с помощью лазера - на втором месте.
Кроме того, в лазерном кофе не нашли никаких посторонних веществ.
|
Другие интересные новости:
▪ Планшеты Microsoft Surface 2 и Microsoft Surface Pro 2
▪ Речь замедляется из-за существительных
▪ Логическое оружие Пентагона
▪ Сенсорные ноутбуки подешевеют
▪ Винная бутылка с телеэкраном
Лента новостей науки и техники, новинок электроники
Интересные материалы Бесплатной технической библиотеки:
▪ раздел сайта Основы первой медицинской помощи (ОПМП). Подборка статей
▪ статья Активные фильтры для сабвуферов. Искусство аудио
▪ Каковы были характерные особенности крупных полисов Греции: Афины и Спарты? Подробный ответ
▪ статья Пижма красная. Легенды, выращивание, способы применения
▪ статья Самодельная ветросиловая установка. Генератор постоянного тока. Энциклопедия радиоэлектроники и электротехники
▪ статья Лабораторные автотрансформаторы серий TDGC2 и TSGC2. Энциклопедия радиоэлектроники и электротехники
Оставьте свой комментарий к этой статье:
Комментарии к статье:
Юрий
Можно ли сделать это на двух лампах Г811. Изменится ли схема?
Александр
Не работает!!!
Леонид
А можно поконкретнее насчёт переменного конденсатора у него какое напряжение и сколько нужно витков и какого диаметра для дросселей?
Сергей
Эта конструкция описана в сборнике Войцеховского "Радиоэлектронные игрушки".
Леонид
а можно делать на лампах 6п36с
Александр
потратил уйму времени заработала сверло на 6нагрелось моментально правда первая лампа быстро зеленеть а потом и вторая в это время первую пробило .дальнейшие работы с ней результата не дали положительного [down] [down]
Главная страница | Библиотека | Статьи | Карта сайта | Отзывы о сайте

www.diagram.com.ua
2000-2026