Бесплатная техническая библиотека
Малогабаритная электроискровая установка. Энциклопедия радиоэлектроники и электротехники

Энциклопедия радиоэлектроники и электротехники / Сварочное оборудование
Комментарии к статье
Простая электроискровая установка (рис.1) позволяет легко и быстро обрабатывать небольшие детали из электропроводящих материалов любой твердости. С ее помощью можно получать сквозные отверстия любой формы, извлекать сломавшийся резьбовой инструмент, прорезать тонкие щели, гравировать, затачивать инструмент и др.
Сущность процесса электроискровой обработки заключается в разрушении материала заготовки под действием импульсного электрического разряда. Благодаря малой площади рабочей поверхности инструмента в месте разряда выделяется большое количество тепла, которое расплавляет вещество обрабатываемой детали. Процесс обработки наиболее эффективно идет в жидкости (например, в керосине), омывающей место контакта вибрирующего инструмента и детали и уносящей с собой продукты эрозии. Инструментом служат латунные стержни (электроды), повторяющие форму предполагаемого отверстия.

Рис.1. 1 - обрабатываемая деталь; 2 - инструмент;
3 - электромагнитный вибратор; 4-зажимное устройство; 5-ванночка
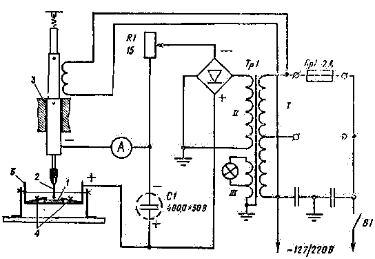
Принципиальная электрическая схема установки изображена на рис.2. Работает установка следующим образом. Разрядный конденсатор С1 соединен своим плюсовым выводом с обрабатываемой деталью 1. Минус его подключен к инструменту 2. Электромагнитный вибратор 3 сообщает инструменту непрерывные колебания. Этим обеспечивается постоянное искрение в месте контакта и предотвращается возможность сварки инструмента с деталью. Обрабатываемая деталь 1 закреплена в зажимном устройстве 4, которое имеет надежный электрический контакт с ванночкой 5.

Принципиальная электрическая схема установки
Силовой трансформатор собран на сердечнике Ш32 из обычной трансформаторной стали. Толщина набора 40 мм. Первичная обмотка содержит 1100 витков провода ПЭВ 0,41 с отводом от 650-го витка. Вторичная обмотка имеет 200 витков провода ПЭВ-2 диаметром 1,25 мм. Между первичной и вторичной обмотками помещена экранирующая обмотка III, состоящая из одного слоя, намотанного проводом ПЭВ 0,18. Емкость разрядного конденсатора 400 мкФ (два конденсатора типа КЭ-2 200Х50В). Реостат R1 рассчитан на ток 3-5 А. Этот реостат намотан нихромовым проводом диаметром 0,5-0,6 мм на сопротивлении ВС-2.
Диоды Д1 -Д4 типа Д304, можно использовать и другие типы диодов. На выходе выпрямителя напряжение порядка 24-30 В. Можно 'использовать источники питания и с более низким напряжением, но с большим током, чтобы мощность, потребляемая цепью заряда была не менее 50-60 Вт.
При работе установки происходит непрерывное искрение. Для уменьшения помех, создаваемых установкой, в цепь ее питания необходимо включить простейшие фильтры.
Литература:
- В.Г.Бастанов. 300 практических советов. Московский рабочий, 1986.
Публикация: Н. Большаков, rf.atnn.ru
Смотрите другие статьи раздела Сварочное оборудование.
Читайте и пишите полезные комментарии к этой статье.
<< Назад
Последние новости науки и техники, новинки электроники:
Оптимальная продолжительность сна
12.11.2025
Сон играет ключевую роль в поддержании здоровья, когнитивных функций и общего самочувствия. Несмотря на широко распространенный стереотип о восьмичасовом сне, последние исследования показывают, что оптимальная продолжительность сна для большинства здоровых взрослых ближе к семи часам.
Эволюционный биолог из Гарварда, Дэниел Э. Либерман, утверждает, что традиционная норма восьми часов сна - это скорее культурное наследие индустриальной эпохи, чем биологическая необходимость. По его словам, полевые исследования, проведенные в сообществах, не использующих электричество, показывают, что средняя продолжительность сна составляет 6-7 часов, что значительно отличается от общепринятого стандарта.
Современные эпидемиологические данные подтверждают этот взгляд. Исследования выявили так называемую "U-образную кривую" зависимости между продолжительностью сна и рисками для здоровья. Минимальные показатели заболеваемости и смертности наблюдаются именно у людей, спящих около семи часов в сутки. ...>>
Дефицит кислорода усиливает выброс закиси азота
12.11.2025
Парниковые газы играют ключевую роль в изменении климата, а закись азота (N2O) - один из наиболее опасных среди них. Этот газ не только втрое сильнее углекислого газа в удержании тепла, но и разрушает озоновый слой. Недавнее исследование американских ученых показало, что микробы в зонах с низким содержанием кислорода активно производят N2O, усиливая глобальные климатические риски.
Команда из Университета Пенсильвании изучала прибрежные воды у Сан-Диего и провела наблюдения на глубинах от 40 до 120 метров в Восточной тропической северной части Тихого океана - одной из крупнейших зон дефицита кислорода. Исследователи сосредоточились на том, как морские микроорганизмы превращают нитраты в закись азота.
В ходе работы выяснилось, что существует два пути образования N2O. Один путь начинается с нитрата, другой - с нитрита. На первый взгляд более короткий путь должен быть эффективнее, однако микробы, использующие нитрат, продуцируют больше газа, поскольку этот "сырьевой" источник более д ...>>
Омега-3 помогают молодым кораллам выживать
11.11.2025
Сохранение коралловых рифов становится все более актуальной задачей в условиях глобального изменения климата. Молодые кораллы особенно уязвимы на ранних стадиях развития, когда стрессовые условия и нехватка питательных веществ могут привести к высокой смертности. Недавнее исследование ученых из Технологического университета Сиднея показывает, что специальные пищевые добавки способны существенно повысить выживаемость личинок кораллов.
В ходе работы исследователи разработали особый состав "детского питания" для коралловых личинок. В него вошли масла, богатые омега-3 жирными кислотами, а также важные стерины, необходимые для формирования клеточных мембран. Личинки, получавшие эти добавки, развивались быстрее, становились крепче и демонстрировали более высокую устойчивость к стрессовым факторам.
Особое внимание ученые уделили липидам. Анализ показал, что личинки активно усваивают эти вещества, что напрямую влияет на их жизнеспособность. Стерины, содержащиеся в корме, повышают устойчи ...>>
Случайная новость из Архива Платформа MediaTek LinkIt Smart 7688
01.12.2015
MediaTek Labs представила платформу для разработчиков MediaTek LinkIt Smart 7688, новейшее пополнение в серии платформ для разработчиков LinkIt.
Новая платформа предоставляет разработчиками широкие возможности программирования и позволяет быстрее конструировать современные устройства с модулями Wi-Fi и доступом в облачные сервисы, такие как IP-камеры, системы наблюдения, умные бытовые приборы и Wi-Fi-шлюзы.
В продажу поступят два набора средств разработки аппаратного обеспечения (HDK): LinkIt Smart 7688 с чипсетом MediaTek MT7688AN и LinkIt Smart 7688 Duo, дополнительно оснащенный Arduino-совместимым микроконтроллером. В оснащение обеих макетных плат входят встроенный Wi-Fi-модем, модули ОЗУ 128МБ и ПЗУ 32МБ и широкий набор возможностей по подключению периферии.
"Всяческое поощрение инновационного процесса в Интернете вещей - одна из приоритетных задач MediaTek Labs. Сегодняшнее пополнение в семействе продуктов LinkIt создано специально для многочисленных сообществ разработчиков, работающих с open-source платформами с интеграцией в облачные сервисы. Мы верим, что наши новинки будут способствовать реализации самых смелых идей разработчиков и сделают наш мир еще более единым в контексте глобальных коммуникаций, - прокомментировал анонс вице-президент MediaTek Labs Марк Нейделл. - Новейшая платформа для разработчиков LinkIt Smart 7688 придется по вкусу самым разным энтузиастам, потому что она предложит им поддержку сразу нескольких популярных языков програмирования и совместимость с Linux".
Сразу три сообщества разработчиков смогут найти очевидные преимущества в использовании макетной платы LinkIt Smart 7688:
1. Разработчики OpenWrt смогут использовать OpenWrt SDK для создания приложений на языке C для своих IoT-устройств, а также применять более 2000 готовых программных модулей для реализации дополнительной функциональности.
2. Разработчики приложений для мобильных платформ и web благодаря поддержке Node.js и Python смогут с легкостью интегрировать свои наработки в среду IoT.
3. Arduino-разработчики смогут использовать Arduino IDE для разработки приложений под встроенный в LinkIt Smart 7688 Duo микроконтроллер и управлять периферийными устройствами в реальном времени.
Макетные платы MediaTek LinkIt Smart 7688 и 7688 Duo будут доступны по всему миру через каналы компании Seeed Studio начиная с 1 декабря 2015 года. Стоимость LinkIt Smart 7688 составляет 12,9 долларов, а LinkIt Smart 7688 Duo - 15,9 долларов. Версия Wi-Fi-драйвера с open-source исходным кодом находится в разработке и будет доступна на сайте MediaTek Labs в течение нескольких месяцев.
|
Другие интересные новости:
▪ Серийное производство памяти HBM2E
▪ На орбиту запустят спутник-ремонтник
▪ Электронный контроль генов
▪ Покрытие Liquipel Skins защитит телефон от повреждений
▪ Латынь в школе
Лента новостей науки и техники, новинок электроники
Интересные материалы Бесплатной технической библиотеки:
▪ раздел сайта Телевидение. Подборка статей
▪ статья Сегодня - рано, послезавтра - поздно. Крылатое выражение
▪ статья Что такое приливная волна? Подробный ответ
▪ статья Водяная лилия. Легенды, выращивание, способы применения
▪ статья Бустер для электрогитары. Энциклопедия радиоэлектроники и электротехники
▪ статья Q-умножитель. Энциклопедия радиоэлектроники и электротехники
Оставьте свой комментарий к этой статье:
Главная страница | Библиотека | Статьи | Карта сайта | Отзывы о сайте

www.diagram.com.ua
2000-2025