Menu Home

Бесплатная техническая библиотека для любителей и профессионалов Бесплатная техническая библиотека


Автоматический тир из DENDY-пистолета. Энциклопедия радиоэлектроники и электротехники

Бесплатная техническая библиотека

Энциклопедия радиоэлектроники и электротехники / Начинающему радиолюбителю

Комментарии к статье Комментарии к статье

[an error occurred while processing this directive]

Можно ли из пистолета известной видеоигры стрелять более метко? Конечно, можно, отвечает автор предлагаемой статьи, если доработать его. Правда, теперь будет оцениваться не столько точность попадания, сколько скорость реакции на появление цели. Но согласитесь - это тоже важнейшая способность охотника!

При покупке видеоприставки, совместимой с "DENDY", рачительный хозяин обязательно поинтересуется, входит ли в комплект поставки световой пистолет. Расчет простой - сколько бы ни прослужила видеоприставка, а пистолет всегда пригодится детям как обычная игрушка.

Однако световой пистолет в телевизионной игре не только забава, но и элемент стрелкового тренажера. Развитие глазомера, тренировка зрительной и слуховой реакции, а также получение начальных навыков обращения с оружием - это принципиальные отличия пистолетных игр от компьютерных боевиков.

В 70-80-х годах стрелковые электронные тиры были непременным атрибутом работы радиокружков. С появлением телевизионных тиров и видеоприставок со световыми пистолетами ситуация изменилась. Действительно, теперь появилась возможность гибкого изменения компьютерной и программной формы целей, траектории и скорости их движения и даже окружающего ландшафта.

Игровых программ для светового "DENDY"-пистолета, к сожалению, не так много. Наиболее известные из них "DUCK HUNT" ("утиная охота"), "WILD GUNMAN" ("крутой стрелок"), "CLAYSHOOTING" ("сбей тарелку").

Основной интерес в стрелковых играх заключается в постепенном ускорении движения целей. С каждым раундом (этапом) играть становится все труднее и труднее. Многим не удается увидеть финальную часть игры.

И все-таки существует способ стопроцентного попадания в цель, представляющий собой интересную логическую и техническую задачу. Для лучшего понимания зтого необходимо чуть глубже взглянуть на происходящие в световом пистолете процессы.

Каждый, кто хоть раз из любопытства разбирал световой пистолет, мог заметить находящуюся внутри небольшую печатную плату с радиоэлементами.

Все разновидности электрических схем DENDY-пистолета укладываются в простую структуру (рис. 1). Гибкий четырехпроводный шнур с розеткой Х1 на конце соединяет пистолет и видеоприставку. Цепь "LIGHT" несет информацию об уровне освещенности фотодатчика VT1, цепь "GUN" - размыкающий контакт кнопки SB1 курка пистолета, "+5V" - питание, "GND" - общий провод.

Автоматический тир из DENDY-пистолета

Сигналы "LIGHT" (освещение) и "GUN" (выстрел) поступают внутрь видеоприставки на входы логических элементов. Эти сигналы электрически не связаны друг с другом.

Типичная осциллограмма сигнала "LIGHT" при наведении пистолета на цель во время игры приведена на рис. 2. Как видно, этот сигнал фиксирует импульсы с частотой кадровой развертки телевизора, причем импульсы на линейном участке тем больше по амплитуде, чем выше яркость цели на экране телевизора и чем ближе расстояние от телевизора до пистолета.

Автоматический тир из DENDY-пистолета

Информативность сигнала заключается, во-первых, в амплитуде, а во-вторых, в местоположении импульса на временной оси.

Теоретически не представляет особой сложности "обмануть" процессор видеоприставки, подавая вместо "LIGHT" и "GUN" специально сформированные импульсы с уровнями, достаточными для срабатывания логических элементов.

Для перехода от теории к практике необходимо уяснить общий алгоритм работы пистолетных игр. С этой целью рассмотрим детальнее логику построения одной из самых увлекательных игр для светового пистолета - "CLAY SHOOTING" - тренажер стендовой стрельбы по двум тарелкам. Тарелки по очереди "вылетают" из нижней части экрана телевизора в произвольный момент времени, под непредсказуемым углом и со случайной паузой между вылетом первой и второй тарелок. Задача играющего заключается в точном наведении пистолета на цель и нажатии на курок до того, как тарелка "упадет" за горизонт.

Первое наблюдение. Если внимательно приглядеться к моменту "выстрела", то можно заметить, что сразу после нажатия на курок экран телевизора на мгновение гаснет, изображение тарелки заменяется ярко-белым прямоугольником, после чего игровая картинка восстанавливается и стрелок видит, попал он в цель или нет.

Очевидно, белый прямоугольник цели на темном фоне является испытательным высоко контрастным изображением, которое гарантированно должно улавливаться фотодатчиком пистолета.

Второе наблюдение. Если пистолет приблизить вплотную к экрану телевизора, настроенного на максимальную яркость, то вместо улучшения точности попадания наблюдается обратный эффект - ни один из выстрелов не достигает цели. Это наводит на мысль о существовании защитной зоны и специального алгоритма принятия решения.

Третье наблюдение. Осциллограмма сигнала "LIGHT" (рис. 2) вследствие инерционных свойств кинескопа не содержит составляющих с периодом строчной развертки телевизора 64 мкс. Значит, действия в игровой пистолетной программе должны синхронизироваться с кадровыми импульсами.

Исходя из трех наблюдений, можно представить алгоритм работы программы "CLAYSHOOTING" (рис. 3). Первоначально программа анализирует длительность единичного уровня сигнала "GUN", определяющего факт нажатия на курок. Если длительность больше времени Т1, значит, это не случайная помеха, не "дребезг" механических контактов, а "выстрел".

Автоматический тир из DENDY-пистолета

По истечении времени Т2 экран телевизора становится абсолютно темным. Программа начинает анализировать сигнал "LIGHT", который должен во время Т3 находиться в состоянии логического нуля.

Тем самым формируется защитная зона, повышающая помехоустойчивость системы и не дающая попасть в цель с очень близкого расстояния, так как фотодатчик пистолета при этом может зафиксировать ложное срабатывание от слабого свечения темного экрана во время Т3.

На следующем этапе сигнал "LIGHT" анализируется в течение времени Т4 и, если он достигает единичного уровня, принимается решение о точном попадании в цель, и наоборот. Высокая яркость и контрастность испытательного изображения показана на рис. 3 увеличенной амплитудой и более крутыми фронтами сигнала.

Цикл анализа завершается восстановлением исходной игровой картинки.

Конкретные значения Т1-Т4 определяются игровой программой и в разных играх могут быть разными. Подобный алгоритм можно использовать при написании собственных программ для светового пистолета.

Эксперименты, проведенные с подачей внешних сигналов от генератора одиночных импульсов на входы "LIGHT" и "GUN" видеоприставки, показывают, что для игровой программы "CLAY SHOOTING" значения алгоритмических отрезков времени ориентировочно равны КТКТ2; T2=T3=T4=t, где t - 20 мс (период кадровой развертки телевизора). Итого, от момента "выстрела" до фиксации успешного попадания (время Т4) может пройти от 80 до 100 мс.

Теперь задача сводится к разработке устройства, позволяющего автоматически формировать импульсные последовательности в соответствии с найденным алгоритмом.

Структурная схема такого устройства - имитатора "выстрелов" - приведена на рис. 4.

Автоматический тир из DENDY-пистолета

Для безошибочности попаданий устройство должно быть засинхронизировано от сигнала кадровой развертки. С этой целью применяется выделитель кадровых импульсов, на вход которого поступает полный видеосигнал, выведенный на разъем "VIDEO" игровой приставки.

Такая синхронизация помогает однозначно зафиксировать местоположение момента "выстрела" внутри кадра.

Генератор "выстрелов" должен имитировать как одиночные "выстрелы", так и стрельбу "очередями" с регулируемой скорострельностью.

Собственно привязка момента "выстрела" к началу очередного кадра осуществляется синхронизатором, с выхода которого сигнал "GUN" поступает непосредственно в видеоприставку, а сигнал "LIGHT" - через формирователь задержанного импульса.

Электрическая схема имитатора изображена на рис. 5. Видеосигнал приставки, снимаемый с разъема Х1 "VIDEO", поступает через фильтр C1R5C2R1R2R3 на вход одновибратора DD2.1. Одновибратор выполняет двойную функцию: служит пороговым элементом по синхровходу С и нормирует полученные кадровые импульсы по длительности (6...7 мс). Подстроечным резистором R2 устанавливают оптимальный порог срабатывания, ориентировочное напряжение на его движке - 2,0...2,4 В. Диод VD1 ускоряет разрядку конденсатора С4.

Автоматический тир из DENDY-пистолета

"выстрелов" с регулируемой частотой 0,5...2 Гц собран по стандартной схеме на элементах DD1.1 - DD1.4. Одиночные "выстрелы" формируются кнопкой SB1 и резистором R8. Коммутацию режимов "Одиночно" - "Многократно" осуществляет переключатель SA1.

Синхронизатор выполнен на основе D - триггера DD2.2. Сформированный на его инверсном выходе сигнал поступает через буферный элемент DD1.6 на вход "GUN" (X2) видеоприставки.

Сигнал с прямого выхода триггера DD2.2 запускает в работу формирователь задержанного одиночного импульса на двух одновибраторах DD3.1, DD3.2. Задержка регулируется подстроечным резистором R9. Длительность импульса фиксирована значением 6...7 мс и в случае необходимости может быть изменена резистором R10. Диоды VD2, VD3 служат для ускорения разрядки конденсаторов С5, С6.

Инвертор DD1.5, как элемент с повышенной нагрузочной способностью, является буфером для подачи в видеоприставку сигнала "LIGHT" (X2).

В устройстве можно применить постоянные резисторы мощностью 0,125 Вт или 0,25 Вт, подстроечные резисторы СПЗ - 19а, конденсаторы К10 - 17, КМ - 56. Диоды - любые другие кремниевые маломощные, например, КД509А, КД521А.

Переключатель SA1 - малогабаритный движковый ПД9 - 2, ПД53 - 1, при его отсутствии можно использовать навесные перемычки. В качестве SB1 применяется кнопка КМ - 1, хотя допустимо использовать электрические контакты курка светового пистолета.

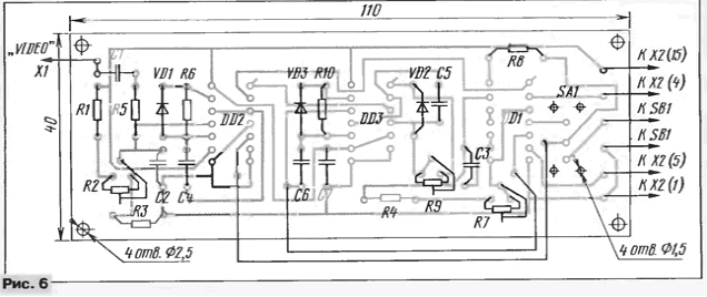
Детали размещают на печатной плате (рис. 6) из одностороннего фольгированного материала. В конструкции должен быть обеспечен свободный доступ к подстроечным резисторам. Возможен вариант применения переменных резисторов, соединенных проводниками с соответствующими контактными площадками печатной платы.

Автоматический тир из DENDY-пистолета

Разъем Х1 - вилка "тюльпан", применяемая в кабелях подключения видеомагнитофонов к телевизорам по низкой частоте.

Разъем Х2 - 15-контактная розетка от шнура светового пистолета, вид на нее с лицевой стороны изображен на рис. 7.

Автоматический тир из DENDY-пистолета

Если конструкция собирается как временная, то провода разъема Х2 можно распаять прямо на печатные дорожки платы джойстиков внутри видеоприставки.

Автоматический тир соединяют с видеоприставкой" как показано на рис. 8. Джойстик подключают к основному игровому разъему "CONTROL 1", имитатор - к вспомогательному "CONTROL 2", куда раньше подсоединялся световой пистолет.

Автоматический тир из DENDY-пистолета

При включении видеоприставки питание через разъем Х2 подается на имитатор "выстрелов", устройство готово к работе. Первоначально следует резистором R7 отрегулировать на выводе 4 элемента DD1.4 период следования импульсов, равный примерно 0,9...1,5 с. Далее необходимо убедиться, что на выводе 12 триггера DD2.1 имеются устойчивые нераздвоенные импульсы отрицательной полярности с периодом 20 мс и длительностью 6...7 мс, иначе придется установить эти параметры резистором R2. Длительность импульсов на выходе 2 одновибратора DD3.1 устанавливают резистором R9 в пределах 80...100 мс.

Теперь о порядке работы с имитатором. Все, что требуется от играющего, - это вставить картридж с программой, включить питание видеоприставки, джойстиком выбрать игру "CLAY SHOOTING" и нажать кнопку "START" на джойстике.

При установке имитатора в режим одиночной стрельбы (SA1 "Одиночно") любое нажатие на кнопку SB1 при наличии цели на экране телевизора моментально приводит к безошибочному попаданию. Главное, не опоздать, чтобы цель не скрылась за горизонтом.

Если переключатель SA1 на имитаторе находится в положении "Многократно", то на экране телевизора можно будет наблюдать "мультфильм", в котором стрелок всегда побеждает, расходуя два или три патрона. Если этого не происходит, необходимо прямо по ходу игры выбрать оптимальное положение движков резисторов R2, R7, R9.

Примерно через 20 мин непрерывной автоматической стрельбы можно узнать, какой сюрприз приготовили авторы программы игроку, набравшему максимально возможное количество очков, а еще через некоторое время станет известно общее число игровых раундов.

Автор: С.Рюмик, г.Чернигов, Украина

Смотрите другие статьи раздела Начинающему радиолюбителю.

Читайте и пишите полезные комментарии к этой статье.

<< Назад

Последние новости науки и техники, новинки электроники:

Ощущение текстуры через экран гаджета 27.11.2025

Гаджеты научились передавать изображение и звук с впечатляющей реалистичностью, но тактильные ощущения по-прежнему остаются недоступными для полноценной цифровой симуляции. Именно поэтому инженеры и исследователи во всем мире стремятся создать технологии, которые позволят "почувствовать" виртуальный объект так же естественно, как и настоящий. Новая разработка специалистов Северо-Западного университета США стала одним из самых заметных шагов в этом направлении. Возглавлявшая исследование аспирантка Сильвия Тан (Sylvia Tan) подчеркивает, что прикосновение остается последним фундаментальным чувственным каналом, для которого пока нет зрелого цифрового аналога. По ее словам, если визуальные и звуковые интерфейсы давно обеспечивают высокую степень реалистичности, то осязание лишь начинает приближаться к этому уровню. В недавней публикации в журнале Science Advances Тан отмечает, что новая технология способна изменить само представление о взаимодействии человека с устройствами. Разработ ...>>

AirPods Pro с инфракрасными камерами 27.11.2025

Apple традиционно играет роль новатора, поэтому ожидания от следующего поколения AirPods Pro особенно высоки. Новая модель, над которой компания уже активно работает, должна не просто улучшить звук, но и расширить способы взаимодействия человека с цифровой средой. Одним из наиболее заметных нововведений станет появление чипа Apple H3. Сегодняшние AirPods Pro используют поколение H2, обеспечивающее высокую скорость обработки звука, однако переход к H3 обещает еще более точное шумоподавление и сокращение задержки при беспроводной передаче аудио. По данным источников, новая архитектура улучшит энергоэффективность, а также позволит чипу глубже интегрироваться с устройствами экосистемы Apple. Особенно это касается гарнитуры Vision Pro, которая получит более синхронную работу с будущими наушниками. Не менее интригующей выглядит вторая инновация - миниатюрные инфракрасные камеры, встроенные непосредственно в корпус AirPods. Специалисты предполагают, что эти сенсоры смогут фиксировать дв ...>>

ИИ нужно воспринимать как пользователя 26.11.2025

Искусственный интеллект постепенно перестает быть скрытым компонентом программных решений и выходит на передний план. Сегодня алгоритмы не просто помогают обрабатывать данные, но и активно участвуют в рабочих процессах, принимают решения, взаимодействуют с корпоративными сервисами и получают доступ к критически важной инфраструктуре. Такое расширение их возможностей заставляет специалистов по безопасности переосмыслить, что именно означает присутствие ИИ в цифровой среде. Президент по продуктам и технологиям Okta Рик Смит подчеркивает, что воспринимать ИИ исключительно как технологическую надстройку уже невозможно. По его словам, компании обязаны учитывать, что искусственные агенты становятся участниками процессов наравне с живыми сотрудниками, а значит, требуют аналогичных мер защиты. Он формулирует это предельно прямо: "Мы должны защищать клиентов не только от людей, но и от ИИ-агентов - относиться к ним как к пользователям". Однако многие организации продолжают рассматривать И ...>>

Случайная новость из Архива

Темная материя может подогревать планеты изнутри 01.04.2021

Астрономы предположили, что темная материя скапливается в недрах массивных экзопланет и ее присутствие можно заметить по увеличению их температуры.

Считается, что большая часть массы галактик приходится не на звезды, планеты и газовые облака, а на темную материю. Ее присутствие обнаруживается по гравитационному влиянию на обычное вещество - звезды, газ и так далее. Считается, что под влиянием темной материи формируется крупномасштабная структура Вселенной, рождаются и эволюционируют галактики, окружая их обширным "темным гало". Однако ни в каком другом виде фундаментальных взаимодействий, помимо гравитационного, темная материя не участвует.

Она не испускает и не поглощает электромагнитные волны, поэтому остается невидимой для наших телескопов. Астрофизики до сих пор спорят, из каких частиц она состоит, где и как лучше их искать. Юрий Смирнов из Университета Огайо и Ребекка Лин (Rebecca Leane) из Стэнфорда предлагают новое направление поисков - в ядрах экзопланет.

В самом деле, ранее выдвигались гипотезы о том, что сгустки темной материи могут скапливаться в центрах тяжелых и плотных небесных тел - прежде всего нейтронных звезд. Аналогичное возможно для достаточно крупных и массивных экзопланет - и под ее влиянием ядра таких планет должны дополнительно нагреваться. По мысли ученых, повышенная температура и может указать на присутствие внутри темной материи. Для того чтобы этот слабый сигнал можно было заметить, экзопланета должна быть большой и как можно более холодной.

Поэтому ей стоит быть очень старой и находиться как можно дальше от своей звезды, чтобы успеть максимально остыть - иначе, по словам Смирнова, будет "трудно рассмотреть свечу на фоне лесного пожара". Еще лучше, если планета сформировалась в системе, находящейся ближе к центру Галактики, где плотность темной материи больше, чем на периферии. А в идеале это должна быть "планета-сирота", выброшенная из своей звездной системы и свободно летающая по пустым и холодным пространствам Галактики.

По оценкам ученых, для такой экзопланеты с массой в 14 масс Юпитера аннигиляция частиц темной материи должна повышать температуру на 250-500 кельвинов. Если мы сможем провести "массовые" измерения температуры таких экзопланет и распределить их на карте Млечного Пути, то можно будет увидеть, не растет ли она с приближением к центру. Такой сигнал станет указанием на присутствие в них долгожданной темной материи.

Авторы считают, что провести нужные наблюдения вполне возможно. Сделать это смогут космические телескопы James Webb и Nancy Grace RST, готовящиеся к запуску в 2021-м и 2025 году соответственно.

Другие интересные новости:

▪ Cудоходная компания по транспортировке уловленного CO2

▪ Робот - сборщик пластика

▪ Аккумулятор из бумаги

▪ Высокопроизводительное семейство PIC32 с большим объемом памяти

▪ Компактный стабилизатор для смартфонов DJI Osmo Mobile 3

Лента новостей науки и техники, новинок электроники

 

Интересные материалы Бесплатной технической библиотеки:

▪ раздел сайта Опыты по физике. Подборка статей

▪ статья Мудрый Эдип, разреши! Крылатое выражение

▪ статья Как производится искусственный каучук? Подробный ответ

▪ статья Ольха серая. Легенды, выращивание, способы применения

▪ статья Модуль электронной коммутации инструментов. Энциклопедия радиоэлектроники и электротехники

▪ статья Нормы испытаний электрооборудования и аппаратов электроустановок потребителей. Максимально допустимая вибрация подшипников электродвигателя. Энциклопедия радиоэлектроники и электротехники

Оставьте свой комментарий к этой статье:

Имя:


E-mail (не обязательно):


Комментарий:





Главная страница | Библиотека | Статьи | Карта сайта | Отзывы о сайте

www.diagram.com.ua

www.diagram.com.ua
2000-2025